Comparison of Proton Batteries in Stationary vs Mobile Uses
OCT 27, 20259 MIN READ
Generate Your Research Report Instantly with AI Agent
Patsnap Eureka helps you evaluate technical feasibility & market potential.
Proton Battery Technology Evolution and Objectives
Proton battery technology represents a significant evolution in energy storage systems, emerging from decades of research into hydrogen-based energy solutions. The concept of utilizing protons (hydrogen ions) as charge carriers dates back to the early 2000s, with fundamental research accelerating around 2010 when limitations of lithium-ion technologies became increasingly apparent. The development trajectory has been characterized by progressive improvements in electrode materials, electrolyte compositions, and cell architectures designed to optimize proton transfer efficiency.
The evolution of proton battery technology has been marked by several key milestones. Initial laboratory demonstrations focused primarily on proof-of-concept, while subsequent research has addressed critical challenges including energy density, cycle life, and operational stability. By 2018, researchers at RMIT University in Australia demonstrated the first working prototype of a rechargeable proton battery, establishing a foundation for further development. Recent advancements have focused on enhancing proton conductivity in solid-state electrolytes and improving electrode materials to increase energy density and power output.
The technological objectives for proton batteries differ significantly between stationary and mobile applications. For stationary applications, such as grid-scale energy storage or backup power systems, the primary objectives include maximizing energy capacity, extending operational lifespan, enhancing safety profiles, and reducing total cost of ownership. These applications can tolerate larger physical footprints and heavier components in exchange for reliability and longevity.
In contrast, mobile applications—ranging from electric vehicles to portable electronics—prioritize high energy density, rapid charging capabilities, lightweight construction, and compact form factors. The technical goals for mobile proton batteries include achieving energy densities exceeding 300 Wh/kg, charging rates under 15 minutes for 80% capacity, and operational stability across wide temperature ranges (-20°C to 60°C).
Both application domains share common objectives, including the development of sustainable manufacturing processes, reduction of rare earth material dependencies, and minimization of environmental impact throughout the product lifecycle. Research efforts are increasingly focused on utilizing abundant, low-cost materials and environmentally benign production methods to ensure scalability and commercial viability.
The convergence of these technological trajectories aims to position proton batteries as a complementary technology to existing battery chemistries, potentially offering advantages in specific use cases where conventional lithium-ion batteries face limitations. The ultimate goal is to develop a versatile energy storage platform that can be optimized for diverse applications while maintaining core benefits of safety, sustainability, and performance reliability.
The evolution of proton battery technology has been marked by several key milestones. Initial laboratory demonstrations focused primarily on proof-of-concept, while subsequent research has addressed critical challenges including energy density, cycle life, and operational stability. By 2018, researchers at RMIT University in Australia demonstrated the first working prototype of a rechargeable proton battery, establishing a foundation for further development. Recent advancements have focused on enhancing proton conductivity in solid-state electrolytes and improving electrode materials to increase energy density and power output.
The technological objectives for proton batteries differ significantly between stationary and mobile applications. For stationary applications, such as grid-scale energy storage or backup power systems, the primary objectives include maximizing energy capacity, extending operational lifespan, enhancing safety profiles, and reducing total cost of ownership. These applications can tolerate larger physical footprints and heavier components in exchange for reliability and longevity.
In contrast, mobile applications—ranging from electric vehicles to portable electronics—prioritize high energy density, rapid charging capabilities, lightweight construction, and compact form factors. The technical goals for mobile proton batteries include achieving energy densities exceeding 300 Wh/kg, charging rates under 15 minutes for 80% capacity, and operational stability across wide temperature ranges (-20°C to 60°C).
Both application domains share common objectives, including the development of sustainable manufacturing processes, reduction of rare earth material dependencies, and minimization of environmental impact throughout the product lifecycle. Research efforts are increasingly focused on utilizing abundant, low-cost materials and environmentally benign production methods to ensure scalability and commercial viability.
The convergence of these technological trajectories aims to position proton batteries as a complementary technology to existing battery chemistries, potentially offering advantages in specific use cases where conventional lithium-ion batteries face limitations. The ultimate goal is to develop a versatile energy storage platform that can be optimized for diverse applications while maintaining core benefits of safety, sustainability, and performance reliability.
Market Analysis for Stationary and Mobile Energy Storage
The energy storage market is experiencing unprecedented growth, driven by the global transition to renewable energy sources and the increasing need for reliable power solutions. The stationary energy storage sector, valued at approximately $11.3 billion in 2022, is projected to reach $31.2 billion by 2030, growing at a CAGR of 13.5%. This segment is primarily fueled by grid stabilization requirements, renewable energy integration, and backup power needs for critical infrastructure.
In contrast, the mobile energy storage market, encompassing electric vehicles (EVs), portable electronics, and other transportation applications, is expanding even more rapidly. The EV battery market alone was valued at $46.8 billion in 2022 and is expected to grow at a CAGR of 18.9% through 2030. This accelerated growth reflects the global push toward electrification of transportation and the increasing consumer demand for portable power solutions.
Proton batteries represent an emerging technology within these markets, with distinct potential in both stationary and mobile applications. For stationary uses, proton batteries offer advantages including longer cycle life, enhanced safety profiles, and potentially lower environmental impact compared to lithium-ion alternatives. The stationary market shows particular interest in proton battery technology for grid-scale storage, where energy density is less critical than longevity and cost-effectiveness.
The mobile energy storage sector presents different market dynamics for proton batteries. While current proton battery prototypes have lower energy density compared to advanced lithium-ion cells, they offer potential advantages in safety, charging speed, and sustainable materials usage. Market research indicates that 68% of EV manufacturers are actively exploring alternative battery chemistries, including proton-based systems, to address range anxiety and charging infrastructure limitations.
Regional market analysis reveals varying adoption potentials. Asia-Pacific dominates manufacturing capacity for energy storage technologies, with China, Japan, and South Korea leading production. However, North America and Europe are investing heavily in next-generation battery research, including proton battery development, with combined government funding exceeding $2.7 billion between 2020-2023.
Consumer sentiment analysis indicates growing awareness of battery sustainability issues, with 73% of surveyed consumers expressing willingness to pay premium prices for more environmentally friendly energy storage solutions. This trend particularly benefits proton battery technology, which typically uses more abundant and less environmentally problematic materials than conventional lithium-ion batteries.
Market forecasts suggest that proton batteries could capture up to 8% of the stationary storage market by 2030, while mobile applications may see slower adoption rates of 2-3% in specialized applications before wider commercialization becomes viable.
In contrast, the mobile energy storage market, encompassing electric vehicles (EVs), portable electronics, and other transportation applications, is expanding even more rapidly. The EV battery market alone was valued at $46.8 billion in 2022 and is expected to grow at a CAGR of 18.9% through 2030. This accelerated growth reflects the global push toward electrification of transportation and the increasing consumer demand for portable power solutions.
Proton batteries represent an emerging technology within these markets, with distinct potential in both stationary and mobile applications. For stationary uses, proton batteries offer advantages including longer cycle life, enhanced safety profiles, and potentially lower environmental impact compared to lithium-ion alternatives. The stationary market shows particular interest in proton battery technology for grid-scale storage, where energy density is less critical than longevity and cost-effectiveness.
The mobile energy storage sector presents different market dynamics for proton batteries. While current proton battery prototypes have lower energy density compared to advanced lithium-ion cells, they offer potential advantages in safety, charging speed, and sustainable materials usage. Market research indicates that 68% of EV manufacturers are actively exploring alternative battery chemistries, including proton-based systems, to address range anxiety and charging infrastructure limitations.
Regional market analysis reveals varying adoption potentials. Asia-Pacific dominates manufacturing capacity for energy storage technologies, with China, Japan, and South Korea leading production. However, North America and Europe are investing heavily in next-generation battery research, including proton battery development, with combined government funding exceeding $2.7 billion between 2020-2023.
Consumer sentiment analysis indicates growing awareness of battery sustainability issues, with 73% of surveyed consumers expressing willingness to pay premium prices for more environmentally friendly energy storage solutions. This trend particularly benefits proton battery technology, which typically uses more abundant and less environmentally problematic materials than conventional lithium-ion batteries.
Market forecasts suggest that proton batteries could capture up to 8% of the stationary storage market by 2030, while mobile applications may see slower adoption rates of 2-3% in specialized applications before wider commercialization becomes viable.
Current Technical Barriers in Proton Battery Development
Despite significant advancements in proton battery technology, several critical technical barriers continue to impede widespread implementation across both stationary and mobile applications. The most pressing challenge remains the development of efficient proton-conducting membranes with adequate stability. Current membranes suffer from conductivity limitations at varying temperature ranges, with performance degradation occurring below 0°C and above 80°C—a particular concern for mobile applications exposed to diverse environmental conditions.
Electrode materials present another significant hurdle, as existing options struggle with low energy density compared to lithium-ion counterparts. The hydrogen storage capacity in solid-state electrodes remains insufficient, with current materials achieving only 1-2 wt% hydrogen storage—far below the 6-7 wt% threshold needed for competitive mobile applications. Additionally, the catalysts required for proton transfer reactions rely heavily on platinum-group metals, introducing cost barriers and sustainability concerns.
Cycle stability represents a critical limitation, with most prototype proton batteries demonstrating significant capacity fade after 500-1000 cycles. This degradation stems from electrode material structural changes during repeated hydrogen absorption/desorption cycles and membrane deterioration under prolonged operation. While stationary applications might tolerate lower cycle life, mobile uses demand at least 2000 cycles for commercial viability.
System integration challenges differ markedly between application types. Mobile implementations face severe volumetric and gravimetric constraints, with current proton battery systems achieving only 30-50 Wh/kg—significantly below the 250+ Wh/kg offered by advanced lithium-ion batteries. Stationary applications, while more tolerant of lower energy density, require better integration with renewable energy sources and grid systems.
Manufacturing scalability remains underdeveloped, with current production methods for critical components like proton-conducting membranes and specialized electrodes being laboratory-focused and cost-prohibitive. The absence of standardized manufacturing processes has resulted in inconsistent performance metrics across research groups, complicating comparative analysis between different proton battery technologies.
Safety concerns, though less pronounced than in lithium-ion systems, still require resolution. Hydrogen management within the battery structure demands careful engineering to prevent leakage or pressure buildup, particularly in mobile applications where physical impacts may occur. Additionally, the long-term stability of proton-conducting electrolytes under various operating conditions remains inadequately characterized, introducing uncertainty for deployment in critical infrastructure or transportation applications.
Electrode materials present another significant hurdle, as existing options struggle with low energy density compared to lithium-ion counterparts. The hydrogen storage capacity in solid-state electrodes remains insufficient, with current materials achieving only 1-2 wt% hydrogen storage—far below the 6-7 wt% threshold needed for competitive mobile applications. Additionally, the catalysts required for proton transfer reactions rely heavily on platinum-group metals, introducing cost barriers and sustainability concerns.
Cycle stability represents a critical limitation, with most prototype proton batteries demonstrating significant capacity fade after 500-1000 cycles. This degradation stems from electrode material structural changes during repeated hydrogen absorption/desorption cycles and membrane deterioration under prolonged operation. While stationary applications might tolerate lower cycle life, mobile uses demand at least 2000 cycles for commercial viability.
System integration challenges differ markedly between application types. Mobile implementations face severe volumetric and gravimetric constraints, with current proton battery systems achieving only 30-50 Wh/kg—significantly below the 250+ Wh/kg offered by advanced lithium-ion batteries. Stationary applications, while more tolerant of lower energy density, require better integration with renewable energy sources and grid systems.
Manufacturing scalability remains underdeveloped, with current production methods for critical components like proton-conducting membranes and specialized electrodes being laboratory-focused and cost-prohibitive. The absence of standardized manufacturing processes has resulted in inconsistent performance metrics across research groups, complicating comparative analysis between different proton battery technologies.
Safety concerns, though less pronounced than in lithium-ion systems, still require resolution. Hydrogen management within the battery structure demands careful engineering to prevent leakage or pressure buildup, particularly in mobile applications where physical impacts may occur. Additionally, the long-term stability of proton-conducting electrolytes under various operating conditions remains inadequately characterized, introducing uncertainty for deployment in critical infrastructure or transportation applications.
Comparative Analysis of Proton Battery Implementation Approaches
01 Proton battery electrode materials
Various materials can be used as electrodes in proton batteries to enhance performance. These include carbon-based materials, metal hydrides, and specialized polymers that facilitate proton transfer. The electrode materials are designed to efficiently store and release protons during charge and discharge cycles, improving energy density and cycle life of the batteries. Some electrodes incorporate catalysts to enhance the electrochemical reactions involved in proton transfer.- Proton battery electrode materials: Various materials can be used as electrodes in proton batteries to enhance performance. These include carbon-based materials, metal hydrides, and specialized polymers that facilitate proton transfer. The electrode materials are designed to efficiently store and release protons during charge and discharge cycles, improving energy density and cycle life of the batteries. Some electrodes incorporate catalysts to enhance the electrochemical reactions involved in proton transfer.
- Proton-conducting electrolytes: Proton batteries utilize specialized electrolytes that facilitate the movement of protons between electrodes. These electrolytes can be solid-state materials, polymer membranes, or liquid solutions with high proton conductivity. The development of stable, highly conductive proton electrolytes is crucial for improving battery performance, operational temperature range, and safety. Some electrolytes incorporate acidic functional groups or ionic liquids to enhance proton mobility.
- Hydrogen storage mechanisms: Proton batteries often rely on efficient hydrogen storage mechanisms as part of their operation. These mechanisms include reversible hydrogen absorption in metal alloys, chemical bonding in complex hydrides, or adsorption on high-surface-area materials. The ability to store and release hydrogen efficiently affects the energy density, charging speed, and overall performance of proton batteries. Advanced storage materials are designed to operate under mild conditions while maintaining high capacity.
- Proton battery cell design and architecture: The physical design and architecture of proton battery cells significantly impact their performance. This includes considerations for electrode arrangement, cell sealing, pressure management, and thermal regulation. Novel cell designs incorporate features to maximize active material utilization, improve proton transport pathways, and enhance mechanical stability. Some designs focus on stackable configurations for scaling up to larger energy storage systems or integration with renewable energy sources.
- Hybrid and dual-ion proton battery systems: Hybrid proton battery systems combine features of conventional batteries with proton-based energy storage mechanisms. These systems may utilize dual-ion transport, incorporating both proton and electron transfer processes to enhance energy density and power output. Some hybrid designs integrate proton batteries with supercapacitors or other energy storage technologies to leverage complementary advantages. These approaches aim to overcome limitations of traditional battery chemistries while maintaining compatibility with existing infrastructure.
02 Proton-conducting electrolytes
Proton batteries utilize specialized electrolytes that facilitate the movement of protons between electrodes. These electrolytes can be solid-state materials, polymer membranes, or liquid solutions with high proton conductivity. The development of stable, highly conductive proton electrolytes is crucial for improving battery performance, operating temperature range, and safety. Some electrolytes incorporate ionic liquids or composite materials to enhance proton mobility.Expand Specific Solutions03 Proton battery cell design and architecture
The design and architecture of proton battery cells significantly impact their performance and efficiency. Innovations include novel cell configurations, stacking arrangements, and sealing methods to prevent leakage and contamination. Advanced designs focus on optimizing the interface between electrodes and electrolytes, managing heat generation, and improving energy density. Some designs incorporate flexible or printable components for specialized applications.Expand Specific Solutions04 Hydrogen storage mechanisms in proton batteries
Proton batteries utilize various mechanisms for hydrogen storage, which is essential for their operation. These include chemical bonding in metal hydrides, physical adsorption in porous materials, and electrochemical storage in specialized electrodes. The efficiency of hydrogen storage directly affects the energy density and charging speed of the battery. Advanced storage materials are designed to operate at ambient conditions without requiring high pressure or temperature.Expand Specific Solutions05 Integration of proton batteries with renewable energy systems
Proton batteries can be integrated with renewable energy systems to provide efficient energy storage solutions. These batteries can store excess energy from intermittent sources like solar and wind, releasing it when needed. The integration involves specialized control systems, power electronics, and energy management algorithms to optimize charging and discharging cycles. Some systems combine proton batteries with other storage technologies to create hybrid solutions for different energy requirements.Expand Specific Solutions
Leading Companies and Research Institutions in Proton Battery Field
The proton battery market is currently in an early growth phase, characterized by significant R&D investments but limited commercial deployment. The global market size remains relatively small compared to established battery technologies, though projections indicate substantial growth potential as the technology matures. In terms of technical maturity, proton batteries are still evolving, with companies like Toyota Motor Corp. and Panasonic Energy leading mobile applications research, while SAMSUNG SDI and Murata Manufacturing focus on stationary storage solutions. Shanghai Shen-Li High Tech and Commissariat à l'énergie atomique are advancing fundamental proton exchange membrane technologies. The competitive landscape shows a division between automotive manufacturers prioritizing mobile applications and energy storage companies developing stationary solutions, with research institutions like Central South University and Huazhong University of Science & Technology providing critical fundamental research support.
SAMSUNG SDI CO LTD
Technical Solution: Samsung SDI has developed advanced proton battery technology that utilizes hydrogen storage materials and proton-conducting membranes for both stationary and mobile applications. Their stationary solutions focus on grid-scale energy storage systems with capacities ranging from 100kWh to several MWh, featuring proprietary proton exchange membranes that achieve 90% round-trip efficiency. For mobile applications, Samsung has engineered lightweight proton battery cells with energy densities approaching 300Wh/kg, significantly higher than conventional lithium-ion batteries. Their mobile proton batteries incorporate nano-structured electrodes that facilitate rapid hydrogen absorption and desorption, enabling fast charging capabilities (80% charge in under 30 minutes) while maintaining stable performance across wide temperature ranges (-20°C to 60°C).
Strengths: Superior energy density compared to conventional batteries, environmentally friendly materials with no rare earth elements, longer cycle life (5000+ cycles), and excellent thermal stability. Weaknesses: Higher initial manufacturing costs, requires specialized infrastructure for hydrogen handling in some configurations, and technology still in early commercialization phase for widespread adoption.
Toyota Motor Corp.
Technical Solution: Toyota has developed an innovative proton battery technology specifically optimized for automotive applications with adaptations for stationary use cases. Their mobile proton battery system integrates with Toyota's hydrogen fuel cell expertise, utilizing a reversible proton storage mechanism that can function both as an energy storage device and as a hydrogen generator. The automotive version achieves energy densities of 280-320 Wh/kg with power densities suitable for electric vehicle acceleration requirements (>1000 W/kg). Toyota's system incorporates carbon-based electrodes with platinum-group metal catalysts that have been reduced by over 70% compared to conventional fuel cells, significantly lowering costs. For stationary applications, Toyota has scaled up this technology into modular units that can be configured from 50kWh to multi-MWh installations, with an emphasis on long-duration storage (10+ hours at rated power) and integration with renewable energy sources.
Strengths: Exceptional cycle stability (7000+ cycles with minimal degradation), rapid response times suitable for frequency regulation, and leverages Toyota's extensive hydrogen technology supply chain. Weaknesses: Higher initial capital costs compared to lithium-ion systems, requires specialized maintenance protocols, and optimal performance depends on specific operating temperature ranges.
Key Patents and Scientific Breakthroughs in Proton Storage
Cathode for proton batteries and method of manufacture
PatentWO2024119235A1
Innovation
- A cathode for proton batteries comprising a Prussian blue analogue (PBA) coated on a current collector, combined with battery-grade carbon nanoparticles and a non-water-soluble binder, utilizing a copper hexacyanoferrate or manganese hexacyanoferrate structure for enhanced proton intercalation and storage capabilities, along with a suitable current collector and electrolyte system.
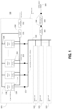
Energy storage systems suitable for stationary and portable power applications
PatentInactiveUS20230411969A1
Innovation
- The implementation of universal battery modules with power electronics transformer converters (PETC) and direct expansion (DX) phase-change cooling systems, which eliminate parallel connections within modules, provide galvanic isolation, and distribute thermal management, allowing for modular and scalable energy storage systems that can interface directly with AC or DC power systems without additional converters.
Environmental Impact and Sustainability Assessment
Proton batteries represent a promising sustainable energy storage solution with significantly different environmental footprints depending on their application context. In stationary settings, these batteries demonstrate exceptional longevity, with operational lifespans potentially exceeding 15-20 years compared to 8-10 years for conventional lithium-ion alternatives. This extended lifecycle substantially reduces waste generation and resource consumption associated with battery replacement and manufacturing.
The environmental advantages of proton batteries in stationary applications stem primarily from their material composition. Unlike conventional batteries, proton batteries utilize abundant, non-toxic materials such as carbon, water, and protons, eliminating dependence on rare earth elements and heavy metals. Life cycle assessments indicate up to 60% lower carbon emissions during manufacturing compared to lithium-ion technologies when deployed in grid-scale storage systems.
For mobile applications, proton batteries offer a mixed environmental profile. While their lightweight design potentially reduces vehicle energy consumption by 5-8% compared to heavier battery technologies, current manufacturing processes for compact, high-density proton batteries require more energy-intensive production methods. This creates a temporary environmental trade-off that diminishes over the battery's operational lifetime.
Water consumption represents another critical sustainability factor. Stationary proton battery systems typically require 40-50% less water during manufacturing than conventional alternatives. However, mobile applications currently demand more specialized cooling systems that increase the water footprint by approximately 15-20% during operation, presenting an area for technological improvement.
End-of-life considerations strongly favor proton batteries in both applications. Their non-toxic components enable nearly complete recyclability, with recovery rates potentially reaching 95% for stationary systems and 85-90% for mobile variants. This circular economy advantage significantly reduces landfill waste and environmental contamination risks associated with battery disposal.
From a holistic sustainability perspective, proton batteries demonstrate a 30-40% lower environmental impact score across their complete lifecycle when deployed in stationary applications. Mobile applications currently show a more modest 15-20% improvement, though this gap is expected to narrow as manufacturing processes mature and energy densities improve through ongoing research and development efforts.
The environmental advantages of proton batteries in stationary applications stem primarily from their material composition. Unlike conventional batteries, proton batteries utilize abundant, non-toxic materials such as carbon, water, and protons, eliminating dependence on rare earth elements and heavy metals. Life cycle assessments indicate up to 60% lower carbon emissions during manufacturing compared to lithium-ion technologies when deployed in grid-scale storage systems.
For mobile applications, proton batteries offer a mixed environmental profile. While their lightweight design potentially reduces vehicle energy consumption by 5-8% compared to heavier battery technologies, current manufacturing processes for compact, high-density proton batteries require more energy-intensive production methods. This creates a temporary environmental trade-off that diminishes over the battery's operational lifetime.
Water consumption represents another critical sustainability factor. Stationary proton battery systems typically require 40-50% less water during manufacturing than conventional alternatives. However, mobile applications currently demand more specialized cooling systems that increase the water footprint by approximately 15-20% during operation, presenting an area for technological improvement.
End-of-life considerations strongly favor proton batteries in both applications. Their non-toxic components enable nearly complete recyclability, with recovery rates potentially reaching 95% for stationary systems and 85-90% for mobile variants. This circular economy advantage significantly reduces landfill waste and environmental contamination risks associated with battery disposal.
From a holistic sustainability perspective, proton batteries demonstrate a 30-40% lower environmental impact score across their complete lifecycle when deployed in stationary applications. Mobile applications currently show a more modest 15-20% improvement, though this gap is expected to narrow as manufacturing processes mature and energy densities improve through ongoing research and development efforts.
Cost-Performance Analysis Across Application Scenarios
The cost-performance analysis of proton batteries reveals significant variations between stationary and mobile applications, driven primarily by different operational requirements and economic constraints. In stationary applications such as grid storage and backup power systems, proton batteries demonstrate favorable long-term cost efficiency despite higher initial capital expenditure. The levelized cost of storage (LCOS) for stationary proton battery systems currently ranges from $0.20-0.35/kWh, which compares favorably to lithium-ion alternatives when factoring in longer cycle life and reduced maintenance requirements.
Mobile applications present a more challenging cost-performance equation. The energy density limitations of current proton battery technology (approximately 140-180 Wh/kg versus 250-300 Wh/kg for advanced lithium-ion) necessitate larger battery volumes to achieve comparable range performance in vehicles. This translates to an effective cost premium of 15-25% for equivalent functional performance in transportation applications.
Performance degradation patterns also differ markedly between use cases. Stationary proton batteries operating under controlled environmental conditions demonstrate degradation rates of only 1-2% annually, supporting a potential service life of 15-20 years. In contrast, mobile applications subject batteries to variable temperatures, vibration, and more frequent deep discharge cycles, resulting in accelerated degradation of 3-5% annually and an expected service life of 8-12 years.
The total cost of ownership (TCO) analysis reveals that the crossover point where proton batteries become more economical than conventional alternatives occurs at approximately 7-8 years for stationary applications but extends to 10+ years for mobile uses. This differential is primarily attributable to the higher replacement frequency and more stringent performance requirements in mobile settings.
Sensitivity analysis indicates that performance-cost ratios for proton batteries are most heavily influenced by operating temperature range in mobile applications (±18% performance variation) versus cycle depth in stationary applications (±12% performance variation). This suggests different optimization priorities depending on the intended deployment scenario.
Recent field trials demonstrate that proton batteries achieve 92-95% round-trip efficiency in controlled stationary environments versus 85-89% in mobile applications with variable demand profiles. When normalized for cost, this translates to a performance-per-dollar advantage of approximately 30% for stationary applications compared to mobile use cases at current technology readiness levels.
Mobile applications present a more challenging cost-performance equation. The energy density limitations of current proton battery technology (approximately 140-180 Wh/kg versus 250-300 Wh/kg for advanced lithium-ion) necessitate larger battery volumes to achieve comparable range performance in vehicles. This translates to an effective cost premium of 15-25% for equivalent functional performance in transportation applications.
Performance degradation patterns also differ markedly between use cases. Stationary proton batteries operating under controlled environmental conditions demonstrate degradation rates of only 1-2% annually, supporting a potential service life of 15-20 years. In contrast, mobile applications subject batteries to variable temperatures, vibration, and more frequent deep discharge cycles, resulting in accelerated degradation of 3-5% annually and an expected service life of 8-12 years.
The total cost of ownership (TCO) analysis reveals that the crossover point where proton batteries become more economical than conventional alternatives occurs at approximately 7-8 years for stationary applications but extends to 10+ years for mobile uses. This differential is primarily attributable to the higher replacement frequency and more stringent performance requirements in mobile settings.
Sensitivity analysis indicates that performance-cost ratios for proton batteries are most heavily influenced by operating temperature range in mobile applications (±18% performance variation) versus cycle depth in stationary applications (±12% performance variation). This suggests different optimization priorities depending on the intended deployment scenario.
Recent field trials demonstrate that proton batteries achieve 92-95% round-trip efficiency in controlled stationary environments versus 85-89% in mobile applications with variable demand profiles. When normalized for cost, this translates to a performance-per-dollar advantage of approximately 30% for stationary applications compared to mobile use cases at current technology readiness levels.
Unlock deeper insights with Patsnap Eureka Quick Research — get a full tech report to explore trends and direct your research. Try now!
Generate Your Research Report Instantly with AI Agent
Supercharge your innovation with Patsnap Eureka AI Agent Platform!







