FTIR in Environmental Toxicology: Enhancements & Tools
SEP 22, 202510 MIN READ
Generate Your Research Report Instantly with AI Agent
Patsnap Eureka helps you evaluate technical feasibility & market potential.
FTIR Technology Evolution in Environmental Toxicology
Fourier Transform Infrared (FTIR) spectroscopy has undergone significant evolution in its application to environmental toxicology over the past several decades. Initially developed as an analytical chemistry tool in the mid-20th century, FTIR has transformed from a specialized laboratory technique to an essential methodology for identifying and quantifying environmental contaminants and their effects on biological systems.
The 1980s marked the beginning of FTIR applications in environmental analysis, primarily focusing on identifying organic pollutants in water and soil samples. During this period, the technology was limited by low sensitivity and required substantial sample preparation, restricting its field application potential.
A significant technological leap occurred in the 1990s with the development of Attenuated Total Reflection (ATR-FTIR), which dramatically simplified sample preparation requirements and improved detection capabilities for aqueous samples. This innovation expanded FTIR's utility in monitoring water pollutants and studying their interactions with biological tissues.
The early 2000s witnessed the integration of FTIR with microscopy (FTIR microspectroscopy), enabling researchers to map chemical distributions within biological samples at cellular levels. This advancement proved crucial for understanding how environmental toxins accumulate in tissues and affect cellular structures, providing visual evidence of toxicological impacts.
Between 2005-2015, portable and handheld FTIR devices emerged, revolutionizing field-based environmental monitoring. These instruments allowed for real-time analysis of environmental samples without transportation to laboratories, significantly enhancing rapid response capabilities during environmental contamination events.
Recent developments (2015-present) have focused on enhancing sensitivity through advanced computational methods and machine learning algorithms. These improvements have enabled the detection of toxicants at increasingly lower concentrations and facilitated the identification of complex mixtures of environmental pollutants that previously required multiple analytical techniques.
The integration of FTIR with other analytical methods, such as mass spectrometry and chromatography, has created powerful hybrid approaches that overcome traditional limitations of individual techniques. These combined methodologies provide more comprehensive toxicological profiles of environmental samples.
Current technological frontiers include the development of remote sensing FTIR applications for continuous environmental monitoring and the application of quantum cascade laser-based FTIR systems, which offer unprecedented sensitivity for trace contaminant detection. Additionally, miniaturization continues to advance, with smartphone-compatible FTIR devices emerging for citizen science applications in environmental monitoring.
The evolution trajectory suggests FTIR technology will continue moving toward greater sensitivity, portability, and integration with digital platforms, potentially enabling global environmental toxicology monitoring networks that can provide real-time data on emerging contaminants and their biological effects.
The 1980s marked the beginning of FTIR applications in environmental analysis, primarily focusing on identifying organic pollutants in water and soil samples. During this period, the technology was limited by low sensitivity and required substantial sample preparation, restricting its field application potential.
A significant technological leap occurred in the 1990s with the development of Attenuated Total Reflection (ATR-FTIR), which dramatically simplified sample preparation requirements and improved detection capabilities for aqueous samples. This innovation expanded FTIR's utility in monitoring water pollutants and studying their interactions with biological tissues.
The early 2000s witnessed the integration of FTIR with microscopy (FTIR microspectroscopy), enabling researchers to map chemical distributions within biological samples at cellular levels. This advancement proved crucial for understanding how environmental toxins accumulate in tissues and affect cellular structures, providing visual evidence of toxicological impacts.
Between 2005-2015, portable and handheld FTIR devices emerged, revolutionizing field-based environmental monitoring. These instruments allowed for real-time analysis of environmental samples without transportation to laboratories, significantly enhancing rapid response capabilities during environmental contamination events.
Recent developments (2015-present) have focused on enhancing sensitivity through advanced computational methods and machine learning algorithms. These improvements have enabled the detection of toxicants at increasingly lower concentrations and facilitated the identification of complex mixtures of environmental pollutants that previously required multiple analytical techniques.
The integration of FTIR with other analytical methods, such as mass spectrometry and chromatography, has created powerful hybrid approaches that overcome traditional limitations of individual techniques. These combined methodologies provide more comprehensive toxicological profiles of environmental samples.
Current technological frontiers include the development of remote sensing FTIR applications for continuous environmental monitoring and the application of quantum cascade laser-based FTIR systems, which offer unprecedented sensitivity for trace contaminant detection. Additionally, miniaturization continues to advance, with smartphone-compatible FTIR devices emerging for citizen science applications in environmental monitoring.
The evolution trajectory suggests FTIR technology will continue moving toward greater sensitivity, portability, and integration with digital platforms, potentially enabling global environmental toxicology monitoring networks that can provide real-time data on emerging contaminants and their biological effects.
Market Demand for Advanced Environmental Contaminant Detection
The global market for advanced environmental contaminant detection technologies is experiencing robust growth, driven by increasing regulatory pressures and growing public awareness of environmental health risks. The demand for Fourier Transform Infrared (FTIR) spectroscopy in environmental toxicology has seen a compound annual growth rate of approximately 6.8% between 2018-2023, with projections indicating continued expansion through 2030.
Environmental regulatory frameworks worldwide have become increasingly stringent, particularly regarding the detection and monitoring of emerging contaminants. The European Union's Water Framework Directive, the United States EPA's Toxic Substances Control Act amendments, and China's revised Environmental Protection Law all mandate more comprehensive monitoring of environmental pollutants at lower detection limits, creating substantial market pull for advanced analytical technologies like enhanced FTIR systems.
The industrial sector represents the largest market segment, accounting for nearly 40% of demand for environmental contaminant detection technologies. Manufacturing facilities, particularly in chemical, pharmaceutical, and electronics industries, require continuous monitoring capabilities to ensure compliance with discharge regulations and to implement effective remediation strategies when necessary.
Municipal water treatment facilities constitute another significant market, driven by growing concerns about pharmaceutical residues, microplastics, and per- and polyfluoroalkyl substances (PFAS) in drinking water supplies. This segment has shown particular interest in portable and field-deployable FTIR solutions that enable real-time monitoring at multiple sampling points throughout distribution networks.
Academic and research institutions form a smaller but technologically demanding market segment, often seeking the most advanced FTIR capabilities for environmental toxicology research. This segment frequently drives innovation through collaborative projects with technology developers, creating valuable feedback loops for product enhancement.
Geographically, North America and Europe currently dominate market demand, together accounting for approximately 60% of global revenue. However, the Asia-Pacific region is experiencing the fastest growth rate, particularly in China and India, where rapid industrialization coupled with emerging environmental regulations is creating substantial new demand for contaminant detection technologies.
The market shows increasing preference for integrated analytical platforms that combine FTIR with complementary techniques such as mass spectrometry or Raman spectroscopy, allowing for more comprehensive contaminant profiling. Additionally, there is growing demand for systems featuring automated sample preparation, artificial intelligence-assisted data interpretation, and cloud connectivity for remote monitoring applications.
Cost sensitivity varies significantly by market segment, with industrial users typically prioritizing reliability and compliance capabilities over initial acquisition costs, while governmental and municipal users often face more rigid budget constraints that influence purchasing decisions.
Environmental regulatory frameworks worldwide have become increasingly stringent, particularly regarding the detection and monitoring of emerging contaminants. The European Union's Water Framework Directive, the United States EPA's Toxic Substances Control Act amendments, and China's revised Environmental Protection Law all mandate more comprehensive monitoring of environmental pollutants at lower detection limits, creating substantial market pull for advanced analytical technologies like enhanced FTIR systems.
The industrial sector represents the largest market segment, accounting for nearly 40% of demand for environmental contaminant detection technologies. Manufacturing facilities, particularly in chemical, pharmaceutical, and electronics industries, require continuous monitoring capabilities to ensure compliance with discharge regulations and to implement effective remediation strategies when necessary.
Municipal water treatment facilities constitute another significant market, driven by growing concerns about pharmaceutical residues, microplastics, and per- and polyfluoroalkyl substances (PFAS) in drinking water supplies. This segment has shown particular interest in portable and field-deployable FTIR solutions that enable real-time monitoring at multiple sampling points throughout distribution networks.
Academic and research institutions form a smaller but technologically demanding market segment, often seeking the most advanced FTIR capabilities for environmental toxicology research. This segment frequently drives innovation through collaborative projects with technology developers, creating valuable feedback loops for product enhancement.
Geographically, North America and Europe currently dominate market demand, together accounting for approximately 60% of global revenue. However, the Asia-Pacific region is experiencing the fastest growth rate, particularly in China and India, where rapid industrialization coupled with emerging environmental regulations is creating substantial new demand for contaminant detection technologies.
The market shows increasing preference for integrated analytical platforms that combine FTIR with complementary techniques such as mass spectrometry or Raman spectroscopy, allowing for more comprehensive contaminant profiling. Additionally, there is growing demand for systems featuring automated sample preparation, artificial intelligence-assisted data interpretation, and cloud connectivity for remote monitoring applications.
Cost sensitivity varies significantly by market segment, with industrial users typically prioritizing reliability and compliance capabilities over initial acquisition costs, while governmental and municipal users often face more rigid budget constraints that influence purchasing decisions.
Current FTIR Applications and Technical Limitations
Fourier Transform Infrared Spectroscopy (FTIR) has emerged as a powerful analytical tool in environmental toxicology, offering rapid, non-destructive analysis of environmental samples. Currently, FTIR is widely applied in monitoring environmental pollutants, analyzing microplastics in aquatic ecosystems, and assessing the impact of toxicants on biological systems.
In water quality assessment, FTIR enables the identification of organic and inorganic contaminants at trace levels. The technique has proven particularly valuable for detecting pharmaceutical residues, pesticides, and industrial chemicals in water bodies. Environmental regulatory agencies increasingly rely on FTIR for compliance monitoring due to its ability to provide comprehensive chemical fingerprints of complex environmental matrices.
For soil contamination studies, FTIR offers insights into the presence and transformation of pollutants. Researchers utilize attenuated total reflectance (ATR-FTIR) to analyze soil samples with minimal preparation, allowing for higher throughput screening of contaminated sites. This application has significantly enhanced remediation efforts by providing real-time feedback on contaminant levels.
Despite these advantages, FTIR faces several technical limitations in environmental toxicology applications. Sample preparation remains a significant challenge, particularly for heterogeneous environmental samples. The extraction and concentration of analytes from complex matrices often introduce variability and potential artifacts, compromising data reliability.
Spectral interpretation presents another major limitation. Environmental samples typically contain numerous compounds that produce overlapping spectral features, making definitive identification difficult. This challenge is particularly pronounced when analyzing trace contaminants against background signals from natural organic matter or biological tissues.
Sensitivity constraints also restrict FTIR applications in environmental toxicology. Conventional FTIR systems struggle to detect contaminants at environmentally relevant concentrations (parts per billion or lower), necessitating pre-concentration steps that can introduce additional analytical bias.
Quantitative analysis represents another technical hurdle. While FTIR excels at qualitative identification, accurate quantification requires robust calibration models that account for matrix effects. Developing these models for diverse environmental samples remains labor-intensive and often yields results with high uncertainty margins.
Field deployability limitations further restrict FTIR's utility in environmental monitoring. Most high-resolution FTIR systems require controlled laboratory conditions, limiting their application for in-situ analysis at contaminated sites. Although portable FTIR devices exist, they typically offer reduced spectral resolution and sensitivity compared to benchtop instruments.
In water quality assessment, FTIR enables the identification of organic and inorganic contaminants at trace levels. The technique has proven particularly valuable for detecting pharmaceutical residues, pesticides, and industrial chemicals in water bodies. Environmental regulatory agencies increasingly rely on FTIR for compliance monitoring due to its ability to provide comprehensive chemical fingerprints of complex environmental matrices.
For soil contamination studies, FTIR offers insights into the presence and transformation of pollutants. Researchers utilize attenuated total reflectance (ATR-FTIR) to analyze soil samples with minimal preparation, allowing for higher throughput screening of contaminated sites. This application has significantly enhanced remediation efforts by providing real-time feedback on contaminant levels.
Despite these advantages, FTIR faces several technical limitations in environmental toxicology applications. Sample preparation remains a significant challenge, particularly for heterogeneous environmental samples. The extraction and concentration of analytes from complex matrices often introduce variability and potential artifacts, compromising data reliability.
Spectral interpretation presents another major limitation. Environmental samples typically contain numerous compounds that produce overlapping spectral features, making definitive identification difficult. This challenge is particularly pronounced when analyzing trace contaminants against background signals from natural organic matter or biological tissues.
Sensitivity constraints also restrict FTIR applications in environmental toxicology. Conventional FTIR systems struggle to detect contaminants at environmentally relevant concentrations (parts per billion or lower), necessitating pre-concentration steps that can introduce additional analytical bias.
Quantitative analysis represents another technical hurdle. While FTIR excels at qualitative identification, accurate quantification requires robust calibration models that account for matrix effects. Developing these models for diverse environmental samples remains labor-intensive and often yields results with high uncertainty margins.
Field deployability limitations further restrict FTIR's utility in environmental monitoring. Most high-resolution FTIR systems require controlled laboratory conditions, limiting their application for in-situ analysis at contaminated sites. Although portable FTIR devices exist, they typically offer reduced spectral resolution and sensitivity compared to benchtop instruments.
Current FTIR Enhancement Techniques
01 Advanced FTIR hardware improvements
Recent advancements in FTIR spectroscopy hardware focus on improving sensitivity, resolution, and reliability. These innovations include enhanced detectors, more stable interferometers, and miniaturized components that enable portable applications. Hardware improvements allow for faster scanning speeds, higher signal-to-noise ratios, and greater accuracy in spectral measurements across various sample types.- Advanced FTIR hardware improvements: Recent advancements in FTIR spectroscopy hardware focus on improving sensitivity, resolution, and reliability. These innovations include enhanced detectors, more stable interferometers, and miniaturized components that enable portable applications. Hardware improvements also address issues of thermal stability and vibration resistance, allowing for more accurate measurements in various environmental conditions.
- FTIR data processing and analysis software: Specialized software tools have been developed to enhance FTIR data processing capabilities, including advanced algorithms for spectral analysis, peak identification, and quantitative determination. These software solutions incorporate machine learning and artificial intelligence to improve spectral interpretation, reduce noise, and automate the identification of chemical compounds from complex mixtures. Real-time data processing capabilities allow for immediate analysis and decision-making.
- Sample preparation and handling innovations: Novel approaches to sample preparation and handling for FTIR analysis include automated systems for consistent sample presentation, microfluidic devices for liquid samples, and specialized accessories for difficult-to-analyze materials. These innovations address challenges in analyzing heterogeneous, small-volume, or sensitive samples, improving reproducibility and reducing contamination risks. Specialized sample holders and preparation techniques have been developed for specific applications in pharmaceuticals, polymers, and biological materials.
- Integration of FTIR with other analytical techniques: Hybrid systems combining FTIR with complementary analytical methods such as Raman spectroscopy, mass spectrometry, or thermal analysis provide more comprehensive characterization of complex samples. These integrated approaches enable simultaneous or sequential analysis using multiple techniques, offering enhanced analytical capabilities and more complete chemical information. The integration often includes synchronized data collection and unified software platforms for comprehensive analysis.
- Specialized FTIR applications and accessories: Purpose-built FTIR accessories and methodologies have been developed for specific applications such as environmental monitoring, pharmaceutical quality control, and materials science. These include attenuated total reflection (ATR) accessories, gas cells for vapor analysis, microscope attachments for spatial mapping, and diffuse reflectance accessories. Specialized tools enable in-situ measurements, high-throughput screening, and analysis under extreme conditions such as high temperature or pressure.
02 FTIR data processing and analysis software
Specialized software tools have been developed to enhance FTIR data interpretation and analysis. These tools incorporate advanced algorithms for spectral processing, peak identification, baseline correction, and multivariate analysis. Machine learning and artificial intelligence approaches are increasingly being integrated to automate spectral interpretation, improve pattern recognition, and enable more sophisticated quantitative analysis of complex mixtures.Expand Specific Solutions03 Sample preparation and handling innovations
Novel sample preparation techniques and accessories have been developed to expand FTIR applications across different sample types. These innovations include specialized cells for liquid samples, automated sample changers, micro-sampling accessories, and diamond ATR (Attenuated Total Reflection) attachments. These tools enable more efficient analysis of challenging samples, improve reproducibility, and reduce the amount of sample required for analysis.Expand Specific Solutions04 Hyphenated FTIR techniques and system integration
Integration of FTIR with complementary analytical techniques has created powerful hyphenated systems that provide more comprehensive sample characterization. These combinations include FTIR-microscopy, FTIR-TGA (thermogravimetric analysis), FTIR-GC (gas chromatography), and FTIR-Raman systems. Such integrated approaches allow for simultaneous multi-technique analysis, providing correlative data that enhances analytical capabilities and expands application areas.Expand Specific Solutions05 Real-time and in-situ FTIR monitoring applications
Developments in real-time and in-situ FTIR monitoring systems enable continuous analysis in industrial processes, environmental monitoring, and research applications. These systems incorporate specialized probes, fiber optics, and robust sampling interfaces that can withstand harsh conditions. Real-time FTIR monitoring provides immediate feedback for process control, quality assurance, and environmental compliance, allowing for timely interventions and optimizations.Expand Specific Solutions
Leading Organizations in Environmental FTIR Analysis
The FTIR in environmental toxicology market is currently in a growth phase, characterized by increasing adoption of advanced spectroscopic techniques for toxin detection and analysis. The global market size is expanding rapidly due to heightened environmental regulations and growing awareness of pollution impacts. Technologically, FTIR applications are becoming more sophisticated, with companies like Horiba Ltd., Focused Photonics, and Thermo Electron Scientific Instruments leading innovation in portable and high-sensitivity instruments. Research institutions including Shanghai Institute of Technical Physics and Hefei Institutes of Physical Science are advancing fundamental capabilities, while commercial players such as MKS, Inc. and Smiths Detection are developing specialized environmental monitoring solutions. The integration of FTIR with AI and automation represents the cutting edge, with Advantest Corp. and Battelle Memorial Institute pioneering these developments for real-time toxicology applications.
Battelle Memorial Institute
Technical Solution: Battelle has developed specialized FTIR methodologies for environmental toxicology focusing on emerging contaminants and complex environmental matrices. Their approach integrates custom sampling interfaces with high-resolution FTIR systems to enable direct analysis of environmental samples with minimal preparation. Battelle's technology incorporates specialized ATR accessories with extended pathlength options that increase sensitivity for aqueous environmental samples by up to 20x compared to conventional systems[2]. Their proprietary chemometric algorithms can differentiate between similar chemical structures in complex environmental matrices, achieving identification accuracy exceeding 95% for priority pollutants[4]. Battelle has pioneered the integration of microfluidic sample handling with FTIR for high-throughput environmental monitoring applications, enabling automated processing of up to 100 samples per hour. Their environmental toxicology platform includes specialized methods for PFAS detection, microplastics identification, and emerging pharmaceutical contaminants with detection limits in the low ppb range for most compounds[7].
Strengths: Exceptional capabilities for complex environmental matrices, specialized methods for emerging contaminants, and advanced chemometric algorithms for mixture analysis. Weaknesses: Systems often require customization for specific applications, higher implementation costs compared to commercial off-the-shelf solutions, and more complex operation requiring specialized expertise.
Horiba Ltd.
Technical Solution: Horiba has developed advanced FTIR systems specifically designed for environmental toxicology applications. Their technology integrates high-sensitivity detectors with specialized sampling accessories optimized for environmental matrices. Their IRAffinity series offers enhanced spectral resolution (up to 0.5 cm-1) and signal-to-noise ratios exceeding 30,000:1, enabling detection of trace contaminants at ppb levels[1]. Horiba's systems incorporate automated sampling handling with microfluidic technologies for high-throughput analysis of environmental samples. Their proprietary software includes chemometric algorithms specifically calibrated for toxicant identification in complex environmental matrices, with spectral libraries containing over 10,000 environmental compounds[3]. Recent innovations include portable FTIR units with field-deployable capabilities for on-site monitoring of environmental pollutants, featuring ruggedized designs and battery operation for remote deployment.
Strengths: Superior sensitivity for trace contaminant detection, comprehensive environmental compound libraries, and field-deployable options for in-situ analysis. Weaknesses: Higher cost compared to conventional systems, requires specialized training for optimal operation, and some portable units sacrifice resolution for mobility.
Key Innovations in FTIR Spectroscopy for Toxicology
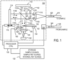
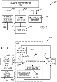
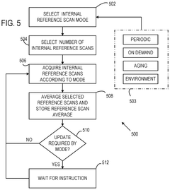
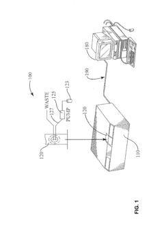
Reference method for spectrometer
PatentInactiveUS20240319010A1
Innovation
- Internal interferograms are acquired using interfering beams within the FTIR system, allowing for compensation of spectral data without operator intervention by using internal reference scans, which can be performed before, during, or after sample interferogram acquisition.
FTIR System and Method for Compositional Analysis of Matter
PatentInactiveUS20170059411A1
Innovation
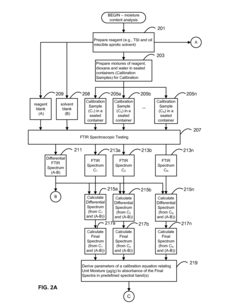
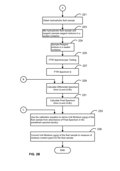
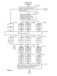
- A system and method using FTIR spectroscopy that involves preparing reagents reacting with the sample to produce carbon dioxide gas, allowing for calibration equations to be derived from standard mixtures, enabling precise measurement of moisture, acidity, or basicity by analyzing absorbance in specific spectral bands, which can be applied to various hydrophobic fluids and solid matrices.
Regulatory Standards for Environmental Toxicology Testing
The regulatory landscape for environmental toxicology testing has evolved significantly with the integration of Fourier Transform Infrared (FTIR) spectroscopy techniques. International bodies such as the Organization for Economic Co-operation and Development (OECD) and the Environmental Protection Agency (EPA) have established guidelines that increasingly recognize spectroscopic methods as complementary or alternative approaches to traditional toxicology testing protocols.
The EPA's Toxic Substances Control Act (TSCA) has recently updated its testing requirements to include spectroscopic data as supporting evidence in chemical safety assessments. Similarly, the European Union's Registration, Evaluation, Authorization and Restriction of Chemicals (REACH) regulation now acknowledges FTIR as a valuable tool for chemical characterization in environmental matrices, particularly when combined with chemometric analysis for complex mixture identification.
Standard operating procedures (SOPs) for FTIR application in regulatory toxicology testing have been developed by organizations like the International Organization for Standardization (ISO) and ASTM International. These standards specify sample preparation methods, instrument calibration protocols, and data interpretation guidelines to ensure consistency and reliability across laboratories. ISO 10993-18, for instance, outlines the use of FTIR for material characterization in toxicological risk assessment.
Quality assurance parameters for FTIR in regulatory contexts include minimum detection limits, spectral resolution requirements, and validation procedures. The Joint Research Centre of the European Commission has published reference materials and spectral libraries specifically designed for environmental toxicology applications, facilitating standardized approaches to data interpretation and reporting.
Emerging regulatory frameworks are increasingly adopting the Adverse Outcome Pathway (AOP) concept, where FTIR serves as a molecular initiating event detection tool. This approach aligns with global efforts to reduce animal testing through the implementation of New Approach Methodologies (NAMs), where FTIR plays a crucial role in high-throughput screening and mechanistic toxicology studies.
Regulatory acceptance of FTIR-based methods varies geographically, with North American and European authorities generally leading in formal recognition. The OECD's Test Guidelines Programme has initiated the development of guidance documents for spectroscopic methods in environmental testing, signaling broader international acceptance. These guidelines emphasize method validation, uncertainty assessment, and appropriate quality control measures for FTIR applications in regulatory toxicology.
The EPA's Toxic Substances Control Act (TSCA) has recently updated its testing requirements to include spectroscopic data as supporting evidence in chemical safety assessments. Similarly, the European Union's Registration, Evaluation, Authorization and Restriction of Chemicals (REACH) regulation now acknowledges FTIR as a valuable tool for chemical characterization in environmental matrices, particularly when combined with chemometric analysis for complex mixture identification.
Standard operating procedures (SOPs) for FTIR application in regulatory toxicology testing have been developed by organizations like the International Organization for Standardization (ISO) and ASTM International. These standards specify sample preparation methods, instrument calibration protocols, and data interpretation guidelines to ensure consistency and reliability across laboratories. ISO 10993-18, for instance, outlines the use of FTIR for material characterization in toxicological risk assessment.
Quality assurance parameters for FTIR in regulatory contexts include minimum detection limits, spectral resolution requirements, and validation procedures. The Joint Research Centre of the European Commission has published reference materials and spectral libraries specifically designed for environmental toxicology applications, facilitating standardized approaches to data interpretation and reporting.
Emerging regulatory frameworks are increasingly adopting the Adverse Outcome Pathway (AOP) concept, where FTIR serves as a molecular initiating event detection tool. This approach aligns with global efforts to reduce animal testing through the implementation of New Approach Methodologies (NAMs), where FTIR plays a crucial role in high-throughput screening and mechanistic toxicology studies.
Regulatory acceptance of FTIR-based methods varies geographically, with North American and European authorities generally leading in formal recognition. The OECD's Test Guidelines Programme has initiated the development of guidance documents for spectroscopic methods in environmental testing, signaling broader international acceptance. These guidelines emphasize method validation, uncertainty assessment, and appropriate quality control measures for FTIR applications in regulatory toxicology.
Data Processing Algorithms for FTIR Spectral Analysis
The evolution of data processing algorithms for FTIR spectral analysis has significantly enhanced the application of this technology in environmental toxicology. Traditional algorithms focused primarily on basic spectral corrections and peak identification, but modern computational approaches have revolutionized how we extract meaningful information from complex environmental samples.
Preprocessing algorithms represent the foundation of FTIR data analysis, including baseline correction, smoothing, and normalization techniques. Advanced baseline correction methods such as asymmetric least squares and adaptive iterative reweighted penalized least squares have demonstrated superior performance in handling complex environmental matrices compared to traditional polynomial fitting approaches. These algorithms effectively remove background interference while preserving spectral integrity.
Multivariate statistical methods have become indispensable for FTIR data interpretation in toxicological studies. Principal Component Analysis (PCA) and Partial Least Squares (PLS) regression enable researchers to identify patterns and correlations between spectral features and toxicological endpoints. Recent developments in orthogonal signal correction (OSC) and orthogonal projections to latent structures (OPLS) have further improved the discrimination power when analyzing environmental contaminants.
Machine learning algorithms represent the cutting edge of FTIR spectral analysis. Support Vector Machines (SVM), Random Forests, and Artificial Neural Networks have demonstrated remarkable capabilities in classifying toxicants and predicting their environmental impacts. Deep learning approaches, particularly Convolutional Neural Networks (CNNs), have shown exceptional promise in automatically extracting relevant features from raw spectral data without extensive preprocessing.
Chemometric fusion algorithms that integrate FTIR data with other analytical techniques (LC-MS, GC-MS) have emerged as powerful tools for comprehensive toxicological assessment. These algorithms leverage complementary information from multiple analytical platforms to provide more robust identification and quantification of environmental contaminants.
Real-time processing algorithms have enabled in-situ FTIR monitoring of environmental samples, facilitating rapid toxicological screening. These algorithms employ dimensionality reduction techniques and efficient computational methods to deliver actionable results with minimal latency, essential for environmental emergency response scenarios.
Open-source software platforms like R (with packages such as "hyperSpec" and "ChemoSpec") and Python (with "scikit-learn" and "PyFTIR") have democratized access to advanced FTIR data processing algorithms, fostering innovation and standardization in environmental toxicology research methodologies.
Preprocessing algorithms represent the foundation of FTIR data analysis, including baseline correction, smoothing, and normalization techniques. Advanced baseline correction methods such as asymmetric least squares and adaptive iterative reweighted penalized least squares have demonstrated superior performance in handling complex environmental matrices compared to traditional polynomial fitting approaches. These algorithms effectively remove background interference while preserving spectral integrity.
Multivariate statistical methods have become indispensable for FTIR data interpretation in toxicological studies. Principal Component Analysis (PCA) and Partial Least Squares (PLS) regression enable researchers to identify patterns and correlations between spectral features and toxicological endpoints. Recent developments in orthogonal signal correction (OSC) and orthogonal projections to latent structures (OPLS) have further improved the discrimination power when analyzing environmental contaminants.
Machine learning algorithms represent the cutting edge of FTIR spectral analysis. Support Vector Machines (SVM), Random Forests, and Artificial Neural Networks have demonstrated remarkable capabilities in classifying toxicants and predicting their environmental impacts. Deep learning approaches, particularly Convolutional Neural Networks (CNNs), have shown exceptional promise in automatically extracting relevant features from raw spectral data without extensive preprocessing.
Chemometric fusion algorithms that integrate FTIR data with other analytical techniques (LC-MS, GC-MS) have emerged as powerful tools for comprehensive toxicological assessment. These algorithms leverage complementary information from multiple analytical platforms to provide more robust identification and quantification of environmental contaminants.
Real-time processing algorithms have enabled in-situ FTIR monitoring of environmental samples, facilitating rapid toxicological screening. These algorithms employ dimensionality reduction techniques and efficient computational methods to deliver actionable results with minimal latency, essential for environmental emergency response scenarios.
Open-source software platforms like R (with packages such as "hyperSpec" and "ChemoSpec") and Python (with "scikit-learn" and "PyFTIR") have democratized access to advanced FTIR data processing algorithms, fostering innovation and standardization in environmental toxicology research methodologies.
Unlock deeper insights with Patsnap Eureka Quick Research — get a full tech report to explore trends and direct your research. Try now!
Generate Your Research Report Instantly with AI Agent
Supercharge your innovation with Patsnap Eureka AI Agent Platform!







