FTIR vs Electrospray Ionization: Solution Mass Analysis
SEP 22, 20259 MIN READ
 Generate Your Research Report Instantly with AI Agent 
 Patsnap Eureka helps you evaluate technical feasibility & market potential. 
FTIR and ESI Mass Analysis Background and Objectives
Fourier Transform Infrared Spectroscopy (FTIR) and Electrospray Ionization Mass Spectrometry (ESI-MS) represent two fundamental analytical techniques that have revolutionized molecular analysis across various scientific disciplines. These technologies emerged from distinct scientific traditions but have converged as complementary approaches for comprehensive solution mass analysis.
FTIR spectroscopy, developed in the mid-20th century, evolved from traditional infrared spectroscopy through the application of Fourier transform mathematics. This advancement dramatically improved signal-to-noise ratios and data acquisition speeds, enabling the technique to become a cornerstone of molecular structure elucidation. The technology identifies molecular components by measuring how infrared radiation is absorbed by chemical bonds, creating a distinctive "fingerprint" for different molecular structures.
Electrospray Ionization, pioneered by John Fenn in the 1980s (who later received the Nobel Prize for this work), represented a breakthrough in mass spectrometry by allowing the analysis of large biomolecules without fragmentation. This soft ionization technique transformed liquid samples into gas-phase ions, opening new frontiers in proteomics, metabolomics, and pharmaceutical research.
The historical trajectory of these technologies reflects broader trends in analytical instrumentation, moving toward higher sensitivity, greater resolution, and more comprehensive molecular characterization. Recent developments have focused on miniaturization, automation, and integration with other analytical platforms to enhance their utility across diverse applications.
The primary objective of comparing FTIR and ESI-MS for solution mass analysis is to establish a framework for selecting the optimal analytical approach based on specific research or industrial requirements. While both techniques analyze molecular composition, they provide different yet complementary information: FTIR reveals structural details through functional group identification, while ESI-MS offers precise molecular weight determination and fragmentation patterns for structural elucidation.
Secondary objectives include evaluating the technical limitations of each method, exploring potential synergies when used in combination, and identifying emerging applications where these techniques provide unique advantages. Additionally, this analysis aims to assess recent technological innovations that may expand the capabilities of both methods, particularly in challenging analytical environments such as complex biological matrices or dilute environmental samples.
Understanding the fundamental principles, historical development, and current capabilities of FTIR and ESI-MS provides essential context for evaluating their respective roles in modern analytical chemistry. This comparison will serve as a foundation for subsequent analyses of market demands, technical challenges, and future innovation pathways in solution mass analysis.
FTIR spectroscopy, developed in the mid-20th century, evolved from traditional infrared spectroscopy through the application of Fourier transform mathematics. This advancement dramatically improved signal-to-noise ratios and data acquisition speeds, enabling the technique to become a cornerstone of molecular structure elucidation. The technology identifies molecular components by measuring how infrared radiation is absorbed by chemical bonds, creating a distinctive "fingerprint" for different molecular structures.
Electrospray Ionization, pioneered by John Fenn in the 1980s (who later received the Nobel Prize for this work), represented a breakthrough in mass spectrometry by allowing the analysis of large biomolecules without fragmentation. This soft ionization technique transformed liquid samples into gas-phase ions, opening new frontiers in proteomics, metabolomics, and pharmaceutical research.
The historical trajectory of these technologies reflects broader trends in analytical instrumentation, moving toward higher sensitivity, greater resolution, and more comprehensive molecular characterization. Recent developments have focused on miniaturization, automation, and integration with other analytical platforms to enhance their utility across diverse applications.
The primary objective of comparing FTIR and ESI-MS for solution mass analysis is to establish a framework for selecting the optimal analytical approach based on specific research or industrial requirements. While both techniques analyze molecular composition, they provide different yet complementary information: FTIR reveals structural details through functional group identification, while ESI-MS offers precise molecular weight determination and fragmentation patterns for structural elucidation.
Secondary objectives include evaluating the technical limitations of each method, exploring potential synergies when used in combination, and identifying emerging applications where these techniques provide unique advantages. Additionally, this analysis aims to assess recent technological innovations that may expand the capabilities of both methods, particularly in challenging analytical environments such as complex biological matrices or dilute environmental samples.
Understanding the fundamental principles, historical development, and current capabilities of FTIR and ESI-MS provides essential context for evaluating their respective roles in modern analytical chemistry. This comparison will serve as a foundation for subsequent analyses of market demands, technical challenges, and future innovation pathways in solution mass analysis.
Market Demand for Solution Mass Analysis Technologies
The solution mass analysis market has witnessed substantial growth in recent years, driven by increasing demands across pharmaceutical, biotechnology, environmental monitoring, and food safety sectors. The global market for mass spectrometry, which encompasses solution mass analysis technologies, was valued at approximately $4.6 billion in 2022 and is projected to reach $7.3 billion by 2028, representing a compound annual growth rate of 8.1%.
Pharmaceutical and biotechnology industries constitute the largest market segment, accounting for nearly 45% of the total market share. These sectors rely heavily on solution mass analysis for drug discovery, development, and quality control processes. The rising prevalence of chronic diseases and the subsequent need for novel therapeutic interventions have significantly boosted the demand for advanced analytical technologies like FTIR and Electrospray Ionization.
Environmental monitoring applications represent another rapidly growing segment, expanding at a rate of 9.3% annually. Increasing regulatory pressures for monitoring pollutants in water, soil, and air have necessitated more sensitive and accurate analytical methods. Solution mass analysis technologies provide the precision required for detecting trace contaminants, making them indispensable tools for environmental compliance.
Food safety testing has emerged as a critical application area, particularly in developed economies where stringent regulations govern food quality. The market for solution mass analysis in food safety was valued at $780 million in 2022, with projections indicating growth to $1.2 billion by 2027. This growth is primarily attributed to increasing consumer awareness regarding food adulteration and contamination.
Academic and research institutions constitute approximately 20% of the market, utilizing these technologies for fundamental research across chemistry, biology, and materials science. Government funding for research initiatives has significantly influenced the adoption of advanced analytical instruments in this sector.
Geographically, North America dominates the market with a 38% share, followed by Europe (30%) and Asia-Pacific (25%). However, the Asia-Pacific region is experiencing the fastest growth rate at 10.2% annually, driven by expanding pharmaceutical manufacturing, increasing environmental concerns, and growing investments in research infrastructure.
The demand for portable and field-deployable solution mass analysis systems has witnessed remarkable growth, particularly in environmental monitoring and forensic applications. This trend reflects the industry's shift toward more accessible and versatile analytical capabilities, with the portable mass spectrometry market segment growing at 12.5% annually.
Pharmaceutical and biotechnology industries constitute the largest market segment, accounting for nearly 45% of the total market share. These sectors rely heavily on solution mass analysis for drug discovery, development, and quality control processes. The rising prevalence of chronic diseases and the subsequent need for novel therapeutic interventions have significantly boosted the demand for advanced analytical technologies like FTIR and Electrospray Ionization.
Environmental monitoring applications represent another rapidly growing segment, expanding at a rate of 9.3% annually. Increasing regulatory pressures for monitoring pollutants in water, soil, and air have necessitated more sensitive and accurate analytical methods. Solution mass analysis technologies provide the precision required for detecting trace contaminants, making them indispensable tools for environmental compliance.
Food safety testing has emerged as a critical application area, particularly in developed economies where stringent regulations govern food quality. The market for solution mass analysis in food safety was valued at $780 million in 2022, with projections indicating growth to $1.2 billion by 2027. This growth is primarily attributed to increasing consumer awareness regarding food adulteration and contamination.
Academic and research institutions constitute approximately 20% of the market, utilizing these technologies for fundamental research across chemistry, biology, and materials science. Government funding for research initiatives has significantly influenced the adoption of advanced analytical instruments in this sector.
Geographically, North America dominates the market with a 38% share, followed by Europe (30%) and Asia-Pacific (25%). However, the Asia-Pacific region is experiencing the fastest growth rate at 10.2% annually, driven by expanding pharmaceutical manufacturing, increasing environmental concerns, and growing investments in research infrastructure.
The demand for portable and field-deployable solution mass analysis systems has witnessed remarkable growth, particularly in environmental monitoring and forensic applications. This trend reflects the industry's shift toward more accessible and versatile analytical capabilities, with the portable mass spectrometry market segment growing at 12.5% annually.
Current Capabilities and Limitations of FTIR and ESI
Fourier Transform Infrared Spectroscopy (FTIR) and Electrospray Ionization (ESI) represent two distinct analytical approaches with complementary capabilities for solution mass analysis. FTIR spectroscopy currently offers non-destructive, rapid analysis of samples with minimal preparation requirements, making it suitable for high-throughput screening applications. The technique excels at identifying functional groups and molecular structures through characteristic absorption patterns in the infrared spectrum, with modern instruments achieving resolution down to 0.5-4 cm⁻¹.
However, FTIR faces significant limitations in solution mass analysis. Water strongly absorbs infrared radiation, creating substantial interference when analyzing aqueous solutions. This necessitates specialized sampling techniques such as attenuated total reflection (ATR) accessories. Additionally, FTIR struggles with complex mixture analysis, as overlapping spectral features can obscure individual component signatures, particularly at low concentrations below approximately 0.1% by weight.
In contrast, Electrospray Ionization Mass Spectrometry (ESI-MS) demonstrates remarkable sensitivity, routinely detecting analytes at femtomole to attomole levels. This capability represents a sensitivity advantage of several orders of magnitude over FTIR. ESI excels at analyzing large biomolecules like proteins and peptides in solution without fragmentation, preserving structural integrity through its soft ionization process.
ESI-MS provides precise molecular weight determination with accuracy typically within 0.01% of theoretical mass for compounds up to 200,000 Da. Modern high-resolution instruments can achieve mass resolution exceeding 100,000 FWHM (Full Width at Half Maximum), enabling differentiation between compounds with nearly identical masses.
Despite these advantages, ESI has notable limitations. The technique exhibits compound-dependent ionization efficiency, leading to potential quantification challenges without proper calibration. Matrix effects can suppress ionization of certain analytes in complex samples, requiring extensive sample preparation or chromatographic separation. ESI also demands specialized expertise and significantly higher operational costs compared to FTIR, with instruments typically costing 5-10 times more.
Both techniques face challenges with structural isomer differentiation, though ESI can be coupled with ion mobility spectrometry or tandem MS to address this limitation. FTIR provides direct structural information but lacks ESI's sensitivity and mass accuracy. The complementary nature of these techniques has driven development of hyphenated methods combining chromatographic separation with both spectroscopic and mass spectrometric detection for comprehensive sample characterization.
Recent technological advances have improved both techniques, with quantum cascade laser-based FTIR systems enhancing sensitivity and ambient ionization ESI variants simplifying sample introduction. However, fundamental physical limitations remain, necessitating careful technique selection based on specific analytical requirements.
However, FTIR faces significant limitations in solution mass analysis. Water strongly absorbs infrared radiation, creating substantial interference when analyzing aqueous solutions. This necessitates specialized sampling techniques such as attenuated total reflection (ATR) accessories. Additionally, FTIR struggles with complex mixture analysis, as overlapping spectral features can obscure individual component signatures, particularly at low concentrations below approximately 0.1% by weight.
In contrast, Electrospray Ionization Mass Spectrometry (ESI-MS) demonstrates remarkable sensitivity, routinely detecting analytes at femtomole to attomole levels. This capability represents a sensitivity advantage of several orders of magnitude over FTIR. ESI excels at analyzing large biomolecules like proteins and peptides in solution without fragmentation, preserving structural integrity through its soft ionization process.
ESI-MS provides precise molecular weight determination with accuracy typically within 0.01% of theoretical mass for compounds up to 200,000 Da. Modern high-resolution instruments can achieve mass resolution exceeding 100,000 FWHM (Full Width at Half Maximum), enabling differentiation between compounds with nearly identical masses.
Despite these advantages, ESI has notable limitations. The technique exhibits compound-dependent ionization efficiency, leading to potential quantification challenges without proper calibration. Matrix effects can suppress ionization of certain analytes in complex samples, requiring extensive sample preparation or chromatographic separation. ESI also demands specialized expertise and significantly higher operational costs compared to FTIR, with instruments typically costing 5-10 times more.
Both techniques face challenges with structural isomer differentiation, though ESI can be coupled with ion mobility spectrometry or tandem MS to address this limitation. FTIR provides direct structural information but lacks ESI's sensitivity and mass accuracy. The complementary nature of these techniques has driven development of hyphenated methods combining chromatographic separation with both spectroscopic and mass spectrometric detection for comprehensive sample characterization.
Recent technological advances have improved both techniques, with quantum cascade laser-based FTIR systems enhancing sensitivity and ambient ionization ESI variants simplifying sample introduction. However, fundamental physical limitations remain, necessitating careful technique selection based on specific analytical requirements.
Comparative Analysis of FTIR and ESI Methodologies
01 Integration of FTIR with ESI-MS for enhanced analytical capabilities
The combination of Fourier Transform Infrared Spectroscopy (FTIR) with Electrospray Ionization Mass Spectrometry (ESI-MS) provides complementary analytical information. This integration allows for both structural identification through vibrational spectroscopy and precise molecular weight determination, enabling comprehensive characterization of complex samples. The combined techniques offer improved sensitivity, specificity, and reliability in analytical applications across various fields including pharmaceuticals, materials science, and biochemistry.- Integration of FTIR with Electrospray Ionization Mass Spectrometry: Systems that combine Fourier Transform Infrared (FTIR) spectroscopy with Electrospray Ionization Mass Spectrometry (ESI-MS) for comprehensive sample analysis. These integrated systems allow for simultaneous or sequential analysis of samples using both techniques, providing complementary structural and molecular information. The integration enhances analytical capabilities by combining the molecular vibration information from FTIR with the mass-to-charge ratio data from ESI-MS.
 - Sample preparation and introduction methods for dual analysis: Specialized techniques and devices for preparing and introducing samples for both FTIR and Electrospray Ionization Mass Analysis. These methods include microfluidic systems, specialized interfaces, and sample holders designed to facilitate the transition between the two analytical techniques. Proper sample preparation ensures compatibility with both analysis methods and minimizes contamination or degradation between analyses.
 - Advanced ion manipulation and detection systems: Innovations in ion manipulation, focusing, and detection systems that enhance the performance of electrospray ionization mass spectrometry, often used in conjunction with FTIR analysis. These systems include improved ion traps, mass analyzers, and detector technologies that increase sensitivity, resolution, and mass accuracy. Some systems incorporate specialized components for handling specific types of samples or addressing particular analytical challenges.
 - Data integration and analysis software for spectroscopic methods: Software solutions and algorithms designed to process, correlate, and interpret data from both FTIR spectroscopy and electrospray ionization mass spectrometry. These tools enable researchers to combine the complementary information from both techniques, perform multivariate analysis, and identify compounds with greater confidence. Advanced software can automate the analysis process, reduce noise, and enhance the detection of trace components in complex mixtures.
 - Miniaturized and portable analytical systems: Compact and portable systems that incorporate both FTIR and electrospray ionization mass analysis capabilities for field applications or space-constrained laboratories. These systems feature reduced size, weight, and power requirements while maintaining analytical performance. Miniaturization involves innovative component design, integration of microfluidics, and specialized electronics to enable on-site or point-of-care analysis without sacrificing data quality.
 
02 Instrumentation advancements for coupled FTIR and ESI-MS analysis
Recent technological developments have led to innovative instrumentation designs that facilitate the coupling of FTIR spectroscopy with electrospray ionization mass spectrometry. These advancements include specialized interfaces, improved ion sources, enhanced detectors, and integrated software systems. Such developments enable real-time analysis, reduced sample requirements, minimized contamination risks, and streamlined workflows for complex analytical procedures.Expand Specific Solutions03 Sample preparation and handling techniques for dual FTIR and ESI-MS analysis
Effective sample preparation methodologies are crucial for successful analysis using both FTIR and electrospray ionization mass spectrometry. These techniques include specialized extraction procedures, purification protocols, concentration methods, and compatible solvent systems that preserve sample integrity while meeting the requirements of both analytical platforms. Proper sample handling ensures optimal results from both techniques while minimizing artifacts and interferences.Expand Specific Solutions04 Data processing and interpretation methods for combined FTIR and ESI-MS results
Advanced computational approaches have been developed for the integrated analysis of data obtained from FTIR spectroscopy and electrospray ionization mass spectrometry. These methods include multivariate statistical analysis, machine learning algorithms, spectral libraries, correlation techniques, and specialized software tools. Such approaches enable the extraction of complementary information from both techniques, facilitating more comprehensive sample characterization and improved analytical outcomes.Expand Specific Solutions05 Applications of combined FTIR and ESI-MS in various scientific fields
The synergistic use of FTIR spectroscopy and electrospray ionization mass spectrometry has found diverse applications across multiple scientific disciplines. These applications include pharmaceutical analysis, environmental monitoring, forensic investigations, proteomics research, metabolomics studies, materials characterization, and quality control processes. The complementary nature of these techniques provides comprehensive analytical solutions for complex research challenges in both academic and industrial settings.Expand Specific Solutions
Leading Manufacturers and Research Institutions
The mass analysis technology landscape is currently in a mature phase with FTIR and Electrospray Ionization (ESI) representing complementary analytical approaches. The global market for these technologies exceeds $5 billion, growing at 5-7% annually, driven by pharmaceutical, environmental, and research applications. Leading players include established instrumentation companies like Agilent Technologies, Thermo Finnigan, and PerkinElmer, who have developed sophisticated mass spectrometry platforms incorporating ESI technology. Research institutions such as UNC Chapel Hill and EPFL are advancing fundamental innovations, while specialized firms like Micromass UK and Phoenix S&T focus on niche applications. The competitive landscape shows consolidation among major analytical instrument manufacturers who offer integrated solutions combining both technologies for comprehensive molecular characterization.
Agilent Technologies, Inc.
Technical Solution:  Agilent Technologies has developed advanced solutions for both FTIR and Electrospray Ionization (ESI) mass analysis. Their Cary 630 FTIR spectrometer utilizes a diamond ATR interface for rapid sample analysis without preparation, achieving spectral resolution down to 2 cm-1. For ESI-MS, Agilent's 6500 Series Q-TOF systems incorporate their Jet Stream technology, which uses heated sheath gas to focus the electrospray and improve desolvation efficiency, resulting in up to 5-10x sensitivity improvement compared to conventional ESI sources. Their dual ESI source allows simultaneous introduction of reference compounds for real-time mass calibration, achieving mass accuracy below 2 ppm. Agilent has also pioneered the integration of HPLC with both techniques, creating comprehensive LC-ESI-MS and FTIR systems for solution analysis with automated sample handling capabilities.
Strengths: Agilent's systems offer exceptional sensitivity and mass accuracy for ESI-MS applications, with industry-leading software integration for data analysis. Their FTIR systems provide rapid analysis with minimal sample preparation. Weaknesses: Their high-end systems come with significant cost implications, and the complexity of their integrated platforms requires specialized training. The FTIR solutions have limitations in analyzing dilute aqueous solutions compared to ESI-MS techniques.
Thermo Finnigan Corp.
Technical Solution:  Thermo Finnigan (now part of Thermo Fisher Scientific) has pioneered hybrid technologies combining FTIR and mass spectrometry for comprehensive solution analysis. Their Orbitrap technology revolutionized ESI-MS with its unique electrostatic ion trap design, achieving mass resolution exceeding 240,000 FWHM and mass accuracy below 1 ppm without requiring internal calibration. For FTIR analysis, their Nicolet series incorporates diamond ATR technology with patented pressure monitoring systems to ensure reproducible sample contact. Their most significant innovation is the development of LC-FTIR-MS systems that enable simultaneous molecular structure elucidation and exact mass determination. These systems utilize a splitter approach where the LC effluent is divided between an FTIR detector with a flow cell optimized for aqueous solutions and an ESI source feeding into a high-resolution mass analyzer, with sophisticated software correlating the complementary data streams in real-time.
Strengths: Thermo's systems offer unparalleled mass resolution and accuracy with their Orbitrap technology, while their integrated LC-FTIR-MS approach provides comprehensive molecular characterization. Their software ecosystem enables seamless data integration across platforms. Weaknesses: The high-end instrumentation comes with substantial cost and maintenance requirements. The flow cell approach for FTIR analysis of solutions suffers from water interference limitations, requiring careful method development for aqueous samples.
Key Technical Innovations in Mass Analysis
Infra-red spectroscopy system 
PatentWO2018178669A2
 Innovation 
- A sample slide with multiple sample-receiving portions and integrated beam-receiving portions acting as internal reflection elements, allowing for multiple measurements without removing and replacing the slide, and the use of a disposable silicon slide to reduce costs and eliminate cleaning and drying requirements.
 
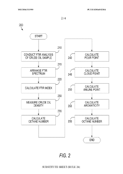
Characterization of crude oil and its fractions by fourier transform infrared spectroscopy (FTIR) analysis 
PatentWO2016111955A1
 Innovation 
- Employing Fourier Transform Infrared Spectroscopy (FTIR) analysis to directly assess properties like cetane number, pour point, cloud point, aniline point, and aromaticity of crude oil fractions without fractionation, using a system that calculates these properties based on density and FTIR measurements.
 
Sample Preparation Techniques and Considerations
Sample preparation is a critical determinant of analytical success when comparing FTIR and Electrospray Ionization (ESI) for solution mass analysis. Both techniques require distinct preparation protocols that significantly impact data quality and interpretation reliability.
For FTIR analysis, samples typically require minimal preparation when using attenuated total reflection (ATR) accessories, making it advantageous for rapid screening. Liquid samples can be directly applied to the ATR crystal, while solid samples may need grinding to ensure uniform contact with the crystal surface. The concentration range for FTIR typically falls between 0.1-10% w/v, with optimal results achieved at approximately 1-5% concentration.
In contrast, ESI-MS demands more rigorous sample preparation. Solutions must be prepared in MS-compatible solvents, typically water-methanol or water-acetonitrile mixtures with 0.1-0.5% formic acid to facilitate ionization. Sample concentrations are significantly lower than FTIR, generally in the range of 1-100 μM, with optimal sensitivity around 10 μM for most analytes.
Matrix effects present substantial challenges in both techniques. For FTIR, water absorption bands can obscure important spectral regions, necessitating deuterated solvents in some applications. ESI-MS suffers from ion suppression when sample matrices contain high salt concentrations or competing analytes, requiring additional clean-up steps such as solid-phase extraction or liquid-liquid extraction prior to analysis.
pH adjustment is particularly critical for ESI-MS, as ionization efficiency depends heavily on analyte protonation state. Most compounds ionize efficiently at pH values 2-3 units away from their pKa. FTIR is less sensitive to pH, though hydrogen bonding changes at different pH values can shift characteristic absorption bands.
Sample stability considerations differ markedly between techniques. ESI-MS samples should be freshly prepared when possible, as prolonged storage can lead to adduct formation, oxidation, or degradation. FTIR samples generally exhibit better stability but may absorb atmospheric moisture or CO2, introducing interfering bands.
Cross-contamination prevention requires different approaches: ESI-MS systems need thorough rinsing between samples with blank solvent injections, while FTIR-ATR requires crystal cleaning with appropriate solvents and verification by blank scans. These preparation differences significantly impact workflow efficiency, with FTIR offering faster sample throughput but ESI-MS providing superior specificity and sensitivity for complex mixture analysis.
For FTIR analysis, samples typically require minimal preparation when using attenuated total reflection (ATR) accessories, making it advantageous for rapid screening. Liquid samples can be directly applied to the ATR crystal, while solid samples may need grinding to ensure uniform contact with the crystal surface. The concentration range for FTIR typically falls between 0.1-10% w/v, with optimal results achieved at approximately 1-5% concentration.
In contrast, ESI-MS demands more rigorous sample preparation. Solutions must be prepared in MS-compatible solvents, typically water-methanol or water-acetonitrile mixtures with 0.1-0.5% formic acid to facilitate ionization. Sample concentrations are significantly lower than FTIR, generally in the range of 1-100 μM, with optimal sensitivity around 10 μM for most analytes.
Matrix effects present substantial challenges in both techniques. For FTIR, water absorption bands can obscure important spectral regions, necessitating deuterated solvents in some applications. ESI-MS suffers from ion suppression when sample matrices contain high salt concentrations or competing analytes, requiring additional clean-up steps such as solid-phase extraction or liquid-liquid extraction prior to analysis.
pH adjustment is particularly critical for ESI-MS, as ionization efficiency depends heavily on analyte protonation state. Most compounds ionize efficiently at pH values 2-3 units away from their pKa. FTIR is less sensitive to pH, though hydrogen bonding changes at different pH values can shift characteristic absorption bands.
Sample stability considerations differ markedly between techniques. ESI-MS samples should be freshly prepared when possible, as prolonged storage can lead to adduct formation, oxidation, or degradation. FTIR samples generally exhibit better stability but may absorb atmospheric moisture or CO2, introducing interfering bands.
Cross-contamination prevention requires different approaches: ESI-MS systems need thorough rinsing between samples with blank solvent injections, while FTIR-ATR requires crystal cleaning with appropriate solvents and verification by blank scans. These preparation differences significantly impact workflow efficiency, with FTIR offering faster sample throughput but ESI-MS providing superior specificity and sensitivity for complex mixture analysis.
Data Processing and Interpretation Challenges
Both FTIR and Electrospray Ionization (ESI) techniques present significant challenges in data processing and interpretation when applied to solution mass analysis. The complexity of spectral data obtained from FTIR requires sophisticated algorithms to deconvolute overlapping absorption bands, particularly in complex biological samples where multiple molecular species coexist. Peak assignment often necessitates reference libraries and pattern recognition software, with accuracy heavily dependent on spectral resolution and signal-to-noise ratio.
ESI mass spectrometry generates multi-charged ion distributions that require charge deconvolution algorithms to determine the actual molecular weights of analytes. This mathematical transformation can introduce artifacts if not properly calibrated, especially when dealing with heterogeneous samples. The interpretation of ESI spectra is further complicated by adduct formation, fragmentation patterns, and matrix effects that can mask or alter the true molecular signatures.
Quantitative analysis presents another significant challenge, as both techniques require careful calibration procedures. FTIR quantification relies on Beer-Lambert law relationships that may deviate in complex matrices, while ESI suffers from ionization suppression effects that can dramatically alter response factors between different molecular species. Internal standards and matrix-matched calibrations are essential but add layers of complexity to data processing workflows.
Data integration between these complementary techniques represents an emerging challenge. While FTIR provides structural information through functional group identification, ESI delivers precise molecular weight and fragmentation patterns. Combining these datasets requires sophisticated chemometric approaches and multivariate statistical methods to extract meaningful correlations and avoid false associations.
The increasing volume of data generated by high-throughput applications of both techniques has necessitated the development of automated processing pipelines. Machine learning algorithms are increasingly employed to recognize patterns, classify spectra, and predict molecular structures from spectral features. However, these approaches require extensive training datasets and validation protocols to ensure reliability across diverse sample types.
Reproducibility concerns affect both techniques differently, with FTIR being more susceptible to sample preparation variations and ESI more sensitive to instrumental parameters and environmental conditions. Standardized data formats and processing protocols are being developed by international consortia to address these challenges, though implementation across diverse research environments remains inconsistent.
ESI mass spectrometry generates multi-charged ion distributions that require charge deconvolution algorithms to determine the actual molecular weights of analytes. This mathematical transformation can introduce artifacts if not properly calibrated, especially when dealing with heterogeneous samples. The interpretation of ESI spectra is further complicated by adduct formation, fragmentation patterns, and matrix effects that can mask or alter the true molecular signatures.
Quantitative analysis presents another significant challenge, as both techniques require careful calibration procedures. FTIR quantification relies on Beer-Lambert law relationships that may deviate in complex matrices, while ESI suffers from ionization suppression effects that can dramatically alter response factors between different molecular species. Internal standards and matrix-matched calibrations are essential but add layers of complexity to data processing workflows.
Data integration between these complementary techniques represents an emerging challenge. While FTIR provides structural information through functional group identification, ESI delivers precise molecular weight and fragmentation patterns. Combining these datasets requires sophisticated chemometric approaches and multivariate statistical methods to extract meaningful correlations and avoid false associations.
The increasing volume of data generated by high-throughput applications of both techniques has necessitated the development of automated processing pipelines. Machine learning algorithms are increasingly employed to recognize patterns, classify spectra, and predict molecular structures from spectral features. However, these approaches require extensive training datasets and validation protocols to ensure reliability across diverse sample types.
Reproducibility concerns affect both techniques differently, with FTIR being more susceptible to sample preparation variations and ESI more sensitive to instrumental parameters and environmental conditions. Standardized data formats and processing protocols are being developed by international consortia to address these challenges, though implementation across diverse research environments remains inconsistent.
 Unlock deeper insights with  Patsnap Eureka Quick Research — get a full tech report to explore trends and direct your research. Try now! 
 Generate Your Research Report Instantly with AI Agent 
 Supercharge your innovation with Patsnap Eureka AI Agent Platform! 







