How FTIR Enhances Agricultural Yield Prediction
SEP 22, 20259 MIN READ
Generate Your Research Report Instantly with AI Agent
Patsnap Eureka helps you evaluate technical feasibility & market potential.
FTIR Technology Background and Agricultural Applications
Fourier Transform Infrared Spectroscopy (FTIR) has evolved significantly since its inception in the mid-20th century. Initially developed for chemical analysis in laboratory settings, FTIR technology has undergone remarkable miniaturization and increased sensitivity over the past decades. The fundamental principle behind FTIR involves measuring how infrared radiation is absorbed or transmitted by a sample, creating a molecular fingerprint that identifies chemical structures and compositions with high precision.
In agricultural contexts, FTIR technology has transitioned from purely laboratory-based applications to field-deployable systems. This evolution has been driven by advancements in portable spectrometers, improved data processing algorithms, and the integration of machine learning techniques. Modern FTIR devices can now analyze soil composition, plant tissue health, and crop characteristics in real-time, providing valuable data for yield prediction models.
The agricultural application of FTIR represents a convergence of spectroscopic science, agronomic knowledge, and data analytics. By non-destructively analyzing plant tissues, FTIR can detect subtle changes in biochemical composition that correlate with plant health, stress responses, and potential yield outcomes. This capability addresses the growing need for precision agriculture tools that can provide actionable insights without damaging crops or requiring extensive sample preparation.
Recent technological developments have enhanced FTIR's utility in agriculture through the integration of hyperspectral imaging capabilities, allowing for spatial mapping of biochemical properties across fields or individual plants. Additionally, advances in attenuated total reflection (ATR) accessories have simplified sample preparation requirements, making FTIR more accessible for routine agricultural monitoring and assessment.
The current technological trajectory aims to further miniaturize FTIR systems while increasing their robustness for field conditions. Research efforts are focused on developing more sensitive detectors, expanding the spectral range of portable devices, and creating specialized algorithms for agricultural applications. These improvements are essential for transitioning FTIR from a primarily analytical tool to a predictive technology capable of forecasting yields with increasing accuracy.
FTIR's unique ability to simultaneously detect multiple chemical compounds makes it particularly valuable for understanding the complex interactions between soil nutrients, plant metabolism, and environmental factors that ultimately determine crop yields. As climate variability increases and agricultural systems face new challenges, the predictive capabilities offered by advanced FTIR technologies represent a critical tool for ensuring food security and optimizing resource allocation in farming operations.
In agricultural contexts, FTIR technology has transitioned from purely laboratory-based applications to field-deployable systems. This evolution has been driven by advancements in portable spectrometers, improved data processing algorithms, and the integration of machine learning techniques. Modern FTIR devices can now analyze soil composition, plant tissue health, and crop characteristics in real-time, providing valuable data for yield prediction models.
The agricultural application of FTIR represents a convergence of spectroscopic science, agronomic knowledge, and data analytics. By non-destructively analyzing plant tissues, FTIR can detect subtle changes in biochemical composition that correlate with plant health, stress responses, and potential yield outcomes. This capability addresses the growing need for precision agriculture tools that can provide actionable insights without damaging crops or requiring extensive sample preparation.
Recent technological developments have enhanced FTIR's utility in agriculture through the integration of hyperspectral imaging capabilities, allowing for spatial mapping of biochemical properties across fields or individual plants. Additionally, advances in attenuated total reflection (ATR) accessories have simplified sample preparation requirements, making FTIR more accessible for routine agricultural monitoring and assessment.
The current technological trajectory aims to further miniaturize FTIR systems while increasing their robustness for field conditions. Research efforts are focused on developing more sensitive detectors, expanding the spectral range of portable devices, and creating specialized algorithms for agricultural applications. These improvements are essential for transitioning FTIR from a primarily analytical tool to a predictive technology capable of forecasting yields with increasing accuracy.
FTIR's unique ability to simultaneously detect multiple chemical compounds makes it particularly valuable for understanding the complex interactions between soil nutrients, plant metabolism, and environmental factors that ultimately determine crop yields. As climate variability increases and agricultural systems face new challenges, the predictive capabilities offered by advanced FTIR technologies represent a critical tool for ensuring food security and optimizing resource allocation in farming operations.
Market Analysis for FTIR-Based Crop Yield Prediction
The global market for FTIR-based crop yield prediction technologies is experiencing significant growth, driven by increasing food security concerns and the need for precision agriculture solutions. Current market valuations indicate that the precision agriculture market, which includes FTIR technology applications, is valued at approximately 7 billion USD with projections to reach 12.8 billion USD by 2025, representing a compound annual growth rate of 12.7%.
The demand for FTIR technology in agriculture stems primarily from large-scale commercial farming operations seeking to optimize resource allocation and maximize yields. These operations, particularly in North America, Europe, and increasingly in Asia-Pacific regions, are investing heavily in advanced analytical tools to enhance decision-making processes. The market penetration of FTIR technology in agriculture remains relatively low at 15-20%, indicating substantial room for growth.
Key market segments for FTIR-based yield prediction include grain crops (wheat, corn, rice), high-value specialty crops (fruits, vegetables), and industrial crops (cotton, sugar cane). The grain segment currently dominates market share at approximately 45%, followed by specialty crops at 30% and industrial crops at 25%. This distribution reflects both the economic importance of these crops and the technical feasibility of applying FTIR analysis to their growth cycles.
Regional analysis reveals that North America leads adoption with approximately 38% market share, followed by Europe (27%), Asia-Pacific (22%), and rest of world (13%). However, the highest growth rates are being observed in emerging agricultural markets in Brazil, India, and China, where modernization of farming practices is accelerating rapidly.
Customer segmentation shows three primary buyer categories: agricultural corporations (55% of market), agricultural service providers (30%), and research institutions/government agencies (15%). The willingness to pay varies significantly across these segments, with agricultural corporations demonstrating the highest investment capacity for comprehensive FTIR solutions.
Market barriers include high initial equipment costs, technical expertise requirements, and integration challenges with existing farm management systems. The average return on investment period for FTIR implementation in agricultural settings is currently 2-3 years, which presents adoption challenges for smaller farming operations.
Competitive analysis indicates a fragmented market with specialized agricultural technology providers competing alongside established analytical instrument manufacturers who are expanding into agricultural applications. Price sensitivity remains high, with customers increasingly demanding integrated solutions that combine hardware, software, and analytical services rather than standalone FTIR equipment.
The demand for FTIR technology in agriculture stems primarily from large-scale commercial farming operations seeking to optimize resource allocation and maximize yields. These operations, particularly in North America, Europe, and increasingly in Asia-Pacific regions, are investing heavily in advanced analytical tools to enhance decision-making processes. The market penetration of FTIR technology in agriculture remains relatively low at 15-20%, indicating substantial room for growth.
Key market segments for FTIR-based yield prediction include grain crops (wheat, corn, rice), high-value specialty crops (fruits, vegetables), and industrial crops (cotton, sugar cane). The grain segment currently dominates market share at approximately 45%, followed by specialty crops at 30% and industrial crops at 25%. This distribution reflects both the economic importance of these crops and the technical feasibility of applying FTIR analysis to their growth cycles.
Regional analysis reveals that North America leads adoption with approximately 38% market share, followed by Europe (27%), Asia-Pacific (22%), and rest of world (13%). However, the highest growth rates are being observed in emerging agricultural markets in Brazil, India, and China, where modernization of farming practices is accelerating rapidly.
Customer segmentation shows three primary buyer categories: agricultural corporations (55% of market), agricultural service providers (30%), and research institutions/government agencies (15%). The willingness to pay varies significantly across these segments, with agricultural corporations demonstrating the highest investment capacity for comprehensive FTIR solutions.
Market barriers include high initial equipment costs, technical expertise requirements, and integration challenges with existing farm management systems. The average return on investment period for FTIR implementation in agricultural settings is currently 2-3 years, which presents adoption challenges for smaller farming operations.
Competitive analysis indicates a fragmented market with specialized agricultural technology providers competing alongside established analytical instrument manufacturers who are expanding into agricultural applications. Price sensitivity remains high, with customers increasingly demanding integrated solutions that combine hardware, software, and analytical services rather than standalone FTIR equipment.
Current FTIR Spectroscopy Challenges in Agriculture
Despite the promising applications of FTIR spectroscopy in agricultural yield prediction, several significant technical challenges currently limit its widespread adoption and effectiveness. The complexity of agricultural samples presents a fundamental obstacle, as soil, plant tissues, and agricultural products contain numerous compounds that create overlapping spectral bands. This spectral congestion makes it difficult to isolate and quantify specific components relevant to yield prediction, particularly when target analytes are present in low concentrations.
Environmental interference poses another major challenge, as field conditions introduce variables such as moisture, temperature fluctuations, and dust that can significantly alter spectral readings. These factors create noise in the data and reduce measurement reproducibility, complicating the establishment of reliable prediction models. The development of robust calibration methods that can account for these environmental variations remains an ongoing challenge.
Sample preparation inconsistencies further compound these difficulties. Agricultural samples often require specific preparation protocols to ensure measurement accuracy, but standardizing these procedures across different sample types and field conditions has proven problematic. Variations in sample preparation can introduce systematic errors that propagate through the analytical process, undermining prediction reliability.
The instrumentation itself presents limitations, as traditional FTIR spectrometers are typically laboratory-based, expensive, and require specialized operation knowledge. This restricts their application in field settings where real-time or in-situ measurements would be most valuable for yield prediction. While portable FTIR devices are emerging, they generally offer lower resolution and sensitivity compared to their laboratory counterparts.
Data interpretation and model development represent perhaps the most complex challenges. The relationship between spectral features and agricultural yield parameters is often non-linear and influenced by numerous confounding variables. Developing robust chemometric models that can accurately translate spectral data into meaningful yield predictions requires sophisticated statistical approaches and large, representative datasets that are often unavailable or incomplete.
Scalability and cost-effectiveness barriers also exist, as implementing FTIR technology across large agricultural operations requires significant investment in equipment, training, and data management infrastructure. The economic justification for such investments remains unclear for many agricultural producers, particularly in regions with limited resources or technical expertise.
Lastly, there is a notable gap in standardization across the field. Different research groups and commercial entities employ varying methodologies, wavelength ranges, and data processing techniques, making it difficult to compare results or establish industry-wide best practices for FTIR-based yield prediction.
Environmental interference poses another major challenge, as field conditions introduce variables such as moisture, temperature fluctuations, and dust that can significantly alter spectral readings. These factors create noise in the data and reduce measurement reproducibility, complicating the establishment of reliable prediction models. The development of robust calibration methods that can account for these environmental variations remains an ongoing challenge.
Sample preparation inconsistencies further compound these difficulties. Agricultural samples often require specific preparation protocols to ensure measurement accuracy, but standardizing these procedures across different sample types and field conditions has proven problematic. Variations in sample preparation can introduce systematic errors that propagate through the analytical process, undermining prediction reliability.
The instrumentation itself presents limitations, as traditional FTIR spectrometers are typically laboratory-based, expensive, and require specialized operation knowledge. This restricts their application in field settings where real-time or in-situ measurements would be most valuable for yield prediction. While portable FTIR devices are emerging, they generally offer lower resolution and sensitivity compared to their laboratory counterparts.
Data interpretation and model development represent perhaps the most complex challenges. The relationship between spectral features and agricultural yield parameters is often non-linear and influenced by numerous confounding variables. Developing robust chemometric models that can accurately translate spectral data into meaningful yield predictions requires sophisticated statistical approaches and large, representative datasets that are often unavailable or incomplete.
Scalability and cost-effectiveness barriers also exist, as implementing FTIR technology across large agricultural operations requires significant investment in equipment, training, and data management infrastructure. The economic justification for such investments remains unclear for many agricultural producers, particularly in regions with limited resources or technical expertise.
Lastly, there is a notable gap in standardization across the field. Different research groups and commercial entities employ varying methodologies, wavelength ranges, and data processing techniques, making it difficult to compare results or establish industry-wide best practices for FTIR-based yield prediction.
Existing FTIR Implementation Strategies for Crop Analysis
01 FTIR spectroscopy for agricultural yield prediction
FTIR spectroscopy can be used to predict crop yields by analyzing soil and plant samples. The technique measures the absorption of infrared radiation by different chemical compounds in the samples, providing information about soil nutrients, plant health, and potential yield. Advanced algorithms process the spectral data to establish correlations between specific infrared signatures and expected crop productivity, enabling farmers to make informed decisions about resource management and harvest planning.- FTIR spectroscopy for agricultural yield prediction: FTIR spectroscopy can be used to predict crop yields by analyzing soil and plant samples. The spectral data obtained from FTIR analysis provides information about the chemical composition of samples, which can be correlated with potential crop yields. This technique allows for rapid, non-destructive assessment of soil fertility and plant health, enabling farmers to make informed decisions about crop management practices to optimize yields.
- Predictive modeling algorithms with FTIR data: Advanced algorithms and machine learning techniques can be applied to FTIR spectral data to develop predictive models for yield estimation. These models analyze patterns in spectral signatures to correlate specific absorption bands with yield outcomes. By training these models on historical data, they can accurately predict yields from new FTIR measurements, providing valuable forecasting capabilities for various industrial and agricultural applications.
- FTIR-based quality control in manufacturing processes: FTIR spectroscopy enables real-time monitoring and yield prediction in manufacturing processes by analyzing chemical compositions and reactions. This technique can detect impurities, verify product quality, and predict final yields during production. By implementing FTIR-based quality control systems, manufacturers can optimize process parameters, reduce waste, and ensure consistent product quality, ultimately improving production efficiency and yield rates.
- Portable and inline FTIR systems for yield monitoring: Portable and inline FTIR systems allow for on-site or continuous monitoring of processes to predict yields without laboratory analysis delays. These systems can be integrated directly into production lines or used in field conditions to provide immediate feedback on sample composition and expected yields. The development of miniaturized and robust FTIR devices has expanded the application of this technology to various environments where traditional laboratory analysis would be impractical.
- Multivariate analysis techniques for FTIR yield prediction: Multivariate analysis techniques such as partial least squares regression, principal component analysis, and artificial neural networks can be applied to FTIR spectral data to improve yield prediction accuracy. These statistical methods help identify complex relationships between spectral features and yield outcomes by analyzing multiple variables simultaneously. By extracting meaningful patterns from complex FTIR data, these techniques enable more precise yield predictions across various applications including pharmaceutical, chemical, and agricultural industries.
02 FTIR-based quality control and yield optimization in manufacturing
FTIR spectroscopy enables real-time monitoring of manufacturing processes to predict and optimize product yields. By analyzing the molecular composition of materials during production, manufacturers can detect deviations from optimal conditions and make immediate adjustments. This approach is particularly valuable in pharmaceutical, chemical, and food industries where product quality and consistency are critical. The spectral data can be integrated with machine learning algorithms to develop predictive models that correlate specific infrared patterns with final product yields.Expand Specific Solutions03 Portable and inline FTIR systems for yield prediction
Portable and inline FTIR systems allow for on-site or continuous monitoring of processes to predict yields without laboratory sample preparation. These systems can be integrated directly into production lines or used in field conditions to provide immediate feedback on product quality and expected yields. The technology incorporates miniaturized spectrometers, automated sampling mechanisms, and robust data processing capabilities to deliver reliable predictions even in challenging environments. This approach significantly reduces the time between testing and decision-making.Expand Specific Solutions04 Machine learning and AI integration with FTIR for yield prediction
Advanced machine learning and artificial intelligence algorithms enhance the predictive capabilities of FTIR spectroscopy for yield estimation. These computational approaches can identify complex patterns in spectral data that correlate with final yields, even when the relationships are non-linear or involve multiple variables. Deep learning models can be trained on historical spectroscopic data paired with actual yield results to develop increasingly accurate prediction systems. This integration of spectroscopy with AI enables more precise forecasting across various industries.Expand Specific Solutions05 Multivariate analysis techniques for FTIR yield prediction
Multivariate analysis techniques applied to FTIR spectral data improve the accuracy of yield predictions by accounting for multiple variables simultaneously. Methods such as partial least squares regression, principal component analysis, and chemometrics extract meaningful correlations from complex spectral datasets. These statistical approaches can identify key spectral regions that most strongly correlate with yield outcomes, allowing for more focused analysis and more reliable predictions. The techniques also help in eliminating noise and identifying outliers in the spectral data.Expand Specific Solutions
Leading Companies in Agricultural FTIR Technology
FTIR technology in agricultural yield prediction is in a growth phase, with an expanding market driven by precision agriculture trends. The technology demonstrates moderate maturity, with academic institutions like China Agricultural University and Zhejiang University leading research efforts, while commercial applications are being developed by agricultural technology companies such as Deere & Co. and AGCO Corp. Integration with AI and remote sensing technologies by companies like IBM and Corteva Agriscience is advancing the field's capabilities. The convergence of academic research and industry implementation suggests FTIR technology is transitioning from experimental to practical applications, with significant potential for improving agricultural productivity and sustainability.
China Agricultural University
Technical Solution: China Agricultural University has developed an advanced FTIR (Fourier Transform Infrared) spectroscopy system specifically designed for agricultural yield prediction. Their approach combines hyperspectral imaging with machine learning algorithms to analyze soil organic matter, nutrient content, and crop health indicators. The university's research team has created a portable FTIR device that can be used directly in fields to collect real-time spectral data from crops and soil. This data is then processed through their proprietary algorithms that correlate specific infrared absorption patterns with crop yield potential. Their system has demonstrated the ability to detect early signs of plant stress, nutrient deficiencies, and soil quality issues weeks before they become visually apparent, allowing for timely intervention. Field trials across various crops in different regions of China have shown prediction accuracy rates of up to 85% for final yield estimates when measurements are taken during key growth stages.
Strengths: High accuracy in early detection of plant stress factors; portable technology allowing for in-field measurements; comprehensive database of spectral signatures for various crops and soil types. Weaknesses: Requires calibration for different crop varieties and regional soil conditions; performance can be affected by environmental factors like humidity and temperature; relatively high initial investment cost for farmers.
Deere & Co.
Technical Solution: Deere & Co. has integrated FTIR technology into their precision agriculture platform to enhance yield prediction capabilities. Their system combines tractor-mounted FTIR sensors with GPS technology to create detailed spectral maps of fields during regular farming operations. These sensors continuously collect data on plant health, soil composition, and moisture levels as equipment moves through the field. The collected infrared spectral data is transmitted in real-time to Deere's cloud-based analytics platform, where it's processed using proprietary algorithms that incorporate historical yield data, weather patterns, and crop-specific growth models. The company has developed specialized FTIR sensors that can operate effectively despite vibration and dust in field conditions, with automatic calibration features to maintain accuracy. Their system provides farmers with actionable insights through mobile applications, including yield prediction maps that identify areas of concern and potential yield variations within fields, enabling variable-rate applications of inputs to maximize productivity.
Strengths: Seamless integration with existing farm equipment; real-time data collection during normal field operations; comprehensive analytics platform combining multiple data sources for improved prediction accuracy. Weaknesses: Significant investment required in compatible equipment; dependence on connectivity for real-time data transmission; requires subscription to Deere's digital ecosystem for full functionality.
Key FTIR Spectral Analysis Innovations for Yield Assessment
Spectroscopy process modelling and monitoring
PatentWO2024209273A2
Innovation
- A Fourier Transform Infrared (FTIR) spectroscopy-based monitoring platform that uses machine learning techniques to analyze FTIR data from fermentation processes, enabling the prediction of POI presence and titer, as well as fermentation metrics like EPS concentration, allowing for real-time process optimization.
Method for soil content prediction based on a limited number of mid-infrared absorbances
PatentInactiveUS7671336B2
Innovation
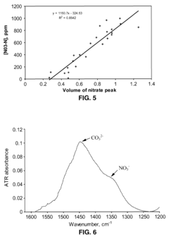
- The use of wavelet analysis in conjunction with Fourier Transform Infrared (FTIR) Attenuated Total Reflection (ATR) spectroscopy to identify specific wavenumbers that correlate directly with nitrate, phosphorus, and organic matter content, allowing for the development of calibration equations that are independent of soil type and can accurately predict these components in agricultural soils.
Data Integration Framework for FTIR and Other Sensing Technologies
The integration of Fourier Transform Infrared (FTIR) spectroscopy with other sensing technologies requires a robust data framework that can handle diverse data types, formats, and volumes. This framework must facilitate seamless communication between different sensing platforms while ensuring data integrity and accessibility for agricultural yield prediction models.
At the core of this integration framework lies a multi-layered architecture designed to collect, process, and analyze spectral data alongside traditional agricultural measurements. The primary layer consists of data acquisition modules that standardize inputs from FTIR sensors, multispectral cameras, soil moisture probes, and weather stations. These modules employ specialized protocols to handle the high-dimensional spectral data from FTIR while simultaneously processing simpler numerical data from conventional sensors.
The middleware layer implements data harmonization algorithms that address temporal and spatial alignment challenges. FTIR measurements, which provide detailed molecular fingerprints of plant tissues and soil samples, often operate at different sampling frequencies compared to continuous monitoring sensors. The framework employs adaptive sampling techniques and interpolation methods to create synchronized datasets suitable for integrated analysis.
Data storage components utilize hybrid database structures that efficiently manage both the dense spectral matrices from FTIR and the structured data from other sources. This includes specialized compression algorithms for spectral data that preserve critical features while reducing storage requirements by up to 80% compared to raw data formats.
The analytics layer incorporates machine learning pipelines specifically designed for heterogeneous data fusion. These pipelines implement feature extraction techniques that can identify complementary information between FTIR spectra and other sensor readings. For example, correlating specific infrared absorption bands with soil moisture levels enhances the predictive power for crop stress detection.
Real-time processing capabilities enable the framework to handle streaming data from field-deployed sensors, with edge computing nodes performing preliminary analysis before transmission to central systems. This distributed architecture reduces bandwidth requirements while providing timely insights for agricultural management decisions.
The framework also includes standardized APIs and data exchange formats that facilitate integration with existing farm management systems and agricultural decision support tools. These interfaces support both batch processing for historical analysis and real-time data flows for immediate response to changing field conditions.
Security and data governance features ensure appropriate access controls and maintain audit trails for all data transformations, critical for applications involving proprietary crop varieties or precision agriculture intellectual property.
At the core of this integration framework lies a multi-layered architecture designed to collect, process, and analyze spectral data alongside traditional agricultural measurements. The primary layer consists of data acquisition modules that standardize inputs from FTIR sensors, multispectral cameras, soil moisture probes, and weather stations. These modules employ specialized protocols to handle the high-dimensional spectral data from FTIR while simultaneously processing simpler numerical data from conventional sensors.
The middleware layer implements data harmonization algorithms that address temporal and spatial alignment challenges. FTIR measurements, which provide detailed molecular fingerprints of plant tissues and soil samples, often operate at different sampling frequencies compared to continuous monitoring sensors. The framework employs adaptive sampling techniques and interpolation methods to create synchronized datasets suitable for integrated analysis.
Data storage components utilize hybrid database structures that efficiently manage both the dense spectral matrices from FTIR and the structured data from other sources. This includes specialized compression algorithms for spectral data that preserve critical features while reducing storage requirements by up to 80% compared to raw data formats.
The analytics layer incorporates machine learning pipelines specifically designed for heterogeneous data fusion. These pipelines implement feature extraction techniques that can identify complementary information between FTIR spectra and other sensor readings. For example, correlating specific infrared absorption bands with soil moisture levels enhances the predictive power for crop stress detection.
Real-time processing capabilities enable the framework to handle streaming data from field-deployed sensors, with edge computing nodes performing preliminary analysis before transmission to central systems. This distributed architecture reduces bandwidth requirements while providing timely insights for agricultural management decisions.
The framework also includes standardized APIs and data exchange formats that facilitate integration with existing farm management systems and agricultural decision support tools. These interfaces support both batch processing for historical analysis and real-time data flows for immediate response to changing field conditions.
Security and data governance features ensure appropriate access controls and maintain audit trails for all data transformations, critical for applications involving proprietary crop varieties or precision agriculture intellectual property.
Climate Change Impacts on FTIR-Based Prediction Models
Climate change presents significant challenges to FTIR-based agricultural yield prediction models, requiring continuous adaptation and refinement. Rising global temperatures alter plant physiological responses, shifting spectral signatures that FTIR technology relies on for accurate predictions. These changes necessitate recalibration of existing models to maintain prediction accuracy under evolving climate conditions.
Increased frequency of extreme weather events—including droughts, floods, and heatwaves—introduces variability in soil moisture content and plant stress levels that directly impact FTIR measurements. The spectral absorption patterns of water-stressed crops differ markedly from those under optimal conditions, requiring models to incorporate climate-induced stress factors into their prediction algorithms.
Carbon dioxide concentration changes in the atmosphere further complicate FTIR-based predictions by altering plant metabolic processes and chemical composition. Higher CO2 levels typically increase biomass production but may decrease nutritional content in crops, creating a disconnect between spectral signatures and actual yield quality that must be accounted for in advanced models.
Seasonal shifts and changing precipitation patterns affect the timing of critical growth stages, introducing temporal variability that challenges the static nature of many current FTIR prediction frameworks. Models must evolve to incorporate phenological shifts and their corresponding spectral changes throughout the growing season under different climate scenarios.
Regional climate variations present another layer of complexity, as FTIR models calibrated for specific geographical areas may lose accuracy when applied to regions experiencing different climate change impacts. This necessitates the development of more robust, geographically adaptable models that can account for regional climate variability while maintaining prediction accuracy.
Emerging research indicates that incorporating climate change parameters directly into FTIR prediction models significantly improves their resilience and long-term viability. Multi-factor models that integrate historical climate data, current measurements, and climate projections demonstrate superior performance compared to traditional models that rely solely on spectral data. These advanced models employ machine learning algorithms to identify complex relationships between changing climate variables and spectral signatures.
The agricultural technology sector is responding with adaptive FTIR systems that feature continuous learning capabilities, automatically adjusting to gradual climate shifts while maintaining prediction accuracy. These systems represent the next generation of agricultural yield prediction tools designed specifically to function effectively in an era of climate uncertainty.
Increased frequency of extreme weather events—including droughts, floods, and heatwaves—introduces variability in soil moisture content and plant stress levels that directly impact FTIR measurements. The spectral absorption patterns of water-stressed crops differ markedly from those under optimal conditions, requiring models to incorporate climate-induced stress factors into their prediction algorithms.
Carbon dioxide concentration changes in the atmosphere further complicate FTIR-based predictions by altering plant metabolic processes and chemical composition. Higher CO2 levels typically increase biomass production but may decrease nutritional content in crops, creating a disconnect between spectral signatures and actual yield quality that must be accounted for in advanced models.
Seasonal shifts and changing precipitation patterns affect the timing of critical growth stages, introducing temporal variability that challenges the static nature of many current FTIR prediction frameworks. Models must evolve to incorporate phenological shifts and their corresponding spectral changes throughout the growing season under different climate scenarios.
Regional climate variations present another layer of complexity, as FTIR models calibrated for specific geographical areas may lose accuracy when applied to regions experiencing different climate change impacts. This necessitates the development of more robust, geographically adaptable models that can account for regional climate variability while maintaining prediction accuracy.
Emerging research indicates that incorporating climate change parameters directly into FTIR prediction models significantly improves their resilience and long-term viability. Multi-factor models that integrate historical climate data, current measurements, and climate projections demonstrate superior performance compared to traditional models that rely solely on spectral data. These advanced models employ machine learning algorithms to identify complex relationships between changing climate variables and spectral signatures.
The agricultural technology sector is responding with adaptive FTIR systems that feature continuous learning capabilities, automatically adjusting to gradual climate shifts while maintaining prediction accuracy. These systems represent the next generation of agricultural yield prediction tools designed specifically to function effectively in an era of climate uncertainty.
Unlock deeper insights with Patsnap Eureka Quick Research — get a full tech report to explore trends and direct your research. Try now!
Generate Your Research Report Instantly with AI Agent
Supercharge your innovation with Patsnap Eureka AI Agent Platform!







