How to Integrate Hall Effect Sensors in Smart Surveillance Systems
SEP 22, 20259 MIN READ
Generate Your Research Report Instantly with AI Agent
Patsnap Eureka helps you evaluate technical feasibility & market potential.
Hall Effect Sensor Technology Background and Objectives
Hall Effect sensors, discovered by Edwin Hall in 1879, represent a cornerstone technology in magnetic field detection. These sensors operate on the principle of the Hall Effect, where a voltage difference is generated across an electrical conductor transverse to an electric current when exposed to a perpendicular magnetic field. This fundamental principle has evolved from basic magnetic detection to sophisticated applications in various industries, including automotive, industrial automation, and consumer electronics.
The evolution of Hall Effect sensor technology has been marked by significant advancements in miniaturization, sensitivity, and integration capabilities. Early Hall sensors were bulky and limited in application, but modern iterations feature micro-scale dimensions, enhanced magnetic sensitivity, and integrated signal processing capabilities. This progression has been driven by developments in semiconductor manufacturing, materials science, and integrated circuit design, enabling the creation of more compact, efficient, and versatile sensing solutions.
In the context of smart surveillance systems, Hall Effect sensors present a unique opportunity to enhance security infrastructure through non-contact detection mechanisms. Traditional surveillance systems primarily rely on optical and motion detection technologies, which can be compromised by environmental factors such as lighting conditions, weather, or deliberate tampering. Hall Effect sensors offer complementary capabilities by detecting magnetic field variations associated with metallic objects, movement patterns, and electronic devices.
The primary technical objective for integrating Hall Effect sensors into smart surveillance systems is to develop a multi-layered detection framework that combines magnetic field sensing with conventional surveillance technologies. This integration aims to enhance the reliability, accuracy, and security of surveillance systems by providing an additional detection parameter that is resistant to common countermeasures and environmental interferences.
Specific technical goals include developing algorithms for magnetic signature recognition, creating fusion methodologies for correlating magnetic field data with video analytics, and establishing robust communication protocols between Hall Effect sensors and central surveillance systems. Additionally, there is a focus on optimizing power consumption for battery-operated deployments and enhancing the durability of sensors for outdoor and harsh environment applications.
The technological trajectory suggests a convergence of Hall Effect sensing with artificial intelligence and machine learning, enabling predictive security measures based on magnetic field pattern recognition. Future developments are expected to focus on increasing detection range, improving discrimination between benign and suspicious magnetic signatures, and reducing false alarm rates through advanced signal processing techniques.
As smart cities and IoT infrastructures continue to expand, Hall Effect sensor integration represents a strategic technological direction for next-generation surveillance systems that prioritize multi-modal sensing, energy efficiency, and intelligent threat detection capabilities.
The evolution of Hall Effect sensor technology has been marked by significant advancements in miniaturization, sensitivity, and integration capabilities. Early Hall sensors were bulky and limited in application, but modern iterations feature micro-scale dimensions, enhanced magnetic sensitivity, and integrated signal processing capabilities. This progression has been driven by developments in semiconductor manufacturing, materials science, and integrated circuit design, enabling the creation of more compact, efficient, and versatile sensing solutions.
In the context of smart surveillance systems, Hall Effect sensors present a unique opportunity to enhance security infrastructure through non-contact detection mechanisms. Traditional surveillance systems primarily rely on optical and motion detection technologies, which can be compromised by environmental factors such as lighting conditions, weather, or deliberate tampering. Hall Effect sensors offer complementary capabilities by detecting magnetic field variations associated with metallic objects, movement patterns, and electronic devices.
The primary technical objective for integrating Hall Effect sensors into smart surveillance systems is to develop a multi-layered detection framework that combines magnetic field sensing with conventional surveillance technologies. This integration aims to enhance the reliability, accuracy, and security of surveillance systems by providing an additional detection parameter that is resistant to common countermeasures and environmental interferences.
Specific technical goals include developing algorithms for magnetic signature recognition, creating fusion methodologies for correlating magnetic field data with video analytics, and establishing robust communication protocols between Hall Effect sensors and central surveillance systems. Additionally, there is a focus on optimizing power consumption for battery-operated deployments and enhancing the durability of sensors for outdoor and harsh environment applications.
The technological trajectory suggests a convergence of Hall Effect sensing with artificial intelligence and machine learning, enabling predictive security measures based on magnetic field pattern recognition. Future developments are expected to focus on increasing detection range, improving discrimination between benign and suspicious magnetic signatures, and reducing false alarm rates through advanced signal processing techniques.
As smart cities and IoT infrastructures continue to expand, Hall Effect sensor integration represents a strategic technological direction for next-generation surveillance systems that prioritize multi-modal sensing, energy efficiency, and intelligent threat detection capabilities.
Market Analysis for Smart Surveillance Applications
The global smart surveillance market is experiencing robust growth, projected to reach $83.6 billion by 2027, with a compound annual growth rate of 14.3% from 2022. This expansion is primarily driven by increasing security concerns across various sectors including government, commercial, residential, and industrial applications. The integration of Hall Effect sensors into smart surveillance systems represents a significant technological advancement that addresses several market demands.
Security and surveillance applications have evolved from simple recording devices to intelligent systems capable of real-time monitoring, analysis, and response. This evolution has created a substantial market opportunity for advanced sensing technologies like Hall Effect sensors, which can detect magnetic field variations to monitor movement, position, and proximity with high precision.
In the commercial sector, retail businesses are increasingly adopting smart surveillance systems equipped with Hall Effect sensors for customer tracking, inventory management, and theft prevention. These applications alone account for approximately 23% of the current market share for smart surveillance technologies. The banking and financial services industry has also emerged as a significant adopter, utilizing these systems for secure access control and monitoring of sensitive areas.
Government and public safety applications represent the largest market segment, constituting nearly 35% of the total market value. This includes border security, public space monitoring, and critical infrastructure protection. The integration of Hall Effect sensors in these applications provides enhanced reliability and accuracy in detecting unauthorized access or suspicious activities.
The residential security market is witnessing accelerated growth at 16.8% annually, as homeowners increasingly invest in smart home security systems. Hall Effect sensor-based solutions offer advantages in door/window security, perimeter monitoring, and garage access control, providing non-contact detection capabilities that reduce false alarms and increase system longevity.
Regionally, North America leads the market with a 38% share, followed by Europe (27%) and Asia-Pacific (24%). However, the Asia-Pacific region is expected to demonstrate the fastest growth rate of 17.2% through 2027, driven by rapid urbanization, increasing security concerns, and government initiatives for smart city development in countries like China, India, and South Korea.
The market is also witnessing a shift toward integrated solutions that combine multiple sensing technologies. Hall Effect sensors are increasingly being paired with video analytics, infrared sensors, and AI-powered systems to create comprehensive surveillance solutions that offer superior detection capabilities across various environmental conditions and use cases.
Security and surveillance applications have evolved from simple recording devices to intelligent systems capable of real-time monitoring, analysis, and response. This evolution has created a substantial market opportunity for advanced sensing technologies like Hall Effect sensors, which can detect magnetic field variations to monitor movement, position, and proximity with high precision.
In the commercial sector, retail businesses are increasingly adopting smart surveillance systems equipped with Hall Effect sensors for customer tracking, inventory management, and theft prevention. These applications alone account for approximately 23% of the current market share for smart surveillance technologies. The banking and financial services industry has also emerged as a significant adopter, utilizing these systems for secure access control and monitoring of sensitive areas.
Government and public safety applications represent the largest market segment, constituting nearly 35% of the total market value. This includes border security, public space monitoring, and critical infrastructure protection. The integration of Hall Effect sensors in these applications provides enhanced reliability and accuracy in detecting unauthorized access or suspicious activities.
The residential security market is witnessing accelerated growth at 16.8% annually, as homeowners increasingly invest in smart home security systems. Hall Effect sensor-based solutions offer advantages in door/window security, perimeter monitoring, and garage access control, providing non-contact detection capabilities that reduce false alarms and increase system longevity.
Regionally, North America leads the market with a 38% share, followed by Europe (27%) and Asia-Pacific (24%). However, the Asia-Pacific region is expected to demonstrate the fastest growth rate of 17.2% through 2027, driven by rapid urbanization, increasing security concerns, and government initiatives for smart city development in countries like China, India, and South Korea.
The market is also witnessing a shift toward integrated solutions that combine multiple sensing technologies. Hall Effect sensors are increasingly being paired with video analytics, infrared sensors, and AI-powered systems to create comprehensive surveillance solutions that offer superior detection capabilities across various environmental conditions and use cases.
Current Challenges in Hall Sensor Integration
The integration of Hall Effect sensors into smart surveillance systems presents several significant technical challenges that must be addressed for successful implementation. These challenges span across hardware compatibility, signal processing, environmental factors, and system integration aspects.
Hardware miniaturization remains a primary obstacle as surveillance systems require increasingly compact components. Current Hall Effect sensors, while relatively small, still face difficulties when integrated into discreet surveillance equipment without compromising the overall form factor. The power consumption of these sensors also presents challenges, particularly for battery-operated or remote surveillance systems where energy efficiency is paramount.
Signal quality and interference management constitute another major hurdle. Hall Effect sensors are susceptible to electromagnetic interference (EMI), which is abundant in urban environments where surveillance systems are commonly deployed. The magnetic noise floor in these settings can significantly reduce sensor sensitivity and accuracy, leading to false positives or missed detections in surveillance applications.
Environmental adaptability poses substantial challenges as well. Temperature variations can cause drift in Hall sensor readings, requiring sophisticated compensation algorithms. Additionally, exposure to moisture, dust, and vibration in outdoor surveillance installations can degrade sensor performance over time, necessitating robust encapsulation solutions that don't impede magnetic field detection.
Data integration and processing limitations further complicate implementation. The real-time data from Hall Effect sensors must be effectively synchronized with other surveillance inputs (video, audio, infrared) to create meaningful security insights. Current sensor fusion algorithms struggle to properly weight and interpret magnetic field data alongside traditional surveillance inputs, creating bottlenecks in system responsiveness.
Calibration and maintenance requirements present ongoing operational challenges. Hall Effect sensors require periodic recalibration to maintain accuracy, which is problematic for widely distributed surveillance networks. Remote calibration capabilities remain limited, often necessitating physical access to sensor locations.
Cost considerations also impact widespread adoption. While individual Hall Effect sensors are relatively inexpensive, the additional supporting components required (signal conditioning circuits, shielding, specialized mounting) significantly increase implementation costs. The return on investment for these enhanced capabilities must be clearly demonstrated to surveillance system manufacturers.
Standardization issues further complicate integration efforts. The lack of unified protocols for Hall sensor data in surveillance applications means that custom interfaces must often be developed, increasing development time and limiting interoperability between different system components and platforms.
Hardware miniaturization remains a primary obstacle as surveillance systems require increasingly compact components. Current Hall Effect sensors, while relatively small, still face difficulties when integrated into discreet surveillance equipment without compromising the overall form factor. The power consumption of these sensors also presents challenges, particularly for battery-operated or remote surveillance systems where energy efficiency is paramount.
Signal quality and interference management constitute another major hurdle. Hall Effect sensors are susceptible to electromagnetic interference (EMI), which is abundant in urban environments where surveillance systems are commonly deployed. The magnetic noise floor in these settings can significantly reduce sensor sensitivity and accuracy, leading to false positives or missed detections in surveillance applications.
Environmental adaptability poses substantial challenges as well. Temperature variations can cause drift in Hall sensor readings, requiring sophisticated compensation algorithms. Additionally, exposure to moisture, dust, and vibration in outdoor surveillance installations can degrade sensor performance over time, necessitating robust encapsulation solutions that don't impede magnetic field detection.
Data integration and processing limitations further complicate implementation. The real-time data from Hall Effect sensors must be effectively synchronized with other surveillance inputs (video, audio, infrared) to create meaningful security insights. Current sensor fusion algorithms struggle to properly weight and interpret magnetic field data alongside traditional surveillance inputs, creating bottlenecks in system responsiveness.
Calibration and maintenance requirements present ongoing operational challenges. Hall Effect sensors require periodic recalibration to maintain accuracy, which is problematic for widely distributed surveillance networks. Remote calibration capabilities remain limited, often necessitating physical access to sensor locations.
Cost considerations also impact widespread adoption. While individual Hall Effect sensors are relatively inexpensive, the additional supporting components required (signal conditioning circuits, shielding, specialized mounting) significantly increase implementation costs. The return on investment for these enhanced capabilities must be clearly demonstrated to surveillance system manufacturers.
Standardization issues further complicate integration efforts. The lack of unified protocols for Hall sensor data in surveillance applications means that custom interfaces must often be developed, increasing development time and limiting interoperability between different system components and platforms.
Existing Hall Sensor Implementation Solutions
01 Hall Effect Sensor Design and Structure
Hall effect sensors are designed with specific structures to optimize their performance in detecting magnetic fields. These designs include various semiconductor materials, layered structures, and integrated components that enhance sensitivity and reliability. The structure often incorporates magnetic flux concentrators and specialized packaging to protect the sensing element while allowing efficient magnetic field interaction.- Design and structure of Hall effect sensors: Hall effect sensors are designed with specific structures to detect magnetic fields. These sensors typically consist of a semiconductor material with electrical contacts. When a magnetic field is applied perpendicular to the current flow, a voltage is generated across the semiconductor due to the Hall effect. Various structural designs can enhance sensitivity, reduce noise, and improve performance in different applications.
- Magnetic field measurement applications: Hall effect sensors are widely used for magnetic field measurement in various applications. They can detect the presence, strength, and direction of magnetic fields with high precision. These sensors are employed in position sensing, speed detection, current measurement, and proximity detection. The non-contact nature of magnetic field sensing makes Hall effect sensors reliable for harsh environments and moving parts detection.
- Signal processing and conditioning techniques: Signal processing and conditioning are essential for improving the performance of Hall effect sensors. Techniques include amplification of the Hall voltage, filtering to reduce noise, temperature compensation to maintain accuracy across operating conditions, and digital signal processing for enhanced output. Advanced signal conditioning circuits can significantly improve the sensitivity and reliability of Hall effect sensors in various applications.
- Integration with semiconductor devices: Hall effect sensors can be integrated with other semiconductor devices to create compact sensing solutions. Integration techniques include embedding Hall elements within integrated circuits, combining with signal processing circuitry on a single chip, and packaging with magnetic concentrators. This integration enables miniaturization, improved performance, and cost reduction for applications in consumer electronics, automotive systems, and industrial equipment.
- Specialized applications and sensing configurations: Hall effect sensors are configured in specialized ways for specific applications. These include current sensing using magnetic field generated by current-carrying conductors, rotational speed measurement in motors and engines, position detection in automotive and industrial systems, and contactless switching applications. Different configurations optimize the sensor performance for particular operating conditions, measurement ranges, and environmental factors.
02 Measurement and Detection Applications
Hall effect sensors are widely used for measurement and detection applications across various industries. They can detect position, proximity, speed, and rotation by measuring changes in magnetic fields. These sensors are particularly valuable in automotive systems, industrial equipment, and consumer electronics where non-contact sensing is required for reliability and longevity.Expand Specific Solutions03 Signal Processing and Conditioning
Advanced signal processing techniques are essential for improving the performance of Hall effect sensors. This includes amplification circuits, noise reduction methods, temperature compensation, and digital signal processing. These techniques help to enhance the accuracy, resolution, and reliability of the sensor outputs, making them suitable for precision applications even in challenging environments.Expand Specific Solutions04 Integration with Electronic Systems
Hall effect sensors can be integrated with various electronic systems to provide magnetic field sensing capabilities. This integration includes incorporation into integrated circuits, microcontrollers, and specialized sensing modules. The sensors can be designed to interface with digital systems through various communication protocols, enabling seamless integration into complex electronic systems.Expand Specific Solutions05 Enhanced Sensitivity and Performance
Various techniques are employed to enhance the sensitivity and overall performance of Hall effect sensors. These include the use of specialized materials, geometric optimizations, and innovative biasing methods. Advanced manufacturing processes and novel sensor architectures help to improve the signal-to-noise ratio, reduce power consumption, and extend the operating temperature range of these sensors.Expand Specific Solutions
Leading Manufacturers and Competitors Analysis
The integration of Hall Effect sensors in smart surveillance systems is currently in a growth phase, with the market expanding rapidly due to increasing security concerns and smart city initiatives. The global market size is estimated to reach $5-7 billion by 2025, growing at a CAGR of approximately 12-15%. Technologically, the field shows varying maturity levels across applications. Industry leaders like Honeywell International, Texas Instruments, and Robert Bosch GmbH have developed advanced solutions with high precision and reliability. Infineon Technologies and STMicroelectronics are pushing boundaries with miniaturized sensors featuring enhanced sensitivity and power efficiency. Meanwhile, emerging players such as SigmaSense and Hangzhou Sitai Microelectronics are introducing innovative approaches to overcome traditional limitations in noise immunity and environmental adaptability, indicating a dynamic competitive landscape with significant room for technological advancement.
Honeywell International Technologies Ltd.
Technical Solution: Honeywell has developed an integrated surveillance solution that incorporates Hall effect sensors for enhanced motion detection and perimeter security. Their system utilizes magnetoresistive sensor technology that detects changes in magnetic fields when metallic objects pass nearby, enabling covert installation beneath surfaces while maintaining detection capabilities[1]. The solution combines Hall effect sensors with their existing video analytics platform to create a multi-layered detection system that can distinguish between human intruders and animals or environmental factors. Honeywell's implementation includes specialized signal processing algorithms that filter out magnetic noise and environmental interference, significantly reducing false alarms compared to traditional PIR-only systems[3]. Their smart surveillance systems feature low-power Hall effect sensors networked through their proprietary Enterprise Buildings Integrator (EBI) platform, allowing for comprehensive facility monitoring with extended battery life for wireless sensor nodes.
Strengths: Superior detection accuracy through multi-sensor fusion; reduced false alarms through advanced signal processing; seamless integration with existing security infrastructure. Weaknesses: Higher implementation cost compared to traditional systems; requires careful calibration for optimal performance; potential susceptibility to sophisticated magnetic interference in certain environments.
Texas Instruments Incorporated
Technical Solution: Texas Instruments has engineered a comprehensive Hall effect sensor integration solution for smart surveillance systems centered around their DRV5032 ultra-low-power digital Hall effect sensor. This solution combines their MSP430 microcontrollers with specialized Hall sensors to create an energy-efficient detection system that consumes less than 0.5μA in standby mode[2]. TI's approach incorporates their SimpleLink™ wireless MCU technology to create mesh networks of Hall effect sensors that can cover large surveillance areas while maintaining reliable communication. Their implementation includes specialized analog front-end circuitry that enhances the sensitivity of Hall effect measurements while rejecting common-mode noise, allowing detection of subtle magnetic field changes from greater distances[4]. TI has also developed reference designs specifically for surveillance applications that demonstrate how to integrate their Hall effect sensors with video analytics systems, creating hybrid detection mechanisms that improve accuracy while reducing power consumption by up to 70% compared to always-on camera systems.
Strengths: Extremely low power consumption enabling battery-powered wireless deployments; extensive development ecosystem with reference designs and software libraries; high integration capability with other sensing technologies. Weaknesses: Requires additional components for complete surveillance solution; detection range limitations compared to optical systems; requires expertise in embedded systems for optimal implementation.
Key Patents and Technical Innovations
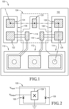
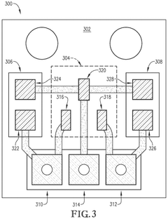
System for locating hall effect sensor assembly
PatentPendingUS20240334606A1
Innovation
- A scalable Hall Effect sensor assembly with integrated ESD protection, comprising a substrate with a Hall Effect sensor and diodes, and a system for precise placement using an XY stage, magnetic device, processor, marking device, and altering device to eliminate tolerance stacks and ensure accurate positioning.
Patent
Innovation
- Integration of Hall effect sensors with smart surveillance systems to detect and track metallic objects or magnetic field changes, enabling enhanced security monitoring capabilities.
- Dual-mode surveillance system combining traditional video analytics with magnetic field detection through Hall effect sensors, creating a more comprehensive security solution that works in various lighting and environmental conditions.
- Real-time alert system based on magnetic threshold triggers from Hall effect sensors, allowing for immediate notification when unauthorized metallic objects enter secured areas.
Security and Privacy Compliance Framework
The integration of Hall Effect sensors in smart surveillance systems necessitates a robust Security and Privacy Compliance Framework to address the unique challenges posed by these magnetic field detection technologies. This framework must align with international standards such as GDPR, CCPA, and industry-specific regulations while accommodating the specific data collection mechanisms of Hall Effect sensors.
A comprehensive compliance framework begins with data classification protocols that categorize information captured by Hall Effect sensors based on sensitivity levels. Since these sensors primarily detect movement and presence rather than capturing identifiable imagery, they present different privacy implications compared to traditional video surveillance. Nevertheless, when combined with other surveillance technologies, they can contribute to comprehensive tracking systems that require careful privacy considerations.
Risk assessment methodologies specific to Hall Effect sensor implementations must be established, focusing on potential vulnerabilities in data transmission from sensors to central processing systems. This includes encryption requirements for sensor data streams and secure storage protocols for historical movement data that could potentially reveal behavioral patterns of individuals within monitored spaces.
Access control mechanisms represent another critical component of the framework, defining role-based permissions for viewing, analyzing, and exporting sensor data. These controls should implement the principle of least privilege, ensuring personnel can only access the minimum data necessary for their specific functions within the surveillance operation.
Data retention policies must address the unique characteristics of Hall Effect sensor data, establishing clear timelines for storage and automated purging processes. These policies should balance security needs with privacy rights, particularly in jurisdictions with "right to be forgotten" provisions.
Audit trails and logging requirements form an essential accountability mechanism, tracking all interactions with sensor data including configuration changes, access events, and data exports. These logs must be tamper-evident and preserved for compliance verification purposes.
Transparency measures constitute a fundamental aspect of the framework, requiring clear notification protocols for areas under Hall Effect sensor surveillance. While these sensors are less intrusive than cameras, ethical deployment still demands appropriate disclosure to individuals entering monitored spaces.
Finally, the framework must include incident response procedures specifically designed for breaches involving Hall Effect sensor systems, outlining containment strategies, notification requirements, and remediation processes that address the unique characteristics of magnetic field detection data in security contexts.
A comprehensive compliance framework begins with data classification protocols that categorize information captured by Hall Effect sensors based on sensitivity levels. Since these sensors primarily detect movement and presence rather than capturing identifiable imagery, they present different privacy implications compared to traditional video surveillance. Nevertheless, when combined with other surveillance technologies, they can contribute to comprehensive tracking systems that require careful privacy considerations.
Risk assessment methodologies specific to Hall Effect sensor implementations must be established, focusing on potential vulnerabilities in data transmission from sensors to central processing systems. This includes encryption requirements for sensor data streams and secure storage protocols for historical movement data that could potentially reveal behavioral patterns of individuals within monitored spaces.
Access control mechanisms represent another critical component of the framework, defining role-based permissions for viewing, analyzing, and exporting sensor data. These controls should implement the principle of least privilege, ensuring personnel can only access the minimum data necessary for their specific functions within the surveillance operation.
Data retention policies must address the unique characteristics of Hall Effect sensor data, establishing clear timelines for storage and automated purging processes. These policies should balance security needs with privacy rights, particularly in jurisdictions with "right to be forgotten" provisions.
Audit trails and logging requirements form an essential accountability mechanism, tracking all interactions with sensor data including configuration changes, access events, and data exports. These logs must be tamper-evident and preserved for compliance verification purposes.
Transparency measures constitute a fundamental aspect of the framework, requiring clear notification protocols for areas under Hall Effect sensor surveillance. While these sensors are less intrusive than cameras, ethical deployment still demands appropriate disclosure to individuals entering monitored spaces.
Finally, the framework must include incident response procedures specifically designed for breaches involving Hall Effect sensor systems, outlining containment strategies, notification requirements, and remediation processes that address the unique characteristics of magnetic field detection data in security contexts.
Power Efficiency and Environmental Considerations
Power efficiency represents a critical consideration in the integration of Hall Effect sensors within smart surveillance systems. These sensors typically operate with low power consumption, drawing between 1-5mA during active operation, which positions them favorably compared to alternative sensing technologies. When implemented with proper power management strategies, Hall Effect sensor networks can achieve operational lifespans of 3-5 years on standard battery configurations. The integration of sleep modes and event-triggered activation mechanisms can further reduce power requirements by up to 70%, allowing sensors to remain dormant until magnetic field changes exceed predetermined thresholds.
Advanced power harvesting techniques present promising opportunities for self-sustaining surveillance installations. Recent developments in energy harvesting from ambient sources such as vibration, thermal gradients, and solar energy can supplement or replace traditional power sources. For instance, micro-scale solar panels integrated with Hall Effect sensor nodes have demonstrated the ability to extend operational periods by 40-60% in outdoor surveillance applications, significantly reducing maintenance requirements and operational costs.
Environmental considerations must also factor prominently in Hall Effect sensor deployment strategies. These sensors demonstrate remarkable resilience across temperature ranges from -40°C to +125°C, making them suitable for diverse surveillance environments. However, their performance can be affected by extreme electromagnetic interference, necessitating appropriate shielding in industrial settings. The compact form factor of Hall Effect sensors (typically 2-4mm²) minimizes material usage and environmental footprint compared to larger sensing technologies.
Lifecycle assessment studies indicate that Hall Effect sensor-based surveillance systems generate approximately 30% less electronic waste compared to traditional camera-only systems, primarily due to their longer operational lifespan and reduced maintenance requirements. The absence of moving parts contributes significantly to this durability advantage. Furthermore, modern Hall Effect sensors increasingly utilize lead-free manufacturing processes and comply with RoHS (Restriction of Hazardous Substances) standards, reducing environmental impact throughout their lifecycle.
Weather resistance represents another crucial environmental consideration. IP67-rated enclosures can protect Hall Effect sensors from dust and water ingress, enabling reliable operation in outdoor surveillance applications. Recent advancements in conformal coating technologies have further enhanced resistance to humidity and corrosive environments, extending sensor viability in coastal and industrial settings where atmospheric conditions present significant challenges to electronic components.
Advanced power harvesting techniques present promising opportunities for self-sustaining surveillance installations. Recent developments in energy harvesting from ambient sources such as vibration, thermal gradients, and solar energy can supplement or replace traditional power sources. For instance, micro-scale solar panels integrated with Hall Effect sensor nodes have demonstrated the ability to extend operational periods by 40-60% in outdoor surveillance applications, significantly reducing maintenance requirements and operational costs.
Environmental considerations must also factor prominently in Hall Effect sensor deployment strategies. These sensors demonstrate remarkable resilience across temperature ranges from -40°C to +125°C, making them suitable for diverse surveillance environments. However, their performance can be affected by extreme electromagnetic interference, necessitating appropriate shielding in industrial settings. The compact form factor of Hall Effect sensors (typically 2-4mm²) minimizes material usage and environmental footprint compared to larger sensing technologies.
Lifecycle assessment studies indicate that Hall Effect sensor-based surveillance systems generate approximately 30% less electronic waste compared to traditional camera-only systems, primarily due to their longer operational lifespan and reduced maintenance requirements. The absence of moving parts contributes significantly to this durability advantage. Furthermore, modern Hall Effect sensors increasingly utilize lead-free manufacturing processes and comply with RoHS (Restriction of Hazardous Substances) standards, reducing environmental impact throughout their lifecycle.
Weather resistance represents another crucial environmental consideration. IP67-rated enclosures can protect Hall Effect sensors from dust and water ingress, enabling reliable operation in outdoor surveillance applications. Recent advancements in conformal coating technologies have further enhanced resistance to humidity and corrosive environments, extending sensor viability in coastal and industrial settings where atmospheric conditions present significant challenges to electronic components.
Unlock deeper insights with Patsnap Eureka Quick Research — get a full tech report to explore trends and direct your research. Try now!
Generate Your Research Report Instantly with AI Agent
Supercharge your innovation with Patsnap Eureka AI Agent Platform!



