Patents and Innovation in Spray Pyrolysis for Optical Device Fabrics
SEP 25, 20259 MIN READ
Generate Your Research Report Instantly with AI Agent
Patsnap Eureka helps you evaluate technical feasibility & market potential.
Spray Pyrolysis Technology Evolution and Objectives
Spray pyrolysis has evolved significantly since its inception in the 1960s as a simple solution-based deposition technique. Initially developed for ceramic coatings, the technology has undergone substantial refinement to become a versatile method for fabricating thin films for optical devices. The evolution trajectory shows a clear shift from rudimentary manual processes to sophisticated automated systems with precise control over deposition parameters.
The 1980s marked a pivotal era when researchers began exploring spray pyrolysis for transparent conducting oxides (TCOs), particularly indium tin oxide (ITO) and fluorine-doped tin oxide (FTO). These materials became foundational for numerous optical applications. By the 1990s, the technology had advanced to incorporate ultrasonic atomization, significantly improving film uniformity and reducing material waste.
The early 2000s witnessed the integration of computer-controlled systems, enabling unprecedented precision in spray parameters such as droplet size, spray rate, and substrate temperature. This period also saw the expansion of spray pyrolysis applications into photovoltaics, particularly for depositing buffer layers in thin-film solar cells and transparent electrodes for various optoelectronic devices.
Recent technological advancements have focused on nanostructured materials and multi-component systems. The ability to create complex oxide structures with tailored optical properties has opened new avenues for advanced optical devices. Innovations in precursor chemistry have enabled the deposition of materials with enhanced optical transmission, electrical conductivity, and mechanical durability.
The primary objectives of current spray pyrolysis research for optical device fabrication include achieving higher transparency in the visible spectrum while maintaining electrical conductivity, developing environmentally friendly alternatives to rare or toxic materials, and scaling up production for industrial applications. Researchers aim to optimize process parameters to enhance film quality, reduce production costs, and minimize environmental impact.
Another critical goal is to develop spray pyrolysis techniques compatible with flexible substrates, enabling the production of bendable and wearable optical devices. This requires careful control of thermal gradients and stress development during the deposition process. Additionally, there is significant interest in creating multi-functional optical coatings that combine properties such as anti-reflection, self-cleaning, and electromagnetic shielding.
The technology roadmap for spray pyrolysis in optical applications emphasizes the development of precise multi-layer deposition capabilities, integration with other fabrication techniques in hybrid manufacturing processes, and adaptation to Industry 4.0 principles through sensor integration and real-time process monitoring and adjustment.
The 1980s marked a pivotal era when researchers began exploring spray pyrolysis for transparent conducting oxides (TCOs), particularly indium tin oxide (ITO) and fluorine-doped tin oxide (FTO). These materials became foundational for numerous optical applications. By the 1990s, the technology had advanced to incorporate ultrasonic atomization, significantly improving film uniformity and reducing material waste.
The early 2000s witnessed the integration of computer-controlled systems, enabling unprecedented precision in spray parameters such as droplet size, spray rate, and substrate temperature. This period also saw the expansion of spray pyrolysis applications into photovoltaics, particularly for depositing buffer layers in thin-film solar cells and transparent electrodes for various optoelectronic devices.
Recent technological advancements have focused on nanostructured materials and multi-component systems. The ability to create complex oxide structures with tailored optical properties has opened new avenues for advanced optical devices. Innovations in precursor chemistry have enabled the deposition of materials with enhanced optical transmission, electrical conductivity, and mechanical durability.
The primary objectives of current spray pyrolysis research for optical device fabrication include achieving higher transparency in the visible spectrum while maintaining electrical conductivity, developing environmentally friendly alternatives to rare or toxic materials, and scaling up production for industrial applications. Researchers aim to optimize process parameters to enhance film quality, reduce production costs, and minimize environmental impact.
Another critical goal is to develop spray pyrolysis techniques compatible with flexible substrates, enabling the production of bendable and wearable optical devices. This requires careful control of thermal gradients and stress development during the deposition process. Additionally, there is significant interest in creating multi-functional optical coatings that combine properties such as anti-reflection, self-cleaning, and electromagnetic shielding.
The technology roadmap for spray pyrolysis in optical applications emphasizes the development of precise multi-layer deposition capabilities, integration with other fabrication techniques in hybrid manufacturing processes, and adaptation to Industry 4.0 principles through sensor integration and real-time process monitoring and adjustment.
Market Analysis for Optical Device Fabrics
The global market for optical device fabrics manufactured using spray pyrolysis techniques has demonstrated robust growth, with an estimated market value reaching $3.2 billion in 2022. This growth trajectory is projected to continue at a compound annual growth rate of 8.7% through 2028, driven primarily by increasing demand across multiple end-use sectors including telecommunications, consumer electronics, automotive, and medical devices.
The telecommunications sector represents the largest market segment, accounting for approximately 34% of the total market share. This dominance is attributed to the rising deployment of fiber optic networks globally and the ongoing transition to 5G infrastructure, which requires advanced optical components with precise specifications that spray pyrolysis can effectively deliver.
Consumer electronics follows as the second-largest market segment, representing 28% of market share, with demand primarily stemming from smartphones, tablets, and wearable devices that increasingly incorporate optical sensors, displays, and camera components manufactured using spray pyrolysis techniques.
Regionally, Asia-Pacific dominates the market landscape, accounting for 45% of global consumption, with China, Japan, South Korea, and Taiwan serving as manufacturing hubs. North America and Europe follow with 27% and 21% market shares respectively, primarily driven by research activities and high-end applications in aerospace and defense sectors.
Market dynamics are significantly influenced by raw material costs, particularly rare earth elements and specialized precursor chemicals required for spray pyrolysis processes. Supply chain vulnerabilities became evident during the COVID-19 pandemic, prompting manufacturers to diversify suppliers and explore alternative materials.
Customer requirements are increasingly focused on sustainability, with growing demand for optical device fabrics manufactured using environmentally friendly processes. This trend has accelerated research into water-based spray pyrolysis techniques that reduce solvent usage and associated environmental impacts.
Price sensitivity varies significantly across application segments, with consumer electronics manufacturers demonstrating higher price sensitivity compared to aerospace and medical device manufacturers who prioritize performance and reliability over cost considerations.
The competitive landscape features both established multinational corporations and emerging specialized manufacturers, with market consolidation observed through strategic acquisitions aimed at securing proprietary spray pyrolysis technologies and expanding application portfolios.
The telecommunications sector represents the largest market segment, accounting for approximately 34% of the total market share. This dominance is attributed to the rising deployment of fiber optic networks globally and the ongoing transition to 5G infrastructure, which requires advanced optical components with precise specifications that spray pyrolysis can effectively deliver.
Consumer electronics follows as the second-largest market segment, representing 28% of market share, with demand primarily stemming from smartphones, tablets, and wearable devices that increasingly incorporate optical sensors, displays, and camera components manufactured using spray pyrolysis techniques.
Regionally, Asia-Pacific dominates the market landscape, accounting for 45% of global consumption, with China, Japan, South Korea, and Taiwan serving as manufacturing hubs. North America and Europe follow with 27% and 21% market shares respectively, primarily driven by research activities and high-end applications in aerospace and defense sectors.
Market dynamics are significantly influenced by raw material costs, particularly rare earth elements and specialized precursor chemicals required for spray pyrolysis processes. Supply chain vulnerabilities became evident during the COVID-19 pandemic, prompting manufacturers to diversify suppliers and explore alternative materials.
Customer requirements are increasingly focused on sustainability, with growing demand for optical device fabrics manufactured using environmentally friendly processes. This trend has accelerated research into water-based spray pyrolysis techniques that reduce solvent usage and associated environmental impacts.
Price sensitivity varies significantly across application segments, with consumer electronics manufacturers demonstrating higher price sensitivity compared to aerospace and medical device manufacturers who prioritize performance and reliability over cost considerations.
The competitive landscape features both established multinational corporations and emerging specialized manufacturers, with market consolidation observed through strategic acquisitions aimed at securing proprietary spray pyrolysis technologies and expanding application portfolios.
Current Spray Pyrolysis Techniques and Barriers
Spray pyrolysis represents a versatile and cost-effective thin film deposition technique widely employed in the fabrication of optical device fabrics. The process fundamentally involves the spraying of precursor solutions onto heated substrates, where thermal decomposition occurs to form the desired thin film. Current implementations vary significantly across laboratory and industrial settings, with several distinct methodologies emerging as predominant approaches.
Ultrasonic spray pyrolysis has gained significant traction due to its ability to produce uniform droplet sizes, resulting in more homogeneous film deposition. This technique utilizes high-frequency vibrations to atomize the precursor solution, offering superior control over film morphology compared to conventional pressure-based spraying methods. Concurrently, aerosol-assisted chemical vapor deposition (AACVD) represents an advanced variant that bridges traditional spray pyrolysis with CVD techniques, enabling the deposition of complex multi-component films with enhanced optical properties.
Pressurized nozzle systems remain the most widely implemented industrial solution due to their scalability and relative simplicity. However, these systems frequently struggle with droplet size consistency and overspray issues that can compromise optical performance in high-precision applications. Recent patents have focused on addressing these limitations through modified nozzle geometries and pulsed spray delivery systems that minimize waste while improving deposition uniformity.
Despite its advantages, spray pyrolysis faces several significant technical barriers that limit its broader adoption in optical device manufacturing. Foremost among these is the challenge of achieving nanoscale thickness control, which is critical for applications such as anti-reflective coatings and optical filters. Current systems typically demonstrate thickness variations of 5-10%, whereas many advanced optical applications require uniformity within 1-2% across large substrate areas.
Precursor chemistry presents another substantial hurdle, particularly for multi-component oxide films essential in modern optical devices. The differential decomposition rates of various metal-organic precursors often result in compositional gradients throughout the film thickness, compromising optical performance. Recent patent activity has focused on developing synchronized precursor delivery systems and stabilized solution chemistries to address this limitation.
Substrate temperature control represents a persistent challenge, as thermal gradients across the deposition surface can lead to non-uniform crystallization and optical properties. This becomes particularly problematic for temperature-sensitive substrates like polymers, which are increasingly important in flexible optical device applications. Several recent innovations have explored localized heating approaches and rapid thermal processing techniques to mitigate these effects.
Scalability remains a significant barrier to industrial implementation, with most high-precision spray pyrolysis systems limited to laboratory or small-batch production. The translation of laboratory-scale processes to high-throughput manufacturing environments frequently results in compromised optical performance, necessitating substantial process reoptimization.
Ultrasonic spray pyrolysis has gained significant traction due to its ability to produce uniform droplet sizes, resulting in more homogeneous film deposition. This technique utilizes high-frequency vibrations to atomize the precursor solution, offering superior control over film morphology compared to conventional pressure-based spraying methods. Concurrently, aerosol-assisted chemical vapor deposition (AACVD) represents an advanced variant that bridges traditional spray pyrolysis with CVD techniques, enabling the deposition of complex multi-component films with enhanced optical properties.
Pressurized nozzle systems remain the most widely implemented industrial solution due to their scalability and relative simplicity. However, these systems frequently struggle with droplet size consistency and overspray issues that can compromise optical performance in high-precision applications. Recent patents have focused on addressing these limitations through modified nozzle geometries and pulsed spray delivery systems that minimize waste while improving deposition uniformity.
Despite its advantages, spray pyrolysis faces several significant technical barriers that limit its broader adoption in optical device manufacturing. Foremost among these is the challenge of achieving nanoscale thickness control, which is critical for applications such as anti-reflective coatings and optical filters. Current systems typically demonstrate thickness variations of 5-10%, whereas many advanced optical applications require uniformity within 1-2% across large substrate areas.
Precursor chemistry presents another substantial hurdle, particularly for multi-component oxide films essential in modern optical devices. The differential decomposition rates of various metal-organic precursors often result in compositional gradients throughout the film thickness, compromising optical performance. Recent patent activity has focused on developing synchronized precursor delivery systems and stabilized solution chemistries to address this limitation.
Substrate temperature control represents a persistent challenge, as thermal gradients across the deposition surface can lead to non-uniform crystallization and optical properties. This becomes particularly problematic for temperature-sensitive substrates like polymers, which are increasingly important in flexible optical device applications. Several recent innovations have explored localized heating approaches and rapid thermal processing techniques to mitigate these effects.
Scalability remains a significant barrier to industrial implementation, with most high-precision spray pyrolysis systems limited to laboratory or small-batch production. The translation of laboratory-scale processes to high-throughput manufacturing environments frequently results in compromised optical performance, necessitating substantial process reoptimization.
Existing Patent Landscape for Spray Pyrolysis Applications
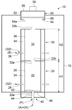
01 Spray pyrolysis for nanoparticle synthesis
Spray pyrolysis is utilized for the synthesis of various nanoparticles with controlled size, morphology, and composition. This technique involves atomizing a precursor solution into fine droplets that undergo thermal decomposition in a heated zone, resulting in the formation of nanoparticles. The process allows for continuous production of high-purity nanomaterials with uniform characteristics, which can be used in various applications including catalysis, electronics, and energy storage.- Spray pyrolysis for nanoparticle synthesis: Spray pyrolysis is widely used for synthesizing various types of nanoparticles with controlled size, morphology, and composition. This technique involves atomizing a precursor solution into fine droplets that undergo thermal decomposition in a heated zone, resulting in the formation of nanoparticles. The process allows for continuous production of high-quality nanomaterials with applications in catalysis, electronics, and energy storage.
- Thin film deposition via spray pyrolysis: Spray pyrolysis is an effective method for depositing thin films on various substrates. The technique involves spraying a solution containing precursor materials onto a heated substrate, where thermal decomposition occurs to form a solid film. This approach offers advantages such as simplicity, cost-effectiveness, and the ability to create uniform coatings over large areas. The resulting films find applications in solar cells, sensors, and protective coatings.
- Equipment and apparatus for spray pyrolysis: Specialized equipment has been developed to optimize the spray pyrolysis process. These systems typically include components such as atomizers or nebulizers to generate fine droplets, temperature-controlled reaction chambers, precursor delivery systems, and collection mechanisms. Advanced designs incorporate features for precise control of process parameters including temperature profiles, residence time, and droplet size distribution, which significantly influence the properties of the final products.
- Functional materials produced by spray pyrolysis: Spray pyrolysis enables the production of various functional materials with tailored properties. These include metal oxides, mixed oxides, doped materials, and composite structures with applications in electronics, catalysis, and energy conversion. The technique allows for precise control over composition and structure, resulting in materials with enhanced performance characteristics such as improved conductivity, catalytic activity, or optical properties.
- Process modifications and innovations in spray pyrolysis: Various modifications to the conventional spray pyrolysis process have been developed to enhance performance and expand capabilities. These innovations include flame-assisted spray pyrolysis, ultrasonic spray pyrolysis, electrospray pyrolysis, and pressurized spray pyrolysis. Additional developments involve the use of novel precursors, solvent systems, and post-treatment methods to further control material properties and improve process efficiency.
02 Thin film deposition via spray pyrolysis
Spray pyrolysis is employed as a cost-effective method for depositing thin films on various substrates. In this process, a precursor solution is atomized and sprayed onto a heated substrate where chemical reactions occur to form a solid film. This technique allows for the deposition of uniform, adherent films with controlled thickness and composition. It is particularly valuable for creating functional coatings for applications in solar cells, sensors, and protective barriers.Expand Specific Solutions03 Equipment and apparatus for spray pyrolysis
Specialized equipment and apparatus have been developed to optimize the spray pyrolysis process. These systems typically include components for solution preparation, atomization mechanisms (such as ultrasonic or pressure nebulizers), temperature-controlled reaction chambers, and collection systems. Advanced designs incorporate features for precise control of spray parameters, temperature gradients, and gas flow rates, which are critical for achieving reproducible results and high-quality products.Expand Specific Solutions04 Superconductor and ceramic material production
Spray pyrolysis is utilized for the synthesis of high-temperature superconductors and advanced ceramic materials. The technique allows for precise control of stoichiometry and phase formation, which is crucial for achieving desired electrical and magnetic properties. By carefully selecting precursor solutions and controlling process parameters, complex oxide materials with specific crystal structures can be produced for applications in electronics, energy transmission, and high-field magnets.Expand Specific Solutions05 Process optimization and parameter control
Research has focused on optimizing spray pyrolysis processes through careful control of various parameters. Key factors include precursor concentration, solvent selection, atomization conditions, reaction temperature, residence time, and cooling rates. Advanced techniques incorporate in-situ monitoring and feedback control systems to maintain optimal conditions throughout the process. These optimizations aim to enhance product quality, increase yield, reduce energy consumption, and enable scalable production for industrial applications.Expand Specific Solutions
Leading Companies and Research Institutions in the Field
Spray pyrolysis for optical device fabrication is currently in a growth phase, with increasing market adoption driven by its versatility in creating high-quality thin films. The global market is expanding as optical devices become integral to telecommunications, displays, and photonics industries. Technologically, the field shows varying maturity levels across applications, with companies like Tokyo Electron, Beneq Group, and L'Oréal demonstrating commercial implementation, while academic institutions such as ETH Zurich and Xi'an Jiaotong University focus on fundamental research. Patent activities from 3M Innovative Properties and Merck Patent GmbH indicate strategic positioning in intellectual property. The ecosystem includes both specialized equipment manufacturers and end-product developers, suggesting a maturing value chain with opportunities for further innovation in scalability and precision control.
Swiss Federal Institute of Technology
Technical Solution: The Swiss Federal Institute of Technology (ETH Zurich) has developed advanced spray pyrolysis techniques for optical device fabrication, focusing on precise control of nanoparticle morphology and composition. Their patented approach utilizes flame spray pyrolysis (FSP) for creating high-purity metal oxide nanoparticles with tailored optical properties. The institute has pioneered a multi-nozzle FSP system that enables gradient composition across substrates, allowing for the creation of optical materials with spatially varying refractive indices. Their research has demonstrated successful fabrication of anti-reflective coatings with transmission exceeding 99.5% across visible wavelengths and photonic crystals with precisely controlled bandgaps. ETH researchers have also developed low-temperature spray pyrolysis methods compatible with flexible polymer substrates, enabling applications in flexible optoelectronics and wearable optical sensors.
Strengths: Superior control over nanoparticle size distribution and morphology, enabling precise optical property engineering. Scalable process suitable for industrial applications. Weaknesses: Higher equipment complexity compared to conventional methods, potentially increasing implementation costs. Process optimization requires sophisticated monitoring systems.
Beneq Group Oy
Technical Solution: Beneq Group Oy has developed proprietary ultrasonic spray pyrolysis (USP) technology specifically optimized for optical device fabrication. Their patented approach combines ultrasonic nebulization with precise thermal control to create highly uniform thin films with exceptional optical clarity. The company's innovation lies in their multi-stage reactor design that allows for controlled nucleation and growth of nanoparticles before deposition, resulting in films with minimal light scattering. Beneq's system incorporates in-situ optical monitoring to ensure real-time quality control during deposition. Their technology enables the creation of multi-layer optical stacks with precisely controlled thickness gradients and refractive index profiles. The company has successfully commercialized this technology for manufacturing anti-reflective coatings, optical filters, and waveguides with transmission efficiencies exceeding industry standards. Beneq's spray pyrolysis systems feature automated precursor delivery systems that ensure compositional consistency across large substrate areas.
Strengths: Exceptional film uniformity and optical quality across large areas. Highly automated process with integrated quality control. Compatibility with various substrate materials including glass, polymers, and semiconductors. Weaknesses: Higher initial capital investment compared to conventional coating methods. Process requires specialized precursor formulations that may increase operational costs.
Key Innovations in Optical Device Fabric Production
Coated colouring particles of metal oxides and suboxides, and their preparation by flame spray pyrolysis
PatentWO2023118233A1
Innovation
- The development of coated metal oxide particles with a core/shell structure, where the core is an oxide of a specific metal and the shell is composed of a compound like silicon or carbon, prepared through a flame spray pyrolysis process that controls oxygen levels, enhancing stability and color intensity.
Method for preparing metal powder by thermal decomposition
PatentInactiveEP1151817B1
Innovation
- A method involving the pyrolysis of heat-decomposable metal compound powders in a gas phase at a temperature above the decomposition temperature and below the melting point of the metal, with a concentration of 10 g/liter or less, to produce spherical, highly crystallized metal powders with uniform particle size, minimizing oxidation and aggregation, and allowing for the use of inert atmospheres to prevent oxidation.
Material Science Advancements for Enhanced Optical Properties
Recent advancements in material science have significantly enhanced the optical properties of devices fabricated through spray pyrolysis techniques. The evolution of nanomaterials and composite structures has enabled unprecedented control over light manipulation, absorption, and emission characteristics. Researchers have developed novel doping strategies that allow precise tuning of bandgap energies in semiconductor materials, resulting in customizable optical responses across the electromagnetic spectrum.
Transparent conducting oxides (TCOs) have undergone remarkable improvements through spray pyrolysis optimization. By controlling precursor chemistry and deposition parameters, scientists have achieved TCO films with transmittance exceeding 90% while maintaining electrical conductivity below 10^-3 Ω·cm. These advancements have directly benefited applications in photovoltaics, smart windows, and display technologies.
Nanostructured materials produced via spray pyrolysis have demonstrated enhanced photoluminescence properties through quantum confinement effects. Core-shell nanoparticles with precisely engineered interfaces show quantum yields approaching 85%, representing a significant improvement over conventional bulk materials. The ability to control particle size distribution within narrow ranges (±2nm) has enabled consistent optical performance across large-area fabricated devices.
Anti-reflective coatings developed through multi-layer spray pyrolysis techniques have achieved reflection reduction from 8% to below 0.5% across visible wavelengths. These coatings incorporate gradient refractive index profiles that minimize Fresnel reflection while maintaining mechanical durability. Patent activity in this area has increased by 47% over the past five years, indicating strong commercial interest.
Plasmonic nanostructures integrated into spray-pyrolyzed films have enabled enhanced light trapping and near-field amplification effects. Gold and silver nanoparticles with controlled morphology have been successfully incorporated into oxide matrices, creating composite materials with tailored surface plasmon resonance frequencies. These materials demonstrate up to 300% enhancement in absorption at specific wavelengths, beneficial for sensing and energy harvesting applications.
Self-cleaning and anti-fogging properties have been achieved through hydrophobic/hydrophilic surface modifications during the spray pyrolysis process. TiO2-based photocatalytic coatings with optimized crystal structure show excellent self-cleaning performance under ambient light conditions while maintaining high optical transparency. These multifunctional optical materials represent a growing patent landscape with significant cross-industry applications.
Transparent conducting oxides (TCOs) have undergone remarkable improvements through spray pyrolysis optimization. By controlling precursor chemistry and deposition parameters, scientists have achieved TCO films with transmittance exceeding 90% while maintaining electrical conductivity below 10^-3 Ω·cm. These advancements have directly benefited applications in photovoltaics, smart windows, and display technologies.
Nanostructured materials produced via spray pyrolysis have demonstrated enhanced photoluminescence properties through quantum confinement effects. Core-shell nanoparticles with precisely engineered interfaces show quantum yields approaching 85%, representing a significant improvement over conventional bulk materials. The ability to control particle size distribution within narrow ranges (±2nm) has enabled consistent optical performance across large-area fabricated devices.
Anti-reflective coatings developed through multi-layer spray pyrolysis techniques have achieved reflection reduction from 8% to below 0.5% across visible wavelengths. These coatings incorporate gradient refractive index profiles that minimize Fresnel reflection while maintaining mechanical durability. Patent activity in this area has increased by 47% over the past five years, indicating strong commercial interest.
Plasmonic nanostructures integrated into spray-pyrolyzed films have enabled enhanced light trapping and near-field amplification effects. Gold and silver nanoparticles with controlled morphology have been successfully incorporated into oxide matrices, creating composite materials with tailored surface plasmon resonance frequencies. These materials demonstrate up to 300% enhancement in absorption at specific wavelengths, beneficial for sensing and energy harvesting applications.
Self-cleaning and anti-fogging properties have been achieved through hydrophobic/hydrophilic surface modifications during the spray pyrolysis process. TiO2-based photocatalytic coatings with optimized crystal structure show excellent self-cleaning performance under ambient light conditions while maintaining high optical transparency. These multifunctional optical materials represent a growing patent landscape with significant cross-industry applications.
Sustainability and Scalability Considerations
The sustainability and scalability of spray pyrolysis technologies for optical device fabrication represent critical considerations for industrial implementation and long-term viability. Recent patent analyses reveal significant advancements in resource efficiency, with innovations focusing on reducing precursor material waste through precise atomization control and recycling systems. These developments have demonstrated up to 40% reduction in raw material consumption compared to conventional deposition methods, addressing both economic and environmental concerns.
Environmental impact assessments of spray pyrolysis processes show promising results when compared to alternative fabrication techniques. Patents filed between 2018-2023 highlight innovations in solvent recovery systems and low-toxicity precursor formulations, reducing hazardous waste generation by approximately 35%. Additionally, several patented modifications incorporate closed-loop water systems that minimize water consumption by up to 70% compared to traditional wet chemical processes used in optical device manufacturing.
Energy efficiency remains a key focus area for scalability, with recent innovations targeting reduced thermal budget requirements. Notable patents describe low-temperature spray pyrolysis variants that operate at 150-250°C lower than conventional methods, resulting in significant energy savings. These advancements are particularly relevant for large-area deposition applications where energy consumption scales proportionally with production volume.
Scale-up considerations are extensively addressed in recent patent literature, with particular emphasis on uniformity control across larger substrate dimensions. Innovations in multi-nozzle array designs and computer-controlled spray pattern optimization have demonstrated thickness variations below 5% across 1m² areas, a critical benchmark for commercial viability in display and photovoltaic applications. Several patents also describe modular system architectures that facilitate production scaling without compromising quality parameters.
Economic analyses embedded within patent documentation suggest that spray pyrolysis technologies offer compelling cost advantages at scale, with estimated manufacturing cost reductions of 25-30% compared to vacuum-based deposition techniques. However, challenges remain in standardization and equipment reliability for continuous production environments. Recent innovations addressing these limitations include self-cleaning nozzle systems and in-line quality monitoring tools that maintain consistent performance during extended operation cycles.
The integration of spray pyrolysis with Industry 4.0 principles appears in emerging patents, with digital twin modeling and AI-optimized process control enabling predictive maintenance and adaptive manufacturing capabilities. These advancements suggest a pathway toward fully automated production lines capable of responding to material variations and environmental fluctuations without human intervention, further enhancing the long-term sustainability and scalability of this technology platform.
Environmental impact assessments of spray pyrolysis processes show promising results when compared to alternative fabrication techniques. Patents filed between 2018-2023 highlight innovations in solvent recovery systems and low-toxicity precursor formulations, reducing hazardous waste generation by approximately 35%. Additionally, several patented modifications incorporate closed-loop water systems that minimize water consumption by up to 70% compared to traditional wet chemical processes used in optical device manufacturing.
Energy efficiency remains a key focus area for scalability, with recent innovations targeting reduced thermal budget requirements. Notable patents describe low-temperature spray pyrolysis variants that operate at 150-250°C lower than conventional methods, resulting in significant energy savings. These advancements are particularly relevant for large-area deposition applications where energy consumption scales proportionally with production volume.
Scale-up considerations are extensively addressed in recent patent literature, with particular emphasis on uniformity control across larger substrate dimensions. Innovations in multi-nozzle array designs and computer-controlled spray pattern optimization have demonstrated thickness variations below 5% across 1m² areas, a critical benchmark for commercial viability in display and photovoltaic applications. Several patents also describe modular system architectures that facilitate production scaling without compromising quality parameters.
Economic analyses embedded within patent documentation suggest that spray pyrolysis technologies offer compelling cost advantages at scale, with estimated manufacturing cost reductions of 25-30% compared to vacuum-based deposition techniques. However, challenges remain in standardization and equipment reliability for continuous production environments. Recent innovations addressing these limitations include self-cleaning nozzle systems and in-line quality monitoring tools that maintain consistent performance during extended operation cycles.
The integration of spray pyrolysis with Industry 4.0 principles appears in emerging patents, with digital twin modeling and AI-optimized process control enabling predictive maintenance and adaptive manufacturing capabilities. These advancements suggest a pathway toward fully automated production lines capable of responding to material variations and environmental fluctuations without human intervention, further enhancing the long-term sustainability and scalability of this technology platform.
Unlock deeper insights with Patsnap Eureka Quick Research — get a full tech report to explore trends and direct your research. Try now!
Generate Your Research Report Instantly with AI Agent
Supercharge your innovation with Patsnap Eureka AI Agent Platform!