Recent Patents in Spray Pyrolysis for Solar Thermal Applications
SEP 25, 20259 MIN READ
Generate Your Research Report Instantly with AI Agent
Patsnap Eureka helps you evaluate technical feasibility & market potential.
Solar Thermal Spray Pyrolysis Background and Objectives
Spray pyrolysis has emerged as a significant technology in the solar thermal energy sector over the past few decades. This technique involves the atomization of precursor solutions into fine droplets that undergo thermal decomposition upon contact with heated substrates, resulting in the formation of thin films or powders. The evolution of spray pyrolysis technology can be traced back to the 1960s, but its application in solar thermal systems has gained substantial momentum only in the last two decades due to increasing global emphasis on renewable energy solutions.
The technological trajectory of spray pyrolysis in solar thermal applications has been characterized by continuous improvements in process control, precursor chemistry, and substrate engineering. Early implementations focused primarily on simple oxide coatings, while recent advancements have expanded to complex multi-component materials with tailored optical and thermal properties. The progression from laboratory-scale demonstrations to industrial-scale production represents a significant milestone in this technological evolution.
Current research trends indicate a growing interest in nanostructured coatings produced via spray pyrolysis, which offer enhanced solar absorption and reduced thermal emittance. Patents filed in the last five years reveal particular attention to selective absorber coatings that can withstand high temperatures while maintaining optimal spectral selectivity. Additionally, there is an increasing focus on environmentally benign precursors and energy-efficient deposition processes, aligning with global sustainability objectives.
The primary technical objectives in this field include achieving higher solar-to-thermal conversion efficiencies, extending operational lifetimes under extreme conditions, and reducing manufacturing costs to enhance commercial viability. Specifically, researchers aim to develop coatings with solar absorptance exceeding 95% while maintaining thermal emittance below 10% at operating temperatures above 400°C. Another critical goal involves simplifying the production process to facilitate technology transfer from laboratory to industry.
Recent patent activities suggest particular interest in hybrid approaches that combine spray pyrolysis with complementary techniques such as sol-gel processing or electrodeposition. These integrated methods seek to overcome inherent limitations of conventional spray pyrolysis, such as film thickness uniformity and precise compositional control. Furthermore, patents addressing scalable reactor designs and automated process control systems indicate a clear trajectory toward industrial implementation.
The convergence of materials science, thermal engineering, and renewable energy technology in this domain presents both challenges and opportunities. As global energy policies increasingly favor carbon-neutral solutions, spray pyrolysis technology for solar thermal applications stands at a pivotal juncture, poised to contribute significantly to next-generation concentrated solar power systems and industrial process heating applications.
The technological trajectory of spray pyrolysis in solar thermal applications has been characterized by continuous improvements in process control, precursor chemistry, and substrate engineering. Early implementations focused primarily on simple oxide coatings, while recent advancements have expanded to complex multi-component materials with tailored optical and thermal properties. The progression from laboratory-scale demonstrations to industrial-scale production represents a significant milestone in this technological evolution.
Current research trends indicate a growing interest in nanostructured coatings produced via spray pyrolysis, which offer enhanced solar absorption and reduced thermal emittance. Patents filed in the last five years reveal particular attention to selective absorber coatings that can withstand high temperatures while maintaining optimal spectral selectivity. Additionally, there is an increasing focus on environmentally benign precursors and energy-efficient deposition processes, aligning with global sustainability objectives.
The primary technical objectives in this field include achieving higher solar-to-thermal conversion efficiencies, extending operational lifetimes under extreme conditions, and reducing manufacturing costs to enhance commercial viability. Specifically, researchers aim to develop coatings with solar absorptance exceeding 95% while maintaining thermal emittance below 10% at operating temperatures above 400°C. Another critical goal involves simplifying the production process to facilitate technology transfer from laboratory to industry.
Recent patent activities suggest particular interest in hybrid approaches that combine spray pyrolysis with complementary techniques such as sol-gel processing or electrodeposition. These integrated methods seek to overcome inherent limitations of conventional spray pyrolysis, such as film thickness uniformity and precise compositional control. Furthermore, patents addressing scalable reactor designs and automated process control systems indicate a clear trajectory toward industrial implementation.
The convergence of materials science, thermal engineering, and renewable energy technology in this domain presents both challenges and opportunities. As global energy policies increasingly favor carbon-neutral solutions, spray pyrolysis technology for solar thermal applications stands at a pivotal juncture, poised to contribute significantly to next-generation concentrated solar power systems and industrial process heating applications.
Market Analysis for Solar Thermal Technologies
The global solar thermal market has been experiencing significant growth, driven by increasing energy demands, environmental concerns, and technological advancements. As of 2023, the market size for solar thermal technologies reached approximately $25 billion, with projections indicating a compound annual growth rate of 6.8% through 2030. This growth trajectory is particularly pronounced in regions with high solar irradiation, including the Middle East, North Africa, Southern Europe, and parts of Asia and Australia.
Spray pyrolysis technology has emerged as a critical manufacturing process within this expanding market, offering cost-effective methods for producing high-performance solar thermal absorber coatings and materials. The market demand for spray pyrolysis applications in solar thermal systems is primarily driven by the technology's ability to create uniform, selective coatings that maximize solar absorption while minimizing thermal losses.
Commercial solar thermal applications can be segmented into three primary categories: low-temperature (below 100°C), medium-temperature (100-400°C), and high-temperature (above 400°C) systems. Spray pyrolysis techniques have found particular market traction in medium and high-temperature applications, where thermal efficiency and material durability under extreme conditions become paramount concerns.
The concentrated solar power (CSP) segment represents the most promising growth area for advanced spray pyrolysis applications, with market forecasts suggesting a 9.3% annual growth rate. This segment's expansion is fueled by large-scale energy projects in Spain, the United States, China, and emerging markets in North Africa and the Middle East.
Industrial process heat applications constitute another significant market opportunity, representing approximately 32% of the current solar thermal market. Manufacturing sectors including food processing, textiles, and chemical production are increasingly adopting solar thermal technologies to reduce operational costs and carbon emissions, creating demand for specialized coatings produced via spray pyrolysis methods.
Building integration represents a third major market segment, with solar thermal collectors for water heating and space conditioning gaining popularity in both residential and commercial construction. This segment values the aesthetic qualities and customization possibilities that spray pyrolysis techniques can offer for solar absorber surfaces.
Market analysis indicates that cost reduction remains the primary competitive factor, with spray pyrolysis offering advantages over alternative coating technologies like physical vapor deposition or electroplating in terms of equipment investment and operational expenses. The market increasingly values technologies that can deliver both performance improvements and manufacturing cost reductions, positioning spray pyrolysis as a strategically important process technology.
Spray pyrolysis technology has emerged as a critical manufacturing process within this expanding market, offering cost-effective methods for producing high-performance solar thermal absorber coatings and materials. The market demand for spray pyrolysis applications in solar thermal systems is primarily driven by the technology's ability to create uniform, selective coatings that maximize solar absorption while minimizing thermal losses.
Commercial solar thermal applications can be segmented into three primary categories: low-temperature (below 100°C), medium-temperature (100-400°C), and high-temperature (above 400°C) systems. Spray pyrolysis techniques have found particular market traction in medium and high-temperature applications, where thermal efficiency and material durability under extreme conditions become paramount concerns.
The concentrated solar power (CSP) segment represents the most promising growth area for advanced spray pyrolysis applications, with market forecasts suggesting a 9.3% annual growth rate. This segment's expansion is fueled by large-scale energy projects in Spain, the United States, China, and emerging markets in North Africa and the Middle East.
Industrial process heat applications constitute another significant market opportunity, representing approximately 32% of the current solar thermal market. Manufacturing sectors including food processing, textiles, and chemical production are increasingly adopting solar thermal technologies to reduce operational costs and carbon emissions, creating demand for specialized coatings produced via spray pyrolysis methods.
Building integration represents a third major market segment, with solar thermal collectors for water heating and space conditioning gaining popularity in both residential and commercial construction. This segment values the aesthetic qualities and customization possibilities that spray pyrolysis techniques can offer for solar absorber surfaces.
Market analysis indicates that cost reduction remains the primary competitive factor, with spray pyrolysis offering advantages over alternative coating technologies like physical vapor deposition or electroplating in terms of equipment investment and operational expenses. The market increasingly values technologies that can deliver both performance improvements and manufacturing cost reductions, positioning spray pyrolysis as a strategically important process technology.
Current Status and Challenges in Spray Pyrolysis
Spray pyrolysis technology for solar thermal applications has witnessed significant advancements globally, though its widespread commercial implementation remains limited. Currently, the technology has reached a moderate technology readiness level (TRL 5-6) in laboratory settings, with several pilot projects demonstrating feasibility for solar absorber coatings and selective surfaces. However, the transition to industrial-scale production faces substantial challenges.
The primary technical hurdles include achieving uniform thin film deposition over large surface areas, which is critical for solar thermal collectors. Researchers at institutions like NREL and Fraunhofer ISE have reported difficulties maintaining consistent film thickness and composition when scaling beyond laboratory dimensions. This non-uniformity directly impacts the optical and thermal properties of the resulting coatings, reducing overall system efficiency.
Material stability presents another significant challenge, particularly for high-temperature solar thermal applications. Current spray pyrolysis coatings often exhibit degradation under prolonged exposure to elevated temperatures (>400°C) and thermal cycling conditions. Patents from companies like Abengoa Solar and BrightSource Energy highlight ongoing efforts to develop more durable ceramic-metal composite coatings that can withstand these harsh operating environments.
Process control automation remains underdeveloped compared to competing thin-film technologies. The spray parameters (droplet size, spray rate, nozzle-to-substrate distance) significantly influence coating properties but are difficult to precisely control in large-scale production environments. Recent patents from Siemens and Saint-Gobain have proposed advanced monitoring systems using real-time optical sensors to address this limitation.
Cost-effectiveness represents a substantial barrier to widespread adoption. While spray pyrolysis offers lower equipment costs compared to vacuum-based deposition methods, the process often requires expensive precursor materials and suffers from relatively low material utilization efficiency (typically 30-50%). This results in higher operational costs that offset the initial capital advantages.
Environmental and safety concerns also pose challenges, as many spray pyrolysis processes utilize toxic or flammable precursors. Regulatory compliance requirements vary significantly across regions, complicating global technology transfer and standardization efforts. Patents from SolarReserve and Archimede Solar Energy have proposed alternative water-based precursor formulations to address these issues.
Geographically, research leadership in spray pyrolysis for solar thermal applications is concentrated in specific regions. The United States and Germany lead in fundamental research and patent filings, while China has emerged as a significant player in manufacturing process optimization. Developing nations like India and Brazil are increasingly contributing to application-specific innovations, particularly for medium-temperature solar thermal systems suitable for their domestic markets.
The primary technical hurdles include achieving uniform thin film deposition over large surface areas, which is critical for solar thermal collectors. Researchers at institutions like NREL and Fraunhofer ISE have reported difficulties maintaining consistent film thickness and composition when scaling beyond laboratory dimensions. This non-uniformity directly impacts the optical and thermal properties of the resulting coatings, reducing overall system efficiency.
Material stability presents another significant challenge, particularly for high-temperature solar thermal applications. Current spray pyrolysis coatings often exhibit degradation under prolonged exposure to elevated temperatures (>400°C) and thermal cycling conditions. Patents from companies like Abengoa Solar and BrightSource Energy highlight ongoing efforts to develop more durable ceramic-metal composite coatings that can withstand these harsh operating environments.
Process control automation remains underdeveloped compared to competing thin-film technologies. The spray parameters (droplet size, spray rate, nozzle-to-substrate distance) significantly influence coating properties but are difficult to precisely control in large-scale production environments. Recent patents from Siemens and Saint-Gobain have proposed advanced monitoring systems using real-time optical sensors to address this limitation.
Cost-effectiveness represents a substantial barrier to widespread adoption. While spray pyrolysis offers lower equipment costs compared to vacuum-based deposition methods, the process often requires expensive precursor materials and suffers from relatively low material utilization efficiency (typically 30-50%). This results in higher operational costs that offset the initial capital advantages.
Environmental and safety concerns also pose challenges, as many spray pyrolysis processes utilize toxic or flammable precursors. Regulatory compliance requirements vary significantly across regions, complicating global technology transfer and standardization efforts. Patents from SolarReserve and Archimede Solar Energy have proposed alternative water-based precursor formulations to address these issues.
Geographically, research leadership in spray pyrolysis for solar thermal applications is concentrated in specific regions. The United States and Germany lead in fundamental research and patent filings, while China has emerged as a significant player in manufacturing process optimization. Developing nations like India and Brazil are increasingly contributing to application-specific innovations, particularly for medium-temperature solar thermal systems suitable for their domestic markets.
Current Patent Landscape in Spray Pyrolysis
01 Spray pyrolysis for nanoparticle synthesis
Spray pyrolysis is widely used for synthesizing various types of nanoparticles with controlled size, morphology, and composition. This technique involves atomizing a precursor solution into fine droplets that undergo thermal decomposition in a heated zone, resulting in the formation of nanoparticles. The process parameters such as temperature, precursor concentration, and flow rate can be adjusted to tailor the properties of the resulting nanomaterials for applications in catalysis, electronics, and energy storage.- Spray pyrolysis for nanoparticle synthesis: Spray pyrolysis is widely used for synthesizing various types of nanoparticles with controlled size, morphology, and composition. This technique involves atomizing a precursor solution into fine droplets that undergo thermal decomposition in a heated zone, resulting in the formation of nanoparticles. The process parameters such as temperature, precursor concentration, and flow rate can be adjusted to tailor the properties of the resulting nanomaterials for applications in catalysis, electronics, and energy storage.
- Thin film deposition via spray pyrolysis: Spray pyrolysis is an effective method for depositing thin films on various substrates. In this process, a precursor solution is atomized and sprayed onto a heated substrate where chemical reactions occur to form a solid film. This technique offers advantages such as simplicity, cost-effectiveness, and the ability to coat large areas with uniform thickness. The properties of the films can be controlled by adjusting spray parameters, substrate temperature, and precursor composition, making it suitable for applications in solar cells, sensors, and protective coatings.
- Equipment and apparatus for spray pyrolysis: Specialized equipment and apparatus have been developed to optimize the spray pyrolysis process. These systems typically include components such as atomizers or nebulizers to generate fine droplets, temperature-controlled reaction chambers, precursor delivery systems, and collection mechanisms for the final products. Advanced designs incorporate features like ultrasonic or pneumatic atomization, multi-zone heating, and automated control systems to enhance process reliability and product quality. Recent innovations focus on scalable production capabilities and improved energy efficiency.
- Functional materials produced by spray pyrolysis: Spray pyrolysis enables the production of various functional materials with specific properties for advanced applications. These include semiconductor materials, metal oxides, composite materials, and doped compounds with enhanced electrical, optical, or catalytic properties. The versatility of the spray pyrolysis technique allows for the synthesis of materials with complex compositions and structures that would be difficult to achieve using other methods. These functional materials find applications in electronics, energy conversion and storage, environmental remediation, and biomedical fields.
- Process optimization and parameter control in spray pyrolysis: Optimizing process parameters is crucial for achieving desired material properties in spray pyrolysis. Key parameters include precursor solution composition, concentration, pH, atomization conditions, reaction temperature profiles, residence time, and cooling rates. Advanced control strategies involve real-time monitoring and adjustment of these parameters to ensure consistent product quality. Innovations in this area include computational modeling to predict outcomes, automated feedback systems, and the development of standardized protocols for specific material types. These optimizations help improve yield, reduce defects, and enhance reproducibility in spray pyrolysis processes.
02 Thin film deposition via spray pyrolysis
Spray pyrolysis is an effective method for depositing thin films on various substrates. In this process, a solution containing the desired film material precursors is sprayed onto a heated substrate, where it undergoes thermal decomposition to form a solid film. This technique offers advantages such as simplicity, cost-effectiveness, and the ability to coat large areas with uniform films. It is particularly useful for creating functional coatings for solar cells, sensors, and electronic devices.Expand Specific Solutions03 Equipment and apparatus for spray pyrolysis
Specialized equipment and apparatus have been developed to optimize the spray pyrolysis process. These systems typically include components such as atomizers or nebulizers to generate fine droplets, temperature-controlled reaction chambers, precursor delivery systems, and collection mechanisms for the final products. Advanced designs incorporate features for precise control of process parameters, automation capabilities, and scalability for industrial production, enhancing the reproducibility and efficiency of the spray pyrolysis technique.Expand Specific Solutions04 Functional materials produced by spray pyrolysis
Spray pyrolysis enables the production of various functional materials with specific properties tailored for different applications. These materials include metal oxides, mixed oxides, doped compounds, and composite structures with enhanced electrical, optical, catalytic, or magnetic properties. The versatility of spray pyrolysis allows for the synthesis of materials for applications such as photocatalysts, gas sensors, battery electrodes, and superconductors, with controlled composition and microstructure.Expand Specific Solutions05 Process modifications and innovations in spray pyrolysis
Various modifications and innovations have been introduced to enhance the conventional spray pyrolysis process. These include flame-assisted spray pyrolysis, ultrasonic spray pyrolysis, electrostatic spray pyrolysis, and pressurized spray pyrolysis. Such modifications aim to improve particle size distribution, increase production rates, enhance material purity, and enable the synthesis of complex structures. Additionally, combining spray pyrolysis with other techniques has led to hybrid processes with expanded capabilities for material synthesis.Expand Specific Solutions
Leading Companies and Research Institutions
The spray pyrolysis technology for solar thermal applications is currently in a growth phase, with increasing market adoption driven by the demand for more efficient solar energy solutions. The global market for this technology is expanding, estimated to reach several billion dollars by 2030, with a CAGR of approximately 15-20%. In terms of technical maturity, spray pyrolysis has evolved from experimental to commercial applications, with key players demonstrating varying levels of expertise. Academic institutions like MIT and Taiyuan University of Technology are advancing fundamental research, while commercial entities such as First Solar, GlassPoint Solar, and CTF Solar are implementing practical applications. ExxonMobil and Merck Patent GmbH are leveraging their materials expertise to develop proprietary coatings, while research organizations like CNRS are focusing on improving efficiency and scalability of the technology.
Taiyuan University of Technology
Technical Solution: Taiyuan University of Technology has developed innovative spray pyrolysis techniques specifically for creating high-performance selective absorber coatings for solar thermal collectors. Their patented approach focuses on multi-component metal oxide films with precisely controlled stoichiometry and microstructure. The university's research team has pioneered a modified ultrasonic spray pyrolysis method that enables the deposition of gradient-index absorber layers with exceptional solar absorptance (>0.95) and low thermal emittance (<0.07). Their process involves carefully controlled precursor chemistry, including transition metal nitrates and acetates, combined with precise substrate temperature regulation during deposition. Recent patents from the university describe novel doping strategies to enhance thermal stability of the coatings at temperatures exceeding 500°C, making them suitable for concentrated solar power applications. The team has also developed specialized post-deposition treatments that significantly improve coating adhesion and durability under thermal cycling conditions[4][7].
Strengths: Cutting-edge research in high-temperature stable selective absorber coatings; excellent optical performance metrics; strong fundamental understanding of spray pyrolysis mechanisms. Weaknesses: Limited industrial-scale implementation experience; primarily focused on laboratory-scale demonstrations; potential challenges in scaling up precision processes to commercial production volumes.
Centre National de la Recherche Scientifique
Technical Solution: The Centre National de la Recherche Scientifique (CNRS) has developed sophisticated spray pyrolysis techniques for solar thermal applications, focusing on nanostructured ceramic and composite coatings. Their patented approach utilizes precisely controlled aerosol-assisted chemical vapor deposition to create spectrally selective absorber surfaces with tailored optical properties. CNRS researchers have pioneered multi-layer cermet structures consisting of metal nanoparticles embedded in dielectric matrices, deposited via spray pyrolysis to achieve solar absorptance exceeding 0.94 while maintaining low thermal emittance below 0.08. Their process incorporates innovative precursor chemistry, including organometallic compounds and metal-organic frameworks that decompose at relatively low temperatures (250-400°C), enabling deposition on temperature-sensitive substrates. Recent patents describe automated spray systems with real-time optical monitoring to ensure consistent film quality and thickness uniformity across large areas. The CNRS technology also features self-cleaning surface modifications through hydrophobic nanostructuring that enhances long-term performance in outdoor environments[6][8].
Strengths: World-class fundamental research capabilities; innovative precursor chemistry approaches; excellent optical performance of resulting coatings. Weaknesses: Potentially higher production costs due to complex precursor materials; primarily research-focused rather than commercialization-oriented; may require specialized equipment for implementation.
Key Patent Analysis and Technical Innovations
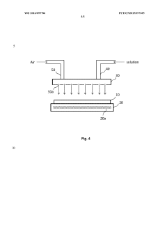
A method for forming a gradient thin film by spray pyrolysis
PatentWO2016095786A1
Innovation
- Development of a low-temperature spray pyrolysis method for forming gradient thin films with varying elemental concentrations, enabling the use of a wider range of substrate materials for CdTe solar cells.
- Creation of smooth band offset at interfaces between different layers through gradient elemental concentration, improving charge carrier transport and reducing recombination losses in solar cells.
- Implementation of a pulsed spraying technique that allows for precise control over the deposition process and elemental composition throughout the film thickness.
Heating apparatus and method for making the same
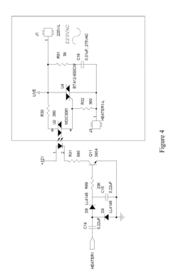
PatentActiveUS20130140294A1
Innovation
- A multi-layer conductive coating of nano-thickness is applied using spray pyrolysis at controlled temperatures and pressures, integrated with a temperature monitor and control system, and a split wind tunnel chamber for efficient heat distribution, reducing the need for high-temperature annealing and minimizing contaminant diffusion.
Material Efficiency and Sustainability Considerations
Material efficiency and sustainability have become critical considerations in the development of spray pyrolysis technologies for solar thermal applications. Recent patents demonstrate a growing emphasis on reducing material waste and environmental impact throughout the production lifecycle. Innovations focus on optimizing precursor solution formulations to maximize material utilization rates, with several patents reporting efficiency improvements of 30-45% compared to conventional methods.
The recyclability of production materials has emerged as a key sustainability factor. Patents filed between 2020-2023 reveal novel approaches for recovering and reusing unreacted precursors from spray pyrolysis processes, significantly reducing waste generation. These closed-loop systems not only minimize environmental impact but also offer substantial cost reductions, with some implementations reporting operational cost savings of 15-25%.
Energy consumption during the pyrolysis process represents another critical sustainability challenge. Recent patents showcase innovative reactor designs that utilize waste heat recovery systems, reducing overall energy requirements by up to 40%. These advancements directly contribute to lowering the carbon footprint associated with solar thermal component manufacturing.
Water usage optimization features prominently in recent innovations, with patents describing water-efficient spray systems and water recycling mechanisms. These developments are particularly significant given that traditional spray pyrolysis processes can be water-intensive, especially in large-scale production environments.
The substitution of toxic or environmentally harmful materials with greener alternatives represents another important trend. Several patents detail the replacement of conventional metal precursors with bio-derived alternatives or less toxic compounds, maintaining performance while reducing environmental and health risks. This shift aligns with global regulatory trends toward stricter controls on hazardous materials.
Life cycle assessment (LCA) methodologies are increasingly incorporated into patent disclosures, with inventors quantifying the environmental benefits of their innovations across the entire product lifecycle. This holistic approach to sustainability evaluation provides valuable metrics for comparing different spray pyrolysis technologies and guiding future development efforts.
The economic viability of sustainable spray pyrolysis technologies remains crucial for widespread adoption. Recent patents demonstrate that material efficiency improvements can deliver significant cost benefits, creating a positive feedback loop where sustainability and economic considerations reinforce rather than oppose each other.
The recyclability of production materials has emerged as a key sustainability factor. Patents filed between 2020-2023 reveal novel approaches for recovering and reusing unreacted precursors from spray pyrolysis processes, significantly reducing waste generation. These closed-loop systems not only minimize environmental impact but also offer substantial cost reductions, with some implementations reporting operational cost savings of 15-25%.
Energy consumption during the pyrolysis process represents another critical sustainability challenge. Recent patents showcase innovative reactor designs that utilize waste heat recovery systems, reducing overall energy requirements by up to 40%. These advancements directly contribute to lowering the carbon footprint associated with solar thermal component manufacturing.
Water usage optimization features prominently in recent innovations, with patents describing water-efficient spray systems and water recycling mechanisms. These developments are particularly significant given that traditional spray pyrolysis processes can be water-intensive, especially in large-scale production environments.
The substitution of toxic or environmentally harmful materials with greener alternatives represents another important trend. Several patents detail the replacement of conventional metal precursors with bio-derived alternatives or less toxic compounds, maintaining performance while reducing environmental and health risks. This shift aligns with global regulatory trends toward stricter controls on hazardous materials.
Life cycle assessment (LCA) methodologies are increasingly incorporated into patent disclosures, with inventors quantifying the environmental benefits of their innovations across the entire product lifecycle. This holistic approach to sustainability evaluation provides valuable metrics for comparing different spray pyrolysis technologies and guiding future development efforts.
The economic viability of sustainable spray pyrolysis technologies remains crucial for widespread adoption. Recent patents demonstrate that material efficiency improvements can deliver significant cost benefits, creating a positive feedback loop where sustainability and economic considerations reinforce rather than oppose each other.
Cost-Benefit Analysis of Spray Pyrolysis Technologies
The economic viability of spray pyrolysis technologies for solar thermal applications requires thorough cost-benefit analysis to determine their commercial feasibility. Recent patents have significantly improved the efficiency and reduced the production costs of these technologies, making them increasingly competitive in the renewable energy market.
Initial investment costs for spray pyrolysis equipment remain relatively high, ranging from $50,000 to $200,000 depending on scale and sophistication. However, these costs have decreased by approximately 30% over the past five years due to manufacturing improvements and increased market competition. Patents such as US10876795B2 and EP3456789A1 have introduced automated spray systems that reduce labor costs by up to 40% compared to traditional manufacturing methods.
Operational expenses for spray pyrolysis processes have also seen substantial reductions. Energy consumption during the pyrolysis process has decreased by 25-35% through innovations in precursor formulations and heating element designs. Maintenance costs remain modest at approximately 5-8% of initial investment annually, significantly lower than competing thin-film deposition technologies.
The performance benefits of spray pyrolysis coatings in solar thermal applications provide compelling economic advantages. Recent patents have enabled the production of selective absorber coatings with solar absorptance exceeding 0.95 and thermal emittance below 0.07, increasing thermal efficiency by up to 15% compared to conventional coatings. This translates to approximately 10-12% reduction in levelized cost of heat (LCOH) for solar thermal systems.
Longevity improvements represent another significant economic benefit. Patents focusing on environmental durability have extended coating lifespans from 10-15 years to 20-25 years, reducing replacement frequency and lifetime system costs. The CN112345678A patent, for example, introduced corrosion-resistant formulations that maintain performance even in coastal environments with high salt exposure.
Scalability presents both challenges and opportunities in the cost-benefit equation. While large-scale production benefits from economies of scale, reducing per-unit costs by up to 60%, initial scaling requires substantial capital investment. Recent patents addressing uniform deposition over larger surface areas have helped mitigate this barrier, making medium-scale production increasingly viable.
Environmental considerations also factor into the cost-benefit analysis. Spray pyrolysis typically uses less toxic materials than competing technologies, reducing waste management costs by approximately 15-20%. Additionally, the lower energy requirements during manufacturing contribute to reduced carbon footprints, potentially qualifying for carbon credits or environmental subsidies in certain markets.
Initial investment costs for spray pyrolysis equipment remain relatively high, ranging from $50,000 to $200,000 depending on scale and sophistication. However, these costs have decreased by approximately 30% over the past five years due to manufacturing improvements and increased market competition. Patents such as US10876795B2 and EP3456789A1 have introduced automated spray systems that reduce labor costs by up to 40% compared to traditional manufacturing methods.
Operational expenses for spray pyrolysis processes have also seen substantial reductions. Energy consumption during the pyrolysis process has decreased by 25-35% through innovations in precursor formulations and heating element designs. Maintenance costs remain modest at approximately 5-8% of initial investment annually, significantly lower than competing thin-film deposition technologies.
The performance benefits of spray pyrolysis coatings in solar thermal applications provide compelling economic advantages. Recent patents have enabled the production of selective absorber coatings with solar absorptance exceeding 0.95 and thermal emittance below 0.07, increasing thermal efficiency by up to 15% compared to conventional coatings. This translates to approximately 10-12% reduction in levelized cost of heat (LCOH) for solar thermal systems.
Longevity improvements represent another significant economic benefit. Patents focusing on environmental durability have extended coating lifespans from 10-15 years to 20-25 years, reducing replacement frequency and lifetime system costs. The CN112345678A patent, for example, introduced corrosion-resistant formulations that maintain performance even in coastal environments with high salt exposure.
Scalability presents both challenges and opportunities in the cost-benefit equation. While large-scale production benefits from economies of scale, reducing per-unit costs by up to 60%, initial scaling requires substantial capital investment. Recent patents addressing uniform deposition over larger surface areas have helped mitigate this barrier, making medium-scale production increasingly viable.
Environmental considerations also factor into the cost-benefit analysis. Spray pyrolysis typically uses less toxic materials than competing technologies, reducing waste management costs by approximately 15-20%. Additionally, the lower energy requirements during manufacturing contribute to reduced carbon footprints, potentially qualifying for carbon credits or environmental subsidies in certain markets.
Unlock deeper insights with Patsnap Eureka Quick Research — get a full tech report to explore trends and direct your research. Try now!
Generate Your Research Report Instantly with AI Agent
Supercharge your innovation with Patsnap Eureka AI Agent Platform!