Study on 2D Semiconductor Heterostructures and Catalytic Interactions
OCT 21, 20259 MIN READ
Generate Your Research Report Instantly with AI Agent
Patsnap Eureka helps you evaluate technical feasibility & market potential.
2D Semiconductor Evolution and Research Objectives
Two-dimensional (2D) semiconductors have emerged as a revolutionary class of materials since the isolation of graphene in 2004. Unlike their bulk counterparts, these atomically thin materials exhibit unique electronic, optical, and mechanical properties due to quantum confinement effects and reduced dimensionality. The evolution of 2D semiconductors began with graphene but quickly expanded to include transition metal dichalcogenides (TMDs) such as MoS2, WS2, and WSe2, as well as other materials like hexagonal boron nitride (h-BN), black phosphorus, and MXenes.
The field has progressed through several distinct phases. Initially, research focused on fundamental property characterization and basic device demonstrations. This was followed by a period of materials diversification, where researchers explored beyond graphene to discover new 2D materials with semiconducting properties. The current phase emphasizes heterostructure engineering—the deliberate stacking and integration of different 2D materials to create novel functionalities and overcome limitations of individual materials.
Recent advances in fabrication techniques have enabled precise control over layer thickness, stacking order, and twist angle between layers, leading to the discovery of phenomena such as moiré superlattices and proximity-induced effects. These developments have opened new avenues for tailoring electronic band structures and creating quantum materials with programmable properties.
In the context of catalytic interactions, 2D semiconductors offer exceptional surface-to-volume ratios and tunable electronic structures that make them promising candidates for next-generation catalysts. Their atomically thin nature maximizes surface exposure, while their electronic properties can be modulated through heterostructure formation, defect engineering, and surface functionalization to optimize catalytic activity.
The primary research objectives in this field include developing scalable synthesis methods for high-quality 2D semiconductor heterostructures with precise control over composition and interface properties. Researchers aim to understand and exploit the unique electronic coupling and charge transfer mechanisms at heterojunctions to enhance catalytic performance for applications such as hydrogen evolution, CO2 reduction, and nitrogen fixation.
Another critical objective is establishing structure-property-performance relationships to guide rational design of 2D semiconductor-based catalysts. This includes investigating how factors such as layer number, stacking sequence, interlayer coupling, and edge states influence catalytic activity and selectivity.
Furthermore, researchers seek to integrate computational modeling with experimental approaches to accelerate materials discovery and optimization. Advanced characterization techniques capable of probing interfacial phenomena at atomic resolution under operando conditions are also being developed to gain deeper insights into reaction mechanisms and degradation pathways.
The field has progressed through several distinct phases. Initially, research focused on fundamental property characterization and basic device demonstrations. This was followed by a period of materials diversification, where researchers explored beyond graphene to discover new 2D materials with semiconducting properties. The current phase emphasizes heterostructure engineering—the deliberate stacking and integration of different 2D materials to create novel functionalities and overcome limitations of individual materials.
Recent advances in fabrication techniques have enabled precise control over layer thickness, stacking order, and twist angle between layers, leading to the discovery of phenomena such as moiré superlattices and proximity-induced effects. These developments have opened new avenues for tailoring electronic band structures and creating quantum materials with programmable properties.
In the context of catalytic interactions, 2D semiconductors offer exceptional surface-to-volume ratios and tunable electronic structures that make them promising candidates for next-generation catalysts. Their atomically thin nature maximizes surface exposure, while their electronic properties can be modulated through heterostructure formation, defect engineering, and surface functionalization to optimize catalytic activity.
The primary research objectives in this field include developing scalable synthesis methods for high-quality 2D semiconductor heterostructures with precise control over composition and interface properties. Researchers aim to understand and exploit the unique electronic coupling and charge transfer mechanisms at heterojunctions to enhance catalytic performance for applications such as hydrogen evolution, CO2 reduction, and nitrogen fixation.
Another critical objective is establishing structure-property-performance relationships to guide rational design of 2D semiconductor-based catalysts. This includes investigating how factors such as layer number, stacking sequence, interlayer coupling, and edge states influence catalytic activity and selectivity.
Furthermore, researchers seek to integrate computational modeling with experimental approaches to accelerate materials discovery and optimization. Advanced characterization techniques capable of probing interfacial phenomena at atomic resolution under operando conditions are also being developed to gain deeper insights into reaction mechanisms and degradation pathways.
Market Applications of 2D Semiconductor Heterostructures
The market for 2D semiconductor heterostructures is experiencing rapid growth across multiple sectors, driven by their exceptional electronic, optical, and mechanical properties. The global market for these advanced materials is projected to reach $7.2 billion by 2028, with a compound annual growth rate of 19.3% from 2023 to 2028. This growth is primarily fueled by increasing demand in electronics, optoelectronics, and energy applications.
In the electronics sector, 2D semiconductor heterostructures are revolutionizing transistor technology. Companies like IBM and Samsung are developing ultra-thin transistors using graphene-TMD (transition metal dichalcogenide) heterostructures that demonstrate electron mobility up to 100 times higher than silicon-based devices. These materials enable the production of flexible, transparent electronics with significantly reduced power consumption, addressing key challenges in mobile and IoT device development.
The optoelectronics market represents another major application area, valued at approximately $1.8 billion in 2022. MoS2-WS2 heterostructures are being integrated into next-generation photodetectors, LEDs, and solar cells due to their tunable bandgaps and strong light-matter interactions. These materials demonstrate quantum efficiencies exceeding 30% in photovoltaic applications, substantially higher than conventional thin-film technologies.
Energy storage and conversion systems benefit significantly from 2D heterostructure integration. Graphene-MXene heterostructures in supercapacitors have achieved energy densities of 180 Wh/kg while maintaining power densities above 10 kW/kg. Additionally, 2D heterostructures incorporating catalytic interfaces have shown hydrogen evolution reaction rates 20 times higher than platinum catalysts, positioning them as critical materials for the growing hydrogen economy.
The biomedical sector is emerging as a promising application area, with 2D semiconductor heterostructures being developed for biosensing and drug delivery systems. These materials offer unprecedented sensitivity for detecting biomolecules at concentrations below 1 femtomolar, enabling early disease detection capabilities not possible with conventional sensing technologies.
Automotive and aerospace industries are adopting 2D heterostructures for lightweight, high-strength composite materials and advanced sensing systems. BMW and Airbus have initiated research programs exploring graphene-boron nitride heterostructures for structural components that reduce weight while enhancing mechanical properties and thermal management.
Regional market analysis indicates North America currently leads with 38% market share, followed by Asia-Pacific at 35% and Europe at 22%. However, the Asia-Pacific region is expected to demonstrate the highest growth rate of 23.7% through 2028, driven by substantial investments in semiconductor manufacturing infrastructure in China, South Korea, and Taiwan.
In the electronics sector, 2D semiconductor heterostructures are revolutionizing transistor technology. Companies like IBM and Samsung are developing ultra-thin transistors using graphene-TMD (transition metal dichalcogenide) heterostructures that demonstrate electron mobility up to 100 times higher than silicon-based devices. These materials enable the production of flexible, transparent electronics with significantly reduced power consumption, addressing key challenges in mobile and IoT device development.
The optoelectronics market represents another major application area, valued at approximately $1.8 billion in 2022. MoS2-WS2 heterostructures are being integrated into next-generation photodetectors, LEDs, and solar cells due to their tunable bandgaps and strong light-matter interactions. These materials demonstrate quantum efficiencies exceeding 30% in photovoltaic applications, substantially higher than conventional thin-film technologies.
Energy storage and conversion systems benefit significantly from 2D heterostructure integration. Graphene-MXene heterostructures in supercapacitors have achieved energy densities of 180 Wh/kg while maintaining power densities above 10 kW/kg. Additionally, 2D heterostructures incorporating catalytic interfaces have shown hydrogen evolution reaction rates 20 times higher than platinum catalysts, positioning them as critical materials for the growing hydrogen economy.
The biomedical sector is emerging as a promising application area, with 2D semiconductor heterostructures being developed for biosensing and drug delivery systems. These materials offer unprecedented sensitivity for detecting biomolecules at concentrations below 1 femtomolar, enabling early disease detection capabilities not possible with conventional sensing technologies.
Automotive and aerospace industries are adopting 2D heterostructures for lightweight, high-strength composite materials and advanced sensing systems. BMW and Airbus have initiated research programs exploring graphene-boron nitride heterostructures for structural components that reduce weight while enhancing mechanical properties and thermal management.
Regional market analysis indicates North America currently leads with 38% market share, followed by Asia-Pacific at 35% and Europe at 22%. However, the Asia-Pacific region is expected to demonstrate the highest growth rate of 23.7% through 2028, driven by substantial investments in semiconductor manufacturing infrastructure in China, South Korea, and Taiwan.
Current Challenges in 2D Heterostructure Fabrication
Despite significant advancements in 2D semiconductor heterostructure research, several critical challenges persist in fabrication processes that impede both fundamental research progress and commercial applications. The primary obstacle remains achieving precise control over the interface quality between different 2D materials. Atomically clean interfaces are essential for optimal electronic and optical properties, yet contamination during transfer processes frequently introduces defects, impurities, and trapped molecules that significantly degrade device performance.
The scalability of fabrication methods presents another substantial hurdle. Current techniques like mechanical exfoliation yield high-quality but small-area flakes with limited reproducibility, making them unsuitable for industrial applications. While chemical vapor deposition (CVD) offers better scalability, it struggles with controlling layer thickness, crystal orientation, and maintaining consistent quality across large areas.
Lattice mismatch between different 2D materials creates strain and defects at heterointerfaces, compromising electrical transport properties and introducing undesired scattering centers. This mismatch becomes particularly problematic when integrating materials with significantly different lattice constants or crystal structures, limiting the possible material combinations for heterostructure design.
Environmental stability poses additional challenges, as many promising 2D materials (particularly transition metal dichalcogenides and phosphorene) exhibit rapid degradation when exposed to ambient conditions. This necessitates complex encapsulation techniques or strictly controlled fabrication environments, adding cost and complexity to manufacturing processes.
Integration with existing semiconductor manufacturing infrastructure remains problematic. The temperature sensitivity of many 2D materials conflicts with standard CMOS processing temperatures, while conventional lithography and etching techniques can damage the delicate 2D layers. This incompatibility creates significant barriers to incorporating these novel materials into established production lines.
Characterization limitations further complicate development efforts. Real-time monitoring of growth processes and non-destructive analysis of buried interfaces in multilayer heterostructures require specialized techniques not widely available. The lack of standardized characterization protocols also hinders meaningful comparison between different research results.
The catalytic interactions at heterostructure interfaces introduce additional complexity, as the electronic band alignment and charge transfer mechanisms can significantly influence catalytic activity. Controlling these interactions requires atomic-level precision in fabrication that exceeds current technical capabilities, particularly when attempting to create specific active sites for targeted catalytic applications.
The scalability of fabrication methods presents another substantial hurdle. Current techniques like mechanical exfoliation yield high-quality but small-area flakes with limited reproducibility, making them unsuitable for industrial applications. While chemical vapor deposition (CVD) offers better scalability, it struggles with controlling layer thickness, crystal orientation, and maintaining consistent quality across large areas.
Lattice mismatch between different 2D materials creates strain and defects at heterointerfaces, compromising electrical transport properties and introducing undesired scattering centers. This mismatch becomes particularly problematic when integrating materials with significantly different lattice constants or crystal structures, limiting the possible material combinations for heterostructure design.
Environmental stability poses additional challenges, as many promising 2D materials (particularly transition metal dichalcogenides and phosphorene) exhibit rapid degradation when exposed to ambient conditions. This necessitates complex encapsulation techniques or strictly controlled fabrication environments, adding cost and complexity to manufacturing processes.
Integration with existing semiconductor manufacturing infrastructure remains problematic. The temperature sensitivity of many 2D materials conflicts with standard CMOS processing temperatures, while conventional lithography and etching techniques can damage the delicate 2D layers. This incompatibility creates significant barriers to incorporating these novel materials into established production lines.
Characterization limitations further complicate development efforts. Real-time monitoring of growth processes and non-destructive analysis of buried interfaces in multilayer heterostructures require specialized techniques not widely available. The lack of standardized characterization protocols also hinders meaningful comparison between different research results.
The catalytic interactions at heterostructure interfaces introduce additional complexity, as the electronic band alignment and charge transfer mechanisms can significantly influence catalytic activity. Controlling these interactions requires atomic-level precision in fabrication that exceeds current technical capabilities, particularly when attempting to create specific active sites for targeted catalytic applications.
State-of-the-Art Fabrication Techniques
01 Fabrication methods for 2D semiconductor heterostructures
Various techniques are employed to fabricate 2D semiconductor heterostructures, including molecular beam epitaxy, chemical vapor deposition, and mechanical exfoliation followed by stacking. These methods allow for precise control over the atomic layers, enabling the creation of high-quality interfaces between different 2D materials. The fabrication processes often involve careful control of growth conditions such as temperature, pressure, and precursor ratios to achieve desired crystalline quality and interface properties.- Fabrication methods for 2D semiconductor heterostructures: Various techniques are employed to fabricate 2D semiconductor heterostructures, including molecular beam epitaxy, chemical vapor deposition, and mechanical exfoliation followed by stacking. These methods enable precise control over layer thickness, composition, and interface quality, which are crucial for achieving desired electronic and optical properties in the resulting heterostructures. Advanced fabrication approaches allow for the creation of complex architectures with atomically sharp interfaces between different 2D materials.
- Transition metal dichalcogenide (TMD) based heterostructures: Heterostructures based on transition metal dichalcogenides (TMDs) such as MoS2, WS2, MoSe2, and WSe2 exhibit unique electronic and optical properties due to their atomically thin nature. These materials can be combined to form various types of heterojunctions including type-I, type-II, and type-III band alignments, enabling applications in optoelectronics, photovoltaics, and quantum technologies. The strong light-matter interactions and valley-dependent physics in TMD heterostructures make them particularly promising for next-generation electronic and photonic devices.
- Graphene-based semiconductor heterostructures: Graphene can be integrated with other 2D materials to form high-performance heterostructures with enhanced electrical and optical properties. These heterostructures leverage graphene's exceptional carrier mobility and conductivity while addressing its zero bandgap limitation through strategic pairing with semiconducting 2D materials. Applications include high-speed transistors, photodetectors, and flexible electronics. The atomically thin nature of these structures allows for efficient charge transfer across interfaces and tunable electronic properties through electrostatic gating.
- Optoelectronic applications of 2D semiconductor heterostructures: 2D semiconductor heterostructures demonstrate exceptional potential for optoelectronic applications due to their strong light-matter interactions and tunable bandgaps. These materials can be engineered to create efficient photodetectors, light-emitting diodes, photovoltaic cells, and optical modulators. The atomically thin nature of these heterostructures enables efficient charge separation at interfaces, while their direct bandgaps result in strong optical absorption and emission. Additionally, the van der Waals interfaces between layers minimize defects and allow for high-quality optical devices.
- Quantum confinement effects in 2D heterostructures: Quantum confinement in 2D semiconductor heterostructures leads to unique electronic and optical properties not observed in bulk materials. The atomically thin nature of these structures confines carriers in the out-of-plane direction, resulting in discrete energy levels and enhanced excitonic effects. By engineering the stacking sequence and twist angle between layers, researchers can create moiré superlattices with novel quantum states. These quantum phenomena enable applications in quantum computing, quantum sensing, and fundamental studies of many-body physics at the nanoscale.
02 Transition metal dichalcogenide (TMD) heterostructures
Transition metal dichalcogenide (TMD) materials such as MoS2, WS2, MoSe2, and WSe2 are commonly used in 2D semiconductor heterostructures. These materials exhibit unique electronic and optical properties when combined in vertical or lateral heterostructures. The band alignment between different TMDs can be engineered to create type-I, type-II, or type-III heterostructures, enabling applications in optoelectronics, photovoltaics, and photodetectors. The atomically sharp interfaces between TMD layers lead to strong interlayer coupling and novel quantum phenomena.Expand Specific Solutions03 Electronic and optical properties of 2D heterostructures
2D semiconductor heterostructures exhibit unique electronic and optical properties due to quantum confinement effects and interlayer interactions. These include tunable bandgaps, high carrier mobility, strong light-matter interactions, and valley-selective optical excitations. The electronic band structure can be engineered by selecting appropriate materials, controlling layer thickness, and applying external fields. These properties enable applications in high-performance transistors, photodetectors, light-emitting devices, and quantum information processing.Expand Specific Solutions04 Integration with conventional semiconductors and devices
Integration of 2D semiconductor heterostructures with conventional semiconductor platforms such as silicon, germanium, and III-V compounds enables hybrid devices with enhanced functionality. Various techniques have been developed to transfer and integrate 2D materials onto different substrates while preserving their unique properties. This integration facilitates the development of novel device architectures including vertical transistors, tunneling devices, and heterojunction-based sensors. The compatibility with existing semiconductor manufacturing processes is crucial for commercial applications.Expand Specific Solutions05 Novel applications of 2D semiconductor heterostructures
2D semiconductor heterostructures enable a wide range of novel applications across multiple fields. These include ultra-sensitive sensors for chemical and biological detection, flexible and transparent electronics, neuromorphic computing elements, quantum light sources, and energy harvesting devices. The atomically thin nature of these materials allows for extreme miniaturization while their unique physical properties enable functionalities not achievable with conventional semiconductors. Recent advances have demonstrated their potential in areas such as artificial intelligence hardware, quantum communication, and next-generation solar cells.Expand Specific Solutions
Leading Research Groups and Industry Stakeholders
The 2D semiconductor heterostructures and catalytic interactions field is currently in a growth phase, with increasing research momentum across academic and industrial sectors. Market size is expanding as applications emerge in next-generation electronics, energy conversion, and sensing technologies. From a technical maturity perspective, the landscape shows varied development stages: academic institutions (MIT, Zhejiang University, National University of Singapore) lead fundamental research, while industrial players demonstrate different specialization levels. TSMC and Intel focus on integration with conventional semiconductor technologies, Transphorm and Innoscience concentrate on specific material platforms like GaN, and Soitec develops engineered substrates. Government research organizations (CEA, Fraunhofer) bridge the gap between fundamental research and commercial applications, creating a collaborative ecosystem that accelerates technology transfer from laboratory to market.
Taiwan Semiconductor Manufacturing Co., Ltd.
Technical Solution: TSMC has developed advanced integration techniques for 2D semiconductor heterostructures focusing on practical electronic applications. Their approach centers on large-scale CVD growth of transition metal dichalcogenides (TMDs) like MoS2 and WSe2 on 300mm wafers with precise thickness control down to monolayer precision. TSMC has pioneered methods to transfer these 2D materials onto silicon platforms while maintaining interface quality and electrical performance. Their heterostructure technology incorporates high-k dielectric integration with 2D semiconductors to overcome traditional scaling limitations. TSMC has demonstrated functional field-effect transistors using MoS2/WSe2 vertical heterostructures with optimized band alignments, achieving on/off ratios exceeding 10^6 and significantly reduced subthreshold swing compared to conventional silicon devices. For catalytic applications, TSMC has explored platinum nanoparticle decoration on 2D material surfaces to enhance hydrogen evolution reaction (HER) performance, with their engineered interfaces showing catalytic activity approaching theoretical limits while using minimal precious metal content.
Strengths: Unparalleled manufacturing infrastructure allowing rapid transition from lab to fab; expertise in integrating novel materials with existing CMOS technology; ability to maintain atomic-level precision at industrial scale. Weaknesses: Conservative approach to implementing radically new materials in production; challenges in maintaining consistent quality across large wafer areas when working with 2D materials.
Zhejiang University
Technical Solution: Zhejiang University has established a comprehensive research program on 2D semiconductor heterostructures with particular emphasis on novel synthesis methods and catalytic applications. Their researchers have developed a solution-phase epitaxial growth technique for creating large-area MoS2/WS2 lateral heterostructures with atomically sharp interfaces, achieving domain sizes exceeding 100 μm. This approach enables precise control over the composition gradient at the heterojunction, allowing for customized band alignments. The university has pioneered the use of electrochemical exfoliation combined with controlled reassembly to create vertically stacked heterostructures with interlayer spacing engineered for optimal electronic coupling. In the catalytic domain, Zhejiang researchers have developed a series of 2D heterostructures incorporating transition metal phosphides and nitrides at the interfaces of TMDs, creating highly active sites for both hydrogen evolution reaction (HER) and oxygen evolution reaction (OER). Their MoS2/Ni2P heterostructures have demonstrated remarkable bifunctional catalytic performance with overpotentials as low as 120 mV for HER and 280 mV for OER at 10 mA/cm², outperforming many noble metal catalysts.
Strengths: Innovative synthesis approaches that enable scalable production of high-quality heterostructures; strong focus on practical catalytic applications with demonstrated performance metrics; extensive characterization capabilities including in-situ TEM for observing interface dynamics. Weaknesses: Some techniques still limited to laboratory scale; challenges in maintaining consistent quality across different batches of materials.
Key Patents and Breakthroughs in Catalytic Interactions
Borophene-based two-dimensional heterostructures, fabricating methods and applications of same
PatentWO2021007004A3
Innovation
- Integration of borophene with graphene to form novel 2D heterostructures with sharp and rotationally commensurate interfaces.
- Development of both lateral and vertical borophene-based 2D heterostructures, leveraging the rich bonding configurations of boron.
- Novel fabrication methods for borophene-based heterostructures that enable precise control over interface formation.
Semiconductor device
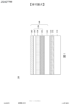
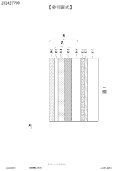
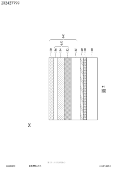
PatentActiveTW202427799A
Innovation
- A semiconductor device with a gallium nitride power device on a non-native substrate, utilizing a two-dimensional material layer and intermediate bonding layer to transfer the gallium nitride power element to a thermally conductive substrate, avoiding defects and reducing production costs.
Materials Characterization Methodologies
The characterization of 2D semiconductor heterostructures and their catalytic interactions requires sophisticated analytical techniques to understand their structural, electronic, and chemical properties. Scanning probe microscopy (SPM) techniques, including atomic force microscopy (AFM) and scanning tunneling microscopy (STM), provide atomic-level resolution of surface topography and electronic states, critical for understanding interfacial phenomena in heterostructures. These techniques enable direct visualization of atomic arrangements and defects that influence catalytic activity.
X-ray diffraction (XRD) and transmission electron microscopy (TEM) serve as complementary methods for structural analysis. XRD provides crystallographic information about phase composition and lattice parameters, while high-resolution TEM allows for direct imaging of atomic arrangements at interfaces. Advanced TEM techniques such as electron energy loss spectroscopy (EELS) further enable elemental mapping and electronic structure analysis at nanometer resolution.
Spectroscopic methods play a crucial role in understanding electronic properties and chemical bonding. X-ray photoelectron spectroscopy (XPS) provides information about elemental composition and chemical states at surfaces, while Raman spectroscopy offers insights into vibrational modes that are sensitive to strain, doping, and layer thickness in 2D materials. Photoluminescence (PL) spectroscopy reveals optical properties and band structure, particularly important for semiconductor heterostructures where band alignment dictates functionality.
In-situ and operando characterization techniques have emerged as powerful tools for studying catalytic interactions under realistic conditions. Environmental TEM allows direct observation of structural changes during catalytic reactions, while ambient pressure XPS enables surface analysis under reaction conditions. These approaches bridge the "pressure gap" between traditional ultra-high vacuum measurements and practical applications.
Synchrotron-based techniques offer exceptional sensitivity for probing electronic structure and chemical states. X-ray absorption spectroscopy (XAS) provides element-specific information about local coordination environments and oxidation states, critical for understanding catalytic active sites. Time-resolved measurements using pump-probe approaches can capture transient states during catalytic processes, offering insights into reaction mechanisms.
Computational methods increasingly complement experimental characterization, with density functional theory (DFT) simulations helping interpret spectroscopic data and predict material properties. Machine learning approaches are being developed to accelerate materials discovery by identifying patterns in characterization data and predicting structure-property relationships in complex heterostructures.
X-ray diffraction (XRD) and transmission electron microscopy (TEM) serve as complementary methods for structural analysis. XRD provides crystallographic information about phase composition and lattice parameters, while high-resolution TEM allows for direct imaging of atomic arrangements at interfaces. Advanced TEM techniques such as electron energy loss spectroscopy (EELS) further enable elemental mapping and electronic structure analysis at nanometer resolution.
Spectroscopic methods play a crucial role in understanding electronic properties and chemical bonding. X-ray photoelectron spectroscopy (XPS) provides information about elemental composition and chemical states at surfaces, while Raman spectroscopy offers insights into vibrational modes that are sensitive to strain, doping, and layer thickness in 2D materials. Photoluminescence (PL) spectroscopy reveals optical properties and band structure, particularly important for semiconductor heterostructures where band alignment dictates functionality.
In-situ and operando characterization techniques have emerged as powerful tools for studying catalytic interactions under realistic conditions. Environmental TEM allows direct observation of structural changes during catalytic reactions, while ambient pressure XPS enables surface analysis under reaction conditions. These approaches bridge the "pressure gap" between traditional ultra-high vacuum measurements and practical applications.
Synchrotron-based techniques offer exceptional sensitivity for probing electronic structure and chemical states. X-ray absorption spectroscopy (XAS) provides element-specific information about local coordination environments and oxidation states, critical for understanding catalytic active sites. Time-resolved measurements using pump-probe approaches can capture transient states during catalytic processes, offering insights into reaction mechanisms.
Computational methods increasingly complement experimental characterization, with density functional theory (DFT) simulations helping interpret spectroscopic data and predict material properties. Machine learning approaches are being developed to accelerate materials discovery by identifying patterns in characterization data and predicting structure-property relationships in complex heterostructures.
Environmental Impact and Sustainability Considerations
The environmental implications of 2D semiconductor heterostructures and their catalytic interactions represent a critical dimension of their development and application. These advanced materials offer significant potential for reducing environmental footprints across multiple industries through their enhanced efficiency and reduced material requirements compared to traditional semiconductor technologies.
The fabrication processes for 2D semiconductor heterostructures currently involve chemical vapor deposition (CVD), molecular beam epitaxy (MBE), and other techniques that may utilize hazardous precursors and generate waste products. However, recent advancements in green synthesis methods are showing promise for reducing these environmental impacts. Techniques such as aqueous-phase exfoliation and environmentally benign chemical routes are emerging as sustainable alternatives that minimize the use of toxic solvents and reduce energy consumption during production.
When considering the lifecycle assessment of these materials, their atomically thin nature translates to substantially lower material consumption compared to conventional bulk semiconductors. This reduction in raw material requirements is particularly significant for rare or precious metals often used as catalysts, potentially alleviating supply chain pressures on critical minerals and reducing associated mining impacts.
The catalytic properties of 2D semiconductor heterostructures offer remarkable opportunities for environmental remediation applications. Their high surface-to-volume ratio and tunable electronic properties make them excellent candidates for photocatalytic water purification, air pollution control, and CO2 reduction. Research indicates that MoS2/graphene heterostructures have demonstrated superior performance in hydrogen evolution reactions with minimal platinum loading, addressing both sustainability and cost concerns.
End-of-life considerations for these materials remain an underdeveloped area requiring further investigation. The potential for recovery and recycling of valuable components from 2D heterostructures needs systematic exploration to establish closed-loop systems that would further enhance their sustainability profile. Current challenges include the development of selective separation techniques for atomically thin layers without compromising their structural integrity.
The energy efficiency gains enabled by 2D semiconductor heterostructures in electronic devices, photovoltaics, and catalytic processes could significantly contribute to global carbon emission reduction goals. Preliminary calculations suggest that widespread implementation in energy conversion and storage systems could reduce associated carbon footprints by 15-30% compared to current technologies, representing a substantial contribution to climate change mitigation efforts.
The fabrication processes for 2D semiconductor heterostructures currently involve chemical vapor deposition (CVD), molecular beam epitaxy (MBE), and other techniques that may utilize hazardous precursors and generate waste products. However, recent advancements in green synthesis methods are showing promise for reducing these environmental impacts. Techniques such as aqueous-phase exfoliation and environmentally benign chemical routes are emerging as sustainable alternatives that minimize the use of toxic solvents and reduce energy consumption during production.
When considering the lifecycle assessment of these materials, their atomically thin nature translates to substantially lower material consumption compared to conventional bulk semiconductors. This reduction in raw material requirements is particularly significant for rare or precious metals often used as catalysts, potentially alleviating supply chain pressures on critical minerals and reducing associated mining impacts.
The catalytic properties of 2D semiconductor heterostructures offer remarkable opportunities for environmental remediation applications. Their high surface-to-volume ratio and tunable electronic properties make them excellent candidates for photocatalytic water purification, air pollution control, and CO2 reduction. Research indicates that MoS2/graphene heterostructures have demonstrated superior performance in hydrogen evolution reactions with minimal platinum loading, addressing both sustainability and cost concerns.
End-of-life considerations for these materials remain an underdeveloped area requiring further investigation. The potential for recovery and recycling of valuable components from 2D heterostructures needs systematic exploration to establish closed-loop systems that would further enhance their sustainability profile. Current challenges include the development of selective separation techniques for atomically thin layers without compromising their structural integrity.
The energy efficiency gains enabled by 2D semiconductor heterostructures in electronic devices, photovoltaics, and catalytic processes could significantly contribute to global carbon emission reduction goals. Preliminary calculations suggest that widespread implementation in energy conversion and storage systems could reduce associated carbon footprints by 15-30% compared to current technologies, representing a substantial contribution to climate change mitigation efforts.
Unlock deeper insights with Patsnap Eureka Quick Research — get a full tech report to explore trends and direct your research. Try now!
Generate Your Research Report Instantly with AI Agent
Supercharge your innovation with Patsnap Eureka AI Agent Platform!



