Advancements in Transient Electronics for Environmental Monitoring.
SEP 4, 202510 MIN READ
Generate Your Research Report Instantly with AI Agent
Patsnap Eureka helps you evaluate technical feasibility & market potential.
Transient Electronics Evolution and Objectives
Transient electronics represents a revolutionary paradigm shift in electronic device design, moving from permanent systems to those engineered to disappear after serving their intended functions. This technological evolution began in the early 2000s with pioneering work on biodegradable polymers for electronic applications, but gained significant momentum around 2012 when researchers at the University of Illinois demonstrated the first fully transient electronic systems capable of dissolving in water. The field has since expanded dramatically, driven by increasing environmental concerns about electronic waste and the growing need for temporary electronic monitoring solutions.
The evolution of transient electronics has followed several distinct phases. Initially, research focused on developing basic biodegradable substrates and simple conductive elements. This was followed by the creation of more complex functional components such as transistors and sensors that could degrade in controlled environments. The current phase involves the integration of these components into complete systems with sophisticated capabilities while maintaining their transient properties.
Environmental monitoring represents one of the most promising application domains for transient electronics. Traditional environmental sensors often create additional waste when deployed in natural settings, contradicting their fundamental purpose of environmental protection. Transient electronics offers a solution to this paradox by providing monitoring capabilities that leave no long-term footprint.
The primary objectives of advancements in transient electronics for environmental monitoring include developing systems that can accurately measure key environmental parameters such as temperature, humidity, soil composition, water quality, and air pollutants while being programmed to degrade after predetermined periods. These systems must achieve sufficient operational lifespans to collect meaningful data while ensuring complete degradation afterward.
Another critical objective is the creation of transient power sources that can sustain these monitoring systems for their required operational duration. Current research focuses on biodegradable batteries, energy harvesting from environmental sources, and hybrid power solutions that maintain the overall transient nature of the systems.
Material innovation represents a fundamental objective, with researchers seeking to develop new biodegradable semiconductors, conductors, and substrate materials that offer performance comparable to conventional electronics while maintaining environmentally benign degradation pathways. This includes exploration of naturally derived materials such as cellulose, silk proteins, and other biopolymers as structural components.
The field also aims to establish standardized testing protocols and degradation metrics to quantify and predict the environmental impact of transient electronic systems throughout their lifecycle. This includes understanding degradation mechanisms in various environmental conditions and ensuring that breakdown products are environmentally safe.
The evolution of transient electronics has followed several distinct phases. Initially, research focused on developing basic biodegradable substrates and simple conductive elements. This was followed by the creation of more complex functional components such as transistors and sensors that could degrade in controlled environments. The current phase involves the integration of these components into complete systems with sophisticated capabilities while maintaining their transient properties.
Environmental monitoring represents one of the most promising application domains for transient electronics. Traditional environmental sensors often create additional waste when deployed in natural settings, contradicting their fundamental purpose of environmental protection. Transient electronics offers a solution to this paradox by providing monitoring capabilities that leave no long-term footprint.
The primary objectives of advancements in transient electronics for environmental monitoring include developing systems that can accurately measure key environmental parameters such as temperature, humidity, soil composition, water quality, and air pollutants while being programmed to degrade after predetermined periods. These systems must achieve sufficient operational lifespans to collect meaningful data while ensuring complete degradation afterward.
Another critical objective is the creation of transient power sources that can sustain these monitoring systems for their required operational duration. Current research focuses on biodegradable batteries, energy harvesting from environmental sources, and hybrid power solutions that maintain the overall transient nature of the systems.
Material innovation represents a fundamental objective, with researchers seeking to develop new biodegradable semiconductors, conductors, and substrate materials that offer performance comparable to conventional electronics while maintaining environmentally benign degradation pathways. This includes exploration of naturally derived materials such as cellulose, silk proteins, and other biopolymers as structural components.
The field also aims to establish standardized testing protocols and degradation metrics to quantify and predict the environmental impact of transient electronic systems throughout their lifecycle. This includes understanding degradation mechanisms in various environmental conditions and ensuring that breakdown products are environmentally safe.
Environmental Monitoring Market Demand Analysis
The environmental monitoring market is experiencing unprecedented growth driven by increasing regulatory pressures, growing public awareness of environmental issues, and technological advancements. Current market valuations place the global environmental monitoring sector at approximately 20 billion USD, with projections indicating a compound annual growth rate of 7-8% through 2028. This growth trajectory is particularly pronounced in regions with stringent environmental regulations such as North America and Europe, while emerging economies in Asia-Pacific are rapidly expanding their environmental monitoring infrastructure.
Transient electronics for environmental monitoring addresses several critical market needs that traditional monitoring systems cannot fulfill. The ability of these devices to harmlessly degrade after their functional lifetime addresses the growing concern of electronic waste in remote monitoring applications. This characteristic is especially valuable in sensitive ecosystems where retrieval of conventional sensors is impractical or potentially damaging.
Water quality monitoring represents the largest application segment, accounting for nearly 30% of the environmental monitoring market. The demand for real-time, distributed water quality data across watersheds, coastal areas, and drinking water systems presents a significant opportunity for transient electronics deployment. These systems can be strategically placed throughout water bodies without concerns about long-term environmental impact.
Air quality monitoring follows closely as the second-largest segment, driven by increasing urbanization and industrial activities. The World Health Organization estimates that 9 out of 10 people worldwide breathe polluted air, creating substantial demand for more comprehensive monitoring networks. Transient electronics offer the potential for widely distributed, low-cost sensor networks that can provide granular data on air quality parameters across urban and industrial landscapes.
Soil monitoring applications are gaining prominence due to agricultural intensification and concerns about soil degradation. The market for precision agriculture tools, including soil sensors, is growing at over 12% annually. Transient electronics that can monitor soil conditions and naturally degrade into non-toxic components align perfectly with sustainable agricultural practices.
Wildlife and biodiversity monitoring represents an emerging application with significant growth potential. Conservation organizations and research institutions are increasingly deploying sensor networks to track ecosystem health and animal movements. The non-retrievable nature of many wildlife monitoring applications makes transient electronics particularly valuable in this sector.
The industrial sector's demand for environmental compliance monitoring is another significant market driver. As regulations tighten globally, industries face increasing pressure to demonstrate environmental compliance through continuous monitoring. Transient electronics offer potential cost advantages and deployment flexibility compared to traditional industrial monitoring systems.
Transient electronics for environmental monitoring addresses several critical market needs that traditional monitoring systems cannot fulfill. The ability of these devices to harmlessly degrade after their functional lifetime addresses the growing concern of electronic waste in remote monitoring applications. This characteristic is especially valuable in sensitive ecosystems where retrieval of conventional sensors is impractical or potentially damaging.
Water quality monitoring represents the largest application segment, accounting for nearly 30% of the environmental monitoring market. The demand for real-time, distributed water quality data across watersheds, coastal areas, and drinking water systems presents a significant opportunity for transient electronics deployment. These systems can be strategically placed throughout water bodies without concerns about long-term environmental impact.
Air quality monitoring follows closely as the second-largest segment, driven by increasing urbanization and industrial activities. The World Health Organization estimates that 9 out of 10 people worldwide breathe polluted air, creating substantial demand for more comprehensive monitoring networks. Transient electronics offer the potential for widely distributed, low-cost sensor networks that can provide granular data on air quality parameters across urban and industrial landscapes.
Soil monitoring applications are gaining prominence due to agricultural intensification and concerns about soil degradation. The market for precision agriculture tools, including soil sensors, is growing at over 12% annually. Transient electronics that can monitor soil conditions and naturally degrade into non-toxic components align perfectly with sustainable agricultural practices.
Wildlife and biodiversity monitoring represents an emerging application with significant growth potential. Conservation organizations and research institutions are increasingly deploying sensor networks to track ecosystem health and animal movements. The non-retrievable nature of many wildlife monitoring applications makes transient electronics particularly valuable in this sector.
The industrial sector's demand for environmental compliance monitoring is another significant market driver. As regulations tighten globally, industries face increasing pressure to demonstrate environmental compliance through continuous monitoring. Transient electronics offer potential cost advantages and deployment flexibility compared to traditional industrial monitoring systems.
Current Capabilities and Barriers in Transient Electronics
Transient electronics for environmental monitoring have made significant strides in recent years, yet face substantial technical challenges that limit their widespread deployment. Current capabilities include biodegradable sensors capable of measuring basic environmental parameters such as temperature, humidity, and pH levels with moderate accuracy. These devices typically operate for periods ranging from days to weeks before controlled degradation occurs, utilizing materials like silk fibroin, magnesium, zinc oxide, and water-soluble polymers that can decompose naturally in environmental settings.
The power management systems in transient electronics have evolved to include dissolvable batteries and energy harvesting technologies that can capture solar, thermal, or mechanical energy from the environment. This advancement has extended operational lifetimes and reduced the need for battery replacements in remote monitoring applications. Data transmission capabilities now include low-power wireless protocols that can transmit information over short distances before device degradation.
Despite these advancements, significant barriers persist in the field. Material stability presents a fundamental challenge, as achieving the delicate balance between functional longevity and complete degradability remains difficult. Current transient materials often exhibit unpredictable degradation rates when exposed to varying environmental conditions, compromising data reliability in real-world applications.
Performance limitations constitute another major barrier. Transient sensors generally demonstrate lower sensitivity, accuracy, and range compared to their conventional counterparts. The trade-off between degradability and performance continues to restrict their application in scenarios requiring precise measurements or long-term monitoring campaigns.
Power constraints represent perhaps the most significant technical hurdle. Existing energy storage and harvesting solutions for transient electronics provide limited power density, restricting the complexity of sensing operations and data processing capabilities. This limitation particularly affects applications requiring continuous monitoring or frequent data transmission.
Manufacturing scalability presents additional challenges. Current fabrication processes for transient electronics remain largely laboratory-based, with limited standardization and high production costs. The integration of multiple functional components (sensors, processors, power sources) while maintaining degradability characteristics requires sophisticated manufacturing techniques that are difficult to scale commercially.
Encapsulation technology represents another barrier, as protecting sensitive electronic components while ensuring eventual degradation requires advanced material science solutions. Current encapsulation methods often compromise either the functional lifetime or the complete degradability of the device, limiting practical deployment scenarios in environmental monitoring applications.
The power management systems in transient electronics have evolved to include dissolvable batteries and energy harvesting technologies that can capture solar, thermal, or mechanical energy from the environment. This advancement has extended operational lifetimes and reduced the need for battery replacements in remote monitoring applications. Data transmission capabilities now include low-power wireless protocols that can transmit information over short distances before device degradation.
Despite these advancements, significant barriers persist in the field. Material stability presents a fundamental challenge, as achieving the delicate balance between functional longevity and complete degradability remains difficult. Current transient materials often exhibit unpredictable degradation rates when exposed to varying environmental conditions, compromising data reliability in real-world applications.
Performance limitations constitute another major barrier. Transient sensors generally demonstrate lower sensitivity, accuracy, and range compared to their conventional counterparts. The trade-off between degradability and performance continues to restrict their application in scenarios requiring precise measurements or long-term monitoring campaigns.
Power constraints represent perhaps the most significant technical hurdle. Existing energy storage and harvesting solutions for transient electronics provide limited power density, restricting the complexity of sensing operations and data processing capabilities. This limitation particularly affects applications requiring continuous monitoring or frequent data transmission.
Manufacturing scalability presents additional challenges. Current fabrication processes for transient electronics remain largely laboratory-based, with limited standardization and high production costs. The integration of multiple functional components (sensors, processors, power sources) while maintaining degradability characteristics requires sophisticated manufacturing techniques that are difficult to scale commercially.
Encapsulation technology represents another barrier, as protecting sensitive electronic components while ensuring eventual degradation requires advanced material science solutions. Current encapsulation methods often compromise either the functional lifetime or the complete degradability of the device, limiting practical deployment scenarios in environmental monitoring applications.
Existing Transient Sensor Solutions for Environmental Applications
01 Biodegradable and dissolvable electronic components
Transient electronics that are designed to dissolve or degrade after a predetermined period or under specific environmental conditions. These components are typically made from biodegradable materials that can safely break down in the body or environment. This technology is particularly useful for medical implants, environmental sensors, and temporary electronic devices that eliminate the need for retrieval or long-term environmental impact.- Biodegradable and dissolvable electronic components: Transient electronics that are designed to dissolve or degrade after a predetermined period or under specific environmental conditions. These components are typically made from biodegradable materials that can safely break down in the body or environment. This technology is particularly useful for medical implants, environmental sensors, and temporary electronic devices that don't require retrieval after use.
- Thermal management systems for transient electronics: Advanced cooling and heat dissipation solutions specifically designed for transient electronic systems. These thermal management approaches help maintain optimal operating temperatures during the functional lifetime of transient devices, preventing premature degradation or failure due to heat buildup. Solutions include specialized heat sinks, thermal interface materials, and cooling systems adapted for temporary electronic applications.
- Power supply solutions for transient electronic devices: Specialized power management and supply systems designed for transient electronics applications. These include temporary batteries, energy harvesting technologies, and power conditioning circuits that operate reliably for the intended lifespan of the device before degrading along with the rest of the system. These power solutions are engineered to match the operational lifetime of the transient electronic device they support.
- Security features in transient electronics: Security mechanisms specifically designed for transient electronic systems that can self-destruct, erase data, or become inoperable after a trigger event or predetermined time period. These features protect sensitive information by ensuring that the device and its data cannot be accessed after its intended use period. Applications include secure military communications, one-time authentication tokens, and confidential data storage.
- Circuit design techniques for transient electronics: Specialized circuit design methodologies and architectures optimized for transient electronic applications. These designs account for the unique constraints of temporary electronic systems, including limited lifespan, potential material degradation, and specialized performance requirements. Circuit techniques may include redundancy features, graceful degradation paths, and optimized layouts that maintain functionality during the intended operational period.
02 Thermal management systems for transient electronics
Advanced cooling and heat dissipation solutions specifically designed for transient electronic systems. These thermal management approaches address the unique challenges of temporary electronic devices, including flexible heat sinks, phase-change materials, and specialized thermal interface materials that maintain performance during the operational lifetime while not impeding the transient nature of the device.Expand Specific Solutions03 Security and self-destruction mechanisms
Electronic systems designed with intentional transience for security applications. These include self-destructing circuits, volatile memory systems, and triggered degradation mechanisms that can render sensitive electronic components inoperable on command or when tampering is detected. This technology is particularly valuable for military applications, secure communications, and data protection.Expand Specific Solutions04 Power management for temporary electronic systems
Specialized power supply and energy management solutions for transient electronic devices. These include temporary batteries, energy harvesting systems designed for limited lifespans, and power conditioning circuits that support the operational requirements of transient electronics while maintaining compatibility with their degradable nature.Expand Specific Solutions05 Substrate and packaging technologies for transient electronics
Novel substrate materials and packaging solutions that support the temporary nature of transient electronic devices. These include water-soluble substrates, environmentally responsive encapsulation materials, and specialized interconnect technologies that maintain reliability during the intended operational period while facilitating controlled degradation afterward.Expand Specific Solutions
Leading Organizations in Transient Electronics Development
Transient electronics for environmental monitoring is evolving rapidly, currently transitioning from early development to commercialization phase. The market is projected to grow significantly, driven by increasing environmental concerns and regulatory requirements. Technologically, the field shows varying maturity levels across players. Academic institutions like University of Illinois, Soochow University, and Tufts College are pioneering fundamental research, while established corporations including Qualcomm, IBM, and Lam Research are advancing practical applications through their manufacturing expertise. State Grid Corp. of China and Baker Hughes are exploring industry-specific implementations. The ecosystem demonstrates a collaborative innovation model where research institutions develop core technologies while commercial entities focus on scalability and market deployment, creating a dynamic competitive landscape poised for substantial growth.
The Board of Trustees of the University of Illinois
Technical Solution: The University of Illinois has pioneered significant advancements in transient electronics for environmental monitoring through their development of water-soluble electronic systems that can naturally dissolve after completing their monitoring functions. Their approach utilizes biodegradable substrates combined with silicon nanomembranes and magnesium conductors that dissolve harmlessly in environmental conditions. These systems include wireless sensors capable of monitoring temperature, pressure, pH levels, and chemical contaminants in natural environments. The university's research team has successfully demonstrated transient environmental sensors that can operate effectively for predetermined periods (ranging from days to months) before dissolving completely, leaving no electronic waste. Their latest innovations include self-powered transient sensors utilizing piezoelectric energy harvesting techniques that eliminate the need for conventional batteries, further enhancing environmental compatibility.
Strengths: Leading expertise in biodegradable materials integration with functional electronics; demonstrated field deployment capabilities; strong focus on zero-waste solutions. Weaknesses: Current limitations in sensor longevity control; challenges in maintaining consistent performance throughout operational lifetime; relatively higher production costs compared to conventional electronics.
International Business Machines Corp.
Technical Solution: IBM has developed a comprehensive transient electronics platform called "Disappearing Delivery Devices" specifically targeting environmental monitoring applications. Their technology utilizes silicon-based substrates designed to dissolve in water or biofluids after predetermined periods, with dissolution rates controlled through precise material engineering. IBM's transient environmental sensors incorporate graphene-based components for enhanced sensitivity while maintaining biodegradability. The company has successfully demonstrated wireless sensor networks that can monitor air quality, water contamination, and soil conditions before harmlessly dissolving into the environment. Their proprietary encapsulation technology allows for customizable lifespans ranging from hours to several months, depending on monitoring requirements. IBM has also pioneered integration of these transient sensors with their cloud computing infrastructure, enabling real-time environmental data analysis before device dissolution. Recent advancements include self-powered versions utilizing thin-film solar cells that extend operational lifetimes while maintaining complete biodegradability.
Strengths: Robust integration with existing data analytics platforms; advanced manufacturing capabilities enabling consistent production quality; extensive intellectual property portfolio in transient electronics. Weaknesses: Higher production costs compared to conventional sensors; current limitations in sensor complexity and functionality; challenges in achieving uniform dissolution rates in variable environmental conditions.
Key Innovations in Biodegradable Sensing Technologies
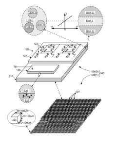
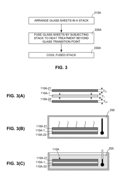
Thermally Tempered Glass Substrate Using CTE Mismatched Layers And Paste Mixtures For Transient Electronic Systems
PatentActiveUS20150358021A1
Innovation
- A thermally tempered glass substrate with mismatched coefficient of thermal expansion (CTE) values is developed, which generates self-equilibrating internal stresses, allowing for the integration of ICs and electronic elements while enabling complete disaggregation into micron-sized particulates upon an applied fracture force, mimicking the mechanism of a Prince Rupert's Drop.
Method and device for environmental monitoring
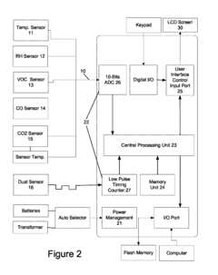
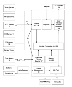
PatentInactiveUS9121837B2
Innovation
- A device with multiple sensors that measure and analyze various environmental parameters simultaneously, providing a real-time comprehensive air quality report, easy to operate by non-technical users, and includes features like preset calculation criteria to eliminate errors and a power-saving function.
Sustainability Impact and Lifecycle Assessment
Transient electronics for environmental monitoring represent a significant advancement in sustainable technology development. The lifecycle assessment of these devices reveals substantial environmental benefits compared to conventional electronic monitoring systems. When examining the full lifecycle - from raw material extraction to disposal - transient electronics demonstrate reduced environmental footprint primarily due to their biodegradable components and minimal waste generation. The controlled dissolution of these devices after their functional lifetime eliminates the need for physical retrieval from remote or sensitive ecosystems, thereby preventing habitat disruption that typically occurs during conventional device recovery operations.
The sustainability impact extends beyond waste reduction to include resource conservation. Traditional environmental monitoring systems often require substantial material inputs, including rare earth elements and precious metals that involve environmentally destructive mining practices. Transient electronics, by contrast, can be designed with naturally abundant materials and biologically derived components, significantly reducing resource depletion and associated environmental degradation. This shift toward more sustainable material selection represents a paradigm change in electronic device design philosophy.
Energy consumption throughout the lifecycle presents another critical sustainability dimension. The manufacturing processes for transient electronics typically require less energy than conventional electronics due to simpler fabrication techniques and reduced processing temperatures. Additionally, many transient electronic systems are designed to operate with minimal power requirements, often harvesting energy from their surroundings through solar, thermal, or mechanical means, further enhancing their sustainability profile during the operational phase.
The end-of-life characteristics of transient electronics constitute perhaps their most significant sustainability advantage. Unlike conventional electronics that contribute to the growing global e-waste crisis, transient devices decompose into non-toxic byproducts that can be safely absorbed by the environment. This controlled degradation can be engineered to occur only after the device has fulfilled its monitoring purpose, ensuring both functional reliability and environmental safety. Recent studies indicate that properly designed transient systems can achieve complete dissolution with minimal ecological impact.
From a circular economy perspective, transient electronics represent an innovative approach to product design that inherently considers end-of-life scenarios from the outset. This "designed decomposition" approach stands in stark contrast to the traditional linear economy model of electronics manufacturing and disposal. By incorporating principles of green chemistry and sustainable design, transient electronics for environmental monitoring demonstrate how technological advancement can align with ecological preservation rather than standing in opposition to it.
The sustainability impact extends beyond waste reduction to include resource conservation. Traditional environmental monitoring systems often require substantial material inputs, including rare earth elements and precious metals that involve environmentally destructive mining practices. Transient electronics, by contrast, can be designed with naturally abundant materials and biologically derived components, significantly reducing resource depletion and associated environmental degradation. This shift toward more sustainable material selection represents a paradigm change in electronic device design philosophy.
Energy consumption throughout the lifecycle presents another critical sustainability dimension. The manufacturing processes for transient electronics typically require less energy than conventional electronics due to simpler fabrication techniques and reduced processing temperatures. Additionally, many transient electronic systems are designed to operate with minimal power requirements, often harvesting energy from their surroundings through solar, thermal, or mechanical means, further enhancing their sustainability profile during the operational phase.
The end-of-life characteristics of transient electronics constitute perhaps their most significant sustainability advantage. Unlike conventional electronics that contribute to the growing global e-waste crisis, transient devices decompose into non-toxic byproducts that can be safely absorbed by the environment. This controlled degradation can be engineered to occur only after the device has fulfilled its monitoring purpose, ensuring both functional reliability and environmental safety. Recent studies indicate that properly designed transient systems can achieve complete dissolution with minimal ecological impact.
From a circular economy perspective, transient electronics represent an innovative approach to product design that inherently considers end-of-life scenarios from the outset. This "designed decomposition" approach stands in stark contrast to the traditional linear economy model of electronics manufacturing and disposal. By incorporating principles of green chemistry and sustainable design, transient electronics for environmental monitoring demonstrate how technological advancement can align with ecological preservation rather than standing in opposition to it.
Regulatory Framework for Degradable Electronic Deployment
The regulatory landscape for transient electronics deployment in environmental monitoring is evolving rapidly as these novel technologies enter practical application phases. Current regulations primarily focus on traditional electronic waste management, creating significant gaps in addressing the unique characteristics of degradable electronics. The Environmental Protection Agency (EPA) and similar international bodies have begun developing preliminary guidelines that consider the intentional degradation of electronic components in natural settings, though comprehensive frameworks remain under development.
Key regulatory considerations include material safety standards that evaluate the environmental impact of degradable components. Regulatory bodies increasingly require manufacturers to document the degradation pathways of transient materials and demonstrate that breakdown products pose no ecological harm. The European Union's REACH (Registration, Evaluation, Authorization and Restriction of Chemicals) regulations have recently expanded to include specific provisions for intentionally degradable electronic materials, establishing important precedents for global adoption.
Permitting processes for environmental deployment represent another critical regulatory dimension. Current frameworks typically require extensive field testing and environmental impact assessments before large-scale deployment of transient monitoring systems. The National Oceanic and Atmospheric Administration (NOAA) has established specialized permitting procedures for oceanic deployment of degradable sensors, requiring degradation timelines aligned with specific marine ecosystem characteristics.
Certification standards are emerging as essential regulatory tools. The IEEE Environmental Assessment Standards Committee has initiated development of a certification framework specifically for transient electronics, focusing on verification of degradation rates, environmental safety, and performance reliability. This initiative aims to standardize testing protocols and create universally recognized benchmarks for regulatory compliance.
Cross-border deployment presents unique regulatory challenges, as environmental monitoring often spans multiple jurisdictions with varying regulatory requirements. The Basel Convention on transboundary movement of hazardous waste has begun considering amendments to address transient electronics, recognizing their distinct characteristics compared to conventional electronic waste.
Liability frameworks remain particularly underdeveloped, with significant questions regarding responsibility for environmental impacts if degradation does not occur as designed. Insurance providers have begun developing specialized policies for transient electronics deployment, though actuarial models remain preliminary due to limited historical data on real-world performance.
Looking forward, regulatory harmonization efforts are accelerating through international working groups focused on creating standardized approaches to transient electronics governance. The International Telecommunication Union (ITU) has established a dedicated task force to develop global technical standards specifically addressing the unique regulatory challenges of degradable environmental monitoring systems.
Key regulatory considerations include material safety standards that evaluate the environmental impact of degradable components. Regulatory bodies increasingly require manufacturers to document the degradation pathways of transient materials and demonstrate that breakdown products pose no ecological harm. The European Union's REACH (Registration, Evaluation, Authorization and Restriction of Chemicals) regulations have recently expanded to include specific provisions for intentionally degradable electronic materials, establishing important precedents for global adoption.
Permitting processes for environmental deployment represent another critical regulatory dimension. Current frameworks typically require extensive field testing and environmental impact assessments before large-scale deployment of transient monitoring systems. The National Oceanic and Atmospheric Administration (NOAA) has established specialized permitting procedures for oceanic deployment of degradable sensors, requiring degradation timelines aligned with specific marine ecosystem characteristics.
Certification standards are emerging as essential regulatory tools. The IEEE Environmental Assessment Standards Committee has initiated development of a certification framework specifically for transient electronics, focusing on verification of degradation rates, environmental safety, and performance reliability. This initiative aims to standardize testing protocols and create universally recognized benchmarks for regulatory compliance.
Cross-border deployment presents unique regulatory challenges, as environmental monitoring often spans multiple jurisdictions with varying regulatory requirements. The Basel Convention on transboundary movement of hazardous waste has begun considering amendments to address transient electronics, recognizing their distinct characteristics compared to conventional electronic waste.
Liability frameworks remain particularly underdeveloped, with significant questions regarding responsibility for environmental impacts if degradation does not occur as designed. Insurance providers have begun developing specialized policies for transient electronics deployment, though actuarial models remain preliminary due to limited historical data on real-world performance.
Looking forward, regulatory harmonization efforts are accelerating through international working groups focused on creating standardized approaches to transient electronics governance. The International Telecommunication Union (ITU) has established a dedicated task force to develop global technical standards specifically addressing the unique regulatory challenges of degradable environmental monitoring systems.
Unlock deeper insights with Patsnap Eureka Quick Research — get a full tech report to explore trends and direct your research. Try now!
Generate Your Research Report Instantly with AI Agent
Supercharge your innovation with Patsnap Eureka AI Agent Platform!