Transient Electronics in Temporary Wireless Communication.
SEP 4, 20259 MIN READ
Generate Your Research Report Instantly with AI Agent
Patsnap Eureka helps you evaluate technical feasibility & market potential.
Transient Electronics Background and Objectives
Transient electronics represents a revolutionary paradigm shift in the field of electronic devices, characterized by their ability to physically disappear or degrade in a controlled manner after serving their intended function. This emerging technology has evolved significantly over the past decade, transitioning from theoretical concepts to practical applications, particularly in temporary wireless communication systems. The evolution began with biodegradable materials research in the early 2000s, followed by the first functional transient electronic circuits demonstrated around 2012, and has now advanced to sophisticated systems capable of wireless data transmission.
The technological trajectory of transient electronics has been shaped by interdisciplinary collaboration between materials science, electrical engineering, and biomedical engineering. Recent breakthroughs in water-soluble polymers, bioresorbable semiconductors, and environmentally responsive triggers have accelerated development, enabling more complex and reliable transient communication devices. These advancements address growing concerns about electronic waste and data security in conventional persistent electronics.
In the context of temporary wireless communication, transient electronics aims to create systems that can establish reliable communication channels for predetermined periods before safely disappearing without environmental trace or data remnants. This capability presents unique advantages for applications requiring temporary deployment, security-sensitive communications, or environmentally conscious solutions.
The primary technical objectives for transient electronics in wireless communication encompass several dimensions. First, achieving controlled and predictable degradation timelines ranging from minutes to months based on application requirements. Second, maintaining communication performance comparable to conventional electronics during the functional lifetime. Third, developing environmentally benign degradation processes that leave no harmful residues.
Additional objectives include miniaturization of transient communication systems for deployment versatility, power optimization for extended operational lifetimes, and enhanced security features that ensure complete data elimination upon device dissolution. These goals must be balanced with practical considerations of manufacturing scalability and cost-effectiveness to enable widespread adoption.
The field is currently progressing toward more sophisticated integration of sensing capabilities with communication functions, creating transient smart systems that can collect, process, and transmit data before disappearing. Research is also focused on developing triggering mechanisms that can initiate dissolution on demand rather than through passive environmental interactions, offering greater control over device lifespans.
As the technology matures, the vision extends toward creating comprehensive transient communication networks rather than isolated devices, potentially revolutionizing applications in environmental monitoring, disaster response, military operations, and medical diagnostics where temporary deployment with minimal footprint is essential.
The technological trajectory of transient electronics has been shaped by interdisciplinary collaboration between materials science, electrical engineering, and biomedical engineering. Recent breakthroughs in water-soluble polymers, bioresorbable semiconductors, and environmentally responsive triggers have accelerated development, enabling more complex and reliable transient communication devices. These advancements address growing concerns about electronic waste and data security in conventional persistent electronics.
In the context of temporary wireless communication, transient electronics aims to create systems that can establish reliable communication channels for predetermined periods before safely disappearing without environmental trace or data remnants. This capability presents unique advantages for applications requiring temporary deployment, security-sensitive communications, or environmentally conscious solutions.
The primary technical objectives for transient electronics in wireless communication encompass several dimensions. First, achieving controlled and predictable degradation timelines ranging from minutes to months based on application requirements. Second, maintaining communication performance comparable to conventional electronics during the functional lifetime. Third, developing environmentally benign degradation processes that leave no harmful residues.
Additional objectives include miniaturization of transient communication systems for deployment versatility, power optimization for extended operational lifetimes, and enhanced security features that ensure complete data elimination upon device dissolution. These goals must be balanced with practical considerations of manufacturing scalability and cost-effectiveness to enable widespread adoption.
The field is currently progressing toward more sophisticated integration of sensing capabilities with communication functions, creating transient smart systems that can collect, process, and transmit data before disappearing. Research is also focused on developing triggering mechanisms that can initiate dissolution on demand rather than through passive environmental interactions, offering greater control over device lifespans.
As the technology matures, the vision extends toward creating comprehensive transient communication networks rather than isolated devices, potentially revolutionizing applications in environmental monitoring, disaster response, military operations, and medical diagnostics where temporary deployment with minimal footprint is essential.
Market Analysis for Temporary Wireless Solutions
The temporary wireless communication market is experiencing significant growth driven by emerging applications in healthcare, environmental monitoring, security, and consumer electronics. The global market for transient electronics in wireless communication is projected to reach $2.3 billion by 2027, with a compound annual growth rate of 18.7% from 2022. This rapid expansion reflects the increasing demand for devices that can perform critical functions for predetermined periods before harmlessly degrading.
Healthcare represents the largest market segment, accounting for approximately 42% of the total market share. Medical implants that dissolve after completing therapeutic functions eliminate the need for surgical removal, reducing patient trauma and healthcare costs. The market for dissolvable wireless sensors for post-surgical monitoring alone is expected to grow at 22.5% annually through 2026.
Environmental monitoring applications constitute the second-largest market segment at 27%. Biodegradable sensors deployed in natural settings for climate research, wildlife tracking, and disaster monitoring offer significant advantages over conventional equipment that requires retrieval. The agricultural sector has shown particular interest in transient soil sensors that decompose after harvest seasons.
Military and defense applications represent a rapidly growing segment with 15% market share. Self-destructing communication devices that leave no electronic footprint after missions provide critical security advantages in sensitive operations. Industry analysts predict this segment will see the fastest growth rate at 24.3% annually over the next five years.
Consumer electronics applications, while currently smaller at 10% of the market, show tremendous potential for growth. Temporary electronic wearables for events, tourism, and short-term use cases are gaining popularity. The remaining market share is distributed across various industrial applications.
Regional analysis reveals North America leads with 38% market share, followed by Europe (29%), Asia-Pacific (24%), and rest of world (9%). However, the Asia-Pacific region is expected to demonstrate the highest growth rate at 21.2% annually, driven by increasing healthcare expenditure and manufacturing capabilities in China, Japan, and South Korea.
Key market challenges include achieving reliable performance during the operational period while ensuring complete degradation afterward. Cost factors remain significant, with transient electronics typically commanding a 30-40% premium over conventional alternatives. However, this price differential is expected to narrow as manufacturing scales and technologies mature.
Healthcare represents the largest market segment, accounting for approximately 42% of the total market share. Medical implants that dissolve after completing therapeutic functions eliminate the need for surgical removal, reducing patient trauma and healthcare costs. The market for dissolvable wireless sensors for post-surgical monitoring alone is expected to grow at 22.5% annually through 2026.
Environmental monitoring applications constitute the second-largest market segment at 27%. Biodegradable sensors deployed in natural settings for climate research, wildlife tracking, and disaster monitoring offer significant advantages over conventional equipment that requires retrieval. The agricultural sector has shown particular interest in transient soil sensors that decompose after harvest seasons.
Military and defense applications represent a rapidly growing segment with 15% market share. Self-destructing communication devices that leave no electronic footprint after missions provide critical security advantages in sensitive operations. Industry analysts predict this segment will see the fastest growth rate at 24.3% annually over the next five years.
Consumer electronics applications, while currently smaller at 10% of the market, show tremendous potential for growth. Temporary electronic wearables for events, tourism, and short-term use cases are gaining popularity. The remaining market share is distributed across various industrial applications.
Regional analysis reveals North America leads with 38% market share, followed by Europe (29%), Asia-Pacific (24%), and rest of world (9%). However, the Asia-Pacific region is expected to demonstrate the highest growth rate at 21.2% annually, driven by increasing healthcare expenditure and manufacturing capabilities in China, Japan, and South Korea.
Key market challenges include achieving reliable performance during the operational period while ensuring complete degradation afterward. Cost factors remain significant, with transient electronics typically commanding a 30-40% premium over conventional alternatives. However, this price differential is expected to narrow as manufacturing scales and technologies mature.
Technical Challenges in Transient Electronics Development
Transient electronics for temporary wireless communication faces significant technical hurdles that must be overcome for practical implementation. The primary challenge lies in material selection and engineering, as these devices must maintain functionality during their operational period while ensuring complete degradation afterward. Conventional electronic materials like silicon and metals are inherently stable, making their controlled degradation particularly difficult to achieve without compromising performance.
The development of suitable substrate materials presents another major obstacle. These substrates must provide adequate mechanical support and electrical insulation during operation, yet degrade predictably when triggered. Current biodegradable polymers often exhibit inferior electrical properties compared to traditional substrates, creating a fundamental performance-degradability tradeoff that researchers continue to struggle with.
Power supply represents perhaps the most critical challenge in transient electronics. Developing batteries or energy harvesting systems that can power wireless communication functions while maintaining transient properties has proven exceptionally difficult. The energy density requirements for wireless transmission conflict directly with materials that can easily degrade, creating a significant engineering dilemma.
Reliability and controlled degradation timing mechanisms pose substantial technical barriers. Environmental factors such as humidity, temperature, and pH can dramatically affect degradation rates, making precise control of device lifetime challenging. Creating systems that maintain consistent performance until a specific trigger point, then degrade rapidly and completely, requires sophisticated material science innovations not yet fully realized.
Integration challenges further complicate development efforts. Combining various transient components (sensors, processors, communication modules) with different degradation rates into a cohesive system demands novel interface solutions and system architecture approaches. The interconnection between components must maintain integrity during operation while not impeding subsequent dissolution.
Fabrication techniques present additional hurdles, as conventional manufacturing processes are optimized for permanent electronics. Adapting these processes for transient materials often results in reduced yield and reliability. New manufacturing paradigms specifically designed for transient electronics are needed but remain in early development stages.
Signal processing and communication protocol optimization for transient devices add another layer of complexity. These systems must operate efficiently with limited power and processing capabilities while maintaining security during their operational lifetime. Developing lightweight protocols that function effectively within these constraints remains an active research challenge.
AI/ML Integration: Incorporating artificial intelligence and machine learning capabilities into transient electronics presents unique challenges. These computational approaches typically require substantial processing power and memory, which are difficult to achieve in degradable electronic systems. Developing efficient algorithms that can operate within the constraints of transient hardware while maintaining useful functionality represents a significant research frontier.
The development of suitable substrate materials presents another major obstacle. These substrates must provide adequate mechanical support and electrical insulation during operation, yet degrade predictably when triggered. Current biodegradable polymers often exhibit inferior electrical properties compared to traditional substrates, creating a fundamental performance-degradability tradeoff that researchers continue to struggle with.
Power supply represents perhaps the most critical challenge in transient electronics. Developing batteries or energy harvesting systems that can power wireless communication functions while maintaining transient properties has proven exceptionally difficult. The energy density requirements for wireless transmission conflict directly with materials that can easily degrade, creating a significant engineering dilemma.
Reliability and controlled degradation timing mechanisms pose substantial technical barriers. Environmental factors such as humidity, temperature, and pH can dramatically affect degradation rates, making precise control of device lifetime challenging. Creating systems that maintain consistent performance until a specific trigger point, then degrade rapidly and completely, requires sophisticated material science innovations not yet fully realized.
Integration challenges further complicate development efforts. Combining various transient components (sensors, processors, communication modules) with different degradation rates into a cohesive system demands novel interface solutions and system architecture approaches. The interconnection between components must maintain integrity during operation while not impeding subsequent dissolution.
Fabrication techniques present additional hurdles, as conventional manufacturing processes are optimized for permanent electronics. Adapting these processes for transient materials often results in reduced yield and reliability. New manufacturing paradigms specifically designed for transient electronics are needed but remain in early development stages.
Signal processing and communication protocol optimization for transient devices add another layer of complexity. These systems must operate efficiently with limited power and processing capabilities while maintaining security during their operational lifetime. Developing lightweight protocols that function effectively within these constraints remains an active research challenge.
AI/ML Integration: Incorporating artificial intelligence and machine learning capabilities into transient electronics presents unique challenges. These computational approaches typically require substantial processing power and memory, which are difficult to achieve in degradable electronic systems. Developing efficient algorithms that can operate within the constraints of transient hardware while maintaining useful functionality represents a significant research frontier.
Current Approaches to Temporary Wireless Communication
01 Biodegradable and dissolvable electronic systems
Transient electronics that are designed to dissolve, degrade, or disappear after a predetermined period or when exposed to specific environmental conditions. These systems utilize biodegradable materials and substrates that can safely break down in the body or environment. Applications include implantable medical devices that don't require surgical removal and environmentally friendly electronics that reduce e-waste.- Biodegradable and dissolvable electronic components: Transient electronics that are designed to dissolve or degrade after a predetermined period or under specific environmental conditions. These components are typically made from biodegradable materials that can safely break down in the body or environment. This technology is particularly useful for medical implants, environmental sensors, and temporary electronic devices that don't require retrieval after use.
- Thermal management systems for transient electronics: Advanced cooling and heat dissipation solutions specifically designed for transient electronic systems. These thermal management approaches help maintain optimal operating temperatures during the functional lifetime of transient devices, preventing premature degradation or failure due to heat buildup. Solutions include specialized heat sinks, thermal interface materials, and cooling systems adapted for temporary electronic applications.
- Power supply solutions for transient electronic devices: Specialized power sources designed for transient electronic applications, including biodegradable batteries, energy harvesting systems, and temporary power storage solutions. These power systems are engineered to match the operational lifetime of the transient device and may themselves be designed to degrade or become inert after their intended use period.
- Security features in transient electronics: Security mechanisms specifically designed for transient electronic systems that can self-destruct, erase data, or become inoperable after a trigger event or predetermined time period. These features are particularly valuable for sensitive applications in military, intelligence, and secure communications where preventing unauthorized access to technology or data is critical.
- Packaging and substrate technologies for transient electronics: Advanced packaging solutions and substrate materials specifically engineered for transient electronic applications. These include water-soluble encapsulants, biodegradable substrates, and environmentally responsive packaging that can protect the electronics during their functional lifetime while facilitating controlled degradation afterward. The materials are designed to maintain structural integrity during operation but decompose under specific triggers.
02 Thermal management in transient electronic devices
Advanced cooling and heat dissipation solutions for transient electronic systems. These technologies address the challenges of managing heat in temporary or short-lived electronic devices, including specialized heat sinks, thermal interface materials, and cooling mechanisms designed for devices with limited operational lifespans. Effective thermal management extends the functional period of transient electronics before their intended degradation.Expand Specific Solutions03 Power supply systems for transient electronics
Specialized power solutions designed for transient electronic applications, including temporary power sources, energy harvesting technologies, and dissolvable batteries. These systems provide the necessary energy for transient devices during their intended operational period while maintaining compatibility with the overall transient nature of the device. The power components are engineered to degrade along with the rest of the system.Expand Specific Solutions04 Security applications of transient electronics
Implementation of transient electronic systems for security and data protection purposes. These include self-destructing data storage, temporary authentication devices, and secure communications hardware that can be rendered inoperable after use. The technology enables sensitive information to be physically destroyed or made inaccessible after a predetermined time or trigger event, enhancing data security in various applications.Expand Specific Solutions05 Packaging and interconnect technologies for transient systems
Specialized packaging and interconnection methods for transient electronic devices that maintain functionality during the intended operational period while supporting controlled degradation afterward. These technologies include dissolvable encapsulants, temporary adhesives, and degradable connection interfaces that ensure reliable operation followed by complete system dissolution. Advanced packaging techniques protect sensitive components during use while enabling their eventual breakdown.Expand Specific Solutions
Key Patents in Biodegradable Electronic Components
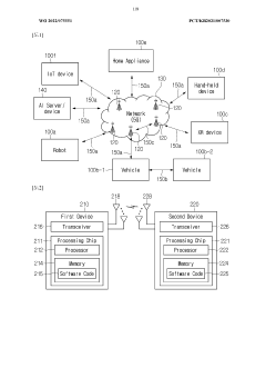
Localization of components in a component community
PatentWO2021141991A2
Innovation
- A method involving a coordinator transceiver that coordinates signal transmission among multiple transceivers to determine the location of a transceiver relative to others, using identification, time, and location data to establish a topology, facilitating real-time localization of transitory transceivers within facilities.
Method and apparatus for providing communication service in wireless communication system
PatentWO2022075551A1
Innovation
- The implementation of a method and device that enable temporary communication services in a wireless communication system by allowing user equipment to request and establish temporary connections based on ad-hoc subscriptions, which can be terminated upon service completion, using a network that supports these services, and involves components like access and mobility management functions and unified data management to facilitate these temporary services.
Environmental Impact Assessment of Transient Electronics
The environmental impact of transient electronics in temporary wireless communication systems represents a critical dimension of this emerging technology. As these devices are designed to dissolve or degrade after their functional lifetime, they offer significant potential for reducing electronic waste compared to conventional electronics. Studies indicate that transient electronics could reduce e-waste volume by up to 30% in specific application scenarios, particularly in short-term deployment contexts such as disaster response or temporary event coverage.
The biodegradability of transient electronic components varies considerably depending on material composition. Silicon-based substrates typically degrade within 2-3 weeks in aqueous environments, while magnesium conductors can dissolve in as little as 24-48 hours under optimal conditions. However, certain specialized components containing rare earth elements or complex polymers may require significantly longer degradation periods, sometimes extending to several months.
Life cycle assessment (LCA) studies of transient wireless communication devices reveal a complex environmental profile. While end-of-life impacts are substantially reduced compared to conventional electronics, the manufacturing phase often demonstrates higher energy intensity due to specialized fabrication processes. The carbon footprint of producing transient electronics currently exceeds traditional electronics by approximately 15-20% per unit, though this gap is narrowing as manufacturing techniques mature.
Water quality impacts present both opportunities and challenges. The dissolution of transient electronics in natural water bodies introduces trace metals and compounds that must be carefully evaluated. Recent research indicates that magnesium and silicon dissolution typically remains below harmful concentration thresholds in most aquatic environments. However, certain dopants and specialized materials used in advanced transient devices may pose localized risks that require further assessment.
Regulatory frameworks for transient electronics remain underdeveloped globally. The European Union has initiated preliminary guidelines under the expanded Waste Electrical and Electronic Equipment (WEEE) directive, while the United States EPA is currently developing assessment protocols specifically for degradable electronic materials. These emerging regulations will significantly influence design parameters and material selection for future transient communication systems.
Energy efficiency considerations reveal that transient wireless communication devices typically consume 10-25% more power than their conventional counterparts due to material constraints and design compromises. This higher operational energy demand partially offsets the end-of-life environmental benefits, particularly in applications requiring continuous operation over several days or weeks.
The biodegradability of transient electronic components varies considerably depending on material composition. Silicon-based substrates typically degrade within 2-3 weeks in aqueous environments, while magnesium conductors can dissolve in as little as 24-48 hours under optimal conditions. However, certain specialized components containing rare earth elements or complex polymers may require significantly longer degradation periods, sometimes extending to several months.
Life cycle assessment (LCA) studies of transient wireless communication devices reveal a complex environmental profile. While end-of-life impacts are substantially reduced compared to conventional electronics, the manufacturing phase often demonstrates higher energy intensity due to specialized fabrication processes. The carbon footprint of producing transient electronics currently exceeds traditional electronics by approximately 15-20% per unit, though this gap is narrowing as manufacturing techniques mature.
Water quality impacts present both opportunities and challenges. The dissolution of transient electronics in natural water bodies introduces trace metals and compounds that must be carefully evaluated. Recent research indicates that magnesium and silicon dissolution typically remains below harmful concentration thresholds in most aquatic environments. However, certain dopants and specialized materials used in advanced transient devices may pose localized risks that require further assessment.
Regulatory frameworks for transient electronics remain underdeveloped globally. The European Union has initiated preliminary guidelines under the expanded Waste Electrical and Electronic Equipment (WEEE) directive, while the United States EPA is currently developing assessment protocols specifically for degradable electronic materials. These emerging regulations will significantly influence design parameters and material selection for future transient communication systems.
Energy efficiency considerations reveal that transient wireless communication devices typically consume 10-25% more power than their conventional counterparts due to material constraints and design compromises. This higher operational energy demand partially offsets the end-of-life environmental benefits, particularly in applications requiring continuous operation over several days or weeks.
Security Implications of Temporary Communication Technologies
The security landscape of transient electronics in temporary wireless communication presents unique challenges and opportunities. As these technologies are designed to operate for limited periods before degrading, they introduce novel security paradigms that differ significantly from traditional persistent systems. The self-destructing nature of these devices creates an inherent security advantage by limiting the window of vulnerability, effectively reducing the timeframe during which malicious actors can attempt exploitation.
Temporary communication technologies implement several security mechanisms specifically tailored to their transient nature. These include time-bound encryption keys that degrade alongside the physical hardware, ephemeral authentication protocols that expire after predetermined intervals, and self-contained security envelopes that isolate sensitive data within dissolving substrates. The integration of physical degradation with cryptographic protocols creates a multi-layered security approach unique to transient systems.
Despite these advantages, significant vulnerabilities remain. Timing attacks represent a critical concern, where adversaries may attempt to extract information or extend device functionality beyond intended lifespans. The degradation process itself may be manipulated through environmental factors such as temperature or chemical exposure, potentially extending access windows. Additionally, data remnants may persist even after physical dissolution, creating forensic vulnerabilities that undermine the temporary nature of these communications.
The verification of complete dissolution presents another substantial challenge. Without reliable confirmation mechanisms, organizations cannot guarantee that sensitive information has been fully destroyed, potentially leading to security breaches long after the intended communication lifetime. This verification gap necessitates the development of attestation protocols specifically designed for transient systems.
Regulatory frameworks for temporary communication technologies remain underdeveloped, creating compliance uncertainties for organizations implementing these solutions. Questions regarding data retention requirements, audit capabilities, and legal admissibility of communications conducted through self-destructing channels remain largely unaddressed in current regulatory environments.
For military and intelligence applications, transient electronics offer compelling advantages in covert operations, providing communication capabilities that leave minimal evidence. However, these same characteristics raise concerns about accountability and oversight, particularly regarding the potential for abuse in surveillance operations or unauthorized communications that evade traditional monitoring systems.
The future security landscape for transient electronics will likely evolve toward zero-knowledge proof systems that can verify communication occurred without preserving the content, alongside advancements in tamper-evident degradation that provides cryptographic assurance of complete dissolution.
Temporary communication technologies implement several security mechanisms specifically tailored to their transient nature. These include time-bound encryption keys that degrade alongside the physical hardware, ephemeral authentication protocols that expire after predetermined intervals, and self-contained security envelopes that isolate sensitive data within dissolving substrates. The integration of physical degradation with cryptographic protocols creates a multi-layered security approach unique to transient systems.
Despite these advantages, significant vulnerabilities remain. Timing attacks represent a critical concern, where adversaries may attempt to extract information or extend device functionality beyond intended lifespans. The degradation process itself may be manipulated through environmental factors such as temperature or chemical exposure, potentially extending access windows. Additionally, data remnants may persist even after physical dissolution, creating forensic vulnerabilities that undermine the temporary nature of these communications.
The verification of complete dissolution presents another substantial challenge. Without reliable confirmation mechanisms, organizations cannot guarantee that sensitive information has been fully destroyed, potentially leading to security breaches long after the intended communication lifetime. This verification gap necessitates the development of attestation protocols specifically designed for transient systems.
Regulatory frameworks for temporary communication technologies remain underdeveloped, creating compliance uncertainties for organizations implementing these solutions. Questions regarding data retention requirements, audit capabilities, and legal admissibility of communications conducted through self-destructing channels remain largely unaddressed in current regulatory environments.
For military and intelligence applications, transient electronics offer compelling advantages in covert operations, providing communication capabilities that leave minimal evidence. However, these same characteristics raise concerns about accountability and oversight, particularly regarding the potential for abuse in surveillance operations or unauthorized communications that evade traditional monitoring systems.
The future security landscape for transient electronics will likely evolve toward zero-knowledge proof systems that can verify communication occurred without preserving the content, alongside advancements in tamper-evident degradation that provides cryptographic assurance of complete dissolution.
Unlock deeper insights with Patsnap Eureka Quick Research — get a full tech report to explore trends and direct your research. Try now!
Generate Your Research Report Instantly with AI Agent
Supercharge your innovation with Patsnap Eureka AI Agent Platform!







