Energy Harvesting in Transient Electronics Systems.
SEP 4, 20259 MIN READ
 Generate Your Research Report Instantly with AI Agent 
 Patsnap Eureka helps you evaluate technical feasibility & market potential. 
Energy Harvesting Background and Objectives
Energy harvesting has evolved significantly over the past decades, transforming from a niche research area into a critical enabling technology for modern electronic systems. Initially focused on large-scale applications like solar farms and wind turbines, energy harvesting has progressively miniaturized to accommodate microscale and nanoscale devices. This evolution has been driven by advancements in materials science, semiconductor technology, and the growing demand for autonomous electronic systems that can operate without traditional battery power sources.
The concept of transient electronics—devices designed to operate for a predetermined period before harmlessly dissolving or degrading—represents a revolutionary paradigm in electronic system design. These systems are particularly valuable in medical implants, environmental monitoring, and secure hardware applications where device retrieval is impractical or undesirable. However, the temporary nature of these devices presents unique power management challenges that conventional energy solutions cannot adequately address.
Energy harvesting technologies offer a promising solution by enabling transient electronic systems to generate power from ambient environmental sources. This approach eliminates the need for traditional batteries, which often contain toxic materials incompatible with the biodegradable or dissolvable nature of transient electronics. Common energy harvesting methods applicable to transient systems include photovoltaic conversion, piezoelectric generation, thermoelectric effects, and radio frequency energy capture.
The primary objective of energy harvesting in transient electronics is to develop self-sustaining power systems that match both the functional requirements and the intended operational lifespan of the device. This requires careful optimization of energy conversion efficiency, storage capabilities, and power management strategies within the constraints of biodegradable or dissolvable materials.
Recent technological breakthroughs have demonstrated the feasibility of creating transient energy harvesters using materials like magnesium, zinc oxide, and silicon that can dissolve in biological fluids or environmental conditions. These advances have opened new possibilities for applications in healthcare monitoring, environmental sensing, and secure military communications.
Looking forward, the field aims to achieve higher energy conversion efficiencies while maintaining compatibility with transient materials. Researchers are exploring hybrid energy harvesting approaches that combine multiple conversion mechanisms to maximize power output under varying environmental conditions. Additionally, there is significant interest in developing transient energy storage solutions that can buffer harvested energy and provide stable power delivery to the electronic system.
The convergence of energy harvesting technologies with transient electronics represents a promising frontier in sustainable electronics design, potentially enabling a new generation of environmentally friendly, self-powered devices that leave no electronic waste after their intended use period.
The concept of transient electronics—devices designed to operate for a predetermined period before harmlessly dissolving or degrading—represents a revolutionary paradigm in electronic system design. These systems are particularly valuable in medical implants, environmental monitoring, and secure hardware applications where device retrieval is impractical or undesirable. However, the temporary nature of these devices presents unique power management challenges that conventional energy solutions cannot adequately address.
Energy harvesting technologies offer a promising solution by enabling transient electronic systems to generate power from ambient environmental sources. This approach eliminates the need for traditional batteries, which often contain toxic materials incompatible with the biodegradable or dissolvable nature of transient electronics. Common energy harvesting methods applicable to transient systems include photovoltaic conversion, piezoelectric generation, thermoelectric effects, and radio frequency energy capture.
The primary objective of energy harvesting in transient electronics is to develop self-sustaining power systems that match both the functional requirements and the intended operational lifespan of the device. This requires careful optimization of energy conversion efficiency, storage capabilities, and power management strategies within the constraints of biodegradable or dissolvable materials.
Recent technological breakthroughs have demonstrated the feasibility of creating transient energy harvesters using materials like magnesium, zinc oxide, and silicon that can dissolve in biological fluids or environmental conditions. These advances have opened new possibilities for applications in healthcare monitoring, environmental sensing, and secure military communications.
Looking forward, the field aims to achieve higher energy conversion efficiencies while maintaining compatibility with transient materials. Researchers are exploring hybrid energy harvesting approaches that combine multiple conversion mechanisms to maximize power output under varying environmental conditions. Additionally, there is significant interest in developing transient energy storage solutions that can buffer harvested energy and provide stable power delivery to the electronic system.
The convergence of energy harvesting technologies with transient electronics represents a promising frontier in sustainable electronics design, potentially enabling a new generation of environmentally friendly, self-powered devices that leave no electronic waste after their intended use period.
Market Analysis for Transient Electronics
The transient electronics market is experiencing significant growth, driven by increasing demand for sustainable and environmentally friendly electronic solutions. Current market valuations indicate the global transient electronics sector reached approximately 45 million USD in 2022, with projections suggesting a compound annual growth rate (CAGR) of 18.7% through 2030. This remarkable growth trajectory is primarily fueled by expanding applications in medical implants, environmental monitoring systems, and consumer electronics.
Healthcare represents the largest market segment, accounting for nearly 38% of the total market share. The appeal of biodegradable implantable devices that eliminate secondary surgical removal procedures has garnered substantial interest from medical device manufacturers and healthcare providers. These devices offer reduced patient discomfort, lower infection risks, and decreased healthcare costs.
Environmental monitoring applications constitute the fastest-growing segment, with a projected CAGR of 22.3% through 2028. This growth is driven by increasing environmental concerns and regulatory pressures for sustainable electronic solutions. Transient environmental sensors deployed in natural settings can collect critical data and then harmlessly degrade, leaving no electronic waste behind.
Consumer electronics manufacturers are also exploring transient technology for temporary-use devices, particularly in event-specific applications and tourism. Market research indicates that 67% of surveyed consumers express willingness to pay premium prices for electronics with reduced environmental impact, suggesting strong market receptivity.
Regional analysis reveals North America currently leads the market with approximately 42% share, followed by Europe at 28% and Asia-Pacific at 24%. However, the Asia-Pacific region is expected to demonstrate the highest growth rate in the coming years due to increasing research investments and manufacturing capabilities in countries like China, South Korea, and Japan.
Key market challenges include high production costs, limited durability compared to conventional electronics, and technical constraints in energy harvesting efficiency. The average cost-per-unit for transient electronic components remains 2.8 times higher than traditional counterparts, presenting a significant barrier to mass-market adoption.
Despite these challenges, venture capital investment in transient electronics startups has increased by 156% between 2020 and 2023, indicating strong investor confidence in the technology's commercial potential. Strategic partnerships between academic institutions, technology startups, and established electronics manufacturers are accelerating commercialization efforts and expanding potential market applications.
Healthcare represents the largest market segment, accounting for nearly 38% of the total market share. The appeal of biodegradable implantable devices that eliminate secondary surgical removal procedures has garnered substantial interest from medical device manufacturers and healthcare providers. These devices offer reduced patient discomfort, lower infection risks, and decreased healthcare costs.
Environmental monitoring applications constitute the fastest-growing segment, with a projected CAGR of 22.3% through 2028. This growth is driven by increasing environmental concerns and regulatory pressures for sustainable electronic solutions. Transient environmental sensors deployed in natural settings can collect critical data and then harmlessly degrade, leaving no electronic waste behind.
Consumer electronics manufacturers are also exploring transient technology for temporary-use devices, particularly in event-specific applications and tourism. Market research indicates that 67% of surveyed consumers express willingness to pay premium prices for electronics with reduced environmental impact, suggesting strong market receptivity.
Regional analysis reveals North America currently leads the market with approximately 42% share, followed by Europe at 28% and Asia-Pacific at 24%. However, the Asia-Pacific region is expected to demonstrate the highest growth rate in the coming years due to increasing research investments and manufacturing capabilities in countries like China, South Korea, and Japan.
Key market challenges include high production costs, limited durability compared to conventional electronics, and technical constraints in energy harvesting efficiency. The average cost-per-unit for transient electronic components remains 2.8 times higher than traditional counterparts, presenting a significant barrier to mass-market adoption.
Despite these challenges, venture capital investment in transient electronics startups has increased by 156% between 2020 and 2023, indicating strong investor confidence in the technology's commercial potential. Strategic partnerships between academic institutions, technology startups, and established electronics manufacturers are accelerating commercialization efforts and expanding potential market applications.
Technical Challenges in Energy Harvesting
Energy harvesting in transient electronics systems faces several significant technical challenges that currently limit widespread implementation. The fundamental issue lies in the mismatch between energy availability and system requirements. Ambient energy sources such as solar, thermal, RF, and vibration are inherently intermittent and low-power, typically generating only microwatts to milliwatts, while electronic systems often require stable power delivery at higher levels.
The efficiency of energy conversion represents another major hurdle. Current harvesting technologies demonstrate conversion efficiencies ranging from 5-20% for piezoelectric systems to 15-30% for photovoltaic cells in real-world conditions, with substantial energy losses during the conversion process. This inefficiency becomes particularly problematic in size-constrained transient electronics where harvesting components must remain minimal.
Energy storage integration presents complex trade-offs between capacity, charging speed, and physical dimensions. Traditional batteries offer high capacity but poor charging characteristics for intermittent energy sources, while supercapacitors provide rapid charging but limited energy density. Neither solution fully addresses the needs of transient systems that require both quick energy accumulation and sufficient operational reserves.
The unpredictable nature of ambient energy sources creates significant design challenges. Environmental fluctuations can cause power availability to vary by orders of magnitude within short timeframes, necessitating sophisticated power management circuits that can operate across wide voltage and current ranges while consuming minimal energy themselves.
Miniaturization constraints further complicate energy harvesting implementation. As transient electronics move toward microscale and even nanoscale dimensions, conventional harvesting architectures become increasingly difficult to scale down while maintaining performance. The surface area available for energy collection diminishes dramatically, while integration complexity increases.
Material compatibility issues arise when combining harvesting technologies with biodegradable or environmentally responsive substrates. Many efficient energy harvesting materials contain non-degradable components or require processing conditions incompatible with transient electronics fabrication methods, creating a significant materials science challenge.
System-level power management represents perhaps the most complex challenge. Transient systems must intelligently allocate limited energy resources, implementing sophisticated sleep modes, dynamic voltage scaling, and task scheduling algorithms. These systems must also handle cold-start conditions where initial energy must be accumulated before control circuits can begin operation, creating a bootstrapping problem that requires specialized circuit design approaches.
The efficiency of energy conversion represents another major hurdle. Current harvesting technologies demonstrate conversion efficiencies ranging from 5-20% for piezoelectric systems to 15-30% for photovoltaic cells in real-world conditions, with substantial energy losses during the conversion process. This inefficiency becomes particularly problematic in size-constrained transient electronics where harvesting components must remain minimal.
Energy storage integration presents complex trade-offs between capacity, charging speed, and physical dimensions. Traditional batteries offer high capacity but poor charging characteristics for intermittent energy sources, while supercapacitors provide rapid charging but limited energy density. Neither solution fully addresses the needs of transient systems that require both quick energy accumulation and sufficient operational reserves.
The unpredictable nature of ambient energy sources creates significant design challenges. Environmental fluctuations can cause power availability to vary by orders of magnitude within short timeframes, necessitating sophisticated power management circuits that can operate across wide voltage and current ranges while consuming minimal energy themselves.
Miniaturization constraints further complicate energy harvesting implementation. As transient electronics move toward microscale and even nanoscale dimensions, conventional harvesting architectures become increasingly difficult to scale down while maintaining performance. The surface area available for energy collection diminishes dramatically, while integration complexity increases.
Material compatibility issues arise when combining harvesting technologies with biodegradable or environmentally responsive substrates. Many efficient energy harvesting materials contain non-degradable components or require processing conditions incompatible with transient electronics fabrication methods, creating a significant materials science challenge.
System-level power management represents perhaps the most complex challenge. Transient systems must intelligently allocate limited energy resources, implementing sophisticated sleep modes, dynamic voltage scaling, and task scheduling algorithms. These systems must also handle cold-start conditions where initial energy must be accumulated before control circuits can begin operation, creating a bootstrapping problem that requires specialized circuit design approaches.
Current Energy Harvesting Solutions
01 Mechanical energy harvesting systems
Mechanical energy harvesting systems convert kinetic energy from motion, vibration, or mechanical stress into electrical energy. These systems typically use piezoelectric materials, electromagnetic induction, or triboelectric generators to capture energy from everyday movements, machinery vibrations, or natural forces like wind and waves. The harvested energy can be stored in batteries or capacitors for later use, providing a sustainable power source for various applications including sensors and small electronic devices.- Mechanical energy harvesting systems: Mechanical energy harvesting systems convert kinetic energy from motion, vibration, or mechanical stress into electrical power. These systems typically use piezoelectric materials, electromagnetic induction, or triboelectric generators to capture energy from everyday movements, machinery vibrations, or natural forces like wind and waves. The harvested energy can be stored in batteries or capacitors for immediate use or later consumption, providing sustainable power for various applications including sensors and small electronic devices.
 - Solar energy harvesting technologies: Solar energy harvesting technologies capture and convert sunlight into usable electrical power through photovoltaic cells or solar thermal systems. These technologies include traditional silicon-based solar panels, thin-film solar cells, and emerging technologies like organic photovoltaics. Advanced solar harvesting systems may incorporate tracking mechanisms to follow the sun's path, concentration optics to increase efficiency, or hybrid designs that combine solar collection with other energy harvesting methods to maximize power generation in various environmental conditions.
 - Thermal energy harvesting devices: Thermal energy harvesting devices convert temperature differences into electrical power using thermoelectric generators or other heat-to-electricity conversion mechanisms. These systems can capture waste heat from industrial processes, vehicle engines, electronic components, or natural temperature gradients. The technology typically employs semiconductor materials with high Seebeck coefficients to generate voltage when subjected to temperature differentials. Applications range from powering wearable devices using body heat to recovering industrial waste heat for improved energy efficiency.
 - RF and electromagnetic energy harvesting: Radio frequency (RF) and electromagnetic energy harvesting systems capture ambient electromagnetic radiation from sources such as radio towers, Wi-Fi signals, and cellular networks, converting it into usable electrical power. These systems typically employ specialized antennas and rectifier circuits to capture and convert the electromagnetic waves. The technology enables wireless powering of low-energy devices in environments with sufficient RF energy density, potentially eliminating the need for batteries in certain IoT applications and sensors deployed in urban or technology-rich environments.
 - Hybrid and integrated energy harvesting solutions: Hybrid and integrated energy harvesting solutions combine multiple energy harvesting technologies into unified systems to overcome the limitations of single-source harvesting. These systems may integrate solar, thermal, mechanical, and electromagnetic harvesting methods to ensure continuous power generation under varying environmental conditions. Advanced hybrid solutions often incorporate intelligent power management systems that optimize energy collection, storage, and distribution based on available energy sources and consumption needs, making them particularly suitable for autonomous sensors, IoT devices, and remote monitoring applications.
 
02 Solar energy harvesting technologies
Solar energy harvesting technologies capture and convert sunlight into usable electrical power through photovoltaic cells or solar thermal systems. These technologies include traditional silicon-based solar panels, thin-film solar cells, and emerging technologies like organic photovoltaics. Advanced solar harvesting systems may incorporate tracking mechanisms to follow the sun's path, concentration optics to increase efficiency, or hybrid designs that combine solar collection with other energy harvesting methods for improved overall performance.Expand Specific Solutions03 Thermal energy harvesting devices
Thermal energy harvesting devices convert temperature differences into electrical energy using thermoelectric generators or pyroelectric materials. These systems can capture waste heat from industrial processes, vehicle engines, electronic components, or natural temperature gradients. The technology relies on the Seebeck effect, where a temperature differential across certain materials generates an electrical voltage. Applications range from powering wireless sensors in industrial settings to self-powered consumer electronics that utilize body heat or ambient temperature variations.Expand Specific Solutions04 RF and electromagnetic energy harvesting
Radio frequency (RF) and electromagnetic energy harvesting systems capture ambient electromagnetic radiation from sources such as radio towers, Wi-Fi routers, and cellular networks, converting it into usable electrical power. These systems typically employ specialized antennas and rectifier circuits to collect and convert the electromagnetic waves. The technology enables battery-free operation of low-power electronic devices in environments with sufficient RF energy density, supporting applications like wireless sensors, RFID tags, and IoT devices that can operate perpetually without battery replacement.Expand Specific Solutions05 Integrated and hybrid energy harvesting solutions
Integrated and hybrid energy harvesting solutions combine multiple energy collection methods into unified systems to overcome the limitations of single-source harvesting. These systems may integrate solar, thermal, mechanical, and electromagnetic harvesting technologies to ensure continuous power generation under varying environmental conditions. Advanced designs incorporate intelligent power management circuits that optimize energy collection, storage, and distribution based on available energy sources and power requirements. Such hybrid approaches significantly improve reliability and efficiency for applications ranging from remote sensors to wearable electronics.Expand Specific Solutions
Key Industry Players and Competitors
The energy harvesting market in transient electronics systems is in its early growth phase, characterized by increasing R&D investments and emerging commercial applications. The global market is projected to expand significantly as IoT and autonomous sensor networks proliferate. Leading semiconductor companies like STMicroelectronics, Samsung Electronics, and TSMC are driving technological innovation, while specialized players such as e-peas SA focus exclusively on ultra-low-power energy harvesting solutions. Research institutions including Nanyang Technological University and University of Florida collaborate with industry leaders like Bosch and Honeywell to advance the technology. Current developments focus on improving efficiency, miniaturization, and integration capabilities, with the technology progressing from laboratory demonstrations toward commercial viability in various applications.
Stmicroelectronics Srl
Technical Solution:  STMicroelectronics在能量收集瞬态电子系统领域开发了全面的技术解决方案,专注于超低功耗微控制器与能量收集接口的集成。其核心技术包括STNRG系列能量收集控制器,能够从多种环境能源(太阳能、热能、振动能)中高效提取能量。该公司的技术方案采用专利的MPPT(最大功率点跟踪)算法,可实现高达94%的能量转换效率,同时集成了先进的电源管理系统,能在微瓦级功耗下运行。STMicroelectronics还开发了专用的储能管理电路,可智能调节从超级电容器或小型电池的充放电过程,确保系统在能源波动期间的可靠运行。其EnFilm™微型固态电池技术专为瞬态电子系统设计,提供了高能量密度和超过1000次的充放电循环寿命。
优势:技术成熟度高,拥有从能量收集到存储的完整解决方案链;产品已实现商业化,适用于多种应用场景;与多家系统集成商建立了合作生态系统。劣势:相比专业能量收集公司,其解决方案通用性较强,在特定极端环境下的定制化程度较低;在某些新兴能量收集技术(如RF能量收集)方面的布局相对滞后。
Samsung Electronics Co., Ltd.
Technical Solution:  Samsung Electronics在能量收集瞬态电子系统领域开发了创新的集成解决方案,专注于物联网(IoT)和可穿戴设备应用。其技术方案核心是基于14nm FinFET工艺的超低功耗处理器架构,集成了多模式能量收集接口电路。Samsung的系统能够同时从环境光、热差和机械振动中收集能量,通过专有的自适应功率管理算法实现能量最优分配。该公司开发的"PowerWatch"技术能够在能量不足时智能切换系统状态,将关键数据存储在非易失性存储器中,确保在能量恢复后系统能够从中断点继续运行。Samsung还研发了纳米级压电材料和柔性太阳能电池,能够集成到各种形状和尺寸的设备中,提高能量收集效率。其瞬态电子系统采用分层架构设计,允许在极低能量条件下维持基本功能,同时在能量充足时扩展系统功能。
优势:拥有从材料研发到系统集成的全产业链能力;在消费电子领域的广泛应用经验使其解决方案具有高度实用性;强大的半导体制造能力确保技术可快速产业化。劣势:技术方案主要针对消费电子优化,在工业和极端环境应用方面的适应性有限;系统复杂度较高,在微型设备上的集成面临挑战。
Core Patents and Technical Literature
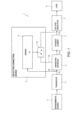
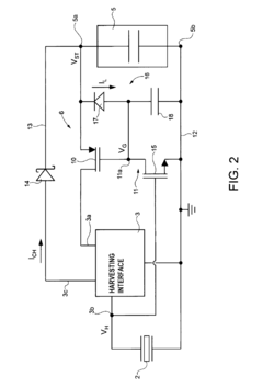
Energy harvesting system with selectively activatable harvesting interface, and method of energy harvesting 
PatentActiveUS20140239917A1
 Innovation 
- An energy-harvesting system with a selective connection device that connects and disconnects the harvesting interface to the storage element based on the activation threshold of the harvesting electrical signal, preventing unnecessary energy absorption during periods of low or no environmental energy input.
 
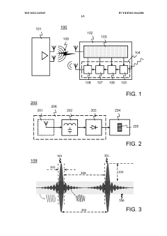
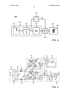
Energy harvesting system 
PatentWO2021245039A1
 Innovation 
- An energy harvesting system with a sensing circuit and controlled switch circuit that decouples the power extraction circuit from the storage device during insufficient power levels, preventing leakage and optimizing power harvesting efficiency by managing the switch's resistance states.
 
Sustainability Impact Assessment
The sustainability impact of energy harvesting in transient electronics systems extends far beyond mere technological advancement, representing a paradigm shift in how we approach electronic waste and resource consumption. By enabling electronics to operate without traditional batteries or with significantly reduced battery requirements, these systems dramatically decrease the environmental footprint associated with battery production, disposal, and replacement cycles. The elimination or reduction of batteries means fewer toxic materials entering landfills, reduced mining activities for battery materials, and decreased energy consumption in manufacturing processes.
Energy harvesting transient electronics contribute substantially to circular economy principles by extending product lifecycles and reducing material throughput. These systems can be designed to degrade harmlessly at end-of-life or be easily disassembled for material recovery, addressing the growing electronic waste crisis that currently sees millions of tons of e-waste generated annually worldwide. The environmental benefits are particularly pronounced in applications like environmental monitoring, where sensors deployed in natural settings can operate without requiring battery replacement or retrieval.
From a carbon footprint perspective, the implementation of energy harvesting in transient electronics offers significant advantages. The reduced need for battery replacement translates directly into fewer transportation emissions associated with maintenance activities. This is especially impactful in remote sensing applications or IoT deployments where devices may be distributed across large geographical areas. Additionally, the energy autonomy provided by harvesting techniques means less reliance on grid electricity, potentially reducing fossil fuel consumption depending on the local energy mix.
The water footprint of electronics manufacturing is also positively affected by these technologies. Traditional battery production is water-intensive, and by minimizing battery requirements, energy harvesting systems help conserve this vital resource. Furthermore, the potential for biodegradable substrates and components in transient electronics means less contamination of water systems with electronic waste leachate.
In terms of resource efficiency, energy harvesting transient electronics represent a significant advancement. These systems maximize the utility derived from materials used in their construction by extending operational lifetimes without maintenance. They also enable new deployment scenarios that were previously impractical due to battery limitations, potentially reducing the total number of devices needed for certain applications and further conserving resources.
Energy harvesting transient electronics contribute substantially to circular economy principles by extending product lifecycles and reducing material throughput. These systems can be designed to degrade harmlessly at end-of-life or be easily disassembled for material recovery, addressing the growing electronic waste crisis that currently sees millions of tons of e-waste generated annually worldwide. The environmental benefits are particularly pronounced in applications like environmental monitoring, where sensors deployed in natural settings can operate without requiring battery replacement or retrieval.
From a carbon footprint perspective, the implementation of energy harvesting in transient electronics offers significant advantages. The reduced need for battery replacement translates directly into fewer transportation emissions associated with maintenance activities. This is especially impactful in remote sensing applications or IoT deployments where devices may be distributed across large geographical areas. Additionally, the energy autonomy provided by harvesting techniques means less reliance on grid electricity, potentially reducing fossil fuel consumption depending on the local energy mix.
The water footprint of electronics manufacturing is also positively affected by these technologies. Traditional battery production is water-intensive, and by minimizing battery requirements, energy harvesting systems help conserve this vital resource. Furthermore, the potential for biodegradable substrates and components in transient electronics means less contamination of water systems with electronic waste leachate.
In terms of resource efficiency, energy harvesting transient electronics represent a significant advancement. These systems maximize the utility derived from materials used in their construction by extending operational lifetimes without maintenance. They also enable new deployment scenarios that were previously impractical due to battery limitations, potentially reducing the total number of devices needed for certain applications and further conserving resources.
Integration with IoT Ecosystems
The integration of Energy Harvesting Transient Electronics Systems (EHTES) with IoT ecosystems represents a transformative convergence that addresses critical power management challenges while enhancing the capabilities of distributed sensing networks. As IoT deployments continue to expand exponentially—projected to reach 75 billion connected devices by 2025—the integration of self-powered transient electronics offers a sustainable solution to the power constraints that have traditionally limited IoT scalability.
EHTES technologies complement IoT architectures by enabling edge devices to operate autonomously in energy-constrained environments. This integration facilitates the deployment of maintenance-free sensors in remote or inaccessible locations, dramatically expanding the potential application landscape for IoT solutions. The symbiotic relationship between these technologies creates a framework where devices can harvest ambient energy, process data locally, and transmit only essential information, thereby optimizing bandwidth usage and reducing cloud computing demands.
Protocol standardization efforts are emerging to facilitate seamless integration between energy harvesting systems and existing IoT frameworks. Notable among these are the EnOcean Alliance protocols and the IEEE 802.15.4 standard adaptations, which incorporate specific provisions for energy-harvesting nodes. These standards enable interoperability between transient electronics and conventional IoT devices, creating heterogeneous networks that leverage the strengths of both technologies.
From an architectural perspective, the integration manifests in three distinct tiers: energy-autonomous edge devices, low-power gateway systems, and cloud-based analytics platforms. Edge devices equipped with energy harvesting capabilities collect environmental data while operating intermittently based on available energy. Gateway systems, often powered by larger-scale harvesting technologies, aggregate data from multiple transient nodes and handle communication with cloud infrastructure. The cloud tier provides advanced analytics capabilities, adapting to the irregular data streams characteristic of transient systems.
Several commercial implementations demonstrate the viability of this integration. Companies like EnOcean, Cypress Semiconductor, and Texas Instruments have developed specialized microcontrollers and communication modules designed specifically for energy-harvesting IoT applications. These solutions incorporate power management circuits that can efficiently utilize harvested energy while maintaining compatibility with standard IoT communication protocols such as BLE, Zigbee, and LoRaWAN.
The integration challenges primarily revolve around managing the inherent intermittency of energy-harvesting systems within IoT networks that typically expect consistent device availability. Emerging solutions include adaptive duty cycling algorithms, context-aware computing approaches, and specialized middleware that can accommodate the variable power profiles of transient devices. These innovations are gradually bridging the gap between conventional IoT expectations and the operational realities of energy-harvesting systems.
EHTES technologies complement IoT architectures by enabling edge devices to operate autonomously in energy-constrained environments. This integration facilitates the deployment of maintenance-free sensors in remote or inaccessible locations, dramatically expanding the potential application landscape for IoT solutions. The symbiotic relationship between these technologies creates a framework where devices can harvest ambient energy, process data locally, and transmit only essential information, thereby optimizing bandwidth usage and reducing cloud computing demands.
Protocol standardization efforts are emerging to facilitate seamless integration between energy harvesting systems and existing IoT frameworks. Notable among these are the EnOcean Alliance protocols and the IEEE 802.15.4 standard adaptations, which incorporate specific provisions for energy-harvesting nodes. These standards enable interoperability between transient electronics and conventional IoT devices, creating heterogeneous networks that leverage the strengths of both technologies.
From an architectural perspective, the integration manifests in three distinct tiers: energy-autonomous edge devices, low-power gateway systems, and cloud-based analytics platforms. Edge devices equipped with energy harvesting capabilities collect environmental data while operating intermittently based on available energy. Gateway systems, often powered by larger-scale harvesting technologies, aggregate data from multiple transient nodes and handle communication with cloud infrastructure. The cloud tier provides advanced analytics capabilities, adapting to the irregular data streams characteristic of transient systems.
Several commercial implementations demonstrate the viability of this integration. Companies like EnOcean, Cypress Semiconductor, and Texas Instruments have developed specialized microcontrollers and communication modules designed specifically for energy-harvesting IoT applications. These solutions incorporate power management circuits that can efficiently utilize harvested energy while maintaining compatibility with standard IoT communication protocols such as BLE, Zigbee, and LoRaWAN.
The integration challenges primarily revolve around managing the inherent intermittency of energy-harvesting systems within IoT networks that typically expect consistent device availability. Emerging solutions include adaptive duty cycling algorithms, context-aware computing approaches, and specialized middleware that can accommodate the variable power profiles of transient devices. These innovations are gradually bridging the gap between conventional IoT expectations and the operational realities of energy-harvesting systems.
 Unlock deeper insights with  Patsnap Eureka Quick Research — get a full tech report to explore trends and direct your research. Try now! 
 Generate Your Research Report Instantly with AI Agent 
 Supercharge your innovation with Patsnap Eureka AI Agent Platform! 







