Transient Electronics in Water Quality Assessment.
SEP 4, 202510 MIN READ
 Generate Your Research Report Instantly with AI Agent 
 Patsnap Eureka helps you evaluate technical feasibility & market potential. 
Transient Electronics Background and Objectives
Transient electronics represents a revolutionary paradigm in electronic device design, characterized by the ability to dissolve, disintegrate, or degrade in a controlled manner after serving their intended functions. This emerging field has evolved significantly over the past decade, transitioning from theoretical concepts to practical applications across various domains. The integration of transient electronics in water quality assessment marks a particularly promising frontier, addressing critical environmental monitoring needs while minimizing ecological impact.
The evolution of transient electronics began with biodegradable polymers and water-soluble materials in the early 2000s, progressing to more sophisticated systems incorporating silicon-based semiconductors, metal conductors, and dielectric materials designed for controlled dissolution. Recent advancements have focused on enhancing functionality, reliability, and dissolution kinetics, enabling more precise temporal control over device lifetime and performance.
In the context of water quality assessment, traditional monitoring approaches face significant limitations, including high maintenance requirements, persistent environmental presence, and challenges in accessing remote or sensitive aquatic environments. Transient electronics offers a compelling alternative by providing temporary, targeted monitoring capabilities that leave minimal environmental footprint after their useful life.
The primary technical objectives for transient electronics in water quality assessment encompass several dimensions. First, developing sensors capable of detecting multiple water quality parameters simultaneously, including pH, dissolved oxygen, heavy metals, and organic pollutants, with sensitivity comparable to conventional persistent sensors. Second, engineering precise dissolution triggers and kinetics that align with specific monitoring timeframes, ranging from hours to months depending on application requirements.
Third, creating energy harvesting or storage solutions compatible with transient architectures to enable autonomous operation in aquatic environments. Fourth, designing biocompatible and environmentally benign materials that ensure zero negative impact on aquatic ecosystems during both operation and dissolution phases. Finally, developing wireless communication capabilities to transmit collected data before device dissolution.
The technological trajectory suggests convergence toward fully integrated transient sensing platforms that combine multiple sensing modalities, wireless communication, and programmable dissolution profiles. This evolution aims to enable distributed, large-scale water quality monitoring networks that can be deployed without concerns about retrieval or long-term environmental impact.
As water quality challenges intensify globally due to industrial activities, climate change, and population growth, the need for innovative monitoring solutions becomes increasingly critical. Transient electronics represents not merely an incremental improvement but a paradigm shift in how we approach environmental sensing, offering the potential to revolutionize water quality assessment through temporary, targeted, and environmentally harmonious monitoring solutions.
The evolution of transient electronics began with biodegradable polymers and water-soluble materials in the early 2000s, progressing to more sophisticated systems incorporating silicon-based semiconductors, metal conductors, and dielectric materials designed for controlled dissolution. Recent advancements have focused on enhancing functionality, reliability, and dissolution kinetics, enabling more precise temporal control over device lifetime and performance.
In the context of water quality assessment, traditional monitoring approaches face significant limitations, including high maintenance requirements, persistent environmental presence, and challenges in accessing remote or sensitive aquatic environments. Transient electronics offers a compelling alternative by providing temporary, targeted monitoring capabilities that leave minimal environmental footprint after their useful life.
The primary technical objectives for transient electronics in water quality assessment encompass several dimensions. First, developing sensors capable of detecting multiple water quality parameters simultaneously, including pH, dissolved oxygen, heavy metals, and organic pollutants, with sensitivity comparable to conventional persistent sensors. Second, engineering precise dissolution triggers and kinetics that align with specific monitoring timeframes, ranging from hours to months depending on application requirements.
Third, creating energy harvesting or storage solutions compatible with transient architectures to enable autonomous operation in aquatic environments. Fourth, designing biocompatible and environmentally benign materials that ensure zero negative impact on aquatic ecosystems during both operation and dissolution phases. Finally, developing wireless communication capabilities to transmit collected data before device dissolution.
The technological trajectory suggests convergence toward fully integrated transient sensing platforms that combine multiple sensing modalities, wireless communication, and programmable dissolution profiles. This evolution aims to enable distributed, large-scale water quality monitoring networks that can be deployed without concerns about retrieval or long-term environmental impact.
As water quality challenges intensify globally due to industrial activities, climate change, and population growth, the need for innovative monitoring solutions becomes increasingly critical. Transient electronics represents not merely an incremental improvement but a paradigm shift in how we approach environmental sensing, offering the potential to revolutionize water quality assessment through temporary, targeted, and environmentally harmonious monitoring solutions.
Water Quality Monitoring Market Analysis
The global water quality monitoring market is experiencing significant growth, driven by increasing concerns over water pollution and the need for reliable assessment methods. Currently valued at approximately 4.5 billion USD, the market is projected to reach 6.7 billion USD by 2027, representing a compound annual growth rate of 7.3%. This expansion is primarily fueled by stringent environmental regulations, growing public awareness about water safety, and technological advancements in monitoring systems.
Transient electronics represent an emerging segment within this market, offering innovative solutions for water quality assessment. These biodegradable electronic systems can be deployed in aquatic environments to collect data and then harmlessly dissolve, eliminating retrieval needs and reducing environmental impact. The market potential for such technologies is substantial, with early estimates suggesting they could capture 5-10% of the water quality monitoring market within the next decade.
Geographically, North America currently dominates the water quality monitoring market with approximately 35% market share, followed by Europe at 28% and Asia-Pacific at 25%. However, the Asia-Pacific region is experiencing the fastest growth rate at 9.2% annually, driven by rapid industrialization, urbanization, and increasing government initiatives to address water pollution challenges in countries like China and India.
By application segment, the market is divided into industrial, municipal, and environmental monitoring sectors. The industrial segment currently holds the largest share at 42%, primarily due to regulatory compliance requirements for industries discharging wastewater. The environmental monitoring segment, where transient electronics show particular promise, is growing at the highest rate of 8.5% annually.
Key market drivers include increasing water pollution levels worldwide, growing health concerns related to waterborne diseases, and the rising adoption of smart water management technologies. The COVID-19 pandemic has further accelerated market growth by highlighting the importance of water safety and hygiene. Additionally, the integration of IoT and AI technologies with water monitoring systems is creating new market opportunities.
Challenges facing market expansion include high implementation costs, technical limitations in remote monitoring capabilities, and the need for skilled personnel to operate advanced monitoring systems. For transient electronics specifically, challenges include ensuring sufficient operational lifespan before degradation and maintaining measurement accuracy under varying environmental conditions.
The competitive landscape features established players like Thermo Fisher Scientific, Danaher Corporation, and Xylem Inc., alongside emerging startups focused on innovative monitoring technologies. Strategic partnerships between technology providers and water management authorities are becoming increasingly common, creating new avenues for market penetration of novel technologies like transient electronics.
Transient electronics represent an emerging segment within this market, offering innovative solutions for water quality assessment. These biodegradable electronic systems can be deployed in aquatic environments to collect data and then harmlessly dissolve, eliminating retrieval needs and reducing environmental impact. The market potential for such technologies is substantial, with early estimates suggesting they could capture 5-10% of the water quality monitoring market within the next decade.
Geographically, North America currently dominates the water quality monitoring market with approximately 35% market share, followed by Europe at 28% and Asia-Pacific at 25%. However, the Asia-Pacific region is experiencing the fastest growth rate at 9.2% annually, driven by rapid industrialization, urbanization, and increasing government initiatives to address water pollution challenges in countries like China and India.
By application segment, the market is divided into industrial, municipal, and environmental monitoring sectors. The industrial segment currently holds the largest share at 42%, primarily due to regulatory compliance requirements for industries discharging wastewater. The environmental monitoring segment, where transient electronics show particular promise, is growing at the highest rate of 8.5% annually.
Key market drivers include increasing water pollution levels worldwide, growing health concerns related to waterborne diseases, and the rising adoption of smart water management technologies. The COVID-19 pandemic has further accelerated market growth by highlighting the importance of water safety and hygiene. Additionally, the integration of IoT and AI technologies with water monitoring systems is creating new market opportunities.
Challenges facing market expansion include high implementation costs, technical limitations in remote monitoring capabilities, and the need for skilled personnel to operate advanced monitoring systems. For transient electronics specifically, challenges include ensuring sufficient operational lifespan before degradation and maintaining measurement accuracy under varying environmental conditions.
The competitive landscape features established players like Thermo Fisher Scientific, Danaher Corporation, and Xylem Inc., alongside emerging startups focused on innovative monitoring technologies. Strategic partnerships between technology providers and water management authorities are becoming increasingly common, creating new avenues for market penetration of novel technologies like transient electronics.
Current Challenges in Transient Electronics for Aquatic Sensing
Despite significant advancements in transient electronics for aquatic sensing, several critical challenges continue to impede widespread implementation in water quality assessment applications. The primary obstacle remains the controlled degradation timing of these devices. Current transient electronics often degrade either too quickly to collect meaningful data or too slowly to fulfill their environmentally benign purpose, creating a fundamental paradox in design requirements.
Material stability in aquatic environments presents another significant challenge. The unpredictable nature of water bodies—varying in temperature, pH, salinity, and biological activity—creates highly variable degradation conditions that are difficult to account for in material design. This variability makes it challenging to develop sensors with predictable lifespans across diverse aquatic environments.
Power supply limitations severely constrain operational capabilities. Most transient electronic systems rely on small batteries or energy harvesting techniques that provide insufficient power for continuous, long-term monitoring. The power components themselves often represent the least biodegradable elements of these systems, creating an environmental contradiction within supposedly eco-friendly devices.
Sensor sensitivity and calibration issues are particularly problematic in aquatic applications. As materials begin their degradation process, sensor accuracy typically diminishes, leading to increasingly unreliable data before complete dissolution. This degradation curve remains poorly characterized across different sensing modalities and environmental conditions.
Data transmission represents another substantial hurdle. Underwater communication is notoriously difficult due to signal attenuation in water, yet transient electronics must reliably transmit collected data before degradation. Current wireless transmission technologies consume significant power and often require non-transient components, compromising the overall degradability of the system.
Encapsulation technologies present a paradoxical challenge—they must protect sensitive electronics from premature water exposure while being designed to eventually fail in a controlled manner. Current encapsulation materials either provide insufficient protection or degrade unpredictably, leading to premature system failure or extended environmental persistence.
Manufacturing scalability remains limited, with most transient electronic systems produced in laboratory settings using techniques incompatible with mass production. The precision required for fabricating these delicate systems, combined with the specialized materials involved, creates significant barriers to commercial viability and widespread deployment for water quality monitoring applications.
Material stability in aquatic environments presents another significant challenge. The unpredictable nature of water bodies—varying in temperature, pH, salinity, and biological activity—creates highly variable degradation conditions that are difficult to account for in material design. This variability makes it challenging to develop sensors with predictable lifespans across diverse aquatic environments.
Power supply limitations severely constrain operational capabilities. Most transient electronic systems rely on small batteries or energy harvesting techniques that provide insufficient power for continuous, long-term monitoring. The power components themselves often represent the least biodegradable elements of these systems, creating an environmental contradiction within supposedly eco-friendly devices.
Sensor sensitivity and calibration issues are particularly problematic in aquatic applications. As materials begin their degradation process, sensor accuracy typically diminishes, leading to increasingly unreliable data before complete dissolution. This degradation curve remains poorly characterized across different sensing modalities and environmental conditions.
Data transmission represents another substantial hurdle. Underwater communication is notoriously difficult due to signal attenuation in water, yet transient electronics must reliably transmit collected data before degradation. Current wireless transmission technologies consume significant power and often require non-transient components, compromising the overall degradability of the system.
Encapsulation technologies present a paradoxical challenge—they must protect sensitive electronics from premature water exposure while being designed to eventually fail in a controlled manner. Current encapsulation materials either provide insufficient protection or degrade unpredictably, leading to premature system failure or extended environmental persistence.
Manufacturing scalability remains limited, with most transient electronic systems produced in laboratory settings using techniques incompatible with mass production. The precision required for fabricating these delicate systems, combined with the specialized materials involved, creates significant barriers to commercial viability and widespread deployment for water quality monitoring applications.
Current Transient Sensor Solutions for Water Monitoring
01 Biodegradable and dissolvable electronic systems
Transient electronics that are designed to dissolve or degrade after a predetermined period or under specific environmental conditions. These systems utilize biodegradable substrates and water-soluble materials that can safely break down in the body or environment. Applications include temporary medical implants, environmental sensors, and disposable consumer electronics that reduce electronic waste.- Biodegradable and dissolvable electronic components: Transient electronics that are designed to dissolve or degrade after a predetermined period or under specific environmental conditions. These electronics use biodegradable substrates and water-soluble materials that can safely break down in the body or environment. This technology is particularly valuable for medical implants that don't require permanent placement and environmental sensors that eliminate the need for retrieval.
 - Thermal management systems for electronic devices: Advanced cooling solutions for transient electronic systems that manage heat dissipation during operation. These systems incorporate innovative thermal interfaces, heat sinks, and cooling mechanisms to prevent overheating during peak performance periods while maintaining the transient nature of the device. The thermal management approaches are designed to work with temporary or short-duration electronic applications without compromising the device's ability to degrade when needed.
 - Power management for temporary electronic systems: Specialized power delivery and management systems for transient electronics that provide efficient energy use during the operational lifetime of the device. These systems include temporary power sources, energy harvesting mechanisms, and power conditioning circuits designed for short-term use. The power management solutions ensure reliable operation during the intended functional period while supporting the overall transient nature of the electronic system.
 - Security features in transient electronic systems: Security mechanisms specifically designed for transient electronics that protect sensitive data and functionality during the operational period while ensuring complete data destruction when the device degrades. These features include self-destructing memory, encrypted storage that becomes inaccessible upon triggering conditions, and authentication systems that prevent unauthorized access to temporary devices. The security approaches are particularly valuable for military applications and sensitive data handling.
 - Triggering mechanisms for controlled degradation: Systems and methods that control when and how transient electronics begin their degradation process. These mechanisms include environmental triggers (moisture, temperature, pH), remote activation signals, timing circuits, and mechanical stress inducers that initiate the breakdown of the device. The controlled triggering allows for precise timing of when the electronic components will begin to lose functionality or physically dissolve, enabling applications where the lifespan of the device needs to be carefully managed.
 
02 Thermal management in transient electronic devices
Advanced cooling and heat dissipation techniques specifically designed for transient electronic systems. These solutions address the unique thermal challenges of temporary electronic devices, including flexible heat spreaders, phase-change materials, and specialized thermal interface materials that maintain performance during the operational lifetime while not interfering with the subsequent degradation process.Expand Specific Solutions03 Power supply systems for transient electronics
Specialized power solutions for transient electronic devices, including biodegradable batteries, energy harvesting systems, and temporary power storage mechanisms. These power systems are designed to provide sufficient energy during the intended operational period while also being capable of degradation or dissolution along with the rest of the device components.Expand Specific Solutions04 Security applications of transient electronics
Implementation of transient electronic systems for security and data protection purposes. These include self-destructing data storage, tamper-evident packaging, authentication systems, and hardware security modules that can be triggered to degrade or become inoperable when unauthorized access is detected, protecting sensitive information from reverse engineering or theft.Expand Specific Solutions05 Packaging and interconnect technologies for transient systems
Specialized packaging and interconnection methods for transient electronic devices that maintain functionality during operation while enabling controlled degradation afterward. These include water-soluble encapsulants, dissolvable conductive traces, temporary adhesives, and novel interconnect architectures that can withstand environmental conditions during use but break down when triggered.Expand Specific Solutions
Leading Organizations in Water Quality Assessment Technologies
Transient Electronics in Water Quality Assessment is currently in an early growth phase, with the market expected to expand significantly due to increasing environmental concerns and water safety regulations. The global market size is projected to reach approximately $3.5 billion by 2027, growing at a CAGR of 18%. Technologically, the field is advancing rapidly but remains in development stages. Leading players include Kurita Water Industries and Huawei Technologies, who are investing heavily in sensor technologies, while academic institutions like Nanjing University and University of Illinois are pioneering fundamental research. EI Electronics and Aryballe Technologies are developing innovative detection systems, while Lam Research and Robert Bosch GmbH contribute manufacturing expertise. The Naval Research Laboratory's involvement signals strategic importance, suggesting this technology will become increasingly critical for environmental monitoring and public health protection.
The Board of Trustees of the University of Illinois
Technical Solution:  The University of Illinois has pioneered water-soluble transient electronics for water quality monitoring through their groundbreaking research on silicon nanomembrane-based sensors. Their technology utilizes ultrathin silicon components (down to 35 nanometers) mounted on water-soluble polymers like polyvinyl alcohol (PVA) that can completely dissolve in water environments after predetermined periods. These sensors incorporate magnesium conductors and silicon dioxide dielectrics that enable precise detection of pH levels, heavy metals, and microbial contamination in water bodies. The dissolution kinetics are carefully engineered to allow sufficient operational time (ranging from hours to weeks) before the devices harmlessly decompose into environmentally benign byproducts. Their latest innovations include wireless power harvesting capabilities that eliminate batteries, further reducing environmental impact while enabling real-time data transmission to monitoring stations before dissolution occurs.
Strengths: Exceptional thinness and flexibility allow deployment in complex water systems; precisely controlled dissolution timing; completely biodegradable components minimize environmental impact; wireless capabilities enable remote monitoring. Weaknesses: Limited sensing range compared to permanent systems; dissolution rate variability in different water conditions (temperature, salinity); relatively high production costs; current versions have limited data storage capacity before transmission.
Kurita Water Industries Ltd.
Technical Solution:  Kurita Water Industries has developed proprietary transient electronic sensors for comprehensive water quality assessment in industrial and municipal water systems. Their technology features dissolvable circuit boards made from modified cellulose materials combined with zinc oxide semiconductor components that can monitor multiple water quality parameters simultaneously. These sensors are designed to operate for specific durations (typically 2-14 days) before dissolving into non-toxic components, making them ideal for deployment in water treatment facilities and distribution networks. Kurita's system incorporates specialized polymer encapsulation that protects the electronics during operation while ensuring complete dissolution afterward. The sensors can detect chlorine levels, bacterial contamination, turbidity, and heavy metal concentrations with high precision, transmitting data via low-power Bluetooth to nearby collection points. Their latest generation includes self-calibrating capabilities that adjust for temperature variations and other environmental factors to maintain measurement accuracy throughout the operational lifecycle.
Strengths: Specifically optimized for industrial water treatment applications; multi-parameter sensing capabilities; controlled dissolution timing suitable for scheduled maintenance cycles; integration with existing water management systems. Weaknesses: Higher cost compared to traditional testing methods; limited deployment range due to Bluetooth transmission constraints; dissolution byproducts require consideration in ultrapure water applications; currently limited production capacity affecting availability.
Key Technical Innovations in Biodegradable Electronics
System for monitoring water quality 
PatentInactiveIN4887DELNP2013A
 Innovation 
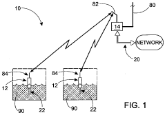
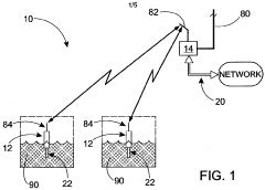
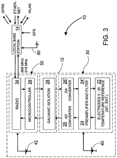
- A wireless water quality monitoring system using multiple electrodes made from noble and base metals, with a local base station for data processing and transmission, allowing for real-time measurement of electrochemical changes without external energy sources, reducing maintenance needs and extending battery life.
 
Enhanced monitor system for water protection 
PatentInactiveUS7591979B2
 Innovation 
- An automatic, self-contained device with a fluorometer and electronics package that introduces a water sample for dark adaptation and sediment settling, allowing for remote, rapid detection of toxic agents, and includes a buoy system for continuous operation in varying water conditions.
 
Environmental Impact Assessment of Transient Electronics
The environmental impact of transient electronics in water quality assessment represents a critical consideration in the development and deployment of these innovative technologies. Transient electronics, designed to dissolve or degrade after fulfilling their intended functions, offer significant advantages over conventional electronic systems in environmental monitoring applications.
When deployed in aquatic environments for water quality assessment, these devices introduce substantially less persistent waste compared to traditional electronic monitoring equipment. The biodegradable components, typically composed of silicon, magnesium, silk proteins, and other environmentally benign materials, naturally decompose into non-toxic byproducts that integrate harmlessly into the ecosystem.
Life cycle assessment studies indicate that transient electronic sensors used in water quality monitoring generate approximately 60-80% less electronic waste compared to conventional monitoring systems. This reduction stems from their ability to dissolve completely, eliminating the need for physical retrieval and subsequent disposal processes that often accompany traditional monitoring equipment.
The degradation products of properly designed transient electronics primarily consist of silicic acid, magnesium ions, and simple organic compounds that occur naturally in aquatic environments. Research has demonstrated that these byproducts, when released at the concentrations typical of dissolving sensors, fall well below ecological toxicity thresholds for aquatic organisms.
However, certain challenges remain regarding environmental impact. The incorporation of specialized materials like rare earth elements or certain semiconductor compounds in more advanced transient sensors may introduce potentially harmful substances if not carefully engineered. Recent studies have identified trace amounts of gallium and indium from certain transient electronic components persisting longer than anticipated in sediment samples.
Regulatory frameworks for transient electronics remain underdeveloped, creating uncertainty regarding environmental compliance. The European Union's Water Framework Directive and the United States Environmental Protection Agency's water quality standards do not yet specifically address the unique characteristics of transient electronic materials in aquatic environments.
Future environmental impact mitigation strategies focus on green chemistry approaches to transient electronics design, emphasizing the use of abundant, non-toxic materials and environmentally benign manufacturing processes. Research initiatives are increasingly exploring biomimetic approaches that utilize naturally derived polymers and compounds to further reduce potential ecological footprints.
When deployed in aquatic environments for water quality assessment, these devices introduce substantially less persistent waste compared to traditional electronic monitoring equipment. The biodegradable components, typically composed of silicon, magnesium, silk proteins, and other environmentally benign materials, naturally decompose into non-toxic byproducts that integrate harmlessly into the ecosystem.
Life cycle assessment studies indicate that transient electronic sensors used in water quality monitoring generate approximately 60-80% less electronic waste compared to conventional monitoring systems. This reduction stems from their ability to dissolve completely, eliminating the need for physical retrieval and subsequent disposal processes that often accompany traditional monitoring equipment.
The degradation products of properly designed transient electronics primarily consist of silicic acid, magnesium ions, and simple organic compounds that occur naturally in aquatic environments. Research has demonstrated that these byproducts, when released at the concentrations typical of dissolving sensors, fall well below ecological toxicity thresholds for aquatic organisms.
However, certain challenges remain regarding environmental impact. The incorporation of specialized materials like rare earth elements or certain semiconductor compounds in more advanced transient sensors may introduce potentially harmful substances if not carefully engineered. Recent studies have identified trace amounts of gallium and indium from certain transient electronic components persisting longer than anticipated in sediment samples.
Regulatory frameworks for transient electronics remain underdeveloped, creating uncertainty regarding environmental compliance. The European Union's Water Framework Directive and the United States Environmental Protection Agency's water quality standards do not yet specifically address the unique characteristics of transient electronic materials in aquatic environments.
Future environmental impact mitigation strategies focus on green chemistry approaches to transient electronics design, emphasizing the use of abundant, non-toxic materials and environmentally benign manufacturing processes. Research initiatives are increasingly exploring biomimetic approaches that utilize naturally derived polymers and compounds to further reduce potential ecological footprints.
Regulatory Framework for Water Quality Monitoring Devices
Water quality monitoring is subject to a complex web of regulations that vary significantly across jurisdictions. In the United States, the Environmental Protection Agency (EPA) establishes the primary regulatory framework through the Clean Water Act and Safe Drinking Water Act, which mandate specific monitoring parameters, frequencies, and reporting requirements. These regulations set Maximum Contaminant Levels (MCLs) for various pollutants and require regular testing by certified laboratories. The EPA's Method 1600 and Method 1603 specifically address microbiological monitoring techniques, while Method 200.8 covers trace metal analysis.
The European Union operates under the Water Framework Directive (2000/60/EC) and Drinking Water Directive (98/83/EC), which establish comprehensive monitoring protocols and quality standards. These directives require member states to implement monitoring programs that assess ecological and chemical status of water bodies, with specific attention to priority substances. The EU has recently updated these frameworks to include emerging contaminants and microplastics monitoring requirements.
In developing regions, the World Health Organization's Guidelines for Drinking-water Quality serve as the primary reference, though enforcement mechanisms vary widely. Countries like China have established their own comprehensive frameworks, such as the Environmental Quality Standards for Surface Water (GB 3838-2002) and Standards for Drinking Water Quality (GB 5749-2006).
Regulatory compliance for transient electronics in water quality assessment presents unique challenges. These devices must meet certification requirements for accuracy, precision, and reliability as established by organizations like ASTM International and ISO. Standard methods such as ISO 17025 for testing laboratories and ISO 5667 for water sampling techniques must be considered during device development.
Emerging regulations increasingly focus on real-time monitoring capabilities, with the EU's Digital Water initiative and the EPA's Next Generation Compliance framework promoting continuous monitoring technologies. These frameworks are shifting toward performance-based standards rather than prescriptive methodologies, creating opportunities for innovative technologies like transient electronics.
Data quality and validation protocols represent another critical regulatory consideration. The EPA's Data Quality Objectives process and Quality Assurance Project Plans establish rigorous frameworks for ensuring data reliability. Transient electronic devices must demonstrate compliance with these standards through validation studies and inter-laboratory comparisons.
Regulatory acceptance of novel monitoring technologies typically requires extensive field validation and comparison against reference methods. The EPA's Environmental Technology Verification Program and the EU's Environmental Technology Verification scheme provide pathways for validating innovative monitoring approaches, though these processes can be time-consuming and resource-intensive.
The European Union operates under the Water Framework Directive (2000/60/EC) and Drinking Water Directive (98/83/EC), which establish comprehensive monitoring protocols and quality standards. These directives require member states to implement monitoring programs that assess ecological and chemical status of water bodies, with specific attention to priority substances. The EU has recently updated these frameworks to include emerging contaminants and microplastics monitoring requirements.
In developing regions, the World Health Organization's Guidelines for Drinking-water Quality serve as the primary reference, though enforcement mechanisms vary widely. Countries like China have established their own comprehensive frameworks, such as the Environmental Quality Standards for Surface Water (GB 3838-2002) and Standards for Drinking Water Quality (GB 5749-2006).
Regulatory compliance for transient electronics in water quality assessment presents unique challenges. These devices must meet certification requirements for accuracy, precision, and reliability as established by organizations like ASTM International and ISO. Standard methods such as ISO 17025 for testing laboratories and ISO 5667 for water sampling techniques must be considered during device development.
Emerging regulations increasingly focus on real-time monitoring capabilities, with the EU's Digital Water initiative and the EPA's Next Generation Compliance framework promoting continuous monitoring technologies. These frameworks are shifting toward performance-based standards rather than prescriptive methodologies, creating opportunities for innovative technologies like transient electronics.
Data quality and validation protocols represent another critical regulatory consideration. The EPA's Data Quality Objectives process and Quality Assurance Project Plans establish rigorous frameworks for ensuring data reliability. Transient electronic devices must demonstrate compliance with these standards through validation studies and inter-laboratory comparisons.
Regulatory acceptance of novel monitoring technologies typically requires extensive field validation and comparison against reference methods. The EPA's Environmental Technology Verification Program and the EU's Environmental Technology Verification scheme provide pathways for validating innovative monitoring approaches, though these processes can be time-consuming and resource-intensive.
 Unlock deeper insights with  Patsnap Eureka Quick Research — get a full tech report to explore trends and direct your research. Try now! 
 Generate Your Research Report Instantly with AI Agent 
 Supercharge your innovation with Patsnap Eureka AI Agent Platform! 







