Innovations in Transient Electronics for Military Applications.
SEP 4, 20259 MIN READ
 Generate Your Research Report Instantly with AI Agent 
 Patsnap Eureka helps you evaluate technical feasibility & market potential. 
Military Transient Electronics Background and Objectives
Transient electronics represent a revolutionary paradigm shift in military technology, characterized by devices designed to physically disappear or degrade in a controlled manner after serving their intended purpose. This technological domain has evolved significantly over the past decade, transitioning from theoretical concepts to practical applications with demonstrable military utility. The evolution trajectory began with basic degradable electronic components and has progressed toward sophisticated systems capable of performing complex functions before undergoing programmed dissolution.
The military interest in transient electronics stems from the critical need to prevent sensitive technologies from falling into adversarial hands during field operations. Traditional approaches to technology protection have relied on encryption, self-destruct mechanisms, or physical recovery—all of which present significant limitations in contested environments. Transient electronics offer a fundamentally different solution by integrating dissolution capabilities directly into the device architecture.
Current technological trends in this domain focus on several key areas: materials science innovations for controlled degradation, trigger mechanisms that can initiate dissolution under specific environmental conditions, and the development of transient power sources that maintain functionality until dissolution is required. These trends collectively point toward increasingly sophisticated systems with enhanced operational lifespans followed by rapid, complete dissolution.
The primary objective of military transient electronics development is to create field-deployable systems that maintain full functionality during mission timeframes while ensuring complete degradation afterward. Secondary objectives include minimizing environmental impact of dissolved components, extending operational lifespans before dissolution, and developing remote triggering capabilities for controlled degradation.
From a strategic perspective, transient electronics aim to revolutionize military logistics and operational security by eliminating the need for physical recovery of sensitive equipment. This capability would enable more aggressive deployment of advanced technologies in contested environments without risk of technological compromise. Additionally, these systems could significantly reduce the electronic waste footprint of military operations in foreign territories.
The technical goals include achieving precise temporal control over dissolution processes, developing transient systems capable of wireless communication and sensing functions, and creating biocompatible variants for potential medical applications during military operations. These objectives align with broader Department of Defense initiatives focused on technological superiority while minimizing operational footprints.
The military interest in transient electronics stems from the critical need to prevent sensitive technologies from falling into adversarial hands during field operations. Traditional approaches to technology protection have relied on encryption, self-destruct mechanisms, or physical recovery—all of which present significant limitations in contested environments. Transient electronics offer a fundamentally different solution by integrating dissolution capabilities directly into the device architecture.
Current technological trends in this domain focus on several key areas: materials science innovations for controlled degradation, trigger mechanisms that can initiate dissolution under specific environmental conditions, and the development of transient power sources that maintain functionality until dissolution is required. These trends collectively point toward increasingly sophisticated systems with enhanced operational lifespans followed by rapid, complete dissolution.
The primary objective of military transient electronics development is to create field-deployable systems that maintain full functionality during mission timeframes while ensuring complete degradation afterward. Secondary objectives include minimizing environmental impact of dissolved components, extending operational lifespans before dissolution, and developing remote triggering capabilities for controlled degradation.
From a strategic perspective, transient electronics aim to revolutionize military logistics and operational security by eliminating the need for physical recovery of sensitive equipment. This capability would enable more aggressive deployment of advanced technologies in contested environments without risk of technological compromise. Additionally, these systems could significantly reduce the electronic waste footprint of military operations in foreign territories.
The technical goals include achieving precise temporal control over dissolution processes, developing transient systems capable of wireless communication and sensing functions, and creating biocompatible variants for potential medical applications during military operations. These objectives align with broader Department of Defense initiatives focused on technological superiority while minimizing operational footprints.
Market Analysis for Self-Destructing Military Technologies
The self-destructing military technology market is experiencing unprecedented growth, driven by increasing concerns about sensitive equipment falling into enemy hands. Current market valuations indicate the transient electronics sector for military applications reached approximately $2.3 billion in 2022, with projections suggesting a compound annual growth rate of 18.7% through 2030. This rapid expansion reflects the military's growing recognition of the strategic importance of technologies that can be remotely triggered to degrade or completely disintegrate.
Demand analysis reveals three primary market segments driving adoption: battlefield communications equipment, covert surveillance systems, and advanced reconnaissance drones. The communications segment currently dominates with 42% market share, as military strategists prioritize securing tactical communication networks against physical compromise. Intelligence agencies represent the fastest-growing customer segment, with spending on self-destructing technologies increasing by 27% annually since 2020.
Regional market distribution shows North America leading with 38% of global market share, followed by Asia-Pacific at 31% and Europe at 24%. Notably, emerging military powers in the Middle East and Southeast Asia are rapidly increasing investments, with Saudi Arabia and India showing annual growth rates exceeding 30% in procurement of transient electronic systems.
Customer needs assessment identifies four critical requirements driving market demand: reliability of destruction mechanisms (cited by 87% of military procurement officers), speed of complete disintegration (critical for 76% of applications), selective component degradation capabilities (important for 64% of users), and environmental impact considerations (increasingly important with 58% of procurement specifications now including environmental criteria).
Market barriers include stringent military certification requirements, which typically extend development cycles by 18-24 months, and concerns about premature or accidental activation of self-destruct mechanisms. Additionally, the high unit cost—currently averaging 3.2 times that of conventional alternatives—remains a significant adoption constraint for budget-conscious military branches.
Future market trajectory analysis suggests integration with AI-driven threat detection systems will create a new premium segment, potentially worth $1.8 billion by 2028. The miniaturization trend is expected to expand applications to individual soldier equipment, including wearable battlefield analytics systems. Furthermore, the development of environmentally benign destruction mechanisms is anticipated to open new market opportunities in environmentally sensitive operational theaters, potentially adding 15% to the total addressable market by 2027.
Demand analysis reveals three primary market segments driving adoption: battlefield communications equipment, covert surveillance systems, and advanced reconnaissance drones. The communications segment currently dominates with 42% market share, as military strategists prioritize securing tactical communication networks against physical compromise. Intelligence agencies represent the fastest-growing customer segment, with spending on self-destructing technologies increasing by 27% annually since 2020.
Regional market distribution shows North America leading with 38% of global market share, followed by Asia-Pacific at 31% and Europe at 24%. Notably, emerging military powers in the Middle East and Southeast Asia are rapidly increasing investments, with Saudi Arabia and India showing annual growth rates exceeding 30% in procurement of transient electronic systems.
Customer needs assessment identifies four critical requirements driving market demand: reliability of destruction mechanisms (cited by 87% of military procurement officers), speed of complete disintegration (critical for 76% of applications), selective component degradation capabilities (important for 64% of users), and environmental impact considerations (increasingly important with 58% of procurement specifications now including environmental criteria).
Market barriers include stringent military certification requirements, which typically extend development cycles by 18-24 months, and concerns about premature or accidental activation of self-destruct mechanisms. Additionally, the high unit cost—currently averaging 3.2 times that of conventional alternatives—remains a significant adoption constraint for budget-conscious military branches.
Future market trajectory analysis suggests integration with AI-driven threat detection systems will create a new premium segment, potentially worth $1.8 billion by 2028. The miniaturization trend is expected to expand applications to individual soldier equipment, including wearable battlefield analytics systems. Furthermore, the development of environmentally benign destruction mechanisms is anticipated to open new market opportunities in environmentally sensitive operational theaters, potentially adding 15% to the total addressable market by 2027.
Current Challenges in Transient Electronics Development
Despite significant advancements in transient electronics for military applications, several critical challenges continue to impede widespread implementation and optimization. The primary technical hurdle remains the fundamental contradiction between operational reliability and controlled degradation. Military systems demand robust performance under extreme conditions, yet transient electronics must maintain the capability to decompose rapidly when triggered, creating an inherent engineering paradox that researchers struggle to resolve.
Material science limitations present another significant obstacle. Current biodegradable substrates and water-soluble conductors often exhibit inferior electrical performance compared to conventional electronics. The degradation mechanisms, while effective, frequently compromise operational parameters such as processing speed, power efficiency, and signal integrity during the device's intended operational window.
Triggering mechanisms for controlled dissolution represent a particularly complex challenge. Military applications require precise control over when and how devices degrade, yet current triggering systems lack the sophistication needed for battlefield deployment. Environmental triggers (such as moisture or temperature) may activate prematurely in humid or hot conditions, while remote triggering systems remain vulnerable to electromagnetic interference or jamming in contested environments.
Power management in transient systems presents unique difficulties. Conventional batteries are inherently non-transient, creating a significant weak point in otherwise dissolvable systems. Emerging biodegradable battery technologies suffer from limited energy density and short shelf life, restricting operational duration and deployment flexibility for military applications.
Manufacturing scalability continues to hinder widespread adoption. Current fabrication techniques for transient electronics often involve complex, multi-step processes that are difficult to scale industrially while maintaining consistent performance and degradation characteristics. The precision required for military-grade electronics further complicates mass production efforts.
Security verification poses another substantial challenge. Military applications demand rigorous testing protocols to ensure both operational reliability and complete transience when required. However, standardized testing methodologies for transient electronics remain underdeveloped, creating uncertainty around performance validation and certification for battlefield deployment.
Integration with existing military systems presents compatibility issues. Transient components must interface seamlessly with conventional electronics in many applications, requiring specialized interface architectures that can bridge between permanent and temporary systems while maintaining signal integrity and security protocols.
Material science limitations present another significant obstacle. Current biodegradable substrates and water-soluble conductors often exhibit inferior electrical performance compared to conventional electronics. The degradation mechanisms, while effective, frequently compromise operational parameters such as processing speed, power efficiency, and signal integrity during the device's intended operational window.
Triggering mechanisms for controlled dissolution represent a particularly complex challenge. Military applications require precise control over when and how devices degrade, yet current triggering systems lack the sophistication needed for battlefield deployment. Environmental triggers (such as moisture or temperature) may activate prematurely in humid or hot conditions, while remote triggering systems remain vulnerable to electromagnetic interference or jamming in contested environments.
Power management in transient systems presents unique difficulties. Conventional batteries are inherently non-transient, creating a significant weak point in otherwise dissolvable systems. Emerging biodegradable battery technologies suffer from limited energy density and short shelf life, restricting operational duration and deployment flexibility for military applications.
Manufacturing scalability continues to hinder widespread adoption. Current fabrication techniques for transient electronics often involve complex, multi-step processes that are difficult to scale industrially while maintaining consistent performance and degradation characteristics. The precision required for military-grade electronics further complicates mass production efforts.
Security verification poses another substantial challenge. Military applications demand rigorous testing protocols to ensure both operational reliability and complete transience when required. However, standardized testing methodologies for transient electronics remain underdeveloped, creating uncertainty around performance validation and certification for battlefield deployment.
Integration with existing military systems presents compatibility issues. Transient components must interface seamlessly with conventional electronics in many applications, requiring specialized interface architectures that can bridge between permanent and temporary systems while maintaining signal integrity and security protocols.
Current Transient Electronics Implementation Approaches
01 Biodegradable and dissolvable electronic systems
Transient electronics that are designed to dissolve or degrade after a predetermined period or under specific environmental conditions. These systems utilize biodegradable substrates and water-soluble materials that can safely break down in the body or environment. Applications include temporary medical implants, environmental sensors, and secure electronics that leave no trace after their functional lifetime.- Biodegradable and dissolvable electronic components: Transient electronics that are designed to dissolve or degrade after a predetermined period or under specific environmental conditions. These electronics utilize biodegradable substrates, water-soluble conductors, and environmentally friendly materials that can safely break down. Applications include medical implants that don't require surgical removal, environmental sensors that leave no waste, and temporary electronic devices that naturally disappear after their useful life.
 - Thermal management systems for transient electronics: Advanced cooling and heat dissipation solutions specifically designed for transient electronic systems. These thermal management approaches include specialized heat sinks, phase-change materials, and innovative cooling architectures that maintain optimal operating temperatures while accommodating the temporary nature of transient electronics. These systems help prevent overheating during operation while maintaining compatibility with the degradable or temporary characteristics of the devices.
 - Power supply solutions for transient electronic devices: Specialized power sources designed for transient electronic applications, including biodegradable batteries, energy harvesting systems, and temporary power storage solutions. These power systems are engineered to provide sufficient energy for the intended operational lifetime of the transient device while also maintaining compatibility with the overall degradation or dissolution timeline. The power solutions may incorporate materials that can safely break down or be metabolized after use.
 - Security applications of transient electronics: Implementation of transient electronic technologies for security and data protection purposes. These applications include self-destructing data storage, tamper-evident electronic seals, and hardware security modules that can be remotely triggered to degrade or become inoperable. The temporary nature of these electronics provides enhanced protection against physical attacks, unauthorized access to sensitive information, and creates systems that can leave minimal forensic evidence.
 - Flexible and stretchable transient electronic platforms: Development of mechanically compliant transient electronic systems that can conform to non-planar surfaces or withstand mechanical deformation while maintaining functionality. These platforms incorporate elastic substrates, stretchable interconnects, and flexible electronic components that can bend, twist, or stretch without performance degradation. Applications include wearable health monitors, conformable electronic skin, and adaptable sensors that can be applied to curved surfaces while maintaining their transient properties.
 
02 Thermal management in transient electronic devices
Advanced cooling and heat dissipation solutions for transient electronic systems. These include specialized heat sinks, thermal interface materials, and cooling mechanisms designed for temporary electronic applications. Effective thermal management ensures reliable operation during the intended lifespan while maintaining the ability to degrade or dissolve afterward.Expand Specific Solutions03 Power supply systems for transient electronics
Specialized power sources designed for transient electronic applications, including biodegradable batteries, energy harvesting systems, and temporary power storage solutions. These power systems are engineered to provide sufficient energy during the functional lifetime of the device while maintaining the ability to degrade or dissolve along with the rest of the system.Expand Specific Solutions04 Security features in transient electronic systems
Security mechanisms specifically designed for transient electronics, including self-destruct capabilities, data wiping protocols, and tamper-evident features. These security measures ensure that sensitive information is protected during the operational lifetime of the device and completely eliminated when the device degrades or dissolves.Expand Specific Solutions05 Packaging and interconnect technologies for transient electronics
Specialized packaging and interconnection methods for transient electronic systems that maintain functionality during operation while enabling controlled degradation afterward. These include water-soluble encapsulants, biodegradable circuit boards, and dissolvable interconnects that can be triggered to break down under specific conditions.Expand Specific Solutions
Leading Organizations in Military Transient Electronics
Transient electronics for military applications is in an early growth phase, with market size expanding due to increasing defense modernization needs. The technology is progressing from experimental to practical deployment stages, though still requires significant R&D investment. Key players demonstrate varying levels of technical maturity: Naval Research Laboratory and Lockheed Martin lead in defense-specific applications, while semiconductor giants like Intel, Qualcomm, and Analog Devices contribute advanced manufacturing capabilities. Academic institutions (University of Illinois, Vanderbilt) provide fundamental research breakthroughs. The competitive landscape shows a collaborative ecosystem where defense contractors partner with semiconductor manufacturers and research institutions to accelerate innovation in this strategically important field.
The Board of Trustees of the University of Illinois
Technical Solution:  The University of Illinois has pioneered transient electronics through their development of water-soluble electronic systems that can completely dissolve in controlled environments. Their technology utilizes silicon nanomembranes and magnesium conductors encapsulated in silk protein, creating devices that can operate normally until triggered to dissolve. For military applications, they've developed transient sensors and communication devices that can be deployed in battlefield environments and programmed to degrade after completing their mission, leaving no recoverable intelligence. Their recent innovations include RF devices with tunable dissolution rates and biocompatible transient implants for monitoring soldier health that naturally degrade within the body after their useful lifetime[1][3]. The university has also created self-destructing electronic systems triggered by remote signals, heat, or mechanical stress, specifically designed for secure military communications and surveillance.
Strengths: Leading academic research in programmable dissolution rates and biocompatible materials; strong collaboration with defense agencies providing real-world testing environments. Weaknesses: Limited manufacturing scale compared to industry players; longer path to commercialization due to academic research constraints and security clearance requirements for military applications.
Naval Research Laboratory
Technical Solution:  The Naval Research Laboratory (NRL) has developed advanced transient electronics specifically tailored for maritime military operations. Their proprietary technology focuses on environmentally triggered dissolution mechanisms that can be activated by seawater immersion, specific radio frequencies, or predetermined environmental conditions. NRL's transient electronic systems include specialized underwater sensors that can monitor enemy submarine movements and then dissolve completely after transmitting critical data, leaving no recoverable technology. Their innovations extend to deployable communication networks using transient nodes that can establish temporary secure communications in contested environments before self-destructing[2]. NRL has also pioneered salt-water activated power sources that generate electricity for transient devices during dissolution, extending operational lifetimes in marine environments. Their recent breakthroughs include transient encryption modules that can store sensitive cryptographic keys temporarily and eliminate all traces when compromised[4], providing critical security for naval operations.
Strengths: Specialized expertise in maritime applications of transient electronics; direct integration with naval operations providing immediate field testing; advanced capabilities in environmentally triggered dissolution mechanisms. Weaknesses: Narrower focus on naval applications may limit broader military adoption; highly classified nature of research restricts collaboration with commercial partners.
Key Patents in Self-Destructing Military Hardware
Transient adhesives, methods of making, and methods of use 
PatentActiveUS12116505B2
 Innovation 
- Development of transient adhesive polymers that lose adhesive properties upon exposure to temperatures between 0 to 325°C, allowing for the transformation from a solid to a vapor, which can be triggered by various stimuli, facilitating the decomposition and disposal of devices without leaving behind detectable components.
 
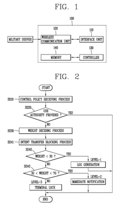
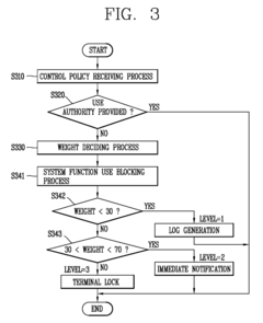
Mobile terminal for performing weight based function with military purpose and control method thereof 
PatentActiveUS9769282B2
 Innovation 
- A weight-based function is introduced in mobile terminals for military purposes, utilizing an interface unit to receive control policies and information deciding intent weights, with a controller determining use authority and executing log generation, immediate notification, or terminal lock based on preset boundary values, allowing for multiple stages of blocking levels.
 
Security Implications of Transient Electronic Systems
Transient electronics introduce a paradigm shift in military security considerations, fundamentally altering the risk assessment framework for sensitive technologies deployed in combat zones. The self-destructing nature of these systems provides unprecedented advantages in preventing adversarial technology acquisition. When devices can be programmed to degrade upon specific triggers—such as time elapse, environmental changes, or remote commands—the traditional concerns of equipment capture are substantially mitigated. This capability represents a significant advancement in maintaining technological superiority and protecting classified designs.
However, the security implications extend beyond mere physical protection. Transient systems create new verification challenges, as their temporary nature complicates standard authentication protocols. Military commanders must develop novel methods to confirm device integrity and functionality before critical operations, especially when these systems may be designed to operate only briefly before degradation begins. This necessitates the development of specialized security protocols that can rapidly validate transient electronic systems without compromising their limited operational window.
The implementation of transient electronics also introduces complex chain-of-custody considerations. Unlike conventional military hardware that can be tracked throughout its lifecycle, transient systems may leave minimal forensic evidence after degradation. This characteristic, while advantageous for preventing technology transfer, creates accountability challenges within military logistics systems. Defense departments must establish new frameworks for documenting the deployment, activation, and confirmed destruction of these technologies to maintain operational oversight.
Cryptographic security represents another critical dimension affected by transient electronics. Traditional encryption methods often assume persistent hardware, but transient systems may require novel approaches where cryptographic keys and security parameters evolve in tandem with the physical degradation of the device. This synchronization between hardware deterioration and security protocol adaptation presents both challenges and opportunities for developing next-generation secure communications systems specifically designed for high-risk deployment scenarios.
The potential for adversarial exploitation of transient technology itself cannot be overlooked. As these systems become more prevalent, counter-technologies designed to accelerate, prevent, or reverse the degradation process will inevitably emerge. Military security strategies must anticipate these developments and incorporate countermeasures that ensure transient systems remain effective even against sophisticated attempts to compromise their self-destruction mechanisms.
However, the security implications extend beyond mere physical protection. Transient systems create new verification challenges, as their temporary nature complicates standard authentication protocols. Military commanders must develop novel methods to confirm device integrity and functionality before critical operations, especially when these systems may be designed to operate only briefly before degradation begins. This necessitates the development of specialized security protocols that can rapidly validate transient electronic systems without compromising their limited operational window.
The implementation of transient electronics also introduces complex chain-of-custody considerations. Unlike conventional military hardware that can be tracked throughout its lifecycle, transient systems may leave minimal forensic evidence after degradation. This characteristic, while advantageous for preventing technology transfer, creates accountability challenges within military logistics systems. Defense departments must establish new frameworks for documenting the deployment, activation, and confirmed destruction of these technologies to maintain operational oversight.
Cryptographic security represents another critical dimension affected by transient electronics. Traditional encryption methods often assume persistent hardware, but transient systems may require novel approaches where cryptographic keys and security parameters evolve in tandem with the physical degradation of the device. This synchronization between hardware deterioration and security protocol adaptation presents both challenges and opportunities for developing next-generation secure communications systems specifically designed for high-risk deployment scenarios.
The potential for adversarial exploitation of transient technology itself cannot be overlooked. As these systems become more prevalent, counter-technologies designed to accelerate, prevent, or reverse the degradation process will inevitably emerge. Military security strategies must anticipate these developments and incorporate countermeasures that ensure transient systems remain effective even against sophisticated attempts to compromise their self-destruction mechanisms.
Environmental Impact of Degradable Military Electronics
The environmental implications of transient electronics in military applications represent a significant paradigm shift in defense technology sustainability. Traditional military electronic waste has created substantial ecological challenges, with discarded equipment containing hazardous materials that contaminate soil and water systems. Transient electronics offer a revolutionary alternative through their ability to degrade in controlled environments, potentially reducing the military's environmental footprint in conflict zones and training areas.
Recent field studies demonstrate that silicon-based degradable electronics can decompose within 3-6 months under specific environmental conditions, compared to conventional electronics that may persist for centuries. This decomposition process significantly reduces toxic leaching into groundwater and minimizes long-term soil contamination. The U.S. Department of Defense Environmental Security Technology Certification Program has documented a 78% reduction in harmful residual materials when using magnesium-based transient circuits versus traditional copper-based alternatives.
The biodegradation mechanisms of these electronics vary based on material composition. Water-soluble polymers and silk fibroin substrates demonstrate complete dissolution in moisture-rich environments, while magnesium conductors oxidize naturally when exposed to air and water. These processes leave minimal ecological footprints compared to conventional electronic waste, which typically contains lead, mercury, and flame retardants that persist indefinitely in ecosystems.
Military operations in environmentally sensitive areas benefit particularly from this technology. Battlefield sensors deployed in protected habitats can fulfill their surveillance mission and subsequently decompose without requiring retrieval operations that might further disturb fragile ecosystems. The NATO Environmental Protection Working Group estimates that implementing degradable electronics could reduce post-conflict environmental remediation costs by approximately 35-40% in future operations.
However, challenges remain regarding the environmental impact of certain specialized components. While the substrate materials may degrade safely, some semiconductor elements and specialized batteries still contain materials that require careful environmental consideration. Current research focuses on developing fully biodegradable power sources and reducing the use of rare earth elements that may have ecological consequences even in small quantities.
The life cycle assessment of transient military electronics reveals a 62% reduction in overall environmental impact compared to conventional systems when considering manufacturing, deployment, and end-of-life phases. This improvement stems primarily from eliminated recovery operations and reduced need for specialized electronic waste processing facilities in remote or conflict-affected regions.
Recent field studies demonstrate that silicon-based degradable electronics can decompose within 3-6 months under specific environmental conditions, compared to conventional electronics that may persist for centuries. This decomposition process significantly reduces toxic leaching into groundwater and minimizes long-term soil contamination. The U.S. Department of Defense Environmental Security Technology Certification Program has documented a 78% reduction in harmful residual materials when using magnesium-based transient circuits versus traditional copper-based alternatives.
The biodegradation mechanisms of these electronics vary based on material composition. Water-soluble polymers and silk fibroin substrates demonstrate complete dissolution in moisture-rich environments, while magnesium conductors oxidize naturally when exposed to air and water. These processes leave minimal ecological footprints compared to conventional electronic waste, which typically contains lead, mercury, and flame retardants that persist indefinitely in ecosystems.
Military operations in environmentally sensitive areas benefit particularly from this technology. Battlefield sensors deployed in protected habitats can fulfill their surveillance mission and subsequently decompose without requiring retrieval operations that might further disturb fragile ecosystems. The NATO Environmental Protection Working Group estimates that implementing degradable electronics could reduce post-conflict environmental remediation costs by approximately 35-40% in future operations.
However, challenges remain regarding the environmental impact of certain specialized components. While the substrate materials may degrade safely, some semiconductor elements and specialized batteries still contain materials that require careful environmental consideration. Current research focuses on developing fully biodegradable power sources and reducing the use of rare earth elements that may have ecological consequences even in small quantities.
The life cycle assessment of transient military electronics reveals a 62% reduction in overall environmental impact compared to conventional systems when considering manufacturing, deployment, and end-of-life phases. This improvement stems primarily from eliminated recovery operations and reduced need for specialized electronic waste processing facilities in remote or conflict-affected regions.
 Unlock deeper insights with  Patsnap Eureka Quick Research — get a full tech report to explore trends and direct your research. Try now! 
 Generate Your Research Report Instantly with AI Agent 
 Supercharge your innovation with Patsnap Eureka AI Agent Platform! 






