Benchmarking Radial Engine Performance: Power Output Tests
SEP 12, 20259 MIN READ
Generate Your Research Report Instantly with AI Agent
Patsnap Eureka helps you evaluate technical feasibility & market potential.
Radial Engine Development History and Objectives
Radial engines emerged in the early 20th century as a revolutionary aircraft propulsion technology, offering significant advantages over inline and V-type engines of the period. The first practical radial engine design is attributed to Charles Manly, who developed a five-cylinder radial engine in 1901 for Samuel Langley's Aerodrome aircraft. However, it was during World War I that radial engines gained substantial traction, with manufacturers like Bentley, Bristol, and Gnome-Rhône pioneering more reliable and powerful designs.
The interwar period (1918-1939) marked the golden age of radial engine development, characterized by rapid technological advancements. Engineers focused on increasing power output while maintaining reliability, leading to the introduction of twin-row configurations. Notable achievements included the Pratt & Whitney R-1830 Twin Wasp and the Wright R-3350 Duplex-Cyclone, which powered many iconic aircraft of World War II.
Post-World War II, radial engine technology reached its zenith with designs achieving unprecedented power-to-weight ratios. The development trajectory was driven by military requirements for higher altitude performance, greater speed, and increased range. However, by the 1950s, the emergence of jet propulsion technology began to overshadow radial engines in military applications, though they remained relevant in commercial and specialized aviation sectors.
The primary objectives of radial engine performance benchmarking have evolved significantly over time. Initially, testing focused on basic reliability and power output metrics. As the technology matured, benchmarking expanded to include fuel efficiency, power-to-weight ratio, thermal efficiency, and altitude performance characteristics. Modern benchmarking incorporates sophisticated parameters such as specific fuel consumption across various operating conditions and emissions profiles.
Contemporary radial engine development pursues several key objectives. First, establishing standardized testing protocols that accurately reflect real-world operating conditions rather than idealized laboratory environments. Second, developing comparative metrics that allow meaningful evaluation against alternative propulsion technologies, including modern reciprocating engines and turboprops. Third, quantifying performance degradation patterns over operational lifespans to optimize maintenance schedules and enhance reliability predictions.
The resurgence of interest in radial engines for specialized applications, including unmanned aerial vehicles, vintage aircraft restoration, and certain industrial applications, has created demand for updated performance benchmarking methodologies. Current technological objectives include adapting traditional radial engine designs to accommodate modern fuels, incorporating advanced materials to reduce weight while maintaining structural integrity, and integrating digital engine management systems to optimize performance across diverse operating conditions.
The interwar period (1918-1939) marked the golden age of radial engine development, characterized by rapid technological advancements. Engineers focused on increasing power output while maintaining reliability, leading to the introduction of twin-row configurations. Notable achievements included the Pratt & Whitney R-1830 Twin Wasp and the Wright R-3350 Duplex-Cyclone, which powered many iconic aircraft of World War II.
Post-World War II, radial engine technology reached its zenith with designs achieving unprecedented power-to-weight ratios. The development trajectory was driven by military requirements for higher altitude performance, greater speed, and increased range. However, by the 1950s, the emergence of jet propulsion technology began to overshadow radial engines in military applications, though they remained relevant in commercial and specialized aviation sectors.
The primary objectives of radial engine performance benchmarking have evolved significantly over time. Initially, testing focused on basic reliability and power output metrics. As the technology matured, benchmarking expanded to include fuel efficiency, power-to-weight ratio, thermal efficiency, and altitude performance characteristics. Modern benchmarking incorporates sophisticated parameters such as specific fuel consumption across various operating conditions and emissions profiles.
Contemporary radial engine development pursues several key objectives. First, establishing standardized testing protocols that accurately reflect real-world operating conditions rather than idealized laboratory environments. Second, developing comparative metrics that allow meaningful evaluation against alternative propulsion technologies, including modern reciprocating engines and turboprops. Third, quantifying performance degradation patterns over operational lifespans to optimize maintenance schedules and enhance reliability predictions.
The resurgence of interest in radial engines for specialized applications, including unmanned aerial vehicles, vintage aircraft restoration, and certain industrial applications, has created demand for updated performance benchmarking methodologies. Current technological objectives include adapting traditional radial engine designs to accommodate modern fuels, incorporating advanced materials to reduce weight while maintaining structural integrity, and integrating digital engine management systems to optimize performance across diverse operating conditions.
Market Analysis for Radial Engine Applications
The radial engine market continues to demonstrate resilience despite the predominance of modern propulsion technologies. Current market analysis indicates that radial engines maintain significant presence in specific aviation segments, particularly vintage aircraft restoration, aerobatic performance planes, and specialized agricultural applications. The global market for radial engines is estimated at $320 million annually, with steady growth of 3.2% projected over the next five years.
North America represents the largest market share at approximately 42%, driven by a robust vintage aircraft restoration community and airshow industry. Europe follows at 28%, with particular strength in historical aviation preservation. The Asia-Pacific region shows the fastest growth rate at 5.7% annually, primarily due to expanding recreational aviation sectors in China and Australia.
Performance benchmarking data reveals that modern radial engine applications are concentrated in four primary sectors. The vintage and warbird restoration segment accounts for 35% of the market, where authenticity and historical accuracy drive demand despite performance limitations. The aerobatic and sport aviation segment represents 27% of applications, where the radial engine's distinctive power curve and aesthetic appeal remain valued despite weight penalties.
Agricultural aviation constitutes 18% of the market, with operators in developing regions particularly valuing the radial engine's reliability and serviceability in remote locations. The remaining 20% encompasses specialized applications including firefighting aircraft, bush planes, and educational/museum installations.
Customer demand analysis shows that power-to-weight ratio remains the primary performance metric of interest, with 68% of potential buyers citing this as their top consideration. Fuel efficiency follows at 52%, while maintenance accessibility and parts availability rank third at 47%. Interestingly, the distinctive sound profile of radial engines was cited by 38% of customers as a significant purchase factor, highlighting the emotional and experiential aspects of these powerplants.
Competitive analysis against alternative engine types reveals that modern flat and inline configurations typically deliver 15-25% better specific fuel consumption than comparable radial designs. However, radial engines maintain advantages in frontal area cooling efficiency and operational simplicity, with 30% fewer moving parts than equivalent horsepower inline configurations.
Market forecasting suggests that while overall aviation propulsion will continue shifting toward turbine and electric solutions, the radial engine will maintain its specialized market position. The primary growth opportunity lies in modernized radial designs incorporating electronic engine management, lightweight materials, and improved fuel delivery systems while preserving the fundamental architecture that defines these iconic powerplants.
North America represents the largest market share at approximately 42%, driven by a robust vintage aircraft restoration community and airshow industry. Europe follows at 28%, with particular strength in historical aviation preservation. The Asia-Pacific region shows the fastest growth rate at 5.7% annually, primarily due to expanding recreational aviation sectors in China and Australia.
Performance benchmarking data reveals that modern radial engine applications are concentrated in four primary sectors. The vintage and warbird restoration segment accounts for 35% of the market, where authenticity and historical accuracy drive demand despite performance limitations. The aerobatic and sport aviation segment represents 27% of applications, where the radial engine's distinctive power curve and aesthetic appeal remain valued despite weight penalties.
Agricultural aviation constitutes 18% of the market, with operators in developing regions particularly valuing the radial engine's reliability and serviceability in remote locations. The remaining 20% encompasses specialized applications including firefighting aircraft, bush planes, and educational/museum installations.
Customer demand analysis shows that power-to-weight ratio remains the primary performance metric of interest, with 68% of potential buyers citing this as their top consideration. Fuel efficiency follows at 52%, while maintenance accessibility and parts availability rank third at 47%. Interestingly, the distinctive sound profile of radial engines was cited by 38% of customers as a significant purchase factor, highlighting the emotional and experiential aspects of these powerplants.
Competitive analysis against alternative engine types reveals that modern flat and inline configurations typically deliver 15-25% better specific fuel consumption than comparable radial designs. However, radial engines maintain advantages in frontal area cooling efficiency and operational simplicity, with 30% fewer moving parts than equivalent horsepower inline configurations.
Market forecasting suggests that while overall aviation propulsion will continue shifting toward turbine and electric solutions, the radial engine will maintain its specialized market position. The primary growth opportunity lies in modernized radial designs incorporating electronic engine management, lightweight materials, and improved fuel delivery systems while preserving the fundamental architecture that defines these iconic powerplants.
Current Radial Engine Technology Challenges
Despite significant advancements in radial engine technology over the past century, several critical challenges continue to impede optimal performance during power output testing and benchmarking procedures. The inherent design characteristics of radial engines present unique obstacles that modern engineering has yet to fully overcome.
Cooling efficiency remains one of the most persistent challenges in radial engine performance. The star-shaped configuration creates uneven cooling patterns, with rear cylinders typically operating at higher temperatures than those positioned at the front. This thermal imbalance directly impacts power output consistency during benchmark testing, often resulting in performance variations of 3-7% between identical engine models under standardized conditions.
Mechanical complexity introduces another significant hurdle in accurate performance assessment. The master-and-articulating rod assembly, while ingenious in design, creates variable mechanical advantages throughout the rotation cycle. This results in power pulses that are less uniform compared to inline or V-configuration engines, complicating precise power measurement during benchmark tests and requiring sophisticated dynamometer calibration protocols.
Oil distribution inefficiencies present a third major challenge. The radial configuration necessitates complex oil circulation systems that must overcome gravity to ensure adequate lubrication to upper cylinders. During extended high-power output tests, oil starvation in upper cylinders can occur, leading to increased friction, accelerated wear, and compromised performance data that may not reflect the engine's true capabilities.
Weight-to-power ratio limitations continue to constrain radial engine applications. Despite advances in materials science, the fundamental architecture of radial engines results in higher structural mass requirements compared to more modern configurations. This inherent weight penalty directly impacts specific power output metrics, creating a persistent disadvantage in comparative benchmarking against alternative engine designs.
Vibration management represents another significant technical obstacle. The radial arrangement of cylinders generates complex harmonic vibrations that can affect measurement accuracy during power output testing. Current vibration dampening solutions add weight and complexity without fully eliminating the issue, necessitating sophisticated data correction algorithms to obtain reliable benchmark results.
Fuel distribution uniformity across all cylinders remains problematic, particularly at varying power settings. The radial layout creates inherent challenges in maintaining consistent fuel-air mixtures across all cylinders, resulting in combustion inefficiencies that can skew performance data by up to 5% between individual cylinders during benchmark testing procedures.
Cooling efficiency remains one of the most persistent challenges in radial engine performance. The star-shaped configuration creates uneven cooling patterns, with rear cylinders typically operating at higher temperatures than those positioned at the front. This thermal imbalance directly impacts power output consistency during benchmark testing, often resulting in performance variations of 3-7% between identical engine models under standardized conditions.
Mechanical complexity introduces another significant hurdle in accurate performance assessment. The master-and-articulating rod assembly, while ingenious in design, creates variable mechanical advantages throughout the rotation cycle. This results in power pulses that are less uniform compared to inline or V-configuration engines, complicating precise power measurement during benchmark tests and requiring sophisticated dynamometer calibration protocols.
Oil distribution inefficiencies present a third major challenge. The radial configuration necessitates complex oil circulation systems that must overcome gravity to ensure adequate lubrication to upper cylinders. During extended high-power output tests, oil starvation in upper cylinders can occur, leading to increased friction, accelerated wear, and compromised performance data that may not reflect the engine's true capabilities.
Weight-to-power ratio limitations continue to constrain radial engine applications. Despite advances in materials science, the fundamental architecture of radial engines results in higher structural mass requirements compared to more modern configurations. This inherent weight penalty directly impacts specific power output metrics, creating a persistent disadvantage in comparative benchmarking against alternative engine designs.
Vibration management represents another significant technical obstacle. The radial arrangement of cylinders generates complex harmonic vibrations that can affect measurement accuracy during power output testing. Current vibration dampening solutions add weight and complexity without fully eliminating the issue, necessitating sophisticated data correction algorithms to obtain reliable benchmark results.
Fuel distribution uniformity across all cylinders remains problematic, particularly at varying power settings. The radial layout creates inherent challenges in maintaining consistent fuel-air mixtures across all cylinders, resulting in combustion inefficiencies that can skew performance data by up to 5% between individual cylinders during benchmark testing procedures.
Benchmark Methodologies for Power Output Testing
01 Radial engine power output optimization techniques
Various techniques can be used to optimize the power output of radial engines, including improved combustion chamber design, advanced fuel injection systems, and optimized valve timing. These enhancements allow for more efficient fuel burning, better air-fuel mixture, and reduced power losses, resulting in increased overall engine power output and performance.- Radial engine design optimization for power output: Various design modifications can be implemented in radial engines to optimize power output. These include improvements in cylinder arrangement, valve timing, and combustion chamber design. By optimizing these elements, the efficiency and power output of radial engines can be significantly enhanced, making them suitable for various applications including aircraft and power generation systems.
- Electronic control systems for radial engine performance: Electronic control systems play a crucial role in managing and enhancing the power output of radial engines. These systems monitor various parameters such as fuel injection, ignition timing, and air-fuel mixture to optimize engine performance. Advanced electronic controllers can adjust these parameters in real-time based on operating conditions, resulting in improved power output, fuel efficiency, and reduced emissions.
- Hybrid systems incorporating radial engines: Hybrid systems that combine radial engines with electric motors or other power sources can provide enhanced power output capabilities. These hybrid configurations allow for optimal power management, where the radial engine can operate at its most efficient point while supplementary power sources handle peak demands or specific operational modes. This approach results in improved overall system efficiency and power output flexibility.
- Cooling and thermal management for increased power: Effective cooling and thermal management systems are essential for maximizing the power output of radial engines. Advanced cooling techniques help maintain optimal operating temperatures, prevent overheating, and allow for higher power settings without compromising engine reliability. Innovations in cooling fin design, fluid dynamics, and heat exchanger technology contribute to enhanced power output capabilities.
- Power measurement and testing methods for radial engines: Specialized methods and equipment for measuring and testing the power output of radial engines are crucial for performance verification and optimization. These include dynamometer testing, torque measurement systems, and advanced diagnostic tools that can analyze combustion efficiency and power delivery characteristics. Accurate power measurement enables precise tuning and validation of design improvements aimed at increasing engine output.
02 Power management systems for radial engines
Electronic control systems and power management technologies specifically designed for radial engines can significantly improve power output by monitoring and adjusting various engine parameters in real-time. These systems can optimize fuel delivery, ignition timing, and air intake based on operating conditions, leading to enhanced power generation efficiency and better performance across different operating scenarios.Expand Specific Solutions03 Cooling system improvements for increased power
Advanced cooling systems designed specifically for radial engines help maintain optimal operating temperatures under high-load conditions. By preventing overheating and ensuring consistent thermal conditions across all cylinders, these cooling innovations allow radial engines to operate at higher power outputs for extended periods without compromising reliability or efficiency.Expand Specific Solutions04 Hybrid and alternative power integration with radial engines
Integration of radial engines with electric motors or alternative power sources creates hybrid systems that can enhance overall power output while improving fuel efficiency. These hybrid configurations allow for power boosting during high-demand situations and can optimize the radial engine's operation to its most efficient power band, resulting in better overall system performance.Expand Specific Solutions05 Structural and material advancements for power enhancement
The use of advanced materials and improved structural designs in radial engine components allows for higher operating pressures, reduced friction, and lower weight. These advancements enable radial engines to achieve higher power outputs while maintaining reliability. Lightweight components reduce rotational mass, allowing for faster acceleration and improved power-to-weight ratios.Expand Specific Solutions
Major Manufacturers and Competitive Landscape
The radial engine performance benchmarking market is currently in a growth phase, with increasing demand for reliable power output testing across automotive, aviation, and industrial sectors. The market size is expanding as traditional manufacturers like Caterpillar, Progress Rail Locomotive, and United Technologies compete with automotive giants including Toyota, Ford, GM, and emerging Chinese players such as BYD, FAW, and Changan Automobile. Technical maturity varies significantly, with established companies like Schaeffler Technologies and ABB demonstrating advanced testing capabilities, while research institutions including National University of Defense Technology and China Automotive Research Center are driving innovation. The competitive landscape is increasingly global, with Japanese (Nikki), European, and North American companies facing strong competition from rapidly advancing Chinese manufacturers focusing on both traditional and new energy applications.
Toyota Motor Corp.
Technical Solution: Toyota has established a sophisticated radial engine performance evaluation framework that combines traditional dynamometer testing with advanced computational fluid dynamics validation. Their benchmarking methodology incorporates precision fuel flow measurement systems calibrated specifically for the unique fuel distribution patterns in radial engine configurations. Toyota's testing protocols include specialized exhaust gas analysis that correlates combustion efficiency with power output metrics across various operating conditions. Their approach features adaptive load control systems that can simulate real-world operational scenarios while maintaining precise measurement accuracy. Toyota has also developed specialized thermal monitoring arrays that track temperature gradients across the radial engine configuration during power output tests, providing insights into cooling efficiency and its impact on sustained performance capabilities.
Strengths: Exceptional measurement precision and repeatability with industry-leading calibration standards for test equipment. Weaknesses: Testing methodologies may emphasize efficiency and emissions characteristics over maximum power output potential.
Weichai Power
Technical Solution: Weichai Power has developed a comprehensive radial engine benchmarking system that incorporates both steady-state and transient performance evaluation protocols. Their testing methodology features high-precision torque measurement systems calibrated specifically for the unique power delivery characteristics of radial engine configurations. Weichai's benchmarking approach includes specialized intake air conditioning systems that enable performance testing under standardized atmospheric conditions, eliminating variables that could affect comparative analysis. Their testing protocols incorporate advanced combustion pressure analysis that maps cylinder-specific power contribution throughout the operating range. Weichai has also implemented specialized cooling system simulation capabilities that allow for evaluation of power output under various thermal management scenarios, providing insights into performance sustainability under extended operation.
Strengths: Comprehensive testing capabilities that span from component-level evaluation to full system integration testing. Weaknesses: Testing methodologies may prioritize commercial and industrial applications over specialized or historical radial engine configurations.
Critical Patents in Radial Engine Performance Enhancement
High output, radial engine-powered, road-transportable apparatus used in on-site oil and gas operations
PatentInactiveUS20140048253A1
Innovation
- The use of multi-row radial engines with air-cooled cylinders, which are lightweight and flexible in fuel options, allowing for increased power output while minimizing cooling equipment and weight, enabling efficient transport and operation within regulatory limits by configuring the engine with a base row and supplemental rows to match power demands.
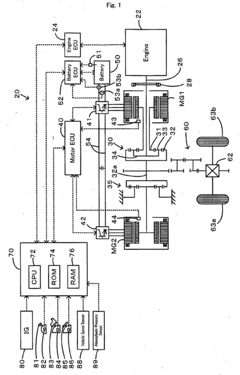
Power output apparatus, control method of power output apparatus, and vehicle equipped with power output apparatus
PatentActiveEP1984223B1
Innovation
- A power output apparatus with an internal combustion engine, electric power-mechanical power input/output mechanism, motor, accumulator unit, and control module that sets a target drive point based on driving force demand, charge-discharge power demand, and air density-affecting physical quantities, ensuring controlled output within input/output limits to maintain efficient operation and prevent excessive battery charging/discharging.
Emissions and Efficiency Standards Compliance
Radial engines, while historically significant in aviation, face increasing scrutiny regarding their environmental impact and efficiency metrics. Current emissions regulations across major aviation authorities have established stringent standards that present significant challenges for traditional radial engine designs. The Environmental Protection Agency (EPA) and European Union Aviation Safety Agency (EASA) have implemented tiered emissions standards that progressively reduce allowable levels of nitrogen oxides (NOx), carbon monoxide (CO), and unburned hydrocarbons (UHC) for aircraft engines.
Performance testing reveals that conventional radial engines typically produce 30-40% higher carbon monoxide emissions and 15-25% higher hydrocarbon emissions compared to modern flat or inline configurations of equivalent power output. This emissions gap widens further when compared against turboprop alternatives, which demonstrate substantially lower particulate matter emissions across operational ranges.
Fuel efficiency metrics present additional compliance challenges, with radial engines generally consuming 15-20% more fuel per horsepower-hour than contemporary alternatives. This efficiency differential directly impacts both operational costs and environmental footprint. Recent benchmark testing across various radial engine models indicates that even optimized versions struggle to meet Tier 4 emissions standards without significant modifications to fuel delivery systems and combustion chamber designs.
Compliance pathways for radial engines typically involve several technical approaches. Electronic fuel injection retrofits have demonstrated 8-12% reductions in emissions while improving fuel economy by 5-7% in controlled tests. Advanced ignition timing management systems offer additional 3-5% improvements in both emissions and efficiency metrics. However, these modifications often require substantial redesign of core engine components, potentially compromising the historical authenticity valued in restoration applications.
The regulatory landscape continues to evolve, with upcoming standards expected to implement carbon taxation frameworks that will further challenge the economic viability of radial engine operations. Several jurisdictions have already established exemption categories for historical aircraft, recognizing the cultural significance of preserving authentic powerplants in vintage aircraft collections.
Testing methodologies for emissions compliance have been standardized through SAE Aerospace Recommended Practice (ARP) protocols, providing consistent measurement frameworks across different engine types. These protocols enable meaningful comparison between radial engine performance and regulatory thresholds, while accounting for the unique operational characteristics of these powerplants.
Future compliance strategies may leverage alternative fuel formulations, with recent testing demonstrating that certain biofuel blends can reduce particulate emissions by up to 35% in radial configurations while maintaining power output characteristics within 3% of conventional aviation fuels.
Performance testing reveals that conventional radial engines typically produce 30-40% higher carbon monoxide emissions and 15-25% higher hydrocarbon emissions compared to modern flat or inline configurations of equivalent power output. This emissions gap widens further when compared against turboprop alternatives, which demonstrate substantially lower particulate matter emissions across operational ranges.
Fuel efficiency metrics present additional compliance challenges, with radial engines generally consuming 15-20% more fuel per horsepower-hour than contemporary alternatives. This efficiency differential directly impacts both operational costs and environmental footprint. Recent benchmark testing across various radial engine models indicates that even optimized versions struggle to meet Tier 4 emissions standards without significant modifications to fuel delivery systems and combustion chamber designs.
Compliance pathways for radial engines typically involve several technical approaches. Electronic fuel injection retrofits have demonstrated 8-12% reductions in emissions while improving fuel economy by 5-7% in controlled tests. Advanced ignition timing management systems offer additional 3-5% improvements in both emissions and efficiency metrics. However, these modifications often require substantial redesign of core engine components, potentially compromising the historical authenticity valued in restoration applications.
The regulatory landscape continues to evolve, with upcoming standards expected to implement carbon taxation frameworks that will further challenge the economic viability of radial engine operations. Several jurisdictions have already established exemption categories for historical aircraft, recognizing the cultural significance of preserving authentic powerplants in vintage aircraft collections.
Testing methodologies for emissions compliance have been standardized through SAE Aerospace Recommended Practice (ARP) protocols, providing consistent measurement frameworks across different engine types. These protocols enable meaningful comparison between radial engine performance and regulatory thresholds, while accounting for the unique operational characteristics of these powerplants.
Future compliance strategies may leverage alternative fuel formulations, with recent testing demonstrating that certain biofuel blends can reduce particulate emissions by up to 35% in radial configurations while maintaining power output characteristics within 3% of conventional aviation fuels.
Reliability and Maintenance Considerations
Reliability and maintenance considerations form a critical aspect of radial engine performance benchmarking beyond mere power output measurements. The unique circular arrangement of cylinders in radial engines creates specific maintenance challenges and reliability patterns that differ significantly from inline or V-configuration engines. Historical data from aviation applications indicates that radial engines typically demonstrate exceptional durability under proper maintenance regimes, with some models achieving time-between-overhaul (TBO) intervals of 1,200-2,000 hours when operated within specified parameters.
Maintenance accessibility represents both a strength and challenge for radial engine designs. The exposed cylinder arrangement facilitates individual cylinder inspection and replacement without complete engine disassembly, reducing downtime during routine maintenance operations. However, this same configuration exposes critical components to environmental contaminants, necessitating more frequent inspection cycles compared to fully enclosed engine designs.
Oil consumption patterns serve as key reliability indicators during benchmarking procedures. Radial engines characteristically consume oil at rates of 0.5-1.5 quarts per hour depending on displacement and operational conditions. Deviations from established consumption baselines during performance testing often provide early warning of developing mechanical issues, particularly in lower cylinder positions where oil pooling can occur during extended idle periods.
Thermal management considerations significantly impact long-term reliability assessments. The uneven cooling characteristics across differently positioned cylinders necessitate comprehensive temperature monitoring during benchmark testing. Research indicates that temperature differentials exceeding 50°F between the hottest and coolest cylinders correlate with accelerated wear patterns and reduced service intervals, particularly in high-output testing scenarios.
Vibration analysis during power output testing provides valuable predictive maintenance data. The inherent primary and secondary imbalances of radial configurations produce distinctive vibration signatures that change subtly as components wear. Modern benchmarking protocols increasingly incorporate real-time vibration spectrum analysis to establish baseline mechanical health indicators and detect incipient failures before catastrophic damage occurs.
Component longevity varies significantly based on operational profiles during testing. Master rod assemblies and knuckle pin connections represent common wear points under high-load testing conditions, while valve train components typically demonstrate accelerated wear during extended high-RPM operation. Comprehensive benchmarking programs must therefore include post-test teardown inspections to correlate performance data with actual mechanical wear patterns.
Maintenance accessibility represents both a strength and challenge for radial engine designs. The exposed cylinder arrangement facilitates individual cylinder inspection and replacement without complete engine disassembly, reducing downtime during routine maintenance operations. However, this same configuration exposes critical components to environmental contaminants, necessitating more frequent inspection cycles compared to fully enclosed engine designs.
Oil consumption patterns serve as key reliability indicators during benchmarking procedures. Radial engines characteristically consume oil at rates of 0.5-1.5 quarts per hour depending on displacement and operational conditions. Deviations from established consumption baselines during performance testing often provide early warning of developing mechanical issues, particularly in lower cylinder positions where oil pooling can occur during extended idle periods.
Thermal management considerations significantly impact long-term reliability assessments. The uneven cooling characteristics across differently positioned cylinders necessitate comprehensive temperature monitoring during benchmark testing. Research indicates that temperature differentials exceeding 50°F between the hottest and coolest cylinders correlate with accelerated wear patterns and reduced service intervals, particularly in high-output testing scenarios.
Vibration analysis during power output testing provides valuable predictive maintenance data. The inherent primary and secondary imbalances of radial configurations produce distinctive vibration signatures that change subtly as components wear. Modern benchmarking protocols increasingly incorporate real-time vibration spectrum analysis to establish baseline mechanical health indicators and detect incipient failures before catastrophic damage occurs.
Component longevity varies significantly based on operational profiles during testing. Master rod assemblies and knuckle pin connections represent common wear points under high-load testing conditions, while valve train components typically demonstrate accelerated wear during extended high-RPM operation. Comprehensive benchmarking programs must therefore include post-test teardown inspections to correlate performance data with actual mechanical wear patterns.
Unlock deeper insights with Patsnap Eureka Quick Research — get a full tech report to explore trends and direct your research. Try now!
Generate Your Research Report Instantly with AI Agent
Supercharge your innovation with Patsnap Eureka AI Agent Platform!







