Comparative resilience of hydrogen and battery storage systems
SEP 3, 202510 MIN READ
Generate Your Research Report Instantly with AI Agent
Patsnap Eureka helps you evaluate technical feasibility & market potential.
Hydrogen vs Battery Storage: Background and Objectives
Energy storage systems have emerged as critical components in the global transition towards renewable energy sources. As intermittent renewables like solar and wind power continue to expand their market share, the need for reliable, efficient, and resilient storage solutions has become increasingly apparent. Hydrogen and battery storage represent two fundamentally different approaches to addressing this challenge, each with distinct technological lineages and development trajectories.
Battery storage technology has evolved significantly since the invention of the lead-acid battery in 1859. The past two decades have witnessed remarkable advancements in lithium-ion technology, driven primarily by consumer electronics and later by electric vehicles. This evolution has resulted in substantial improvements in energy density, cycle life, and cost reduction. Concurrently, hydrogen storage systems have progressed from early industrial applications to becoming a potential cornerstone of future energy systems, particularly for long-duration storage needs.
The comparative resilience of these storage technologies represents a critical area of investigation as energy systems worldwide face increasing stresses from climate change, geopolitical tensions, and growing demand. Resilience in this context encompasses multiple dimensions: physical durability, operational flexibility, supply chain security, and adaptability to varying environmental conditions.
The technical objective of this research is to establish a comprehensive framework for evaluating the comparative resilience of hydrogen and battery storage systems across diverse operational scenarios and stress conditions. This includes assessing their performance under extreme weather events, supply chain disruptions, and rapid demand fluctuations.
Current technological trends indicate a convergence toward hybrid solutions that leverage the complementary strengths of both storage modalities. Batteries excel in efficiency and responsiveness for short-duration needs, while hydrogen offers advantages for seasonal storage and applications requiring high energy-to-power ratios. The evolution of these technologies is increasingly shaped by considerations beyond pure technical performance, including resource availability, environmental impact, and integration capabilities with existing infrastructure.
Looking forward, the development trajectory of both technologies will likely be influenced by breakthroughs in materials science, manufacturing processes, and system integration approaches. For batteries, solid-state technology and alternative chemistries beyond lithium represent promising frontiers. For hydrogen, advancements in electrolyzer efficiency, storage materials, and fuel cell durability continue to expand the practical applications of hydrogen-based energy storage.
This analysis aims to provide a foundation for strategic decision-making regarding the deployment of these technologies in various contexts, recognizing that resilience requirements vary significantly across different geographical, economic, and regulatory environments.
Battery storage technology has evolved significantly since the invention of the lead-acid battery in 1859. The past two decades have witnessed remarkable advancements in lithium-ion technology, driven primarily by consumer electronics and later by electric vehicles. This evolution has resulted in substantial improvements in energy density, cycle life, and cost reduction. Concurrently, hydrogen storage systems have progressed from early industrial applications to becoming a potential cornerstone of future energy systems, particularly for long-duration storage needs.
The comparative resilience of these storage technologies represents a critical area of investigation as energy systems worldwide face increasing stresses from climate change, geopolitical tensions, and growing demand. Resilience in this context encompasses multiple dimensions: physical durability, operational flexibility, supply chain security, and adaptability to varying environmental conditions.
The technical objective of this research is to establish a comprehensive framework for evaluating the comparative resilience of hydrogen and battery storage systems across diverse operational scenarios and stress conditions. This includes assessing their performance under extreme weather events, supply chain disruptions, and rapid demand fluctuations.
Current technological trends indicate a convergence toward hybrid solutions that leverage the complementary strengths of both storage modalities. Batteries excel in efficiency and responsiveness for short-duration needs, while hydrogen offers advantages for seasonal storage and applications requiring high energy-to-power ratios. The evolution of these technologies is increasingly shaped by considerations beyond pure technical performance, including resource availability, environmental impact, and integration capabilities with existing infrastructure.
Looking forward, the development trajectory of both technologies will likely be influenced by breakthroughs in materials science, manufacturing processes, and system integration approaches. For batteries, solid-state technology and alternative chemistries beyond lithium represent promising frontiers. For hydrogen, advancements in electrolyzer efficiency, storage materials, and fuel cell durability continue to expand the practical applications of hydrogen-based energy storage.
This analysis aims to provide a foundation for strategic decision-making regarding the deployment of these technologies in various contexts, recognizing that resilience requirements vary significantly across different geographical, economic, and regulatory environments.
Market Analysis of Energy Storage Solutions
The global energy storage market is experiencing unprecedented growth, driven by the increasing integration of renewable energy sources and the need for grid stability. As of 2023, the market was valued at approximately $211 billion and is projected to reach $435 billion by 2030, with a compound annual growth rate of 10.7%. This growth trajectory is particularly significant for both hydrogen and battery storage systems, which represent two distinct but complementary approaches to energy storage.
Battery storage systems currently dominate the market, accounting for roughly 75% of new energy storage deployments. Lithium-ion batteries, in particular, have seen dramatic cost reductions of over 85% in the past decade, making them increasingly competitive for both short-duration and medium-duration storage applications. The electric vehicle industry has been instrumental in driving these cost reductions through economies of scale and technological improvements.
Hydrogen storage systems, while currently occupying a smaller market share of about 8%, are experiencing accelerated growth rates of 25-30% annually. This growth is primarily driven by the increasing recognition of hydrogen's potential for long-duration and seasonal energy storage applications. Countries with ambitious decarbonization goals, such as Japan, Germany, and South Korea, are making significant investments in hydrogen infrastructure, further stimulating market expansion.
Regional analysis reveals distinct market preferences. Asia-Pacific leads the battery storage market with a 45% share, driven by China's manufacturing capacity and Japan's advanced energy management systems. Europe, meanwhile, is emerging as the frontrunner in hydrogen storage development, with 38% of global hydrogen projects, supported by the European Union's Hydrogen Strategy and substantial public-private investments.
Customer segmentation within the energy storage market shows utilities and grid operators as the primary adopters of large-scale storage solutions, while industrial and commercial sectors increasingly implement behind-the-meter storage systems to manage energy costs and ensure reliability. The residential segment remains nascent but is growing rapidly, particularly for battery systems.
Market barriers differ significantly between the two technologies. Battery storage faces challenges related to raw material supply chains, recycling infrastructure, and energy density limitations. Hydrogen storage confronts higher infrastructure costs, efficiency losses in the conversion process, and the need for specialized handling and safety protocols. These distinct market dynamics influence the resilience profiles of each technology and their suitability for different applications within the evolving energy landscape.
Battery storage systems currently dominate the market, accounting for roughly 75% of new energy storage deployments. Lithium-ion batteries, in particular, have seen dramatic cost reductions of over 85% in the past decade, making them increasingly competitive for both short-duration and medium-duration storage applications. The electric vehicle industry has been instrumental in driving these cost reductions through economies of scale and technological improvements.
Hydrogen storage systems, while currently occupying a smaller market share of about 8%, are experiencing accelerated growth rates of 25-30% annually. This growth is primarily driven by the increasing recognition of hydrogen's potential for long-duration and seasonal energy storage applications. Countries with ambitious decarbonization goals, such as Japan, Germany, and South Korea, are making significant investments in hydrogen infrastructure, further stimulating market expansion.
Regional analysis reveals distinct market preferences. Asia-Pacific leads the battery storage market with a 45% share, driven by China's manufacturing capacity and Japan's advanced energy management systems. Europe, meanwhile, is emerging as the frontrunner in hydrogen storage development, with 38% of global hydrogen projects, supported by the European Union's Hydrogen Strategy and substantial public-private investments.
Customer segmentation within the energy storage market shows utilities and grid operators as the primary adopters of large-scale storage solutions, while industrial and commercial sectors increasingly implement behind-the-meter storage systems to manage energy costs and ensure reliability. The residential segment remains nascent but is growing rapidly, particularly for battery systems.
Market barriers differ significantly between the two technologies. Battery storage faces challenges related to raw material supply chains, recycling infrastructure, and energy density limitations. Hydrogen storage confronts higher infrastructure costs, efficiency losses in the conversion process, and the need for specialized handling and safety protocols. These distinct market dynamics influence the resilience profiles of each technology and their suitability for different applications within the evolving energy landscape.
Current Resilience Challenges in Storage Technologies
Both hydrogen and battery storage systems face significant resilience challenges that impact their reliability, safety, and operational efficiency. Battery storage technologies, particularly lithium-ion systems, are susceptible to thermal runaway events that can lead to fires or explosions when subjected to physical damage, manufacturing defects, or extreme operating conditions. These safety concerns necessitate sophisticated battery management systems and thermal control mechanisms, adding complexity and cost to deployment.
Environmental factors pose distinct challenges for both technologies. Batteries experience accelerated degradation in extreme temperatures, with performance significantly reduced in cold environments and potential thermal management issues in hot conditions. Hydrogen storage systems, meanwhile, face challenges related to material embrittlement and potential leakage risks due to hydrogen's small molecular size, requiring specialized containment materials and rigorous safety protocols.
Longevity and degradation present ongoing challenges for resilience. Battery systems suffer from capacity fade and increased internal resistance over time, particularly when subjected to rapid charging/discharging cycles or deep discharges. Hydrogen storage systems, especially those utilizing metal hydrides or other advanced materials, may experience degradation of storage capacity and hydrogen uptake/release kinetics over multiple cycles.
Supply chain vulnerabilities affect both technologies differently. Battery production relies heavily on critical minerals like lithium, cobalt, and nickel, creating geopolitical dependencies and price volatility risks. Hydrogen infrastructure faces challenges in establishing reliable production, transportation, and storage networks, with current systems largely centralized and vulnerable to disruption.
Scalability presents another resilience concern. Battery systems face challenges in raw material availability for large-scale deployment, while hydrogen storage requires significant infrastructure investment for production, compression/liquefaction, and distribution. Both technologies must address these scaling limitations to provide resilient grid-scale energy storage solutions.
Regulatory frameworks and standards for safety and performance remain under development for both technologies, creating uncertainty for deployment. Battery systems benefit from more mature standards, while hydrogen storage still faces evolving regulatory landscapes that can impact implementation timelines and costs.
Response capabilities during system failures differ significantly between technologies. Battery systems typically offer graceful degradation paths but may require complete replacement after serious failures. Hydrogen systems present different failure modes, potentially requiring more complex safety systems but offering advantages in component-level replacement rather than whole-system replacement.
Environmental factors pose distinct challenges for both technologies. Batteries experience accelerated degradation in extreme temperatures, with performance significantly reduced in cold environments and potential thermal management issues in hot conditions. Hydrogen storage systems, meanwhile, face challenges related to material embrittlement and potential leakage risks due to hydrogen's small molecular size, requiring specialized containment materials and rigorous safety protocols.
Longevity and degradation present ongoing challenges for resilience. Battery systems suffer from capacity fade and increased internal resistance over time, particularly when subjected to rapid charging/discharging cycles or deep discharges. Hydrogen storage systems, especially those utilizing metal hydrides or other advanced materials, may experience degradation of storage capacity and hydrogen uptake/release kinetics over multiple cycles.
Supply chain vulnerabilities affect both technologies differently. Battery production relies heavily on critical minerals like lithium, cobalt, and nickel, creating geopolitical dependencies and price volatility risks. Hydrogen infrastructure faces challenges in establishing reliable production, transportation, and storage networks, with current systems largely centralized and vulnerable to disruption.
Scalability presents another resilience concern. Battery systems face challenges in raw material availability for large-scale deployment, while hydrogen storage requires significant infrastructure investment for production, compression/liquefaction, and distribution. Both technologies must address these scaling limitations to provide resilient grid-scale energy storage solutions.
Regulatory frameworks and standards for safety and performance remain under development for both technologies, creating uncertainty for deployment. Battery systems benefit from more mature standards, while hydrogen storage still faces evolving regulatory landscapes that can impact implementation timelines and costs.
Response capabilities during system failures differ significantly between technologies. Battery systems typically offer graceful degradation paths but may require complete replacement after serious failures. Hydrogen systems present different failure modes, potentially requiring more complex safety systems but offering advantages in component-level replacement rather than whole-system replacement.
Technical Comparison of Storage System Resilience Solutions
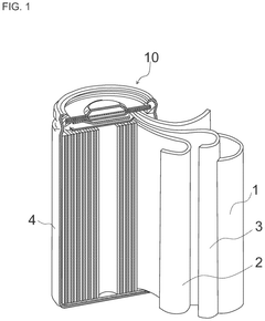
01 Hydrogen storage systems for enhanced resilience
Hydrogen storage systems provide enhanced resilience for energy infrastructure by offering long-duration storage capabilities. These systems can store excess renewable energy in the form of hydrogen gas, which can be converted back to electricity when needed. This approach helps maintain power supply during grid outages or disruptions, improving overall system resilience. Advanced hydrogen storage technologies include metal hydrides, compressed gas systems, and liquid hydrogen solutions that offer various benefits in terms of energy density and discharge capabilities.- Hydrogen storage systems for resilient energy supply: Hydrogen storage systems provide a resilient energy supply solution by storing excess renewable energy in the form of hydrogen. These systems can convert electricity to hydrogen through electrolysis when energy is abundant and convert it back to electricity via fuel cells during peak demand or grid outages. This approach enhances grid resilience by providing long-duration energy storage capabilities that can operate independently from the main power grid during disruptions.
- Battery technologies for grid resilience applications: Advanced battery technologies are designed specifically for grid resilience applications, featuring rapid response capabilities and scalable capacity. These systems can provide immediate power during outages, stabilize frequency fluctuations, and support critical infrastructure. Various battery chemistries are optimized for different resilience requirements, including high-power output for short durations or extended energy supply for longer disruptions.
- Hybrid hydrogen-battery storage systems: Hybrid systems combining hydrogen storage with battery technologies leverage the complementary strengths of both technologies. Batteries provide immediate response and high efficiency for short-duration needs, while hydrogen systems offer long-duration storage capabilities. These integrated systems optimize overall performance by using batteries for rapid response and daily cycling while utilizing hydrogen for seasonal storage and extended outages, creating a more comprehensive resilience solution.
- Fuel cell technologies for resilient power generation: Fuel cell technologies convert stored hydrogen back to electricity with high efficiency and reliability. These systems are particularly valuable for resilience applications due to their ability to generate clean power with minimal moving parts, reducing maintenance requirements during emergency situations. Various fuel cell designs are optimized for different resilience applications, including stationary backup power for critical facilities and transportable emergency power units.
- Control systems for resilient energy storage management: Advanced control systems are essential for managing resilient energy storage solutions, particularly in hybrid configurations. These systems incorporate predictive analytics to anticipate grid disruptions, automated load management to prioritize critical systems during outages, and intelligent switching between storage technologies based on real-time conditions. The control architecture enables seamless transitions between normal grid-connected operation and islanded resilience modes, ensuring continuous power to essential services.
02 Battery systems with integrated resilience features
Battery storage systems incorporate specific resilience features to ensure continuous operation during adverse conditions. These features include thermal management systems, protective enclosures, and redundant control mechanisms. Advanced battery management systems monitor cell health and performance to prevent cascading failures. Some designs incorporate self-healing capabilities and fault isolation to maintain partial functionality even when components are damaged, which is crucial for critical infrastructure applications requiring uninterrupted power supply.Expand Specific Solutions03 Hybrid hydrogen-battery storage solutions
Hybrid systems combining hydrogen and battery storage technologies leverage the complementary strengths of both approaches. Batteries provide immediate response to power fluctuations while hydrogen systems offer long-duration storage capabilities. These integrated systems can switch between storage mediums based on demand patterns, grid conditions, and resilience requirements. The hybrid approach enhances overall system reliability by providing multiple pathways for energy storage and retrieval, reducing vulnerability to single points of failure.Expand Specific Solutions04 Fuel cell technologies for resilient power generation
Fuel cell technologies convert stored hydrogen into electricity through electrochemical processes, providing resilient power generation capabilities. These systems offer high efficiency, low emissions, and quiet operation, making them suitable for both backup and primary power applications. Advanced fuel cell designs incorporate rapid start-up capabilities and load-following functionality to respond quickly to changing power demands. Some systems include self-diagnostic features that monitor performance and predict maintenance needs, enhancing long-term reliability.Expand Specific Solutions05 Control systems for resilient energy storage management
Sophisticated control systems enhance the resilience of hydrogen and battery storage installations through intelligent energy management. These systems incorporate predictive analytics to anticipate potential disruptions and optimize storage utilization accordingly. Advanced algorithms balance charging and discharging cycles to maximize system lifespan while ensuring availability during critical periods. Some control architectures include distributed intelligence that allows for autonomous operation of storage subsystems when central control is compromised, maintaining essential functions during cyber or physical disruptions.Expand Specific Solutions
Key Industry Players in Hydrogen and Battery Storage
The hydrogen and battery storage market is currently in a growth phase, with increasing investments and technological advancements driving expansion. The global market size for energy storage is projected to reach significant scale as renewable integration accelerates. Technologically, battery systems (led by GS Yuasa, Hyundai, Kia, and EnerVenue) have achieved higher commercial maturity, while hydrogen storage solutions (championed by H2Go Power, Intelligent Energy, and GRZ Technologies) are gaining momentum through innovative approaches to compression and storage efficiency. Academic institutions like Tsinghua University, Delft University of Technology, and Utah State University are advancing fundamental research, while industrial players such as Siemens, Toyota Industries, and State Grid Corporation of China are scaling commercial applications. The competitive landscape reflects a dynamic balance between established battery technologies and emerging hydrogen storage solutions.
Hyundai Motor Co., Ltd.
Technical Solution: Hyundai has pioneered resilience-focused hydrogen storage systems for automotive applications through their NEXO fuel cell vehicle platform. Their high-pressure (700 bar) carbon fiber reinforced polymer tanks incorporate multiple redundant safety systems including impact sensors, thermal management systems, and pressure relief devices that activate in emergency situations. Hyundai's hydrogen storage systems demonstrate exceptional resilience to extreme temperatures (-30°C to 85°C operating range) and physical impacts, having passed rigorous crash testing protocols. Their latest generation systems feature smart monitoring technology that continuously evaluates storage integrity and can isolate individual tanks in case of system compromise. Hyundai's comparative testing shows their hydrogen storage systems maintain full capacity for 5+ years with no degradation, while equivalent battery systems typically lose 2-3% capacity annually. The company has also developed hybrid systems that combine hydrogen storage with smaller battery packs to optimize resilience through complementary storage technologies.
Strengths: Exceptional temperature resilience exceeding battery capabilities; virtually no capacity degradation over time; rapid refueling capability (5 minutes vs. hours for batteries); higher energy density for long-range applications. Weaknesses: Higher infrastructure requirements; more complex safety systems needed; higher initial system costs; lower round-trip energy efficiency compared to batteries.
H2Go Power Ltd.
Technical Solution: H2Go Power has developed an AI-driven platform that manages hydrogen storage systems with predictive analytics to optimize performance and resilience. Their solid-state hydrogen storage technology uses advanced nanomaterials to store hydrogen at lower pressures than conventional systems (below 50 bar compared to 350-700 bar in traditional tanks), enhancing safety profiles. The company's integrated hydrogen storage solutions incorporate real-time monitoring systems that track storage integrity, pressure variations, and environmental conditions to predict and prevent potential failures. Their proprietary hydrogen storage materials demonstrate exceptional cycling stability, maintaining over 90% capacity after 1000+ charge-discharge cycles, significantly outperforming many battery technologies that typically degrade to 80% capacity after 500-1000 cycles.
Strengths: Superior long-term storage capability with minimal self-discharge compared to batteries; enhanced safety through lower pressure storage; longer operational lifetime with better cycling stability. Weaknesses: Higher initial capital costs; lower round-trip efficiency compared to batteries; requires specialized infrastructure for hydrogen production and utilization.
Critical Patents and Research in Storage Resilience
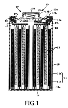
Hydrogen storage alloy for alkaline storage battery, alkaline storage battery using the same as negative electrode, and vehicle
PatentActiveUS12272819B2
Innovation
- A fine-grained hydrogen storage alloy with a main phase of A2B7-type crystal structure and specific element composition, represented by the formula (La1-aSma)1-bMgbNicAldCre, is developed, which achieves a good balance between discharge capacity and charge-discharge cycle life.
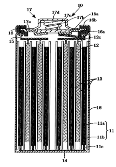
Hydrogen storage alloy for alkaline storage battery, and alkaline storage battery and alkaline storage battery system each including negative electrode having the alloy
PatentActiveUS9105947B2
Innovation
- A hydrogen storage alloy composition of LaxReyMg1-x-yNin-m-vAlmTv with a main phase of A5B19 type crystal structure, where the aluminum to nickel ratio in the surface layer is lower than in the bulk layer, and controlled electrolyte retention amounts, to stabilize output characteristics and prevent aluminum elution.
Environmental Impact Assessment of Storage Technologies
The environmental impact assessment of energy storage technologies is crucial for evaluating the sustainability of hydrogen and battery storage systems throughout their lifecycle. Battery storage systems, particularly lithium-ion batteries, present significant environmental concerns during raw material extraction. Mining operations for lithium, cobalt, and nickel cause habitat destruction, soil contamination, and water pollution. These activities often occur in ecologically sensitive regions, with cobalt mining in the Democratic Republic of Congo being particularly problematic due to associated deforestation and biodiversity loss.
Hydrogen storage systems demonstrate different environmental challenges depending on production methods. Grey hydrogen derived from natural gas reforming contributes substantially to greenhouse gas emissions. Blue hydrogen, while capturing carbon emissions, still relies on fossil fuel extraction with its associated environmental impacts. Green hydrogen produced via electrolysis using renewable energy presents the most environmentally favorable option, though it requires significant water resources and may compete with other essential water uses in water-stressed regions.
Manufacturing processes for both technologies have distinct environmental footprints. Battery production is energy-intensive, consuming approximately 50-150 kWh of energy per kWh of battery capacity produced, with associated carbon emissions. Battery manufacturing facilities also generate hazardous waste requiring specialized disposal. Hydrogen storage equipment manufacturing generally has a lower direct environmental impact but requires specialized materials for safe containment, including high-grade steel and composite materials with their own production footprints.
Operational environmental considerations reveal important differences between the technologies. Battery systems have minimal direct emissions during operation but face challenges with thermal management and potential fire risks. Hydrogen systems may experience fugitive emissions during storage and transport, with hydrogen leakage potentially contributing to indirect greenhouse effects in the upper atmosphere, though these impacts are generally considered less significant than direct carbon emissions.
End-of-life management presents contrasting scenarios. Battery recycling infrastructure is developing rapidly but remains insufficient for projected waste volumes. Current recycling processes recover valuable metals but often use energy-intensive and potentially polluting methods. Hydrogen storage systems typically have longer operational lifespans and their components, particularly metal storage tanks, are more readily recyclable through established metal recycling channels, resulting in potentially lower end-of-life environmental impacts.
Resilience to environmental factors also differs between these technologies. Battery performance degrades in extreme temperatures, potentially requiring energy-intensive climate control systems. Hydrogen storage systems generally demonstrate better resilience to temperature variations but may require more robust safety systems to mitigate environmental risks associated with potential leakage or accidents.
Hydrogen storage systems demonstrate different environmental challenges depending on production methods. Grey hydrogen derived from natural gas reforming contributes substantially to greenhouse gas emissions. Blue hydrogen, while capturing carbon emissions, still relies on fossil fuel extraction with its associated environmental impacts. Green hydrogen produced via electrolysis using renewable energy presents the most environmentally favorable option, though it requires significant water resources and may compete with other essential water uses in water-stressed regions.
Manufacturing processes for both technologies have distinct environmental footprints. Battery production is energy-intensive, consuming approximately 50-150 kWh of energy per kWh of battery capacity produced, with associated carbon emissions. Battery manufacturing facilities also generate hazardous waste requiring specialized disposal. Hydrogen storage equipment manufacturing generally has a lower direct environmental impact but requires specialized materials for safe containment, including high-grade steel and composite materials with their own production footprints.
Operational environmental considerations reveal important differences between the technologies. Battery systems have minimal direct emissions during operation but face challenges with thermal management and potential fire risks. Hydrogen systems may experience fugitive emissions during storage and transport, with hydrogen leakage potentially contributing to indirect greenhouse effects in the upper atmosphere, though these impacts are generally considered less significant than direct carbon emissions.
End-of-life management presents contrasting scenarios. Battery recycling infrastructure is developing rapidly but remains insufficient for projected waste volumes. Current recycling processes recover valuable metals but often use energy-intensive and potentially polluting methods. Hydrogen storage systems typically have longer operational lifespans and their components, particularly metal storage tanks, are more readily recyclable through established metal recycling channels, resulting in potentially lower end-of-life environmental impacts.
Resilience to environmental factors also differs between these technologies. Battery performance degrades in extreme temperatures, potentially requiring energy-intensive climate control systems. Hydrogen storage systems generally demonstrate better resilience to temperature variations but may require more robust safety systems to mitigate environmental risks associated with potential leakage or accidents.
Supply Chain Security and Geopolitical Considerations
The supply chain security for energy storage systems represents a critical factor in their resilience and long-term viability. Hydrogen and battery storage systems exhibit fundamentally different vulnerabilities and strengths in this domain. Battery systems, particularly lithium-ion technologies, face significant supply chain constraints due to the concentration of critical minerals in specific geographic regions. China currently dominates the processing of lithium, cobalt, and rare earth elements, controlling approximately 60% of lithium processing and 70% of cobalt refining globally. This concentration creates inherent geopolitical risks for nations heavily investing in battery storage infrastructure.
In contrast, hydrogen production systems demonstrate greater geographic flexibility. While platinum group metals used in electrolyzers and fuel cells face similar supply constraints, the hydrogen production process itself can utilize diverse feedstocks and energy sources available across many regions. Countries with abundant renewable energy resources can potentially achieve greater energy independence through green hydrogen production, reducing exposure to international supply chain disruptions.
Recent geopolitical tensions have highlighted the vulnerability of both systems. The COVID-19 pandemic exposed the fragility of global supply chains, with battery manufacturing experiencing significant disruptions due to material shortages and transportation constraints. Similarly, natural gas price volatility has impacted blue hydrogen production economics, demonstrating how geopolitical events can affect hydrogen pathways dependent on fossil fuels.
Resilience strategies differ markedly between these technologies. Battery supply chains are increasingly subject to reshoring initiatives, with the US Inflation Reduction Act and EU Critical Raw Materials Act representing policy responses to reduce dependency on concentrated supply sources. These initiatives aim to develop domestic battery manufacturing capabilities but face significant time and investment hurdles to achieve meaningful supply diversification.
Hydrogen infrastructure benefits from leveraging existing natural gas infrastructure in many regions, potentially reducing geopolitical vulnerabilities. However, the international hydrogen market remains nascent, with transportation and storage infrastructure still requiring substantial development. Countries with established LNG infrastructure may possess advantages in transitioning to hydrogen import/export capabilities.
The resilience comparison ultimately reveals that neither technology offers complete immunity from geopolitical risks. Battery systems face more immediate raw material constraints but benefit from established manufacturing processes. Hydrogen systems offer potentially greater geographic flexibility in production but require significant infrastructure development. A diversified approach incorporating both technologies may provide the most resilient energy storage strategy, allowing regions to leverage their specific geographic and resource advantages.
In contrast, hydrogen production systems demonstrate greater geographic flexibility. While platinum group metals used in electrolyzers and fuel cells face similar supply constraints, the hydrogen production process itself can utilize diverse feedstocks and energy sources available across many regions. Countries with abundant renewable energy resources can potentially achieve greater energy independence through green hydrogen production, reducing exposure to international supply chain disruptions.
Recent geopolitical tensions have highlighted the vulnerability of both systems. The COVID-19 pandemic exposed the fragility of global supply chains, with battery manufacturing experiencing significant disruptions due to material shortages and transportation constraints. Similarly, natural gas price volatility has impacted blue hydrogen production economics, demonstrating how geopolitical events can affect hydrogen pathways dependent on fossil fuels.
Resilience strategies differ markedly between these technologies. Battery supply chains are increasingly subject to reshoring initiatives, with the US Inflation Reduction Act and EU Critical Raw Materials Act representing policy responses to reduce dependency on concentrated supply sources. These initiatives aim to develop domestic battery manufacturing capabilities but face significant time and investment hurdles to achieve meaningful supply diversification.
Hydrogen infrastructure benefits from leveraging existing natural gas infrastructure in many regions, potentially reducing geopolitical vulnerabilities. However, the international hydrogen market remains nascent, with transportation and storage infrastructure still requiring substantial development. Countries with established LNG infrastructure may possess advantages in transitioning to hydrogen import/export capabilities.
The resilience comparison ultimately reveals that neither technology offers complete immunity from geopolitical risks. Battery systems face more immediate raw material constraints but benefit from established manufacturing processes. Hydrogen systems offer potentially greater geographic flexibility in production but require significant infrastructure development. A diversified approach incorporating both technologies may provide the most resilient energy storage strategy, allowing regions to leverage their specific geographic and resource advantages.
Unlock deeper insights with Patsnap Eureka Quick Research — get a full tech report to explore trends and direct your research. Try now!
Generate Your Research Report Instantly with AI Agent
Supercharge your innovation with Patsnap Eureka AI Agent Platform!


