Comparing HPLC Detectors: UV vs Refractive Index
SEP 19, 20259 MIN READ
Generate Your Research Report Instantly with AI Agent
Patsnap Eureka helps you evaluate technical feasibility & market potential.
HPLC Detection Technology Background and Objectives
High-Performance Liquid Chromatography (HPLC) has evolved significantly since its inception in the late 1960s, becoming an indispensable analytical technique in pharmaceutical, chemical, environmental, and food industries. The detection system represents a critical component of any HPLC setup, directly influencing the sensitivity, selectivity, and overall analytical capability of the instrument.
The evolution of HPLC detection technology has been characterized by continuous innovation aimed at enhancing detection limits, expanding the range of detectable compounds, and improving reliability. Early HPLC systems primarily relied on UV detection, which became commercially available in the 1970s. Refractive Index (RI) detectors emerged as an alternative, particularly valuable for compounds lacking chromophores.
Today's HPLC detection landscape encompasses numerous technologies beyond UV and RI, including fluorescence, electrochemical, evaporative light scattering, and mass spectrometry detectors. Each technology addresses specific analytical challenges and offers unique advantages for particular applications.
The comparison between UV and RI detection represents a fundamental consideration in HPLC method development. UV detectors leverage the absorption of ultraviolet light by molecular structures containing chromophores, offering excellent sensitivity for aromatic compounds, conjugated systems, and molecules with certain functional groups. Modern UV detectors have evolved to include diode array capabilities, enabling simultaneous multi-wavelength detection and spectral analysis.
Refractive Index detectors, conversely, operate on the principle of measuring differences in refractive index between the mobile phase and the analyte. This universal detection approach proves invaluable for compounds lacking UV-absorbing groups, such as carbohydrates, alcohols, fatty acids, and polymers.
The primary objective of this technical research report is to provide a comprehensive comparison of UV and RI detection technologies in HPLC applications. We aim to evaluate their respective strengths, limitations, and optimal application scenarios to guide informed decision-making in analytical method development.
Additionally, this report seeks to explore recent technological advancements in both detection methods, identify emerging trends, and anticipate future developments that may enhance their capabilities or address current limitations. Understanding the fundamental principles, operational parameters, and practical considerations of these detection technologies is essential for maximizing analytical performance and expanding the scope of HPLC applications.
By thoroughly examining these two cornerstone detection technologies, we intend to establish a framework for selecting the most appropriate detector based on specific analytical requirements, compound characteristics, and operational constraints.
The evolution of HPLC detection technology has been characterized by continuous innovation aimed at enhancing detection limits, expanding the range of detectable compounds, and improving reliability. Early HPLC systems primarily relied on UV detection, which became commercially available in the 1970s. Refractive Index (RI) detectors emerged as an alternative, particularly valuable for compounds lacking chromophores.
Today's HPLC detection landscape encompasses numerous technologies beyond UV and RI, including fluorescence, electrochemical, evaporative light scattering, and mass spectrometry detectors. Each technology addresses specific analytical challenges and offers unique advantages for particular applications.
The comparison between UV and RI detection represents a fundamental consideration in HPLC method development. UV detectors leverage the absorption of ultraviolet light by molecular structures containing chromophores, offering excellent sensitivity for aromatic compounds, conjugated systems, and molecules with certain functional groups. Modern UV detectors have evolved to include diode array capabilities, enabling simultaneous multi-wavelength detection and spectral analysis.
Refractive Index detectors, conversely, operate on the principle of measuring differences in refractive index between the mobile phase and the analyte. This universal detection approach proves invaluable for compounds lacking UV-absorbing groups, such as carbohydrates, alcohols, fatty acids, and polymers.
The primary objective of this technical research report is to provide a comprehensive comparison of UV and RI detection technologies in HPLC applications. We aim to evaluate their respective strengths, limitations, and optimal application scenarios to guide informed decision-making in analytical method development.
Additionally, this report seeks to explore recent technological advancements in both detection methods, identify emerging trends, and anticipate future developments that may enhance their capabilities or address current limitations. Understanding the fundamental principles, operational parameters, and practical considerations of these detection technologies is essential for maximizing analytical performance and expanding the scope of HPLC applications.
By thoroughly examining these two cornerstone detection technologies, we intend to establish a framework for selecting the most appropriate detector based on specific analytical requirements, compound characteristics, and operational constraints.
Market Analysis of HPLC Detector Applications
The global HPLC detector market continues to experience robust growth, valued at approximately $1.2 billion in 2023 with projections to reach $1.8 billion by 2028, representing a compound annual growth rate of 8.4%. This growth is primarily driven by increasing applications in pharmaceutical research, biotechnology, food safety testing, and environmental monitoring sectors.
UV detectors currently dominate the market with approximately 65% market share due to their versatility, reliability, and cost-effectiveness. They are particularly prevalent in pharmaceutical quality control and academic research settings. Refractive Index (RI) detectors hold approximately 15% of the market share, finding their niche in applications involving compounds lacking chromophores, such as carbohydrates, lipids, and polymers.
Regional analysis reveals North America as the largest market for HPLC detectors, accounting for 38% of global revenue, followed by Europe (30%) and Asia-Pacific (25%). The Asia-Pacific region, particularly China and India, is experiencing the fastest growth rate at 10.2% annually, driven by expanding pharmaceutical manufacturing capabilities and increasing research activities.
End-user segmentation shows pharmaceuticals and biotechnology companies as the primary consumers (55%), followed by academic and research institutions (20%), food and beverage industry (12%), and environmental testing laboratories (8%). The pharmaceutical sector's dominance is attributed to stringent regulatory requirements for drug development and quality control processes.
Market trends indicate a growing preference for integrated HPLC systems with multiple detection capabilities, allowing simultaneous analysis using both UV and RI detection methods. This trend is particularly evident in research institutions and contract research organizations seeking to maximize analytical capabilities while minimizing capital expenditure.
Price sensitivity analysis reveals significant variation across market segments. While high-end research facilities prioritize detection sensitivity and resolution capabilities, smaller laboratories and educational institutions demonstrate greater price sensitivity, creating demand for cost-effective solutions with adequate performance specifications.
Future market projections suggest continued growth for both detector types, with UV detectors maintaining dominance while RI detectors experience accelerated growth in specialized applications. Technological advancements focusing on improved sensitivity, reduced maintenance requirements, and enhanced integration capabilities are expected to drive replacement cycles and market expansion in both developed and emerging markets.
UV detectors currently dominate the market with approximately 65% market share due to their versatility, reliability, and cost-effectiveness. They are particularly prevalent in pharmaceutical quality control and academic research settings. Refractive Index (RI) detectors hold approximately 15% of the market share, finding their niche in applications involving compounds lacking chromophores, such as carbohydrates, lipids, and polymers.
Regional analysis reveals North America as the largest market for HPLC detectors, accounting for 38% of global revenue, followed by Europe (30%) and Asia-Pacific (25%). The Asia-Pacific region, particularly China and India, is experiencing the fastest growth rate at 10.2% annually, driven by expanding pharmaceutical manufacturing capabilities and increasing research activities.
End-user segmentation shows pharmaceuticals and biotechnology companies as the primary consumers (55%), followed by academic and research institutions (20%), food and beverage industry (12%), and environmental testing laboratories (8%). The pharmaceutical sector's dominance is attributed to stringent regulatory requirements for drug development and quality control processes.
Market trends indicate a growing preference for integrated HPLC systems with multiple detection capabilities, allowing simultaneous analysis using both UV and RI detection methods. This trend is particularly evident in research institutions and contract research organizations seeking to maximize analytical capabilities while minimizing capital expenditure.
Price sensitivity analysis reveals significant variation across market segments. While high-end research facilities prioritize detection sensitivity and resolution capabilities, smaller laboratories and educational institutions demonstrate greater price sensitivity, creating demand for cost-effective solutions with adequate performance specifications.
Future market projections suggest continued growth for both detector types, with UV detectors maintaining dominance while RI detectors experience accelerated growth in specialized applications. Technological advancements focusing on improved sensitivity, reduced maintenance requirements, and enhanced integration capabilities are expected to drive replacement cycles and market expansion in both developed and emerging markets.
Current Status and Challenges in HPLC Detection
High-performance liquid chromatography (HPLC) detection technology has evolved significantly over the past decades, with UV and refractive index (RI) detectors representing two of the most widely used detection methods in analytical laboratories worldwide. The current global HPLC detector market is estimated at approximately $1.2 billion, with a compound annual growth rate of 5-7%, indicating steady technological advancement and market expansion.
UV detection technology currently dominates the HPLC detector landscape, accounting for approximately 65-70% of all detector installations. Modern UV detectors offer impressive sensitivity ranges down to 10^-9 g/mL for strongly absorbing compounds, with linear dynamic ranges spanning four orders of magnitude. Variable wavelength detectors (VWD) and diode array detectors (DAD) represent the current state-of-the-art in UV detection technology, with the latter gaining significant market share due to its spectral scanning capabilities.
Refractive index detection, while less prevalent (approximately 15% market share), remains irreplaceable for detecting compounds lacking chromophores. Current RI detectors offer sensitivity in the range of 10^-7 g/mL, with improvements in temperature control systems significantly enhancing baseline stability compared to earlier generations. However, RI detection continues to face fundamental limitations in gradient compatibility that technological advances have yet to overcome.
The geographical distribution of HPLC detection technology development shows concentration in North America, Europe, and East Asia, with companies like Waters, Agilent, and Shimadzu leading innovation. Recent patent filings indicate increasing research activity in China, suggesting an emerging shift in the innovation landscape.
Key technical challenges currently facing HPLC detection include sensitivity limitations, particularly for RI detection which lags behind UV by several orders of magnitude. Temperature stability remains problematic for RI detectors, with even minor fluctuations (0.001°C) causing significant baseline drift. For UV detection, the primary challenges involve extending detection capabilities to lower wavelengths (<190 nm) and improving linearity at high concentrations.
Miniaturization represents another significant challenge, as the industry moves toward more compact and portable analytical systems. Current detector designs struggle to maintain performance specifications when reduced in size, particularly for optical path length in UV detection and temperature control in RI systems.
Integration with modern data systems presents additional challenges, with older detector models often requiring specialized interfaces to communicate with current chromatography data systems. The industry is gradually addressing this through standardized communication protocols, though legacy equipment compatibility remains problematic in many laboratories.
UV detection technology currently dominates the HPLC detector landscape, accounting for approximately 65-70% of all detector installations. Modern UV detectors offer impressive sensitivity ranges down to 10^-9 g/mL for strongly absorbing compounds, with linear dynamic ranges spanning four orders of magnitude. Variable wavelength detectors (VWD) and diode array detectors (DAD) represent the current state-of-the-art in UV detection technology, with the latter gaining significant market share due to its spectral scanning capabilities.
Refractive index detection, while less prevalent (approximately 15% market share), remains irreplaceable for detecting compounds lacking chromophores. Current RI detectors offer sensitivity in the range of 10^-7 g/mL, with improvements in temperature control systems significantly enhancing baseline stability compared to earlier generations. However, RI detection continues to face fundamental limitations in gradient compatibility that technological advances have yet to overcome.
The geographical distribution of HPLC detection technology development shows concentration in North America, Europe, and East Asia, with companies like Waters, Agilent, and Shimadzu leading innovation. Recent patent filings indicate increasing research activity in China, suggesting an emerging shift in the innovation landscape.
Key technical challenges currently facing HPLC detection include sensitivity limitations, particularly for RI detection which lags behind UV by several orders of magnitude. Temperature stability remains problematic for RI detectors, with even minor fluctuations (0.001°C) causing significant baseline drift. For UV detection, the primary challenges involve extending detection capabilities to lower wavelengths (<190 nm) and improving linearity at high concentrations.
Miniaturization represents another significant challenge, as the industry moves toward more compact and portable analytical systems. Current detector designs struggle to maintain performance specifications when reduced in size, particularly for optical path length in UV detection and temperature control in RI systems.
Integration with modern data systems presents additional challenges, with older detector models often requiring specialized interfaces to communicate with current chromatography data systems. The industry is gradually addressing this through standardized communication protocols, though legacy equipment compatibility remains problematic in many laboratories.
Technical Comparison of UV and RI Detection Methods
01 UV detector principles and applications in HPLC
UV detectors operate based on the absorption of ultraviolet light by analytes in the mobile phase. They are widely used in HPLC systems due to their high sensitivity for compounds with chromophores. UV detectors can detect a wide range of organic compounds and are particularly effective for analyzing aromatic compounds, proteins, and nucleic acids. They typically operate in wavelength ranges from 190-400 nm and can be configured as fixed wavelength, variable wavelength, or diode array detectors for spectral analysis.- UV detector principles and applications in HPLC: UV detectors operate based on the absorption of ultraviolet light by analytes in the mobile phase. They are widely used in HPLC systems due to their high sensitivity for compounds with chromophores. UV detectors can detect a wide range of organic compounds and are particularly effective for analyzing aromatic compounds, conjugated systems, and molecules with functional groups that absorb in the UV spectrum. Modern UV detectors offer variable wavelength capabilities, allowing for optimization of detection parameters based on the specific analytes being studied.
- Refractive Index detector characteristics and limitations: Refractive Index (RI) detectors measure the change in refractive index of the mobile phase as analytes pass through the flow cell. Unlike UV detectors, RI detectors are universal detectors capable of detecting virtually any compound that has a different refractive index than the mobile phase. However, they have lower sensitivity compared to UV detectors and are highly sensitive to temperature fluctuations, pressure changes, and flow rate variations. RI detectors are particularly useful for detecting compounds that lack chromophores, such as carbohydrates, alcohols, and fatty acids, which cannot be easily detected by UV detectors.
- Comparative analysis of UV and RI detection methods: When comparing UV and RI detection methods, several factors must be considered. UV detectors offer higher sensitivity and selectivity for compounds with chromophores but cannot detect compounds without UV-absorbing groups. RI detectors provide universal detection capabilities but with lower sensitivity and are more susceptible to environmental factors. UV detectors allow gradient elution, while RI detectors typically require isocratic conditions. The choice between these detection methods depends on the specific analytes being studied, required sensitivity, and experimental conditions. In some applications, both detectors may be used in series to provide complementary information.
- Advanced detection technologies and hybrid systems: Recent advancements in HPLC detection technology include the development of hybrid systems that combine multiple detection methods. These systems may integrate UV and RI detection with other techniques such as mass spectrometry, fluorescence detection, or electrochemical detection. Diode array detectors (DAD) extend the capabilities of traditional UV detectors by capturing full UV-visible spectra rather than single wavelengths. Multi-angle light scattering combined with RI detection enhances molecular characterization capabilities. These advanced detection technologies improve analytical sensitivity, selectivity, and provide more comprehensive characterization of complex samples.
- Sample-specific detection optimization strategies: Optimizing detection parameters based on sample characteristics is crucial for achieving maximum sensitivity and accuracy in HPLC analysis. For UV detection, wavelength selection should be based on the absorption maxima of target analytes, while for RI detection, careful selection of mobile phase composition can enhance the refractive index difference between analytes and mobile phase. Temperature control is particularly important for RI detection to minimize baseline drift. Sample preparation techniques, such as derivatization, can enhance detection capabilities by introducing chromophores to non-UV absorbing compounds. Method development should consider the physicochemical properties of analytes to determine the most appropriate detection strategy.
02 Refractive Index detector capabilities and limitations
Refractive Index (RI) detectors measure the change in refractive index between the mobile phase and the sample. They are universal detectors capable of detecting virtually any compound that differs in refractive index from the mobile phase. RI detectors are particularly useful for compounds lacking chromophores that cannot be detected by UV. However, they have lower sensitivity compared to UV detectors and are highly sensitive to temperature fluctuations, pressure changes, and flow rate variations, requiring careful control of these parameters during analysis.Expand Specific Solutions03 Comparative analysis of UV and RI detection methods
UV and RI detectors offer complementary capabilities in HPLC analysis. UV detectors provide higher sensitivity and selectivity for compounds with chromophores, while RI detectors offer universal detection capabilities. UV detectors allow gradient elution methods, whereas RI detectors typically require isocratic conditions. The choice between these detectors depends on the analyte properties, required sensitivity, and specific application requirements. In some cases, both detectors may be used in series to provide comprehensive analysis of complex samples.Expand Specific Solutions04 Advanced technological improvements in detector design
Recent technological advancements have enhanced the capabilities of both UV and RI detectors. Modern UV detectors incorporate diode array technology allowing simultaneous detection at multiple wavelengths and spectral analysis. Improvements in RI detector design include better temperature control systems, reduced noise levels, and enhanced baseline stability. Digital signal processing, microfluidic technologies, and miniaturization have led to more compact, sensitive, and reliable detectors with improved detection limits and broader dynamic ranges.Expand Specific Solutions05 Specialized applications and combined detection systems
Specialized applications leverage the unique capabilities of UV and RI detectors. UV detectors excel in pharmaceutical analysis, environmental monitoring, and biological sample analysis. RI detectors are preferred for carbohydrate analysis, polymer characterization, and lipid profiling. Combined detection systems incorporating both UV and RI detectors, along with other detection methods such as mass spectrometry or evaporative light scattering, provide comprehensive analytical capabilities for complex samples. These hyphenated techniques enhance identification and quantification capabilities across diverse analytical challenges.Expand Specific Solutions
Major Manufacturers and Competitive Landscape
The HPLC detector market is currently in a mature growth phase with increasing adoption across pharmaceutical, biotechnology, and chemical analysis sectors. The global market size for HPLC detectors is expanding steadily, driven by growing demand for precise analytical instruments in drug development and quality control. UV detectors dominate due to their versatility and cost-effectiveness, while Refractive Index detectors serve niche applications requiring universal detection capabilities. Leading companies like Roche Diagnostics, F. Hoffmann-La Roche, Takeda Pharmaceutical, and Malvern Panalytical have established strong technological foundations in this space, with emerging competition from Postnova Analytics focusing on specialized detection solutions. The technology continues to evolve with major players investing in enhanced sensitivity, selectivity, and integration capabilities for complex analytical challenges.
Roche Diagnostics GmbH
Technical Solution: Roche Diagnostics has pioneered high-performance HPLC systems incorporating both UV and RI detection technologies for clinical diagnostics and pharmaceutical analysis. Their cobas® HPLC platforms feature dual-detection capabilities with UV detection operating at multiple wavelengths (190-800 nm) for selective compound identification and RI detection for carbohydrates, lipids, and other non-chromophoric compounds. Roche's systems employ proprietary temperature stabilization technology for their RI detectors, reducing baseline drift to <1×10^-7 RIU/hour[3]. Their integrated data management software allows automated switching between detection modes based on analyte properties. For pharmaceutical applications, Roche's systems provide method development tools that help analysts select optimal detection parameters based on sample characteristics and regulatory requirements[4].
Strengths: Exceptional stability and precision in clinical diagnostic applications; comprehensive software support for method development; robust validation protocols meeting regulatory requirements. Weaknesses: Systems are optimized for clinical/pharmaceutical workflows rather than general research applications; higher initial investment compared to academic-focused systems.
Malvern Panalytical Ltd.
Technical Solution: Malvern Panalytical has developed sophisticated HPLC detector systems focusing on materials characterization and pharmaceutical analysis. Their OMNISEC platform integrates multiple detection technologies including UV and RI detectors with advanced light scattering capabilities. The UV detection system operates across 190-900 nm with a noise specification of ±2×10^-5 AU, while their RI detector achieves sensitivity of 1×10^-7 RIU with temperature control to 0.01°C[5]. Malvern's approach emphasizes detector combination for comprehensive characterization, particularly for polymer analysis where UV detection identifies specific chemical groups while RI provides concentration data regardless of chromophoric properties. Their proprietary software enables deconvolution of complex chromatograms using data from both detector types simultaneously, allowing characterization of samples with varying UV absorption properties[6].
Strengths: Exceptional detector sensitivity and stability; specialized in polymer and macromolecule analysis; advanced software for multi-detector data integration and interpretation. Weaknesses: Systems are optimized for specific application areas rather than general-purpose analysis; higher complexity requires more user training; premium pricing compared to basic HPLC systems.
Key Patents and Innovations in HPLC Detection
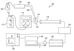
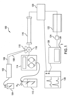
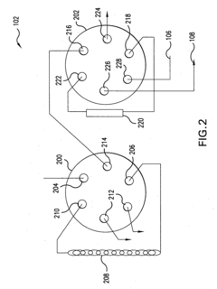
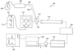
Platform for analysis of liquid samples
PatentInactiveUS20040235187A1
Innovation
- A system comprising pre-concentration chromatographic columns, a solvent delivery system, analytical chromatographic columns, a variable wavelength detector, and an electrochemical detector, specifically a photo-assisted electrochemical detector, for on-site analysis of liquid samples, allowing for the retention, elution, and separation of analytes without the need for large sample volumes or transportation.
Platform for analysis liquid samples
PatentInactiveUS7923259B2
Innovation
- A sampling and analysis apparatus using pre-concentration chromatographic columns, a solvent delivery system, analytical chromatographic columns, a variable wavelength detector, and an electrochemical detector, specifically a photo-assisted electrochemical detector, to retain and separate analytes from liquid samples, allowing for on-site analysis without large sample volumes or transportation.
Cost-Benefit Analysis of Detection Technologies
When evaluating HPLC detection technologies, cost-benefit analysis provides crucial insights for laboratory managers and researchers making investment decisions. UV detectors typically range from $2,000 to $10,000, while Refractive Index (RI) detectors generally cost between $5,000 and $15,000. However, initial acquisition costs represent only one dimension of the total economic picture.
Operational expenses differ significantly between these technologies. UV detectors consume less power and require fewer consumables, resulting in lower running costs. Maintenance requirements for UV detectors are also generally less demanding, with longer intervals between service visits and lower parts replacement costs. RI detectors, while more expensive to maintain, offer broader detection capabilities that may justify their higher operational expenses in certain applications.
Sensitivity considerations dramatically impact the cost-benefit equation. UV detectors can detect compounds at concentrations as low as 0.1-1 ng/mL, while RI detectors typically have detection limits around 100-500 ng/mL. This 100-1000 fold difference in sensitivity means laboratories working with trace analysis can achieve significant savings in sample preparation and concentration steps when using UV detection.
Throughput efficiency represents another economic factor. UV detectors enable faster analysis cycles with minimal equilibration time between runs. RI detectors require longer temperature stabilization periods, reducing daily sample throughput by approximately 15-25%. For high-volume testing facilities, this throughput difference translates directly to operational costs and revenue potential.
Versatility value assessment reveals that UV detectors excel in pharmaceutical, environmental, and clinical applications where target compounds contain chromophores. RI detectors provide superior performance for carbohydrate, alcohol, and polymer analysis. Laboratories must evaluate their specific application portfolio when determining which technology offers better return on investment.
Long-term reliability data indicates UV detectors typically maintain calibration stability for 3-6 months, while RI detectors may require recalibration every 1-2 months due to their sensitivity to environmental conditions. This difference in calibration frequency impacts both labor costs and system downtime.
Return on investment calculations suggest UV detectors typically reach ROI within 1-2 years for general analytical laboratories, while RI detectors may require 2-3 years to achieve equivalent returns. However, for specialized applications where RI detection provides unique capabilities, the technology can deliver superior long-term value despite higher initial and operational costs.
Operational expenses differ significantly between these technologies. UV detectors consume less power and require fewer consumables, resulting in lower running costs. Maintenance requirements for UV detectors are also generally less demanding, with longer intervals between service visits and lower parts replacement costs. RI detectors, while more expensive to maintain, offer broader detection capabilities that may justify their higher operational expenses in certain applications.
Sensitivity considerations dramatically impact the cost-benefit equation. UV detectors can detect compounds at concentrations as low as 0.1-1 ng/mL, while RI detectors typically have detection limits around 100-500 ng/mL. This 100-1000 fold difference in sensitivity means laboratories working with trace analysis can achieve significant savings in sample preparation and concentration steps when using UV detection.
Throughput efficiency represents another economic factor. UV detectors enable faster analysis cycles with minimal equilibration time between runs. RI detectors require longer temperature stabilization periods, reducing daily sample throughput by approximately 15-25%. For high-volume testing facilities, this throughput difference translates directly to operational costs and revenue potential.
Versatility value assessment reveals that UV detectors excel in pharmaceutical, environmental, and clinical applications where target compounds contain chromophores. RI detectors provide superior performance for carbohydrate, alcohol, and polymer analysis. Laboratories must evaluate their specific application portfolio when determining which technology offers better return on investment.
Long-term reliability data indicates UV detectors typically maintain calibration stability for 3-6 months, while RI detectors may require recalibration every 1-2 months due to their sensitivity to environmental conditions. This difference in calibration frequency impacts both labor costs and system downtime.
Return on investment calculations suggest UV detectors typically reach ROI within 1-2 years for general analytical laboratories, while RI detectors may require 2-3 years to achieve equivalent returns. However, for specialized applications where RI detection provides unique capabilities, the technology can deliver superior long-term value despite higher initial and operational costs.
Application-Specific Selection Guidelines
Selecting the appropriate detector for HPLC analysis requires careful consideration of the specific application requirements. For compounds with chromophores that absorb UV light, UV detectors offer excellent sensitivity and selectivity. These detectors are particularly advantageous for analyzing pharmaceuticals, environmental pollutants, and biological compounds containing aromatic rings, conjugated double bonds, or other UV-absorbing functional groups. When working with low concentration analytes in complex matrices, UV detection's high sensitivity (typically in the nanogram range) makes it the preferred choice.
Refractive Index (RI) detectors, conversely, excel in applications involving compounds lacking strong UV chromophores. They are particularly valuable for carbohydrate analysis, including mono- and polysaccharides, sugar alcohols, and glycols. The food and beverage industry heavily relies on RI detection for quality control of sweeteners and other non-UV absorbing ingredients. Similarly, polymer analysis benefits from RI detection, especially when determining molecular weight distributions of synthetic polymers.
For pharmaceutical applications, the decision between UV and RI often depends on the specific compounds being analyzed. While many active pharmaceutical ingredients contain UV-absorbing structures, excipients and certain drug substances may require RI detection. In quality control environments, UV detectors are generally preferred due to their robustness, stability, and compatibility with gradient elution methods.
Environmental analysis presents unique challenges that often favor UV detection due to its sensitivity for detecting trace contaminants. However, certain non-aromatic pollutants may necessitate RI detection. The choice becomes particularly important when developing methods for regulatory compliance, where detection limits must meet specific thresholds.
When analyzing complex biological samples, a combination approach may be optimal. UV detection can target specific biomolecules with chromophores, while RI detection can provide complementary information about non-UV absorbing components. This dual-detector strategy is increasingly common in metabolomics and proteomics research.
Cost considerations also influence detector selection. UV detectors generally offer better performance-to-cost ratio for routine analysis, while RI detectors may require more careful temperature control and are limited to isocratic separations, potentially increasing operational complexity and costs for certain applications.
Refractive Index (RI) detectors, conversely, excel in applications involving compounds lacking strong UV chromophores. They are particularly valuable for carbohydrate analysis, including mono- and polysaccharides, sugar alcohols, and glycols. The food and beverage industry heavily relies on RI detection for quality control of sweeteners and other non-UV absorbing ingredients. Similarly, polymer analysis benefits from RI detection, especially when determining molecular weight distributions of synthetic polymers.
For pharmaceutical applications, the decision between UV and RI often depends on the specific compounds being analyzed. While many active pharmaceutical ingredients contain UV-absorbing structures, excipients and certain drug substances may require RI detection. In quality control environments, UV detectors are generally preferred due to their robustness, stability, and compatibility with gradient elution methods.
Environmental analysis presents unique challenges that often favor UV detection due to its sensitivity for detecting trace contaminants. However, certain non-aromatic pollutants may necessitate RI detection. The choice becomes particularly important when developing methods for regulatory compliance, where detection limits must meet specific thresholds.
When analyzing complex biological samples, a combination approach may be optimal. UV detection can target specific biomolecules with chromophores, while RI detection can provide complementary information about non-UV absorbing components. This dual-detector strategy is increasingly common in metabolomics and proteomics research.
Cost considerations also influence detector selection. UV detectors generally offer better performance-to-cost ratio for routine analysis, while RI detectors may require more careful temperature control and are limited to isocratic separations, potentially increasing operational complexity and costs for certain applications.
Unlock deeper insights with Patsnap Eureka Quick Research — get a full tech report to explore trends and direct your research. Try now!
Generate Your Research Report Instantly with AI Agent
Supercharge your innovation with Patsnap Eureka AI Agent Platform!







