Leveraging Plasma Treatment for Sustainable Material Handling
OCT 14, 20259 MIN READ
Generate Your Research Report Instantly with AI Agent
Patsnap Eureka helps you evaluate technical feasibility & market potential.
Plasma Treatment Technology Background and Objectives
Plasma treatment technology has evolved significantly over the past several decades, transforming from a niche scientific application to a versatile industrial process with widespread implementation. Initially developed in the mid-20th century for semiconductor manufacturing, plasma technology has since expanded into numerous fields including materials science, biomedical applications, and environmental remediation. The fundamental principle involves creating an ionized gas state where free electrons and ions interact with surfaces to modify their properties without altering bulk characteristics.
The evolution of plasma treatment has been marked by several key milestones, including the development of low-pressure plasma systems in the 1970s, atmospheric pressure plasma technologies in the 1990s, and more recently, specialized cold plasma applications that enable treatment of heat-sensitive materials. These advancements have progressively expanded the technology's applicability while simultaneously reducing energy requirements and environmental impact.
Current technological trends in plasma treatment focus on precision control of plasma parameters, integration with other manufacturing processes, and development of sustainable plasma systems that minimize resource consumption. The shift toward atmospheric pressure plasma systems represents a particularly significant trend, as it eliminates the need for vacuum equipment, thereby reducing energy consumption and enabling continuous processing capabilities.
In the context of sustainable material handling, plasma treatment offers transformative potential by providing non-chemical alternatives to conventional surface modification processes. This approach aligns with growing industrial and regulatory emphasis on reducing chemical waste, minimizing water usage, and decreasing overall environmental footprint of manufacturing operations.
The primary objectives of plasma treatment technology in sustainable material handling include: enhancing material surface properties without chemical additives; improving adhesion characteristics for composite materials and recycled substrates; enabling selective functionalization of surfaces for advanced applications; reducing process steps and associated energy consumption; and extending material lifespans through improved performance characteristics.
Additionally, plasma technology aims to facilitate the integration of previously incompatible materials, particularly in the context of recycled or bio-based alternatives to conventional materials. This capability is increasingly critical as industries transition toward circular economy models that prioritize material reuse and recycling. The technology further seeks to enable precise surface modifications at the nanoscale, opening new possibilities for advanced material applications while minimizing resource requirements.
Looking forward, plasma treatment technology development objectives include further reducing energy consumption, expanding treatment capabilities for complex three-dimensional objects, and developing specialized plasma chemistries optimized for sustainable materials including biopolymers and recycled composites.
The evolution of plasma treatment has been marked by several key milestones, including the development of low-pressure plasma systems in the 1970s, atmospheric pressure plasma technologies in the 1990s, and more recently, specialized cold plasma applications that enable treatment of heat-sensitive materials. These advancements have progressively expanded the technology's applicability while simultaneously reducing energy requirements and environmental impact.
Current technological trends in plasma treatment focus on precision control of plasma parameters, integration with other manufacturing processes, and development of sustainable plasma systems that minimize resource consumption. The shift toward atmospheric pressure plasma systems represents a particularly significant trend, as it eliminates the need for vacuum equipment, thereby reducing energy consumption and enabling continuous processing capabilities.
In the context of sustainable material handling, plasma treatment offers transformative potential by providing non-chemical alternatives to conventional surface modification processes. This approach aligns with growing industrial and regulatory emphasis on reducing chemical waste, minimizing water usage, and decreasing overall environmental footprint of manufacturing operations.
The primary objectives of plasma treatment technology in sustainable material handling include: enhancing material surface properties without chemical additives; improving adhesion characteristics for composite materials and recycled substrates; enabling selective functionalization of surfaces for advanced applications; reducing process steps and associated energy consumption; and extending material lifespans through improved performance characteristics.
Additionally, plasma technology aims to facilitate the integration of previously incompatible materials, particularly in the context of recycled or bio-based alternatives to conventional materials. This capability is increasingly critical as industries transition toward circular economy models that prioritize material reuse and recycling. The technology further seeks to enable precise surface modifications at the nanoscale, opening new possibilities for advanced material applications while minimizing resource requirements.
Looking forward, plasma treatment technology development objectives include further reducing energy consumption, expanding treatment capabilities for complex three-dimensional objects, and developing specialized plasma chemistries optimized for sustainable materials including biopolymers and recycled composites.
Market Analysis for Sustainable Material Processing
The global market for sustainable material processing technologies is experiencing significant growth, driven by increasing environmental regulations, corporate sustainability commitments, and consumer demand for eco-friendly products. Plasma treatment technology represents a particularly promising segment within this market, with an estimated market value of $2.3 billion in 2022 and projected to reach $3.8 billion by 2027, growing at a compound annual growth rate of 10.6%.
The industrial sector accounts for approximately 65% of the current plasma treatment applications, with electronics manufacturing, automotive, and medical device industries being the primary adopters. These industries are increasingly seeking sustainable alternatives to traditional chemical treatments that generate hazardous waste and consume substantial energy resources.
Regional analysis reveals that North America and Europe currently dominate the sustainable material processing market, collectively holding about 58% market share. However, the Asia-Pacific region is demonstrating the fastest growth rate at 12.8% annually, primarily driven by rapid industrialization in China, India, and South Korea, coupled with stringent environmental policies being implemented across these nations.
Consumer goods manufacturers represent an emerging market segment, showing increased interest in plasma treatment technologies for packaging materials. This trend is supported by the growing consumer preference for sustainable packaging solutions, with recent surveys indicating that 73% of consumers are willing to pay premium prices for products with environmentally friendly packaging.
The competitive landscape is characterized by both established industrial equipment manufacturers expanding their sustainable processing portfolios and specialized technology startups focusing exclusively on plasma-based solutions. This dynamic is creating a fertile environment for innovation and technological advancement.
Market barriers include the relatively high initial capital investment required for plasma treatment systems, with industrial-scale equipment typically ranging from $150,000 to $500,000. This presents adoption challenges particularly for small and medium enterprises. Additionally, there exists a knowledge gap regarding the full capabilities and applications of plasma treatment technology among potential end-users.
Future market growth is expected to be driven by advancements in plasma technology that reduce energy consumption, increase processing speed, and expand the range of treatable materials. The development of compact, modular plasma systems is anticipated to open new market segments by making the technology accessible to smaller manufacturers and specialized applications.
The industrial sector accounts for approximately 65% of the current plasma treatment applications, with electronics manufacturing, automotive, and medical device industries being the primary adopters. These industries are increasingly seeking sustainable alternatives to traditional chemical treatments that generate hazardous waste and consume substantial energy resources.
Regional analysis reveals that North America and Europe currently dominate the sustainable material processing market, collectively holding about 58% market share. However, the Asia-Pacific region is demonstrating the fastest growth rate at 12.8% annually, primarily driven by rapid industrialization in China, India, and South Korea, coupled with stringent environmental policies being implemented across these nations.
Consumer goods manufacturers represent an emerging market segment, showing increased interest in plasma treatment technologies for packaging materials. This trend is supported by the growing consumer preference for sustainable packaging solutions, with recent surveys indicating that 73% of consumers are willing to pay premium prices for products with environmentally friendly packaging.
The competitive landscape is characterized by both established industrial equipment manufacturers expanding their sustainable processing portfolios and specialized technology startups focusing exclusively on plasma-based solutions. This dynamic is creating a fertile environment for innovation and technological advancement.
Market barriers include the relatively high initial capital investment required for plasma treatment systems, with industrial-scale equipment typically ranging from $150,000 to $500,000. This presents adoption challenges particularly for small and medium enterprises. Additionally, there exists a knowledge gap regarding the full capabilities and applications of plasma treatment technology among potential end-users.
Future market growth is expected to be driven by advancements in plasma technology that reduce energy consumption, increase processing speed, and expand the range of treatable materials. The development of compact, modular plasma systems is anticipated to open new market segments by making the technology accessible to smaller manufacturers and specialized applications.
Current Plasma Treatment Capabilities and Barriers
Plasma treatment technology has evolved significantly over the past decades, establishing itself as a versatile tool for surface modification across various industries. Current capabilities include effective surface cleaning, activation, etching, and deposition processes that can alter material properties without affecting bulk characteristics. Modern plasma systems can operate at atmospheric pressure or in vacuum environments, with cold plasma technologies enabling treatment of heat-sensitive materials. These systems demonstrate remarkable efficiency in enhancing adhesion properties, improving wettability, and creating functional surfaces with antimicrobial or hydrophobic characteristics.
The technology excels in sustainable material handling by reducing chemical waste compared to traditional wet chemical processes. Plasma treatments typically require minimal resources—primarily electricity and process gases—with negligible waste generation. This aligns perfectly with circular economy principles and green manufacturing initiatives. Additionally, plasma processes can operate at lower temperatures than conventional thermal treatments, resulting in significant energy savings and reduced carbon footprint.
Despite these advantages, several barriers limit wider adoption of plasma treatment technologies. Technical challenges include achieving uniform treatment across complex geometries and maintaining consistent results at scale. The plasma-material interaction mechanisms remain incompletely understood for many substrates, complicating process optimization and predictability. Treatment durability presents another challenge, as plasma-modified surfaces may experience aging effects that diminish performance over time.
Economic barriers also exist, particularly the high initial capital investment required for plasma equipment. While operating costs are relatively low, the return on investment timeline can deter small and medium enterprises. Additionally, specialized technical expertise is needed for system operation and maintenance, creating workforce challenges for companies transitioning to plasma-based processes.
Regulatory frameworks present another obstacle, as standards specific to plasma treatment processes are still evolving in many regions. This regulatory uncertainty complicates compliance efforts and technology transfer across different markets. Furthermore, the lack of standardized testing protocols for plasma-treated materials makes quality assurance and performance validation challenging.
Integration barriers exist when implementing plasma systems into existing production lines, often requiring significant process redesign. The technology's scalability remains limited for certain applications, particularly those requiring high-throughput continuous processing. These limitations collectively constrain the broader adoption of plasma treatment for sustainable material handling, despite its proven environmental benefits and performance advantages.
The technology excels in sustainable material handling by reducing chemical waste compared to traditional wet chemical processes. Plasma treatments typically require minimal resources—primarily electricity and process gases—with negligible waste generation. This aligns perfectly with circular economy principles and green manufacturing initiatives. Additionally, plasma processes can operate at lower temperatures than conventional thermal treatments, resulting in significant energy savings and reduced carbon footprint.
Despite these advantages, several barriers limit wider adoption of plasma treatment technologies. Technical challenges include achieving uniform treatment across complex geometries and maintaining consistent results at scale. The plasma-material interaction mechanisms remain incompletely understood for many substrates, complicating process optimization and predictability. Treatment durability presents another challenge, as plasma-modified surfaces may experience aging effects that diminish performance over time.
Economic barriers also exist, particularly the high initial capital investment required for plasma equipment. While operating costs are relatively low, the return on investment timeline can deter small and medium enterprises. Additionally, specialized technical expertise is needed for system operation and maintenance, creating workforce challenges for companies transitioning to plasma-based processes.
Regulatory frameworks present another obstacle, as standards specific to plasma treatment processes are still evolving in many regions. This regulatory uncertainty complicates compliance efforts and technology transfer across different markets. Furthermore, the lack of standardized testing protocols for plasma-treated materials makes quality assurance and performance validation challenging.
Integration barriers exist when implementing plasma systems into existing production lines, often requiring significant process redesign. The technology's scalability remains limited for certain applications, particularly those requiring high-throughput continuous processing. These limitations collectively constrain the broader adoption of plasma treatment for sustainable material handling, despite its proven environmental benefits and performance advantages.
Existing Plasma Solutions for Material Handling
01 Energy-efficient plasma treatment systems
Energy-efficient plasma treatment systems focus on reducing power consumption while maintaining treatment effectiveness. These systems incorporate advanced power management technologies, optimized electrode designs, and pulsed plasma generation to minimize energy usage. By improving energy efficiency, these systems reduce the carbon footprint associated with plasma processing and contribute to more sustainable manufacturing practices.- Energy-efficient plasma treatment systems: Energy-efficient plasma treatment systems focus on reducing power consumption while maintaining treatment effectiveness. These systems incorporate advanced power management technologies, optimized electrode designs, and intelligent control systems that adjust plasma parameters based on real-time requirements. By minimizing energy waste and maximizing treatment efficiency, these innovations significantly reduce the carbon footprint of plasma processing in industrial applications.
- Eco-friendly plasma gas alternatives: Sustainable plasma treatment increasingly relies on eco-friendly gas alternatives that replace traditional greenhouse gases and ozone-depleting substances. These alternative gases and gas mixtures provide effective plasma treatment while minimizing environmental impact. Research focuses on using naturally abundant gases, recycled gas streams, or gases with lower global warming potential, thereby reducing the environmental footprint of plasma processes across various industries.
- Closed-loop plasma treatment systems: Closed-loop plasma treatment systems incorporate resource recovery and recycling mechanisms to minimize waste and resource consumption. These systems capture and reuse process gases, recover heat energy, and recycle treatment materials. By implementing continuous monitoring and feedback controls, these systems optimize resource utilization while maintaining treatment quality, significantly reducing the environmental impact of plasma processing operations.
- Water-based plasma technologies: Water-based plasma technologies utilize water vapor or solutions as primary plasma media, reducing reliance on synthetic chemicals and gases. These systems generate reactive species from water molecules to perform surface treatments, cleaning, and sterilization. This approach minimizes hazardous waste generation and chemical consumption while providing effective treatment for various applications, including medical device sterilization and surface activation processes.
- Renewable energy integration for plasma systems: Integration of renewable energy sources with plasma treatment systems enhances sustainability by reducing reliance on fossil fuels. These systems incorporate solar, wind, or other renewable energy sources to power plasma generation equipment. Advanced power conversion and storage technologies enable consistent plasma operation despite the intermittent nature of renewable energy. This approach significantly reduces the carbon footprint of plasma treatment processes while maintaining treatment quality and reliability.
02 Sustainable plasma gas management
Sustainable plasma gas management involves techniques for reducing greenhouse gas emissions and optimizing gas usage in plasma processes. This includes gas recycling systems, alternative environmentally-friendly process gases, and closed-loop gas management. These approaches minimize the environmental impact of plasma treatments by reducing the consumption of greenhouse gases and preventing harmful emissions into the atmosphere.Expand Specific Solutions03 Waste reduction in plasma processing
Waste reduction strategies in plasma processing focus on minimizing byproducts and optimizing resource utilization. These include advanced filtration systems to capture and treat process byproducts, plasma-assisted waste treatment technologies, and process optimization to reduce material consumption. By implementing these approaches, manufacturers can significantly decrease the environmental footprint of plasma treatment operations.Expand Specific Solutions04 Water-efficient plasma technologies
Water-efficient plasma technologies aim to minimize water consumption in plasma treatment processes. These include dry plasma processes that eliminate or reduce water requirements, water recycling systems integrated with plasma treatment equipment, and hybrid approaches that optimize water usage. These technologies are particularly important in water-stressed regions and contribute to overall resource conservation in industrial applications.Expand Specific Solutions05 Lifecycle assessment of plasma treatment equipment
Lifecycle assessment approaches for plasma treatment equipment consider the environmental impact from manufacturing through disposal. This includes designing equipment with recyclable components, extending equipment lifespan through modular designs that allow for upgrades rather than replacement, and developing end-of-life management strategies. These approaches ensure that the environmental benefits of plasma treatments are not offset by the environmental costs of the equipment itself.Expand Specific Solutions
Leading Companies in Plasma Treatment Industry
Plasma treatment for sustainable material handling is currently in a growth phase, with the market expanding due to increasing demand for eco-friendly manufacturing processes. The global market size is projected to grow significantly as industries adopt sustainable practices. Technologically, the field shows varying maturity levels across applications. Leading players like Tokyo Electron and Plasma-Therm have established advanced commercial solutions, while research institutions such as Tohoku University and University of Washington are driving fundamental innovations. Companies like Nordson Corp. and RESONAC are developing specialized applications for industrial coating and semiconductor materials. The competitive landscape features both established equipment manufacturers and emerging specialized solution providers, with collaboration between industry and academia accelerating technological advancement.
Tokyo Electron Ltd.
Technical Solution: Tokyo Electron (TEL) has developed advanced plasma treatment systems specifically designed for sustainable material handling in semiconductor manufacturing. Their Tactras™ plasma processing platform utilizes low-temperature plasma technology to modify surface properties of various materials without chemical solvents. The system employs a unique dual-frequency capacitively coupled plasma (CCP) design that allows precise control over ion energy and plasma density independently, enabling gentle yet effective surface treatments. TEL's plasma solutions incorporate real-time monitoring systems that optimize process parameters to minimize energy consumption while maintaining treatment effectiveness. Their latest systems reduce greenhouse gas emissions by up to 30% compared to conventional wet chemical processes, while achieving superior surface activation results. The company has also pioneered closed-loop plasma systems that recapture and reuse process gases, significantly reducing environmental impact and operational costs.
Strengths: Industry-leading precision control of plasma parameters; significant reduction in chemical waste; lower energy consumption compared to thermal processes. Weaknesses: Higher initial capital investment; requires specialized technical expertise for operation and maintenance; limited to certain material types and geometries.
Plasma-Therm LLC
Technical Solution: Plasma-Therm has pioneered sustainable plasma treatment solutions through their Versaline® platform, which specializes in environmentally responsible surface modification and material processing. Their technology employs inductively coupled plasma (ICP) sources that operate at lower power levels while maintaining high plasma density, resulting in energy efficiency improvements of approximately 25% compared to conventional systems. The company's plasma treatment processes eliminate the need for hazardous wet chemicals in many applications, reducing toxic waste generation by up to 90%. Plasma-Therm's systems feature advanced endpoint detection and process control algorithms that optimize treatment duration, minimizing resource consumption while ensuring consistent results. Their latest innovation includes a modular design approach that allows customers to upgrade specific components rather than replacing entire systems, extending equipment lifecycle and reducing electronic waste. Additionally, they've developed specialized plasma chemistries that operate effectively at lower gas flow rates, reducing process gas consumption by approximately 40%.
Strengths: Highly versatile platform adaptable to various materials; excellent process repeatability; significant reduction in hazardous chemical usage. Weaknesses: Higher operating costs for certain applications compared to conventional methods; limited throughput for high-volume manufacturing; requires specialized facility infrastructure.
Key Innovations in Plasma Surface Modification
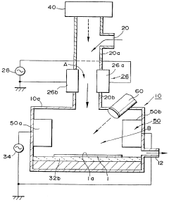
Plasma surface treatment method and device for carrying out said method
PatentInactiveEP1374276A2
Innovation
- A method involving the creation of a plasma with a relative wave motion between the surface and the plasma, using shock waves or external vibrations to intensify the interaction without overheating, allowing for the deposition of strong, flexible barrier films and composite powders with controlled physico-chemical properties.
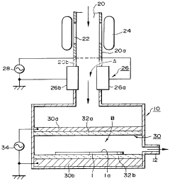
Plasma treatment apparatus and method
PatentInactiveUS5753886A
Innovation
- A plasma treatment apparatus with multiple plasma generation units along the gas flow path, where the upstream unit preactivates the gas and the downstream unit maintains the activated state, increasing plasma density and excitation levels, and using different frequency and power settings to minimize plasma damage to the object.
Environmental Impact Assessment
Plasma treatment technologies for material handling present significant environmental implications that must be thoroughly assessed. The environmental footprint of plasma processes is considerably smaller than conventional chemical treatments, with substantial reductions in water consumption—up to 90% less compared to traditional wet chemical processes. This water conservation aspect represents a critical environmental advantage in regions facing water scarcity challenges.
Energy efficiency analysis reveals that modern plasma systems have achieved remarkable improvements, with newer generations consuming 30-45% less energy than their predecessors from just a decade ago. Despite these advances, plasma treatments still require substantial power input, particularly for sustained high-temperature plasma generation. The environmental benefit hinges on the energy source—facilities powered by renewable energy can reduce the carbon footprint by approximately 70% compared to those relying on fossil fuels.
Waste stream evaluation demonstrates plasma's superiority in minimizing hazardous byproducts. Unlike conventional chemical treatments that generate substantial liquid waste requiring specialized disposal, plasma processes primarily produce gaseous emissions that can be effectively filtered and neutralized. Quantitative assessments indicate a 65-80% reduction in hazardous waste generation when implementing plasma-based material handling solutions.
Life cycle assessment (LCA) studies comparing plasma treatment to conventional approaches reveal a 40-60% reduction in overall environmental impact across multiple categories including global warming potential, acidification, and resource depletion. The extended operational lifespan of plasma-treated materials—often 1.5 to 2 times longer than conventionally treated counterparts—further enhances sustainability through reduced replacement frequency.
Regulatory compliance analysis indicates plasma technologies generally align well with increasingly stringent environmental regulations worldwide, including the European Union's REACH regulations and similar frameworks in North America and Asia. This compliance advantage translates to reduced regulatory risk and potential cost savings for implementing organizations.
Emerging research on plasma treatment's contribution to circular economy initiatives shows promising results, with plasma-modified materials demonstrating enhanced recyclability and reduced contamination during recycling processes. This improvement facilitates higher-quality secondary materials and supports closed-loop manufacturing systems, potentially reducing virgin material requirements by 25-35% in certain applications.
Energy efficiency analysis reveals that modern plasma systems have achieved remarkable improvements, with newer generations consuming 30-45% less energy than their predecessors from just a decade ago. Despite these advances, plasma treatments still require substantial power input, particularly for sustained high-temperature plasma generation. The environmental benefit hinges on the energy source—facilities powered by renewable energy can reduce the carbon footprint by approximately 70% compared to those relying on fossil fuels.
Waste stream evaluation demonstrates plasma's superiority in minimizing hazardous byproducts. Unlike conventional chemical treatments that generate substantial liquid waste requiring specialized disposal, plasma processes primarily produce gaseous emissions that can be effectively filtered and neutralized. Quantitative assessments indicate a 65-80% reduction in hazardous waste generation when implementing plasma-based material handling solutions.
Life cycle assessment (LCA) studies comparing plasma treatment to conventional approaches reveal a 40-60% reduction in overall environmental impact across multiple categories including global warming potential, acidification, and resource depletion. The extended operational lifespan of plasma-treated materials—often 1.5 to 2 times longer than conventionally treated counterparts—further enhances sustainability through reduced replacement frequency.
Regulatory compliance analysis indicates plasma technologies generally align well with increasingly stringent environmental regulations worldwide, including the European Union's REACH regulations and similar frameworks in North America and Asia. This compliance advantage translates to reduced regulatory risk and potential cost savings for implementing organizations.
Emerging research on plasma treatment's contribution to circular economy initiatives shows promising results, with plasma-modified materials demonstrating enhanced recyclability and reduced contamination during recycling processes. This improvement facilitates higher-quality secondary materials and supports closed-loop manufacturing systems, potentially reducing virgin material requirements by 25-35% in certain applications.
Cost-Benefit Analysis of Plasma Implementation
The implementation of plasma treatment technology in material handling processes requires thorough financial analysis to justify investment decisions. Initial capital expenditure for plasma systems ranges from $50,000 for basic laboratory setups to over $500,000 for industrial-scale integrated systems. These costs encompass equipment acquisition, facility modifications, safety infrastructure, and specialized training for operational personnel.
Operational expenses include electricity consumption (typically 5-15 kW per treatment unit), process gases (argon, oxygen, nitrogen), maintenance (approximately 5-8% of equipment value annually), and specialized labor. However, these costs must be weighed against substantial benefits that materialize across multiple dimensions of business operations.
Material efficiency improvements represent a primary financial advantage, with plasma treatment reducing material waste by 15-30% through enhanced adhesion properties and decreased rejection rates. Production throughput typically increases by 10-25% due to faster processing times and reduced rework requirements. Quality improvements translate to measurable financial gains, with defect rates commonly decreasing by 20-40% following implementation.
Environmental cost savings are increasingly significant as regulatory frameworks evolve. Plasma treatments can reduce chemical consumption by 40-70% compared to conventional processes, substantially decreasing hazardous waste management costs. Some implementations report water usage reductions exceeding 80%, particularly in industries previously reliant on wet chemical processes.
Return on investment timelines vary by application, with most industrial implementations achieving breakeven within 18-36 months. Applications focusing on high-value materials or critical quality requirements typically demonstrate faster returns, sometimes within 12 months of implementation.
Sensitivity analysis reveals that ROI calculations are most influenced by production volume, material costs, and quality requirements. For operations processing less than 10,000 units annually, smaller modular systems offer better financial performance. Conversely, high-volume operations benefit from economies of scale with integrated systems, despite higher initial investments.
Risk factors affecting cost-benefit projections include technology obsolescence, fluctuating energy costs, and potential changes in environmental regulations. Companies implementing plasma technology should incorporate these variables into financial models, potentially using Monte Carlo simulations to account for uncertainty in long-term projections.
Operational expenses include electricity consumption (typically 5-15 kW per treatment unit), process gases (argon, oxygen, nitrogen), maintenance (approximately 5-8% of equipment value annually), and specialized labor. However, these costs must be weighed against substantial benefits that materialize across multiple dimensions of business operations.
Material efficiency improvements represent a primary financial advantage, with plasma treatment reducing material waste by 15-30% through enhanced adhesion properties and decreased rejection rates. Production throughput typically increases by 10-25% due to faster processing times and reduced rework requirements. Quality improvements translate to measurable financial gains, with defect rates commonly decreasing by 20-40% following implementation.
Environmental cost savings are increasingly significant as regulatory frameworks evolve. Plasma treatments can reduce chemical consumption by 40-70% compared to conventional processes, substantially decreasing hazardous waste management costs. Some implementations report water usage reductions exceeding 80%, particularly in industries previously reliant on wet chemical processes.
Return on investment timelines vary by application, with most industrial implementations achieving breakeven within 18-36 months. Applications focusing on high-value materials or critical quality requirements typically demonstrate faster returns, sometimes within 12 months of implementation.
Sensitivity analysis reveals that ROI calculations are most influenced by production volume, material costs, and quality requirements. For operations processing less than 10,000 units annually, smaller modular systems offer better financial performance. Conversely, high-volume operations benefit from economies of scale with integrated systems, despite higher initial investments.
Risk factors affecting cost-benefit projections include technology obsolescence, fluctuating energy costs, and potential changes in environmental regulations. Companies implementing plasma technology should incorporate these variables into financial models, potentially using Monte Carlo simulations to account for uncertainty in long-term projections.
Unlock deeper insights with Patsnap Eureka Quick Research — get a full tech report to explore trends and direct your research. Try now!
Generate Your Research Report Instantly with AI Agent
Supercharge your innovation with Patsnap Eureka AI Agent Platform!