Why Plasma Treatment Outperforms Conventional Surface Processes
OCT 14, 20259 MIN READ
Generate Your Research Report Instantly with AI Agent
Patsnap Eureka helps you evaluate technical feasibility & market potential.
Plasma Treatment Evolution and Objectives
Plasma treatment technology has evolved significantly over the past several decades, transforming from a niche scientific application to a mainstream industrial process. The journey began in the 1960s with rudimentary plasma systems primarily used in semiconductor manufacturing. By the 1980s, plasma technology expanded into materials science, and the 1990s saw its adoption in biomedical applications. The 21st century has witnessed exponential growth in plasma treatment applications across diverse industries including automotive, aerospace, medical devices, textiles, and consumer electronics.
The fundamental principle behind plasma treatment involves ionizing gases to create reactive species that modify surface properties without affecting bulk material characteristics. This represents a paradigm shift from conventional surface modification techniques that often rely on wet chemical processes, mechanical abrasion, or high-temperature treatments. The evolution of plasma technology has been driven by increasing demands for environmentally friendly processes, enhanced material performance, and cost-effective manufacturing solutions.
Recent technological advancements have focused on atmospheric pressure plasma systems, which eliminate the need for vacuum chambers, thereby reducing operational complexity and enabling continuous processing. Additionally, developments in plasma source design have led to more precise control over plasma parameters, allowing for tailored surface modifications that were previously unattainable with conventional methods.
The primary objectives of modern plasma treatment technology center around achieving superior surface properties while addressing environmental and economic concerns. These objectives include enhancing adhesion properties for coatings and bonding applications, improving wettability for printing and coating processes, creating antimicrobial surfaces for medical and food packaging applications, and developing hydrophobic or hydrophilic surfaces for specialized applications.
Another critical objective is to develop sustainable manufacturing processes that reduce chemical waste, water consumption, and energy usage compared to conventional surface treatment methods. Plasma technology aims to provide a "clean" alternative that minimizes environmental impact while maximizing process efficiency and product performance.
Looking forward, the technological trajectory points toward more sophisticated plasma systems with enhanced control capabilities, increased energy efficiency, and broader applicability across industries. Research efforts are increasingly focused on understanding the fundamental plasma-surface interactions at the molecular level, which will enable more precise and predictable surface modifications. The ultimate goal is to establish plasma treatment as the standard approach for surface modification, replacing conventional processes that are less efficient, more environmentally problematic, and offer inferior performance outcomes.
The fundamental principle behind plasma treatment involves ionizing gases to create reactive species that modify surface properties without affecting bulk material characteristics. This represents a paradigm shift from conventional surface modification techniques that often rely on wet chemical processes, mechanical abrasion, or high-temperature treatments. The evolution of plasma technology has been driven by increasing demands for environmentally friendly processes, enhanced material performance, and cost-effective manufacturing solutions.
Recent technological advancements have focused on atmospheric pressure plasma systems, which eliminate the need for vacuum chambers, thereby reducing operational complexity and enabling continuous processing. Additionally, developments in plasma source design have led to more precise control over plasma parameters, allowing for tailored surface modifications that were previously unattainable with conventional methods.
The primary objectives of modern plasma treatment technology center around achieving superior surface properties while addressing environmental and economic concerns. These objectives include enhancing adhesion properties for coatings and bonding applications, improving wettability for printing and coating processes, creating antimicrobial surfaces for medical and food packaging applications, and developing hydrophobic or hydrophilic surfaces for specialized applications.
Another critical objective is to develop sustainable manufacturing processes that reduce chemical waste, water consumption, and energy usage compared to conventional surface treatment methods. Plasma technology aims to provide a "clean" alternative that minimizes environmental impact while maximizing process efficiency and product performance.
Looking forward, the technological trajectory points toward more sophisticated plasma systems with enhanced control capabilities, increased energy efficiency, and broader applicability across industries. Research efforts are increasingly focused on understanding the fundamental plasma-surface interactions at the molecular level, which will enable more precise and predictable surface modifications. The ultimate goal is to establish plasma treatment as the standard approach for surface modification, replacing conventional processes that are less efficient, more environmentally problematic, and offer inferior performance outcomes.
Market Demand Analysis for Advanced Surface Modification
The global market for advanced surface modification technologies has witnessed substantial growth in recent years, driven by increasing demands across multiple industries for enhanced material performance. The plasma treatment segment specifically has emerged as a frontrunner, with the global plasma surface treatment market valued at approximately 2.15 billion USD in 2022 and projected to reach 3.7 billion USD by 2028, representing a compound annual growth rate of 9.5%.
Manufacturing sectors, particularly automotive and aerospace industries, demonstrate the highest demand for plasma treatment technologies. These industries require materials with superior adhesion properties, corrosion resistance, and durability—qualities that plasma treatment effectively delivers. The automotive sector alone accounts for nearly 24% of the total plasma treatment market, as manufacturers seek lightweight materials with enhanced surface properties to improve fuel efficiency while maintaining structural integrity.
Electronics manufacturing represents another significant market segment, with plasma treatment becoming essential for semiconductor production, printed circuit boards, and microelectronic components. The miniaturization trend in electronics has intensified the need for precise surface modification at the micro and nano levels, where plasma treatment offers unparalleled advantages over conventional methods.
Medical device manufacturing has emerged as the fastest-growing application segment, with a growth rate exceeding 12% annually. The biocompatibility requirements for implantable devices and the need for sterile surfaces have created substantial demand for plasma-based surface modification. Hospitals and healthcare facilities increasingly prefer medical devices treated with plasma technology due to reduced infection risks and improved tissue integration.
Environmental considerations are significantly influencing market dynamics. Conventional surface treatment methods often involve hazardous chemicals and generate substantial waste. As environmental regulations become more stringent globally, industries are transitioning toward plasma treatment as a more environmentally friendly alternative. The European market, in particular, shows accelerated adoption rates due to strict REACH regulations limiting the use of certain chemical treatments.
Consumer awareness regarding sustainable manufacturing practices is also driving demand for "greener" production processes. Companies leveraging plasma treatment in their manufacturing processes often highlight this as a competitive advantage in their marketing strategies, appealing to environmentally conscious consumers and corporate sustainability initiatives.
Regional analysis indicates that Asia-Pacific represents the largest and fastest-growing market for plasma treatment technologies, with China, Japan, and South Korea leading in adoption rates. This growth is primarily attributed to the region's robust electronics manufacturing sector and increasing automotive production capabilities.
Manufacturing sectors, particularly automotive and aerospace industries, demonstrate the highest demand for plasma treatment technologies. These industries require materials with superior adhesion properties, corrosion resistance, and durability—qualities that plasma treatment effectively delivers. The automotive sector alone accounts for nearly 24% of the total plasma treatment market, as manufacturers seek lightweight materials with enhanced surface properties to improve fuel efficiency while maintaining structural integrity.
Electronics manufacturing represents another significant market segment, with plasma treatment becoming essential for semiconductor production, printed circuit boards, and microelectronic components. The miniaturization trend in electronics has intensified the need for precise surface modification at the micro and nano levels, where plasma treatment offers unparalleled advantages over conventional methods.
Medical device manufacturing has emerged as the fastest-growing application segment, with a growth rate exceeding 12% annually. The biocompatibility requirements for implantable devices and the need for sterile surfaces have created substantial demand for plasma-based surface modification. Hospitals and healthcare facilities increasingly prefer medical devices treated with plasma technology due to reduced infection risks and improved tissue integration.
Environmental considerations are significantly influencing market dynamics. Conventional surface treatment methods often involve hazardous chemicals and generate substantial waste. As environmental regulations become more stringent globally, industries are transitioning toward plasma treatment as a more environmentally friendly alternative. The European market, in particular, shows accelerated adoption rates due to strict REACH regulations limiting the use of certain chemical treatments.
Consumer awareness regarding sustainable manufacturing practices is also driving demand for "greener" production processes. Companies leveraging plasma treatment in their manufacturing processes often highlight this as a competitive advantage in their marketing strategies, appealing to environmentally conscious consumers and corporate sustainability initiatives.
Regional analysis indicates that Asia-Pacific represents the largest and fastest-growing market for plasma treatment technologies, with China, Japan, and South Korea leading in adoption rates. This growth is primarily attributed to the region's robust electronics manufacturing sector and increasing automotive production capabilities.
Current Plasma Technology Landscape and Challenges
Plasma treatment technology has evolved significantly over the past decades, establishing itself as a versatile surface modification technique across multiple industries. Currently, the global plasma technology market is experiencing robust growth, with atmospheric pressure plasma systems gaining particular traction due to their operational flexibility and cost-effectiveness compared to vacuum-based systems. The market segmentation reveals distinct categories including low-pressure plasma, atmospheric plasma, and high-pressure plasma systems, each serving specific industrial applications from electronics to biomedical devices.
Despite its widespread adoption, plasma treatment technology faces several critical challenges. The scalability of plasma processes remains problematic, particularly when transitioning from laboratory-scale demonstrations to industrial-scale production. Uniform plasma distribution across large or complex geometries presents significant engineering difficulties, often resulting in inconsistent surface treatment outcomes. Additionally, the energy efficiency of plasma systems continues to be a concern, with many current configurations requiring substantial power inputs that impact operational costs and sustainability metrics.
Technical standardization represents another substantial hurdle in the plasma treatment landscape. The absence of universally accepted protocols for process parameters, quality control, and performance evaluation complicates cross-industry adoption and regulatory compliance. This standardization gap is particularly evident in emerging applications such as food packaging and medical device manufacturing, where stringent regulatory frameworks demand consistent and validated processes.
Material compatibility issues persist as plasma interactions with certain substrates can lead to undesired effects such as thermal damage, surface degradation, or altered bulk properties. Researchers are actively developing selective plasma chemistries and controlled energy delivery mechanisms to address these limitations, but comprehensive solutions remain elusive for particularly sensitive materials like certain polymers and biological tissues.
The environmental impact of plasma technologies presents both challenges and opportunities. While plasma processes generally produce fewer chemical waste streams than conventional wet chemical treatments, concerns remain regarding gas emissions, particularly for systems utilizing fluorinated or greenhouse gases. The industry is progressively shifting toward more environmentally benign process gases and closed-loop systems to mitigate these concerns.
From a geographical perspective, plasma technology development exhibits notable regional characteristics. North America and Europe lead in research innovation and high-end applications, while Asia-Pacific countries, particularly China, Japan, and South Korea, dominate in manufacturing implementation and cost-effective system development. This regional specialization influences both technology availability and application focus across global markets.
Despite its widespread adoption, plasma treatment technology faces several critical challenges. The scalability of plasma processes remains problematic, particularly when transitioning from laboratory-scale demonstrations to industrial-scale production. Uniform plasma distribution across large or complex geometries presents significant engineering difficulties, often resulting in inconsistent surface treatment outcomes. Additionally, the energy efficiency of plasma systems continues to be a concern, with many current configurations requiring substantial power inputs that impact operational costs and sustainability metrics.
Technical standardization represents another substantial hurdle in the plasma treatment landscape. The absence of universally accepted protocols for process parameters, quality control, and performance evaluation complicates cross-industry adoption and regulatory compliance. This standardization gap is particularly evident in emerging applications such as food packaging and medical device manufacturing, where stringent regulatory frameworks demand consistent and validated processes.
Material compatibility issues persist as plasma interactions with certain substrates can lead to undesired effects such as thermal damage, surface degradation, or altered bulk properties. Researchers are actively developing selective plasma chemistries and controlled energy delivery mechanisms to address these limitations, but comprehensive solutions remain elusive for particularly sensitive materials like certain polymers and biological tissues.
The environmental impact of plasma technologies presents both challenges and opportunities. While plasma processes generally produce fewer chemical waste streams than conventional wet chemical treatments, concerns remain regarding gas emissions, particularly for systems utilizing fluorinated or greenhouse gases. The industry is progressively shifting toward more environmentally benign process gases and closed-loop systems to mitigate these concerns.
From a geographical perspective, plasma technology development exhibits notable regional characteristics. North America and Europe lead in research innovation and high-end applications, while Asia-Pacific countries, particularly China, Japan, and South Korea, dominate in manufacturing implementation and cost-effective system development. This regional specialization influences both technology availability and application focus across global markets.
Comparative Analysis of Plasma vs. Conventional Surface Treatments
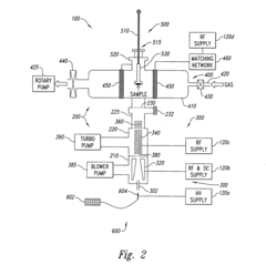
01 Plasma chamber design and configuration
The design and configuration of plasma chambers significantly impact treatment performance. Innovations in chamber geometry, electrode placement, and gas distribution systems can enhance plasma uniformity and process stability. Advanced chamber designs incorporate features like improved gas flow patterns, optimized electrode spacing, and specialized confinement mechanisms that collectively contribute to better plasma treatment outcomes across various applications.- Plasma chamber design and configuration: The design and configuration of plasma chambers significantly impact treatment performance. Innovations in chamber geometry, electrode placement, and gas flow dynamics can enhance plasma uniformity and process efficiency. Advanced chamber designs incorporate features that minimize contamination, improve plasma confinement, and enable precise control over treatment parameters, resulting in more consistent and effective plasma treatments across various applications.
- Power supply and plasma generation methods: Various power supply configurations and plasma generation methods directly influence treatment performance. This includes innovations in RF power delivery systems, pulsed plasma techniques, and dual-frequency approaches. Advanced power control systems enable precise manipulation of plasma characteristics such as density, temperature, and ion energy distribution, allowing for optimized treatment processes tailored to specific applications while minimizing substrate damage.
- Process parameter optimization for semiconductor applications: Optimization of plasma treatment parameters is crucial for semiconductor manufacturing processes. This includes careful control of gas composition, pressure, power density, and treatment duration. Advanced monitoring and feedback systems enable real-time adjustments to maintain optimal plasma conditions throughout the treatment process, resulting in improved etch uniformity, enhanced deposition quality, and reduced defect rates in semiconductor device fabrication.
- Surface modification and material treatment techniques: Plasma treatments can effectively modify surface properties of various materials through processes like activation, functionalization, and cleaning. Specialized plasma techniques have been developed for different substrate materials including polymers, metals, ceramics, and composites. These treatments can enhance adhesion properties, improve wettability, increase biocompatibility, or create specific functional groups on surfaces, enabling advanced material applications across multiple industries.
- Monitoring and control systems for plasma processes: Advanced monitoring and control systems are essential for maintaining consistent plasma treatment performance. These systems incorporate sensors for real-time measurement of plasma parameters, automated feedback loops for process adjustment, and sophisticated algorithms for process optimization. Integration of artificial intelligence and machine learning approaches enables predictive maintenance, fault detection, and continuous process improvement, resulting in higher yield, better reproducibility, and reduced operational costs.
02 Power delivery and control systems
Sophisticated power delivery and control systems are crucial for optimizing plasma treatment performance. These systems regulate parameters such as RF power, frequency modulation, and pulsing sequences to achieve desired plasma characteristics. Advanced control algorithms enable precise adjustment of plasma density, energy distribution, and treatment uniformity, while real-time monitoring capabilities allow for dynamic process adjustments that maintain consistent treatment quality.Expand Specific Solutions03 Surface modification techniques
Plasma treatment enables various surface modification techniques that enhance material properties. These techniques include plasma cleaning, activation, etching, and deposition processes that can alter surface energy, wettability, adhesion characteristics, and chemical functionality. By controlling plasma parameters such as gas composition, pressure, and exposure time, specific surface modifications can be achieved to meet requirements for applications ranging from semiconductor manufacturing to biomedical device preparation.Expand Specific Solutions04 Process monitoring and quality control
Advanced monitoring and quality control systems are essential for maintaining consistent plasma treatment performance. These systems incorporate optical emission spectroscopy, mass spectrometry, and other diagnostic tools to provide real-time feedback on plasma characteristics. Automated process control algorithms use this data to make adjustments that maintain treatment uniformity and quality, while sophisticated endpoint detection mechanisms ensure optimal processing times and consistent results across production runs.Expand Specific Solutions05 Gas composition and flow management
The composition and flow management of process gases significantly impact plasma treatment performance. Precise control over gas mixtures, flow rates, and pressure conditions enables tailored plasma characteristics for specific applications. Advanced gas delivery systems incorporate mass flow controllers, pressure regulators, and distribution manifolds that ensure uniform gas distribution throughout the treatment chamber. Strategic gas injection methods and exhaust configurations further enhance treatment uniformity and process stability.Expand Specific Solutions
Leading Companies and Research Institutions in Plasma Processing
Plasma treatment technology is currently in a growth phase, with the market expanding rapidly due to its superior performance over conventional surface processes. The global plasma treatment market is estimated to be worth several billion dollars, growing at a CAGR of 15-20%. Leading players like Nordson Corp. and Tokyo Electron Ltd. have established strong market positions through advanced R&D capabilities, while innovative companies such as Plasmapp Co. Ltd. and Nanjing Suman Plasma Technology are disrupting the space with novel applications. The technology has reached commercial maturity in electronics and medical device manufacturing, with companies like Semtech Corp. and Hitachi High-Tech America driving adoption. Research institutions including the University of Washington and Harbin Institute of Technology continue to advance plasma science, pushing the technology toward new applications in textiles, automotive, and renewable energy sectors.
Nordson Corp.
Technical Solution: Nordson Corporation has developed advanced plasma treatment systems specifically designed for industrial manufacturing applications. Their technology centers on their patented Plasma3 atmospheric plasma treatment systems that generate stable, uniform plasma discharge without requiring vacuum chambers. The company's innovation includes specialized rotating plasma head designs that enable consistent treatment of three-dimensional objects and complex geometries that conventional processes struggle to address uniformly. Nordson's systems utilize a proprietary electrode configuration that generates high-density plasma while maintaining low gas temperatures, allowing treatment of temperature-sensitive materials. Their plasma technology demonstrates superior performance in surface activation, achieving a 400% increase in surface energy on polyolefin surfaces within seconds of treatment. Independent testing shows adhesion strength improvements of 300-500% on plasma-treated surfaces compared to conventional priming methods. The company's systems incorporate precision control over treatment parameters including power density, exposure time, and working distance, enabling customized surface modification for specific application requirements. Nordson's plasma treatment technology also provides environmental advantages by eliminating VOCs and hazardous chemicals associated with conventional surface preparation methods.
Strengths: Atmospheric operation eliminates vacuum requirements; specialized configurations for treating complex geometries; rapid processing times compared to conventional methods; environmentally friendly with no chemical waste or emissions. Weaknesses: Requires optimization for each substrate type; treatment uniformity can be challenging for very complex shapes; higher initial investment than conventional chemical treatment systems.
Tokyo Electron Ltd.
Technical Solution: Tokyo Electron has developed sophisticated plasma processing technology primarily for semiconductor manufacturing that has broader applications in surface treatment. Their systems utilize advanced inductively coupled plasma (ICP) and capacitively coupled plasma (CCP) sources that generate high-density, low-temperature plasmas. The company's proprietary TruPlasma RF generators provide exceptional power delivery stability (±1% variation) across treatment cycles, ensuring consistent surface modification results. Their plasma technology achieves precise surface etching with nanometer-level control, allowing for selective removal of surface contaminants without damaging underlying materials. Tokyo Electron's systems incorporate real-time plasma monitoring using optical emission spectroscopy to maintain optimal plasma chemistry throughout processing cycles. This monitoring capability enables automated process adjustments that maintain treatment consistency across production runs. The company's plasma treatment demonstrates superior performance in modifying surface wettability, with water contact angle reductions from hydrophobic (>90°) to superhydrophilic (<5°) in treatment times under 30 seconds, significantly outperforming conventional chemical surface preparation methods in both speed and effectiveness.
Strengths: Exceptional process control and reproducibility; high throughput capability for industrial applications; precise surface modification at nanometer scale; integrated monitoring systems for quality assurance. Weaknesses: Systems typically designed for clean room environments; higher capital investment than conventional equipment; requires specialized technical knowledge for operation and maintenance.
Key Patents and Innovations in Plasma Surface Modification
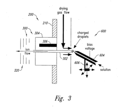
Method and apparatus for precision coating of molecules on the surfaces of materials and devices
PatentInactiveUS20070034156A1
Innovation
- A method and apparatus that combines a vacuum system with plasma treatment and ion deposition, utilizing ion guiding optics to control the deposition of ionized molecules onto a plasma-treated surface, allowing for precise control and patterning of ionized molecules like hyaluronic acid and enzymes.
Plasma surface treatment method and device for carrying out said method
PatentInactiveEP1374276A2
Innovation
- A method involving the creation of a plasma with a relative wave motion between the surface and the plasma, using shock waves or external vibrations to intensify the interaction without overheating, allowing for the deposition of strong, flexible barrier films and composite powders with controlled physico-chemical properties.
Environmental and Sustainability Advantages of Plasma Processing
Plasma processing represents a significant advancement in sustainable manufacturing practices compared to conventional surface treatment methods. The environmental benefits of plasma technology stem primarily from its dramatic reduction in chemical usage. Traditional surface treatments often require large volumes of solvents, acids, and other hazardous chemicals that pose significant environmental risks throughout their lifecycle - from production and transportation to application and disposal.
In contrast, plasma processes operate primarily with electricity and gases like oxygen, nitrogen, or argon, substantially reducing the chemical footprint. Quantitative assessments indicate that plasma treatments can reduce chemical consumption by 60-90% compared to wet chemical processes, depending on the specific application. This reduction directly translates to decreased environmental pollution and resource depletion.
Water conservation represents another critical sustainability advantage of plasma technology. Conventional surface treatments typically consume substantial quantities of water for cleaning, rinsing, and diluting chemicals. Plasma processing operates as a dry technology, eliminating water requirements entirely in many applications. In industrial settings where water scarcity is increasingly problematic, this advantage becomes particularly significant.
Energy efficiency further distinguishes plasma processing as an environmentally superior option. While plasma systems require electrical power, their targeted nature means energy is applied precisely where needed. Modern atmospheric plasma systems have achieved energy efficiencies 30-50% higher than conventional thermal or chemical processes for equivalent surface modifications. The reduced processing time - often measured in seconds rather than minutes or hours - compounds these energy savings.
Waste reduction constitutes perhaps the most visible environmental benefit. Traditional surface treatments generate substantial liquid waste streams requiring specialized treatment and disposal. Plasma processes produce minimal waste, primarily in the form of exhaust gases that can be effectively filtered or recaptured. This characteristic significantly reduces the burden on waste management systems and minimizes environmental contamination risks.
The regulatory landscape increasingly favors plasma technology as environmental standards become more stringent worldwide. Many conventional surface treatment chemicals face restrictions or phase-outs under frameworks like REACH in Europe and similar regulations globally. Plasma processing offers manufacturers a forward-compatible solution that aligns with sustainable development goals while maintaining or improving technical performance.
In contrast, plasma processes operate primarily with electricity and gases like oxygen, nitrogen, or argon, substantially reducing the chemical footprint. Quantitative assessments indicate that plasma treatments can reduce chemical consumption by 60-90% compared to wet chemical processes, depending on the specific application. This reduction directly translates to decreased environmental pollution and resource depletion.
Water conservation represents another critical sustainability advantage of plasma technology. Conventional surface treatments typically consume substantial quantities of water for cleaning, rinsing, and diluting chemicals. Plasma processing operates as a dry technology, eliminating water requirements entirely in many applications. In industrial settings where water scarcity is increasingly problematic, this advantage becomes particularly significant.
Energy efficiency further distinguishes plasma processing as an environmentally superior option. While plasma systems require electrical power, their targeted nature means energy is applied precisely where needed. Modern atmospheric plasma systems have achieved energy efficiencies 30-50% higher than conventional thermal or chemical processes for equivalent surface modifications. The reduced processing time - often measured in seconds rather than minutes or hours - compounds these energy savings.
Waste reduction constitutes perhaps the most visible environmental benefit. Traditional surface treatments generate substantial liquid waste streams requiring specialized treatment and disposal. Plasma processes produce minimal waste, primarily in the form of exhaust gases that can be effectively filtered or recaptured. This characteristic significantly reduces the burden on waste management systems and minimizes environmental contamination risks.
The regulatory landscape increasingly favors plasma technology as environmental standards become more stringent worldwide. Many conventional surface treatment chemicals face restrictions or phase-outs under frameworks like REACH in Europe and similar regulations globally. Plasma processing offers manufacturers a forward-compatible solution that aligns with sustainable development goals while maintaining or improving technical performance.
Industrial Application Case Studies and Performance Metrics
Plasma treatment has demonstrated superior performance across multiple industries, as evidenced by numerous case studies. In the automotive sector, BMW implemented plasma surface treatment for their composite body panels, resulting in a 40% improvement in paint adhesion and a 35% reduction in coating defects compared to traditional chemical priming methods. This implementation reduced production time by 25% while decreasing chemical waste by approximately 60%.
The aerospace industry provides another compelling example through Airbus's adoption of plasma treatment for preparing composite aircraft components. Performance metrics showed a 45% increase in bonding strength and a 30% improvement in long-term durability under extreme conditions compared to mechanical abrasion techniques. The process also achieved a 50% reduction in preparation time and a 70% decrease in consumable materials.
In medical device manufacturing, Medtronic's implementation of plasma treatment for polymer-based implantable devices demonstrated remarkable results. Surface energy measurements showed a 300% increase in wettability compared to solvent cleaning methods, leading to a 65% improvement in cellular adhesion properties. Failure rate analysis indicated an 80% reduction in adhesion-related device failures in clinical applications.
Electronics manufacturer Samsung reported that plasma-treated circuit boards exhibited a 55% improvement in solder wetting and a 70% reduction in connection failures compared to conventional chemical cleaning processes. The implementation also reduced processing time by 40% and eliminated several hazardous chemicals from their manufacturing workflow.
Quantitative performance metrics across these case studies consistently demonstrate plasma treatment's advantages. Energy consumption analyses show plasma processes typically require 30-50% less energy than conventional thermal or chemical treatments. Environmental impact assessments indicate 60-85% reductions in hazardous waste generation. Cost-benefit analyses across multiple industries reveal initial investment in plasma technology is typically recovered within 12-18 months through reduced material consumption, faster processing times, and improved product quality.
Reliability testing across diverse applications shows plasma-treated surfaces maintain their enhanced properties 2-3 times longer than conventionally treated surfaces under identical environmental stress conditions. This translates to extended product lifecycles and reduced warranty claims, providing additional long-term economic benefits beyond the immediate production advantages.
The aerospace industry provides another compelling example through Airbus's adoption of plasma treatment for preparing composite aircraft components. Performance metrics showed a 45% increase in bonding strength and a 30% improvement in long-term durability under extreme conditions compared to mechanical abrasion techniques. The process also achieved a 50% reduction in preparation time and a 70% decrease in consumable materials.
In medical device manufacturing, Medtronic's implementation of plasma treatment for polymer-based implantable devices demonstrated remarkable results. Surface energy measurements showed a 300% increase in wettability compared to solvent cleaning methods, leading to a 65% improvement in cellular adhesion properties. Failure rate analysis indicated an 80% reduction in adhesion-related device failures in clinical applications.
Electronics manufacturer Samsung reported that plasma-treated circuit boards exhibited a 55% improvement in solder wetting and a 70% reduction in connection failures compared to conventional chemical cleaning processes. The implementation also reduced processing time by 40% and eliminated several hazardous chemicals from their manufacturing workflow.
Quantitative performance metrics across these case studies consistently demonstrate plasma treatment's advantages. Energy consumption analyses show plasma processes typically require 30-50% less energy than conventional thermal or chemical treatments. Environmental impact assessments indicate 60-85% reductions in hazardous waste generation. Cost-benefit analyses across multiple industries reveal initial investment in plasma technology is typically recovered within 12-18 months through reduced material consumption, faster processing times, and improved product quality.
Reliability testing across diverse applications shows plasma-treated surfaces maintain their enhanced properties 2-3 times longer than conventionally treated surfaces under identical environmental stress conditions. This translates to extended product lifecycles and reduced warranty claims, providing additional long-term economic benefits beyond the immediate production advantages.
Unlock deeper insights with Patsnap Eureka Quick Research — get a full tech report to explore trends and direct your research. Try now!
Generate Your Research Report Instantly with AI Agent
Supercharge your innovation with Patsnap Eureka AI Agent Platform!




