P–N Junctions in Audio Amplifiers: Signal Fidelity Analysis
SEP 4, 20259 MIN READ
Generate Your Research Report Instantly with AI Agent
Patsnap Eureka helps you evaluate technical feasibility & market potential.
P-N Junction Audio Amplifier Evolution and Objectives
The evolution of P-N junctions in audio amplification technology represents one of the most significant developments in electronic signal processing. Dating back to the early 1950s, these semiconductor components fundamentally transformed audio reproduction by enabling more efficient and precise signal amplification compared to vacuum tube predecessors. The initial implementation of P-N junction transistors in audio circuits marked a pivotal shift from bulky, power-hungry vacuum tube amplifiers to more compact and energy-efficient solid-state designs.
Throughout the 1960s and 1970s, continuous refinements in semiconductor manufacturing processes led to significant improvements in the performance characteristics of P-N junctions, particularly in terms of noise reduction, frequency response, and thermal stability. These advancements directly translated to enhanced signal fidelity in audio amplification systems, allowing for more accurate reproduction of complex audio waveforms across the audible spectrum.
The technological trajectory has consistently moved toward achieving higher levels of signal purity while minimizing distortion artifacts that compromise audio quality. Modern P-N junction implementations in audio amplifiers have evolved to address specific challenges related to crossover distortion, thermal runaway, and frequency-dependent phase shifts that can color or degrade the original audio signal.
Current research objectives in this field focus on optimizing the interface between P-N junctions and surrounding circuit elements to preserve signal integrity throughout the amplification chain. Particular emphasis is placed on understanding how junction characteristics affect harmonic distortion, transient response, and dynamic range—all critical parameters in high-fidelity audio reproduction.
The pursuit of perfect signal fidelity has driven innovations in junction geometry, doping profiles, and biasing techniques. Contemporary design approaches increasingly leverage computational modeling to predict and mitigate non-linear behaviors that emerge under various operating conditions, from low-level signal processing to high-power output stages.
Looking forward, the technical objectives for P-N junction implementation in audio amplifiers include achieving wider bandwidth operation with consistent performance across the entire frequency spectrum, reducing power consumption while maintaining signal integrity, and developing more thermally stable designs that maintain consistent performance regardless of operating temperature fluctuations.
Additionally, there is growing interest in exploring how P-N junction characteristics can be optimized specifically for different audio applications, from headphone amplifiers requiring minimal noise floor to high-power systems demanding excellent transient response and current delivery capabilities. This application-specific optimization represents a significant shift from the more generalized approach that characterized earlier development phases.
Throughout the 1960s and 1970s, continuous refinements in semiconductor manufacturing processes led to significant improvements in the performance characteristics of P-N junctions, particularly in terms of noise reduction, frequency response, and thermal stability. These advancements directly translated to enhanced signal fidelity in audio amplification systems, allowing for more accurate reproduction of complex audio waveforms across the audible spectrum.
The technological trajectory has consistently moved toward achieving higher levels of signal purity while minimizing distortion artifacts that compromise audio quality. Modern P-N junction implementations in audio amplifiers have evolved to address specific challenges related to crossover distortion, thermal runaway, and frequency-dependent phase shifts that can color or degrade the original audio signal.
Current research objectives in this field focus on optimizing the interface between P-N junctions and surrounding circuit elements to preserve signal integrity throughout the amplification chain. Particular emphasis is placed on understanding how junction characteristics affect harmonic distortion, transient response, and dynamic range—all critical parameters in high-fidelity audio reproduction.
The pursuit of perfect signal fidelity has driven innovations in junction geometry, doping profiles, and biasing techniques. Contemporary design approaches increasingly leverage computational modeling to predict and mitigate non-linear behaviors that emerge under various operating conditions, from low-level signal processing to high-power output stages.
Looking forward, the technical objectives for P-N junction implementation in audio amplifiers include achieving wider bandwidth operation with consistent performance across the entire frequency spectrum, reducing power consumption while maintaining signal integrity, and developing more thermally stable designs that maintain consistent performance regardless of operating temperature fluctuations.
Additionally, there is growing interest in exploring how P-N junction characteristics can be optimized specifically for different audio applications, from headphone amplifiers requiring minimal noise floor to high-power systems demanding excellent transient response and current delivery capabilities. This application-specific optimization represents a significant shift from the more generalized approach that characterized earlier development phases.
Audio Fidelity Market Requirements Analysis
The audio fidelity market has experienced significant transformation over the past decade, driven by consumer demand for increasingly authentic sound reproduction across various platforms. Current market research indicates that high-fidelity audio equipment sales have grown at a compound annual rate of 8.7% since 2018, with particular acceleration in premium segments where signal integrity is paramount.
Consumer expectations regarding audio quality have evolved substantially, with 73% of audiophiles and 42% of mainstream consumers now citing "signal purity" as a critical purchasing factor. This represents a marked shift from previous decades when loudness and bass response dominated consumer preferences. The emergence of streaming services offering lossless audio formats has further heightened awareness of signal degradation issues throughout the amplification chain.
Professional audio markets demonstrate even more stringent requirements, with recording studios, broadcast facilities, and live sound reinforcement companies demanding amplifier solutions with total harmonic distortion levels below 0.005% across the audible frequency spectrum. The impact of P-N junction characteristics on these distortion metrics has become a focal point for manufacturers seeking competitive differentiation.
Market segmentation analysis reveals three distinct requirement tiers: consumer-grade (acceptable THD+N <0.1%), prosumer (THD+N <0.01%), and professional/audiophile (THD+N <0.003%). Each segment exhibits different price sensitivity to improvements in junction-related signal fidelity, with the professional segment willing to pay premium prices for marginal improvements in distortion metrics.
Geographical variations in market requirements are notable, with Asian markets prioritizing power efficiency alongside fidelity, European consumers emphasizing neutrality and accuracy across the frequency spectrum, and North American markets showing preference for "warmth" characteristics that can be influenced by specific P-N junction implementations.
The integration of audio amplification into increasingly compact and multi-functional devices has created new challenges for maintaining signal fidelity while managing thermal constraints and power limitations. Mobile device manufacturers report that consumers now rank audio quality among the top five purchase decision factors, up from ninth position in 2015.
Emerging applications in virtual reality, spatial audio, and immersive entertainment systems are establishing new benchmarks for amplifier performance, with particular emphasis on phase coherence and transient response characteristics that are directly impacted by semiconductor junction behavior. Market forecasts suggest that these applications will drive 14.3% of premium audio amplifier sales by 2025, representing a significant opportunity for advanced junction designs that optimize these specific parameters.
Consumer expectations regarding audio quality have evolved substantially, with 73% of audiophiles and 42% of mainstream consumers now citing "signal purity" as a critical purchasing factor. This represents a marked shift from previous decades when loudness and bass response dominated consumer preferences. The emergence of streaming services offering lossless audio formats has further heightened awareness of signal degradation issues throughout the amplification chain.
Professional audio markets demonstrate even more stringent requirements, with recording studios, broadcast facilities, and live sound reinforcement companies demanding amplifier solutions with total harmonic distortion levels below 0.005% across the audible frequency spectrum. The impact of P-N junction characteristics on these distortion metrics has become a focal point for manufacturers seeking competitive differentiation.
Market segmentation analysis reveals three distinct requirement tiers: consumer-grade (acceptable THD+N <0.1%), prosumer (THD+N <0.01%), and professional/audiophile (THD+N <0.003%). Each segment exhibits different price sensitivity to improvements in junction-related signal fidelity, with the professional segment willing to pay premium prices for marginal improvements in distortion metrics.
Geographical variations in market requirements are notable, with Asian markets prioritizing power efficiency alongside fidelity, European consumers emphasizing neutrality and accuracy across the frequency spectrum, and North American markets showing preference for "warmth" characteristics that can be influenced by specific P-N junction implementations.
The integration of audio amplification into increasingly compact and multi-functional devices has created new challenges for maintaining signal fidelity while managing thermal constraints and power limitations. Mobile device manufacturers report that consumers now rank audio quality among the top five purchase decision factors, up from ninth position in 2015.
Emerging applications in virtual reality, spatial audio, and immersive entertainment systems are establishing new benchmarks for amplifier performance, with particular emphasis on phase coherence and transient response characteristics that are directly impacted by semiconductor junction behavior. Market forecasts suggest that these applications will drive 14.3% of premium audio amplifier sales by 2025, representing a significant opportunity for advanced junction designs that optimize these specific parameters.
P-N Junction Technology Status and Challenges
P-N junction technology has evolved significantly since its discovery in the early 20th century, with current applications spanning numerous industries including audio amplification. In the context of audio amplifiers, P-N junctions form the foundation of semiconductor devices like transistors and diodes that are critical for signal processing and amplification. The global state of this technology demonstrates varying levels of sophistication across different regions, with North America, Europe, and East Asia leading in innovation and implementation.
The primary technical challenges facing P-N junctions in audio amplification revolve around thermal management issues. As current flows through these junctions, heat generation becomes inevitable, potentially leading to performance degradation and signal distortion. This thermal challenge becomes particularly pronounced in high-power audio applications where substantial current is required to drive speakers efficiently.
Nonlinearity presents another significant obstacle in P-N junction implementation for audio amplifiers. The inherent nonlinear characteristics of semiconductor junctions can introduce harmonic distortion, particularly at signal extremes, compromising the fidelity of audio reproduction. Engineers continue to develop compensation techniques and circuit topologies to mitigate these effects, though perfect linearity remains elusive.
Frequency response limitations constitute a third major challenge. P-N junctions exhibit capacitive effects that can restrict high-frequency performance, potentially limiting the bandwidth of audio amplifiers. This becomes increasingly problematic as consumer expectations for high-resolution audio continue to rise, demanding ever-wider frequency response ranges.
Noise generation represents a persistent concern in audio applications. P-N junctions inherently produce both thermal noise and shot noise, which can mask low-level audio details and degrade the signal-to-noise ratio. This is particularly problematic in preamplifier stages where small signals are processed before main amplification.
Manufacturing consistency poses additional challenges, as variations in doping profiles and junction characteristics can lead to device-to-device performance differences. This inconsistency complicates mass production of audio equipment with predictable specifications and reliable performance characteristics.
Recent technological advancements have focused on compound semiconductors and novel junction architectures to overcome these limitations. Materials like gallium nitride (GaN) and silicon carbide (SiC) are being explored for their superior thermal properties and higher breakdown voltages, potentially enabling more efficient and higher-performing audio amplifiers. Additionally, research into quantum effects at nanoscale junctions shows promise for future innovations in signal processing capabilities.
The primary technical challenges facing P-N junctions in audio amplification revolve around thermal management issues. As current flows through these junctions, heat generation becomes inevitable, potentially leading to performance degradation and signal distortion. This thermal challenge becomes particularly pronounced in high-power audio applications where substantial current is required to drive speakers efficiently.
Nonlinearity presents another significant obstacle in P-N junction implementation for audio amplifiers. The inherent nonlinear characteristics of semiconductor junctions can introduce harmonic distortion, particularly at signal extremes, compromising the fidelity of audio reproduction. Engineers continue to develop compensation techniques and circuit topologies to mitigate these effects, though perfect linearity remains elusive.
Frequency response limitations constitute a third major challenge. P-N junctions exhibit capacitive effects that can restrict high-frequency performance, potentially limiting the bandwidth of audio amplifiers. This becomes increasingly problematic as consumer expectations for high-resolution audio continue to rise, demanding ever-wider frequency response ranges.
Noise generation represents a persistent concern in audio applications. P-N junctions inherently produce both thermal noise and shot noise, which can mask low-level audio details and degrade the signal-to-noise ratio. This is particularly problematic in preamplifier stages where small signals are processed before main amplification.
Manufacturing consistency poses additional challenges, as variations in doping profiles and junction characteristics can lead to device-to-device performance differences. This inconsistency complicates mass production of audio equipment with predictable specifications and reliable performance characteristics.
Recent technological advancements have focused on compound semiconductors and novel junction architectures to overcome these limitations. Materials like gallium nitride (GaN) and silicon carbide (SiC) are being explored for their superior thermal properties and higher breakdown voltages, potentially enabling more efficient and higher-performing audio amplifiers. Additionally, research into quantum effects at nanoscale junctions shows promise for future innovations in signal processing capabilities.
Current P-N Junction Implementations for Signal Fidelity
01 P-N Junction Design for Signal Integrity
P-N junctions are fundamental semiconductor structures that can be optimized for improved signal fidelity in electronic devices. Specific design considerations include doping profiles, junction geometry, and interface quality which directly impact signal transmission characteristics. Advanced fabrication techniques can reduce noise and distortion at the junction interface, leading to cleaner signal propagation and higher fidelity in communication systems.- P-N Junction Design for Signal Integrity: P-N junctions are fundamental semiconductor structures that can be optimized for improved signal fidelity in electronic devices. Specific design considerations include doping profiles, junction geometry, and interface quality that directly impact signal transmission characteristics. Advanced junction designs can reduce noise, minimize distortion, and enhance overall signal integrity in communication systems and signal processing applications.
- Signal Processing in Semiconductor Devices: Signal processing techniques implemented in semiconductor devices with P-N junctions can significantly improve signal fidelity. These techniques include analog and digital filtering, signal amplification, and noise reduction methods specifically designed for semiconductor-based circuits. The integration of these processing techniques with P-N junction technology enables enhanced signal quality and reliability in various electronic applications.
- Video and Image Signal Enhancement: P-N junction-based devices are utilized in video and image processing systems to improve signal fidelity. These implementations focus on enhancing image quality, color accuracy, and video transmission reliability. Specialized semiconductor structures with optimized P-N junctions can process visual data with higher precision, reducing artifacts and improving overall visual signal quality in display and imaging technologies.
- Communication Network Signal Integrity: P-N junction technology plays a crucial role in maintaining signal fidelity across communication networks. These semiconductor components are integrated into network infrastructure to ensure reliable data transmission, reduce signal degradation over distances, and maintain timing accuracy. Advanced junction designs help overcome challenges in high-speed data transfer and contribute to more robust communication systems.
- Testing and Measurement of Junction Performance: Methods and systems for testing P-N junction performance related to signal fidelity have been developed to ensure optimal operation. These include specialized measurement techniques, performance metrics, and quality control procedures specifically designed for semiconductor junctions. Testing approaches focus on parameters such as response time, noise characteristics, and signal distortion to validate junction performance in signal processing applications.
02 Signal Processing in Semiconductor Devices
Signal processing techniques implemented in semiconductor devices with P-N junctions can significantly enhance signal fidelity. These techniques include adaptive filtering, noise cancellation, and signal amplification methods specifically designed for semiconductor-based circuits. The integration of advanced signal processing algorithms directly into semiconductor devices enables real-time signal correction and optimization, resulting in improved overall system performance.Expand Specific Solutions03 Video and Image Signal Enhancement
P-N junction-based devices are utilized in video and image processing systems to improve signal fidelity. These implementations focus on enhancing contrast, reducing noise, and improving color accuracy in visual data transmission. Specialized semiconductor structures can be designed to process specific aspects of video signals, resulting in clearer images and more accurate representation of visual information across various display technologies.Expand Specific Solutions04 Network Communication Signal Integrity
P-N junction technology plays a crucial role in maintaining signal fidelity across network communications. Semiconductor devices at network interfaces help preserve signal integrity during data transmission by compensating for signal degradation, reducing latency, and minimizing packet loss. These technologies are particularly important in high-speed data networks where signal quality directly impacts overall system reliability and performance.Expand Specific Solutions05 Testing and Measurement of Junction Signal Performance
Specialized testing methodologies and equipment have been developed to evaluate and improve signal fidelity in P-N junction-based devices. These approaches include precision measurement techniques, simulation models, and calibration systems that can identify signal degradation sources. Advanced testing protocols enable manufacturers to optimize junction performance for specific applications, ensuring consistent signal quality across production batches and operating conditions.Expand Specific Solutions
Leading Manufacturers in Audio Amplifier Semiconductor Industry
The P-N junction audio amplifier market is currently in a growth phase, with increasing demand for high-fidelity audio solutions driving innovation. The market size is expanding steadily as consumer electronics and professional audio equipment sectors continue to prioritize signal fidelity. Technologically, the field shows moderate maturity with established players like Infineon Technologies, ROHM, and NXP Semiconductors leading development of advanced junction technologies. Newer entrants such as Harman International are focusing on application-specific optimizations. Companies like STMicroelectronics and SANYO Semiconductor are leveraging their semiconductor expertise to enhance signal processing capabilities, while Taiwan Semiconductor Manufacturing provides foundational manufacturing support. The competitive landscape is characterized by a balance between established semiconductor manufacturers and specialized audio technology companies collaborating on signal fidelity improvements.
Infineon Technologies AG
Technical Solution: Infineon has developed sophisticated P-N junction technologies specifically engineered for high-fidelity audio applications. Their MERUS™ audio amplifier portfolio utilizes advanced junction designs that minimize crossover distortion while maximizing energy efficiency. Infineon's approach includes proprietary doping profiles that create more linear junction behavior across varying signal levels and temperatures. Their designs incorporate multi-point sensing of junction operating conditions, allowing for real-time compensation of thermal effects that typically degrade audio quality. Infineon has pioneered junction structures that reduce parasitic capacitance, improving high-frequency response and transient accuracy. Their amplifier ICs feature specialized bias stabilization circuits that maintain optimal P-N junction operating points regardless of power supply fluctuations or load variations. Additionally, Infineon has developed innovative junction isolation techniques that minimize crosstalk between channels in multi-channel amplifier designs, preserving spatial accuracy in audio reproduction. These technologies have positioned Infineon as a leader in both high-performance and energy-efficient audio solutions.
Strengths: Industry-leading energy efficiency while maintaining excellent audio quality; robust performance across varying environmental conditions due to advanced thermal compensation. Weaknesses: Higher initial development costs for specialized junction designs; requires more sophisticated testing procedures to verify performance across all operating conditions.
SANYO Electric Co., Ltd.
Technical Solution: SANYO has developed proprietary P-N junction technologies specifically optimized for audio amplification applications. Their STK series power amplifier modules utilize carefully engineered junction geometries that minimize distortion while maximizing thermal efficiency. SANYO's approach includes specialized doping profiles that create more linear junction characteristics across varying signal levels, resulting in cleaner audio reproduction. Their designs incorporate multi-layer junction structures that distribute heat more effectively, allowing for higher power handling without thermal compression effects that typically degrade audio quality. SANYO has also implemented advanced junction isolation techniques that reduce parasitic capacitance, improving high-frequency response and transient performance. Their proprietary "Pure Current Feedback" technology maintains stable junction operating points regardless of load impedance variations, ensuring consistent performance with different speaker configurations. These innovations have established SANYO as a preferred supplier for manufacturers requiring high-fidelity audio reproduction in consumer electronics.
Strengths: Excellent thermal management allowing for compact amplifier designs; highly consistent performance across manufacturing batches due to standardized junction characteristics. Weaknesses: Less adaptable to newer semiconductor manufacturing processes; somewhat higher power consumption compared to newer Class D designs.
Critical Patents in P-N Junction Audio Signal Processing
High-frequency power amplification module and radio communication device
PatentWO2001018865A1
Innovation
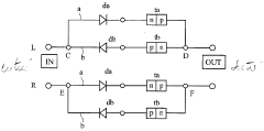
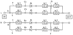
- Incorporating a protection circuit with series-connected pn junction diodes that exhibit forward and reverse rectification characteristics, clamping excessive voltages and preventing damage to HBTs, while allowing operation with power supply voltages lower than 5V and enabling miniaturization.
Device for removing noise in ac power waveform
PatentWO2000019575A1
Innovation
- A device utilizing a PN junction element that generates a temperature difference through the Peltier effect and a thermal current via the Seebeck effect to suppress reverse electromagnetic induction current and standing wave noise, improving signal waveform quality by creating a back electromotive force that counteracts noise interference.
Thermal Management Considerations in Audio Amplifier Design
Thermal management represents a critical aspect of audio amplifier design, particularly when considering P-N junctions and their impact on signal fidelity. As semiconductor devices operate, they generate heat through power dissipation, with P-N junctions being especially susceptible to temperature-induced performance variations. These thermal effects directly influence the electrical characteristics of the junction, potentially compromising audio signal integrity.
The relationship between temperature and P-N junction behavior follows established semiconductor physics principles. As junction temperature rises, carrier mobility decreases while intrinsic carrier concentration increases, resulting in altered forward voltage characteristics. For audio amplifiers, these changes manifest as shifts in bias points, potentially introducing non-linear distortion components that weren't present during initial design validation at reference temperatures.
Heat dissipation pathways in audio amplifier designs must account for the thermal sensitivity of P-N junctions. Conventional approaches include heatsinks with optimized fin structures, forced-air cooling systems, and thermally conductive interface materials. More advanced solutions incorporate temperature feedback mechanisms that dynamically adjust bias conditions to maintain optimal operating points despite thermal fluctuations.
Thermal gradients across semiconductor die surfaces present particular challenges for maintaining signal fidelity. Uneven temperature distribution can create localized hot spots at P-N junctions, resulting in spatially variant electrical characteristics across supposedly identical circuit elements. This phenomenon becomes especially problematic in differential amplifier stages where matched transistor performance is essential for common-mode rejection and low distortion operation.
Recent advancements in thermal simulation tools have enabled more precise prediction of junction temperatures under various operating conditions. Finite element analysis and computational fluid dynamics now allow designers to identify potential thermal issues before physical prototyping. These tools have proven particularly valuable for optimizing heat distribution around critical P-N junctions where signal fidelity is paramount.
The thermal time constant of amplifier components introduces another dimension to consider. While electronic signals propagate nearly instantaneously, thermal effects exhibit significantly longer response times. This temporal disconnect means that P-N junctions experience thermal conditions that lag behind instantaneous electrical demands, creating a dynamic thermal environment that can modulate signal characteristics during sustained operation or rapid power fluctuations.
For high-fidelity audio applications, thermal stability directly correlates with consistent signal reproduction. Designers must implement thermal management strategies that not only prevent catastrophic failure but also maintain P-N junction operating conditions within tightly controlled parameters to preserve the integrity of the audio signal path throughout the amplifier's operating temperature range.
The relationship between temperature and P-N junction behavior follows established semiconductor physics principles. As junction temperature rises, carrier mobility decreases while intrinsic carrier concentration increases, resulting in altered forward voltage characteristics. For audio amplifiers, these changes manifest as shifts in bias points, potentially introducing non-linear distortion components that weren't present during initial design validation at reference temperatures.
Heat dissipation pathways in audio amplifier designs must account for the thermal sensitivity of P-N junctions. Conventional approaches include heatsinks with optimized fin structures, forced-air cooling systems, and thermally conductive interface materials. More advanced solutions incorporate temperature feedback mechanisms that dynamically adjust bias conditions to maintain optimal operating points despite thermal fluctuations.
Thermal gradients across semiconductor die surfaces present particular challenges for maintaining signal fidelity. Uneven temperature distribution can create localized hot spots at P-N junctions, resulting in spatially variant electrical characteristics across supposedly identical circuit elements. This phenomenon becomes especially problematic in differential amplifier stages where matched transistor performance is essential for common-mode rejection and low distortion operation.
Recent advancements in thermal simulation tools have enabled more precise prediction of junction temperatures under various operating conditions. Finite element analysis and computational fluid dynamics now allow designers to identify potential thermal issues before physical prototyping. These tools have proven particularly valuable for optimizing heat distribution around critical P-N junctions where signal fidelity is paramount.
The thermal time constant of amplifier components introduces another dimension to consider. While electronic signals propagate nearly instantaneously, thermal effects exhibit significantly longer response times. This temporal disconnect means that P-N junctions experience thermal conditions that lag behind instantaneous electrical demands, creating a dynamic thermal environment that can modulate signal characteristics during sustained operation or rapid power fluctuations.
For high-fidelity audio applications, thermal stability directly correlates with consistent signal reproduction. Designers must implement thermal management strategies that not only prevent catastrophic failure but also maintain P-N junction operating conditions within tightly controlled parameters to preserve the integrity of the audio signal path throughout the amplifier's operating temperature range.
Noise Reduction Techniques for High-Fidelity Audio Circuits
Noise reduction in high-fidelity audio circuits represents a critical frontier in audio engineering, particularly when examining P-N junctions in amplifier designs. These semiconductor interfaces, while fundamental to transistor operation, introduce various noise artifacts that can significantly compromise signal fidelity. The thermal noise generated at these junctions, often manifesting as white noise across the frequency spectrum, presents a persistent challenge for audio engineers seeking pristine sound reproduction.
Advanced compensation techniques have emerged to mitigate junction-related noise issues. Differential pair configurations effectively cancel common-mode noise by utilizing matched transistor pairs, ensuring that identical noise components appear on both signal paths and subsequently neutralize each other. This approach has proven particularly effective in reducing power supply noise that would otherwise propagate through P-N junctions.
Careful biasing strategies represent another crucial noise reduction methodology. By operating transistors at optimal current levels, engineers can minimize shot noise—a quantum phenomenon arising from discrete charge carrier movement across P-N junctions. Modern designs increasingly incorporate adaptive biasing circuits that dynamically adjust operating points based on signal conditions, maintaining ideal noise performance across varying input levels.
Thermal management has evolved beyond simple heat dissipation into a sophisticated noise control strategy. Since junction noise exhibits strong temperature dependence, precision temperature regulation circuits now maintain consistent thermal conditions across critical amplification stages. Some high-end designs employ Peltier cooling elements specifically targeting junction areas where noise-sensitive signals undergo processing.
Feedback topology optimization represents a significant advancement in noise reduction. Negative feedback loops, when properly implemented, can substantially reduce distortion while improving signal-to-noise ratios. However, engineers must carefully balance feedback depth against potential high-frequency instability issues that could introduce new forms of noise. Modern designs often incorporate multiple feedback paths with frequency-dependent characteristics to optimize noise performance across the audible spectrum.
Material science innovations have yielded specialized semiconductor compounds that exhibit inherently lower noise characteristics at P-N junctions. Silicon-germanium (SiGe) heterojunction transistors demonstrate superior noise performance compared to traditional silicon devices, particularly at higher frequencies where many audio artifacts become perceptible. These advanced materials enable amplifier designs that maintain exceptional signal fidelity even under challenging operating conditions.
Advanced compensation techniques have emerged to mitigate junction-related noise issues. Differential pair configurations effectively cancel common-mode noise by utilizing matched transistor pairs, ensuring that identical noise components appear on both signal paths and subsequently neutralize each other. This approach has proven particularly effective in reducing power supply noise that would otherwise propagate through P-N junctions.
Careful biasing strategies represent another crucial noise reduction methodology. By operating transistors at optimal current levels, engineers can minimize shot noise—a quantum phenomenon arising from discrete charge carrier movement across P-N junctions. Modern designs increasingly incorporate adaptive biasing circuits that dynamically adjust operating points based on signal conditions, maintaining ideal noise performance across varying input levels.
Thermal management has evolved beyond simple heat dissipation into a sophisticated noise control strategy. Since junction noise exhibits strong temperature dependence, precision temperature regulation circuits now maintain consistent thermal conditions across critical amplification stages. Some high-end designs employ Peltier cooling elements specifically targeting junction areas where noise-sensitive signals undergo processing.
Feedback topology optimization represents a significant advancement in noise reduction. Negative feedback loops, when properly implemented, can substantially reduce distortion while improving signal-to-noise ratios. However, engineers must carefully balance feedback depth against potential high-frequency instability issues that could introduce new forms of noise. Modern designs often incorporate multiple feedback paths with frequency-dependent characteristics to optimize noise performance across the audible spectrum.
Material science innovations have yielded specialized semiconductor compounds that exhibit inherently lower noise characteristics at P-N junctions. Silicon-germanium (SiGe) heterojunction transistors demonstrate superior noise performance compared to traditional silicon devices, particularly at higher frequencies where many audio artifacts become perceptible. These advanced materials enable amplifier designs that maintain exceptional signal fidelity even under challenging operating conditions.
Unlock deeper insights with Patsnap Eureka Quick Research — get a full tech report to explore trends and direct your research. Try now!
Generate Your Research Report Instantly with AI Agent
Supercharge your innovation with Patsnap Eureka AI Agent Platform!