P–N Junctions in Photodetectors: Wavelength Response Testing
SEP 4, 20259 MIN READ
Generate Your Research Report Instantly with AI Agent
Patsnap Eureka helps you evaluate technical feasibility & market potential.
P-N Junction Photodetector Evolution and Objectives
The evolution of P-N junction photodetectors represents a significant milestone in optoelectronic technology development. Dating back to the 1940s, these devices emerged from fundamental semiconductor research, with Russell Ohl's discovery of the P-N junction effect at Bell Labs laying crucial groundwork. The subsequent decades witnessed remarkable advancements in material science and fabrication techniques, enabling increasingly sophisticated photodetector designs with enhanced sensitivity and spectral response characteristics.
The technological progression of P-N junction photodetectors has been driven by growing demands across multiple industries, including telecommunications, medical imaging, and environmental monitoring. Early devices were limited by narrow spectral sensitivity and slow response times, but continuous innovation has expanded their capabilities substantially. Modern photodetectors now offer precise wavelength discrimination, higher quantum efficiency, and faster response times—critical parameters for contemporary applications.
Current objectives in P-N junction photodetector development focus on several key areas. First, extending the spectral response range remains a primary goal, particularly for applications requiring detection across ultraviolet, visible, and infrared wavelengths. This involves exploring novel semiconductor materials and junction architectures that can effectively capture and convert photons across broader spectral bands.
Second, improving quantum efficiency—the ratio of generated electron-hole pairs to incident photons—continues to be a critical objective. Higher quantum efficiency translates directly to improved device sensitivity and signal-to-noise ratio, enabling detection of weaker optical signals. This is particularly important for low-light applications such as astronomical observation and quantum communication systems.
Third, researchers aim to enhance response speed by addressing carrier transit time limitations and junction capacitance issues. Faster response times are essential for high-speed data communication, LiDAR systems, and time-resolved spectroscopy applications where temporal resolution is paramount.
Additionally, the miniaturization and integration of photodetectors with other electronic components represent significant objectives, particularly for portable devices and integrated photonic circuits. This includes developing fabrication techniques compatible with standard semiconductor manufacturing processes to enable cost-effective mass production.
Wavelength response testing has emerged as a critical methodology in this technological evolution, providing essential feedback for design optimization. By characterizing how photodetectors respond to different wavelengths, researchers can identify performance limitations and validate theoretical models. This testing approach has become increasingly sophisticated, employing precision light sources, monochromators, and advanced signal processing techniques to generate detailed spectral response profiles.
The technological progression of P-N junction photodetectors has been driven by growing demands across multiple industries, including telecommunications, medical imaging, and environmental monitoring. Early devices were limited by narrow spectral sensitivity and slow response times, but continuous innovation has expanded their capabilities substantially. Modern photodetectors now offer precise wavelength discrimination, higher quantum efficiency, and faster response times—critical parameters for contemporary applications.
Current objectives in P-N junction photodetector development focus on several key areas. First, extending the spectral response range remains a primary goal, particularly for applications requiring detection across ultraviolet, visible, and infrared wavelengths. This involves exploring novel semiconductor materials and junction architectures that can effectively capture and convert photons across broader spectral bands.
Second, improving quantum efficiency—the ratio of generated electron-hole pairs to incident photons—continues to be a critical objective. Higher quantum efficiency translates directly to improved device sensitivity and signal-to-noise ratio, enabling detection of weaker optical signals. This is particularly important for low-light applications such as astronomical observation and quantum communication systems.
Third, researchers aim to enhance response speed by addressing carrier transit time limitations and junction capacitance issues. Faster response times are essential for high-speed data communication, LiDAR systems, and time-resolved spectroscopy applications where temporal resolution is paramount.
Additionally, the miniaturization and integration of photodetectors with other electronic components represent significant objectives, particularly for portable devices and integrated photonic circuits. This includes developing fabrication techniques compatible with standard semiconductor manufacturing processes to enable cost-effective mass production.
Wavelength response testing has emerged as a critical methodology in this technological evolution, providing essential feedback for design optimization. By characterizing how photodetectors respond to different wavelengths, researchers can identify performance limitations and validate theoretical models. This testing approach has become increasingly sophisticated, employing precision light sources, monochromators, and advanced signal processing techniques to generate detailed spectral response profiles.
Market Analysis for Wavelength-Specific Photodetection
The global photodetector market is experiencing robust growth, driven by increasing applications in telecommunications, healthcare, industrial automation, and consumer electronics. Current market valuation stands at approximately 15 billion USD with a compound annual growth rate of 8.7% projected through 2028. Wavelength-specific photodetection represents a particularly dynamic segment within this market, as applications requiring precise spectral sensitivity continue to expand.
Telecommunications remains the largest market segment for wavelength-specific photodetectors, particularly in fiber optic communications where specific wavelength bands (850nm, 1310nm, and 1550nm) dominate. The ongoing global expansion of 5G infrastructure and fiber-to-the-home deployments is creating sustained demand for high-performance photodetectors with precise wavelength responses.
Healthcare applications represent the fastest-growing segment, with a particular focus on medical imaging, pulse oximetry, and spectroscopic diagnostic tools. The ability to detect specific wavelengths enables more accurate tissue analysis, blood oxygen monitoring, and disease detection. Recent advances in non-invasive glucose monitoring using near-infrared spectroscopy have created new market opportunities for specialized photodetectors.
Industrial sensing and monitoring applications constitute another significant market segment. Environmental monitoring, gas detection, and process control systems increasingly rely on wavelength-specific photodetection for improved accuracy and reliability. The growing emphasis on industrial automation and Industry 4.0 initiatives is accelerating adoption in manufacturing environments.
Consumer electronics represents an emerging market with substantial growth potential. Advanced smartphone cameras, augmented reality devices, and wearable health monitors all incorporate wavelength-specific photodetection technologies. The miniaturization of these components and integration with CMOS technology has enabled mass-market adoption.
Regional analysis reveals Asia-Pacific as the dominant manufacturing hub, with Japan, South Korea, and Taiwan leading in high-performance photodetector production. North America and Europe maintain strong positions in specialized applications and research-grade devices. China is rapidly expanding its manufacturing capabilities, particularly in the mid-range market segment.
Market challenges include price pressure in commodity applications, increasing performance requirements for specialized applications, and the need for improved integration with other semiconductor components. The trend toward miniaturization while maintaining or improving performance presents both technical challenges and market opportunities.
Emerging applications in quantum computing, autonomous vehicles, and advanced biometric systems are expected to create new market segments with specialized wavelength detection requirements. These applications will likely drive demand for photodetectors with enhanced sensitivity, faster response times, and more precise wavelength discrimination capabilities.
Telecommunications remains the largest market segment for wavelength-specific photodetectors, particularly in fiber optic communications where specific wavelength bands (850nm, 1310nm, and 1550nm) dominate. The ongoing global expansion of 5G infrastructure and fiber-to-the-home deployments is creating sustained demand for high-performance photodetectors with precise wavelength responses.
Healthcare applications represent the fastest-growing segment, with a particular focus on medical imaging, pulse oximetry, and spectroscopic diagnostic tools. The ability to detect specific wavelengths enables more accurate tissue analysis, blood oxygen monitoring, and disease detection. Recent advances in non-invasive glucose monitoring using near-infrared spectroscopy have created new market opportunities for specialized photodetectors.
Industrial sensing and monitoring applications constitute another significant market segment. Environmental monitoring, gas detection, and process control systems increasingly rely on wavelength-specific photodetection for improved accuracy and reliability. The growing emphasis on industrial automation and Industry 4.0 initiatives is accelerating adoption in manufacturing environments.
Consumer electronics represents an emerging market with substantial growth potential. Advanced smartphone cameras, augmented reality devices, and wearable health monitors all incorporate wavelength-specific photodetection technologies. The miniaturization of these components and integration with CMOS technology has enabled mass-market adoption.
Regional analysis reveals Asia-Pacific as the dominant manufacturing hub, with Japan, South Korea, and Taiwan leading in high-performance photodetector production. North America and Europe maintain strong positions in specialized applications and research-grade devices. China is rapidly expanding its manufacturing capabilities, particularly in the mid-range market segment.
Market challenges include price pressure in commodity applications, increasing performance requirements for specialized applications, and the need for improved integration with other semiconductor components. The trend toward miniaturization while maintaining or improving performance presents both technical challenges and market opportunities.
Emerging applications in quantum computing, autonomous vehicles, and advanced biometric systems are expected to create new market segments with specialized wavelength detection requirements. These applications will likely drive demand for photodetectors with enhanced sensitivity, faster response times, and more precise wavelength discrimination capabilities.
Technical Challenges in P-N Junction Wavelength Response
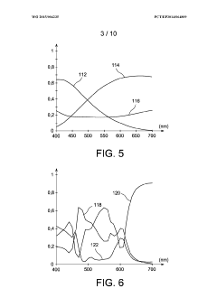
P-N junction photodetectors face several significant technical challenges in wavelength response testing that impact their performance and reliability. One of the primary challenges is the inherent spectral response limitation determined by the semiconductor bandgap. Silicon-based P-N junctions, commonly used in photodetectors, have a bandgap of approximately 1.1 eV, limiting their effective detection range to wavelengths shorter than 1100 nm. This fundamental constraint creates a technological barrier for applications requiring detection in the infrared spectrum beyond this threshold.
Temperature dependency presents another critical challenge, as the bandgap energy of semiconductors varies with temperature, causing shifts in the spectral response characteristics. This thermal sensitivity necessitates precise temperature control during wavelength response testing to ensure accurate and reproducible measurements. For every degree Celsius change, the wavelength response can shift by several nanometers, potentially leading to significant measurement errors in high-precision applications.
Surface reflection and absorption losses constitute substantial technical hurdles in P-N junction photodetectors. Without proper anti-reflection coatings, up to 30% of incident light can be lost due to reflection at the semiconductor-air interface. Additionally, absorption in the top layers before reaching the depletion region reduces quantum efficiency, particularly for shorter wavelengths with higher absorption coefficients.
Non-uniform doping profiles across the junction create spatial variations in the electric field distribution, resulting in position-dependent spectral sensitivity. This non-uniformity complicates wavelength response characterization and can lead to inconsistent performance across the detector surface. Advanced doping techniques and post-fabrication annealing processes are being explored to address this issue.
Carrier recombination mechanisms, including Shockley-Read-Hall, Auger, and surface recombination, significantly impact the quantum efficiency of photodetectors. These mechanisms are wavelength-dependent and can cause deviations from ideal response curves. Particularly challenging is the surface recombination effect, which can reduce the effective quantum efficiency by up to 50% for shorter wavelengths.
Testing equipment limitations also pose significant challenges. High-precision monochromators required for accurate wavelength selection often suffer from stray light issues, potentially contaminating measurements with unwanted wavelengths. Additionally, reference detectors used for calibration have their own spectral response uncertainties, which propagate into the final measurement results.
Aging and reliability concerns further complicate wavelength response testing. P-N junction characteristics can degrade over time due to various mechanisms including dopant diffusion, interface state generation, and radiation damage. These effects can alter the spectral response characteristics, necessitating periodic recalibration and raising questions about long-term measurement stability.
Temperature dependency presents another critical challenge, as the bandgap energy of semiconductors varies with temperature, causing shifts in the spectral response characteristics. This thermal sensitivity necessitates precise temperature control during wavelength response testing to ensure accurate and reproducible measurements. For every degree Celsius change, the wavelength response can shift by several nanometers, potentially leading to significant measurement errors in high-precision applications.
Surface reflection and absorption losses constitute substantial technical hurdles in P-N junction photodetectors. Without proper anti-reflection coatings, up to 30% of incident light can be lost due to reflection at the semiconductor-air interface. Additionally, absorption in the top layers before reaching the depletion region reduces quantum efficiency, particularly for shorter wavelengths with higher absorption coefficients.
Non-uniform doping profiles across the junction create spatial variations in the electric field distribution, resulting in position-dependent spectral sensitivity. This non-uniformity complicates wavelength response characterization and can lead to inconsistent performance across the detector surface. Advanced doping techniques and post-fabrication annealing processes are being explored to address this issue.
Carrier recombination mechanisms, including Shockley-Read-Hall, Auger, and surface recombination, significantly impact the quantum efficiency of photodetectors. These mechanisms are wavelength-dependent and can cause deviations from ideal response curves. Particularly challenging is the surface recombination effect, which can reduce the effective quantum efficiency by up to 50% for shorter wavelengths.
Testing equipment limitations also pose significant challenges. High-precision monochromators required for accurate wavelength selection often suffer from stray light issues, potentially contaminating measurements with unwanted wavelengths. Additionally, reference detectors used for calibration have their own spectral response uncertainties, which propagate into the final measurement results.
Aging and reliability concerns further complicate wavelength response testing. P-N junction characteristics can degrade over time due to various mechanisms including dopant diffusion, interface state generation, and radiation damage. These effects can alter the spectral response characteristics, necessitating periodic recalibration and raising questions about long-term measurement stability.
Current Wavelength Response Testing Methodologies
01 P-N Junction Design for Spectral Response Tuning
The design of P-N junctions significantly impacts the wavelength response of photodetectors. By carefully engineering the junction depth, doping concentration, and material composition, the spectral sensitivity can be tuned to specific wavelength ranges. This approach allows for customized photodetectors that can selectively respond to ultraviolet, visible, or infrared light depending on application requirements.- Wavelength-dependent response of P-N junction photodetectors: P-N junction photodetectors exhibit varying sensitivity across different wavelengths of light. The bandgap energy of the semiconductor material determines the cutoff wavelength beyond which the detector cannot respond. By engineering the bandgap through material selection and doping profiles, photodetectors can be optimized for specific wavelength ranges from ultraviolet to infrared. The junction depth and depletion region width also influence the wavelength response characteristics.
- Novel semiconductor materials for enhanced wavelength response: Advanced semiconductor materials are being developed to improve the wavelength response of photodetectors. These include compound semiconductors like gallium arsenide, indium phosphide, and silicon-germanium alloys that offer tailored bandgaps for specific wavelength detection. Quantum wells, quantum dots, and superlattice structures can further modify the absorption characteristics, enabling detection in previously inaccessible wavelength regions. These materials allow for customized spectral sensitivity across ultraviolet, visible, and infrared ranges.
- Multi-junction photodetector architectures: Multi-junction photodetector designs incorporate multiple P-N junctions with different bandgap energies stacked in series or arranged in parallel. This architecture enables broader spectral response by allowing each junction to capture different portions of the electromagnetic spectrum. The arrangement of junctions can be optimized to enhance sensitivity at specific wavelengths while maintaining high quantum efficiency across the entire operating range. These designs often include sophisticated optical coupling mechanisms to direct light to appropriate junction regions.
- Integration of optical components with P-N junction photodetectors: Integrating optical components such as filters, waveguides, and resonant structures with P-N junction photodetectors can significantly modify their wavelength response. Antireflection coatings minimize reflection losses at specific wavelengths, while interference filters can selectively transmit desired wavelength bands. Plasmonic structures and photonic crystals can enhance light absorption at targeted wavelengths. These integrated approaches enable wavelength-selective detection without changing the underlying semiconductor material properties.
- Signal processing techniques for wavelength response optimization: Advanced signal processing techniques can enhance the effective wavelength response of P-N junction photodetectors. These include lock-in amplification to improve signal-to-noise ratio at specific wavelengths, digital filtering to separate overlapping spectral responses, and computational methods to reconstruct spectral information from limited detector data. Temperature compensation algorithms can also correct for thermal drift in wavelength response. These techniques extend the usable wavelength range and improve detection accuracy without physical modifications to the detector structure.
02 Semiconductor Material Selection for Wavelength Response
Different semiconductor materials exhibit varying bandgap energies, directly affecting the wavelength response of photodetectors. Silicon-based photodetectors typically respond well to visible and near-infrared wavelengths, while compound semiconductors like GaAs, InGaAs, or InP can detect longer wavelengths in the infrared spectrum. Material selection is crucial for optimizing photodetector performance for specific wavelength ranges.Expand Specific Solutions03 Multi-Junction Photodetector Architectures
Multi-junction architectures incorporate multiple P-N junctions stacked or arranged in series/parallel configurations to enhance wavelength response across broader spectral ranges. These structures allow for the absorption of different wavelengths at different junction depths, improving quantum efficiency and enabling simultaneous detection of multiple wavelength bands. This approach is particularly valuable for applications requiring broadband spectral sensitivity.Expand Specific Solutions04 Surface Treatment and Anti-Reflection Coatings
Surface treatments and anti-reflection coatings significantly impact the wavelength response of photodetectors by reducing reflection losses and enhancing light coupling into the P-N junction. These treatments can be optimized for specific wavelength ranges, improving quantum efficiency and sensitivity. Techniques include texturing, dielectric coatings, and resonant cavity designs that maximize absorption at target wavelengths.Expand Specific Solutions05 Integration with Optical Components for Enhanced Response
Integrating photodetectors with optical components such as waveguides, filters, and lenses can significantly enhance wavelength selectivity and response. These hybrid systems allow for pre-filtering of incident light, focusing of specific wavelengths onto the active area, and improved coupling efficiency. Such integration enables more sophisticated spectral analysis capabilities while maintaining compact device footprints.Expand Specific Solutions
Leading Manufacturers and Research Institutions
The P-N junction photodetector market is currently in a growth phase, with increasing demand driven by applications in telecommunications, imaging, and sensing technologies. The global market size is expanding rapidly due to integration in consumer electronics, automotive systems, and industrial automation. Technologically, the field shows varying maturity levels across wavelength ranges, with companies demonstrating different specializations. Industry leaders like Hamamatsu Photonics and MACOM have established strong positions in conventional photodetector technologies, while research institutions such as MIT and Imec are advancing novel materials and architectures. Companies including Huawei, IBM, and Taiwan Semiconductor are focusing on integration capabilities, while specialized players like ActLight and QuNano are developing disruptive approaches for specific wavelength responses, creating a competitive landscape balanced between established manufacturers and innovative newcomers.
KLA Corp.
Technical Solution: KLA Corporation has engineered specialized photodetector testing solutions that integrate their core competencies in semiconductor metrology with advanced optical characterization techniques. Their systems employ tunable laser sources coupled with precision optical benches to deliver monochromatic light at controlled intensities across the UV-VIS-NIR spectrum. KLA's proprietary "SpectraMap" technology enables high-resolution spatial mapping of wavelength response across detector arrays with sub-micron precision, allowing for uniformity analysis and defect identification. Their automated test platforms incorporate reference photodiodes with NIST-traceable calibration to ensure absolute responsivity measurements with accuracy better than ±2%. KLA's systems feature advanced algorithms that can deconvolute complex spectral responses to isolate specific P-N junction characteristics from package and filter effects. The company's latest generation tools integrate machine learning capabilities to predict device performance degradation based on subtle changes in wavelength response profiles over time.
Strengths: Exceptional spatial resolution for wavelength response mapping; industry-leading measurement accuracy with NIST-traceable calibration; advanced data analytics for performance prediction. Weaknesses: Systems primarily optimized for silicon-based detectors; limited flexibility for custom detector geometries; significant capital investment required.
Hamamatsu Photonics KK
Technical Solution: Hamamatsu Photonics has developed advanced P-N junction photodetector characterization systems that utilize precision monochromators and calibrated light sources to measure wavelength response across UV to IR spectra (200-2600nm). Their technology employs lock-in amplification techniques to achieve high signal-to-noise ratio measurements even at low light intensities. Their proprietary quantum efficiency measurement system incorporates temperature control chambers (-40°C to +100°C) to analyze temperature-dependent wavelength response characteristics of photodetectors. Hamamatsu's automated testing platforms can generate comprehensive spectral response curves with resolution down to 0.1nm, enabling detailed analysis of absorption edge characteristics and bandgap determination. Their systems also feature integrated data analysis software that calculates key performance metrics including responsivity (A/W), quantum efficiency (%), and noise equivalent power.
Strengths: Industry-leading precision in wavelength response measurements with exceptional signal-to-noise ratio; comprehensive temperature-dependent testing capabilities; extensive wavelength range coverage. Weaknesses: High-cost testing equipment requiring specialized training; systems typically require significant laboratory space and controlled environments.
Key Patents in Photodetector Response Characterization
Semi-transparent photo-detector having a structured p-n junction
PatentWO2015004235A1
Innovation
- The introduction of a photodetector structure featuring p-doped and n-doped semiconductor layers with a dielectric material that surrounds disjoint semiconductor portions, allowing for adjustable wavelength absorption and transmission by modifying the electronic and optical properties through the choice of characteristics such as shape, dimensions, and pitch of these portions.
Materials Science Advancements for Enhanced Photodetection
Recent advancements in materials science have revolutionized the field of photodetection, particularly in enhancing the performance of P-N junction-based photodetectors. The development of novel semiconductor materials with tailored bandgap properties has significantly expanded the wavelength response range of modern photodetectors, enabling detection across broader spectral regions from ultraviolet to infrared.
Nanostructured materials represent one of the most promising frontiers in photodetector technology. Quantum dots, nanowires, and two-dimensional materials such as graphene and transition metal dichalcogenides (TMDs) have demonstrated exceptional light absorption capabilities and carrier transport properties. These nanomaterials can be engineered to achieve precise bandgap tuning, allowing for customized wavelength sensitivity that conventional bulk semiconductors cannot provide.
Heterostructure engineering has emerged as a critical approach for optimizing photodetector performance. By creating carefully designed interfaces between different semiconductor materials, researchers have successfully manipulated charge carrier dynamics, reduced recombination losses, and enhanced quantum efficiency. Multi-junction architectures utilizing these principles have shown remarkable improvements in spectral response and signal-to-noise ratios during wavelength response testing.
Surface modification techniques have also contributed significantly to photodetector advancement. Plasmonic nanostructures integrated with P-N junctions can concentrate electromagnetic fields and enhance light absorption at specific wavelengths. Additionally, anti-reflection coatings and surface passivation treatments have minimized reflection losses and surface recombination, leading to improved external quantum efficiency across targeted wavelength ranges.
Organic-inorganic hybrid materials represent another innovative direction in photodetector development. These materials combine the flexibility and cost-effectiveness of organic semiconductors with the stability and performance of inorganic components. Perovskite-based photodetectors, in particular, have demonstrated exceptional photoconversion efficiency and wavelength tunability, making them increasingly attractive for next-generation sensing applications.
Advanced doping strategies have enabled precise control over carrier concentration and mobility in semiconductor materials. Selective doping profiles can optimize the depletion region width in P-N junctions, directly affecting the wavelength response characteristics and detection speed. Novel dopants and doping techniques have expanded the toolbox for engineering photodetectors with specific spectral sensitivities tailored to application requirements.
Nanostructured materials represent one of the most promising frontiers in photodetector technology. Quantum dots, nanowires, and two-dimensional materials such as graphene and transition metal dichalcogenides (TMDs) have demonstrated exceptional light absorption capabilities and carrier transport properties. These nanomaterials can be engineered to achieve precise bandgap tuning, allowing for customized wavelength sensitivity that conventional bulk semiconductors cannot provide.
Heterostructure engineering has emerged as a critical approach for optimizing photodetector performance. By creating carefully designed interfaces between different semiconductor materials, researchers have successfully manipulated charge carrier dynamics, reduced recombination losses, and enhanced quantum efficiency. Multi-junction architectures utilizing these principles have shown remarkable improvements in spectral response and signal-to-noise ratios during wavelength response testing.
Surface modification techniques have also contributed significantly to photodetector advancement. Plasmonic nanostructures integrated with P-N junctions can concentrate electromagnetic fields and enhance light absorption at specific wavelengths. Additionally, anti-reflection coatings and surface passivation treatments have minimized reflection losses and surface recombination, leading to improved external quantum efficiency across targeted wavelength ranges.
Organic-inorganic hybrid materials represent another innovative direction in photodetector development. These materials combine the flexibility and cost-effectiveness of organic semiconductors with the stability and performance of inorganic components. Perovskite-based photodetectors, in particular, have demonstrated exceptional photoconversion efficiency and wavelength tunability, making them increasingly attractive for next-generation sensing applications.
Advanced doping strategies have enabled precise control over carrier concentration and mobility in semiconductor materials. Selective doping profiles can optimize the depletion region width in P-N junctions, directly affecting the wavelength response characteristics and detection speed. Novel dopants and doping techniques have expanded the toolbox for engineering photodetectors with specific spectral sensitivities tailored to application requirements.
Standardization and Calibration Protocols
Standardization and calibration protocols are essential for ensuring the reliability, reproducibility, and comparability of wavelength response measurements in P-N junction photodetectors. These protocols establish systematic approaches to maintain measurement accuracy across different laboratories, equipment, and testing environments.
The primary calibration standards for photodetector wavelength response testing include NIST (National Institute of Standards and Technology) traceable reference photodiodes, which provide known spectral responsivity curves across specific wavelength ranges. These reference standards must be regularly recertified to maintain their validity, typically on an annual basis depending on usage frequency and environmental conditions.
Calibration procedures for wavelength response testing equipment involve several critical steps. Initially, the monochromator or tunable light source requires wavelength calibration using spectral line sources such as mercury or xenon lamps with well-defined emission lines. Power calibration follows, utilizing calibrated power meters to establish the relationship between source output and actual optical power at each wavelength point.
Environmental standardization represents another crucial aspect of these protocols. Temperature control within ±1°C is typically mandated, as P-N junction characteristics demonstrate significant temperature dependence. Humidity control below 60% prevents condensation issues that could affect optical surfaces and electrical connections. Dark current measurements must be conducted in environments with ambient light levels below 0.1 lux.
Measurement sequence standardization ensures consistency across testing sessions. The recommended procedure includes dark current measurement, followed by wavelength scanning from longer to shorter wavelengths to minimize thermal effects, with integration times adjusted according to signal strength at each wavelength point. Multiple measurement cycles are averaged to reduce random noise effects.
Data processing standardization is equally important, with specific requirements for background subtraction, normalization procedures, and uncertainty calculation. Raw data must undergo dark current subtraction, followed by normalization to incident power at each wavelength. Measurement uncertainty should be calculated and reported according to GUM (Guide to the Expression of Uncertainty in Measurement) principles.
Interlaboratory comparison programs provide an essential verification mechanism for these protocols. Regular round-robin testing among participating laboratories using identical device sets helps identify systematic errors and ensures measurement consistency across the industry. These programs typically operate on 6-12 month cycles, with results published in standardized formats to facilitate continuous improvement of measurement methodologies.
The primary calibration standards for photodetector wavelength response testing include NIST (National Institute of Standards and Technology) traceable reference photodiodes, which provide known spectral responsivity curves across specific wavelength ranges. These reference standards must be regularly recertified to maintain their validity, typically on an annual basis depending on usage frequency and environmental conditions.
Calibration procedures for wavelength response testing equipment involve several critical steps. Initially, the monochromator or tunable light source requires wavelength calibration using spectral line sources such as mercury or xenon lamps with well-defined emission lines. Power calibration follows, utilizing calibrated power meters to establish the relationship between source output and actual optical power at each wavelength point.
Environmental standardization represents another crucial aspect of these protocols. Temperature control within ±1°C is typically mandated, as P-N junction characteristics demonstrate significant temperature dependence. Humidity control below 60% prevents condensation issues that could affect optical surfaces and electrical connections. Dark current measurements must be conducted in environments with ambient light levels below 0.1 lux.
Measurement sequence standardization ensures consistency across testing sessions. The recommended procedure includes dark current measurement, followed by wavelength scanning from longer to shorter wavelengths to minimize thermal effects, with integration times adjusted according to signal strength at each wavelength point. Multiple measurement cycles are averaged to reduce random noise effects.
Data processing standardization is equally important, with specific requirements for background subtraction, normalization procedures, and uncertainty calculation. Raw data must undergo dark current subtraction, followed by normalization to incident power at each wavelength. Measurement uncertainty should be calculated and reported according to GUM (Guide to the Expression of Uncertainty in Measurement) principles.
Interlaboratory comparison programs provide an essential verification mechanism for these protocols. Regular round-robin testing among participating laboratories using identical device sets helps identify systematic errors and ensures measurement consistency across the industry. These programs typically operate on 6-12 month cycles, with results published in standardized formats to facilitate continuous improvement of measurement methodologies.
Unlock deeper insights with Patsnap Eureka Quick Research — get a full tech report to explore trends and direct your research. Try now!
Generate Your Research Report Instantly with AI Agent
Supercharge your innovation with Patsnap Eureka AI Agent Platform!



