Plasmonic Biosensor Contrast: Thermal Stability vs Electrode Kinetics
SEP 29, 20259 MIN READ
Generate Your Research Report Instantly with AI Agent
Patsnap Eureka helps you evaluate technical feasibility & market potential.
Plasmonic Biosensor Evolution and Objectives
Plasmonic biosensors have evolved significantly over the past three decades, transforming from rudimentary surface plasmon resonance (SPR) devices into sophisticated analytical tools capable of detecting biomolecular interactions with remarkable sensitivity. The journey began in the early 1990s with conventional SPR sensors that relied on the Kretschmann configuration, primarily used in laboratory settings for qualitative binding studies. These early systems suffered from thermal instability and limited electrode performance, constraining their practical applications.
By the early 2000s, the field witnessed the emergence of localized surface plasmon resonance (LSPR) biosensors, which leveraged metallic nanostructures to enhance detection sensitivity. This advancement marked a pivotal shift toward miniaturization and improved thermal stability, though electrode kinetics remained a significant challenge. The introduction of nanoparticle-based plasmonic biosensors around 2005-2010 further revolutionized the field by enabling multiplexed detection capabilities.
The past decade has seen remarkable progress in addressing the fundamental tension between thermal stability and electrode kinetics in plasmonic biosensors. Researchers have developed thermally compensated sensor designs that maintain performance across wider temperature ranges while simultaneously enhancing electrode properties through novel materials and surface modifications. The integration of microfluidics with plasmonic sensing elements has further improved both aspects by enabling precise temperature control and optimized analyte delivery to sensing surfaces.
Current technological objectives focus on resolving the inherent trade-offs between thermal stability and electrode kinetics. Specifically, researchers aim to develop plasmonic biosensors capable of maintaining consistent performance across temperature fluctuations of ±10°C while achieving electrode kinetics that support sub-millisecond response times. This balance is crucial for expanding applications into point-of-care diagnostics and continuous monitoring systems where environmental conditions cannot be tightly controlled.
Looking forward, the field is moving toward multi-parameter plasmonic sensing platforms that simultaneously optimize thermal stability and electrode performance through adaptive materials and intelligent signal processing. The ultimate goal is to create robust biosensing systems that can operate reliably in diverse environments while maintaining the sensitivity and specificity required for clinical and environmental applications. This evolution represents a shift from laboratory-confined instruments to versatile tools capable of real-time, in-field analysis across various sectors including healthcare, environmental monitoring, and food safety.
By the early 2000s, the field witnessed the emergence of localized surface plasmon resonance (LSPR) biosensors, which leveraged metallic nanostructures to enhance detection sensitivity. This advancement marked a pivotal shift toward miniaturization and improved thermal stability, though electrode kinetics remained a significant challenge. The introduction of nanoparticle-based plasmonic biosensors around 2005-2010 further revolutionized the field by enabling multiplexed detection capabilities.
The past decade has seen remarkable progress in addressing the fundamental tension between thermal stability and electrode kinetics in plasmonic biosensors. Researchers have developed thermally compensated sensor designs that maintain performance across wider temperature ranges while simultaneously enhancing electrode properties through novel materials and surface modifications. The integration of microfluidics with plasmonic sensing elements has further improved both aspects by enabling precise temperature control and optimized analyte delivery to sensing surfaces.
Current technological objectives focus on resolving the inherent trade-offs between thermal stability and electrode kinetics. Specifically, researchers aim to develop plasmonic biosensors capable of maintaining consistent performance across temperature fluctuations of ±10°C while achieving electrode kinetics that support sub-millisecond response times. This balance is crucial for expanding applications into point-of-care diagnostics and continuous monitoring systems where environmental conditions cannot be tightly controlled.
Looking forward, the field is moving toward multi-parameter plasmonic sensing platforms that simultaneously optimize thermal stability and electrode performance through adaptive materials and intelligent signal processing. The ultimate goal is to create robust biosensing systems that can operate reliably in diverse environments while maintaining the sensitivity and specificity required for clinical and environmental applications. This evolution represents a shift from laboratory-confined instruments to versatile tools capable of real-time, in-field analysis across various sectors including healthcare, environmental monitoring, and food safety.
Market Analysis for Advanced Biosensing Technologies
The global biosensor market is experiencing robust growth, projected to reach $45.3 billion by 2027, with plasmonic biosensors representing one of the fastest-growing segments. This expansion is driven by increasing demand for point-of-care diagnostics, personalized medicine approaches, and continuous health monitoring solutions. Plasmonic biosensors, which leverage surface plasmon resonance (SPR) phenomena, are particularly valued for their label-free detection capabilities, high sensitivity, and real-time monitoring potential.
Healthcare applications dominate the market landscape, accounting for approximately 65% of biosensor deployments, with particular emphasis on glucose monitoring, infectious disease detection, and cancer biomarker identification. The COVID-19 pandemic has significantly accelerated market growth, creating unprecedented demand for rapid diagnostic solutions and highlighting the critical importance of biosensor technologies in global health security infrastructure.
The industrial segment represents the second-largest application area, with environmental monitoring and food safety testing driving adoption. These sectors value the thermal stability aspects of plasmonic biosensors, as industrial environments often present challenging temperature variations that can compromise conventional sensing technologies.
Regional analysis reveals North America currently leads the market with 38% share, followed by Europe (29%) and Asia-Pacific (24%). However, the Asia-Pacific region demonstrates the highest growth rate at 9.8% CAGR, driven by increasing healthcare expenditure, expanding biotechnology sectors in China and India, and growing awareness of preventive healthcare approaches.
Key market trends include miniaturization of sensing platforms, integration with smartphone technologies, and development of multiplexed detection capabilities. The trade-off between thermal stability and electrode kinetics represents a critical decision point for manufacturers, with different market segments prioritizing these attributes differently based on application requirements.
Competitive analysis indicates a fragmented market landscape with both established medical device manufacturers and specialized biosensor startups. Major players include Abbott Laboratories, Roche Diagnostics, and Siemens Healthineers, alongside emerging companies focused specifically on plasmonic technologies such as BIACORE (now part of Cytiva), Biosensing Instrument Inc., and Plasmetrix.
Market challenges include high development costs, regulatory hurdles particularly for clinical applications, and technical limitations related to non-specific binding. The balance between achieving optimal thermal stability while maintaining efficient electrode kinetics represents a significant technical challenge that directly impacts market adoption rates across different application segments.
Healthcare applications dominate the market landscape, accounting for approximately 65% of biosensor deployments, with particular emphasis on glucose monitoring, infectious disease detection, and cancer biomarker identification. The COVID-19 pandemic has significantly accelerated market growth, creating unprecedented demand for rapid diagnostic solutions and highlighting the critical importance of biosensor technologies in global health security infrastructure.
The industrial segment represents the second-largest application area, with environmental monitoring and food safety testing driving adoption. These sectors value the thermal stability aspects of plasmonic biosensors, as industrial environments often present challenging temperature variations that can compromise conventional sensing technologies.
Regional analysis reveals North America currently leads the market with 38% share, followed by Europe (29%) and Asia-Pacific (24%). However, the Asia-Pacific region demonstrates the highest growth rate at 9.8% CAGR, driven by increasing healthcare expenditure, expanding biotechnology sectors in China and India, and growing awareness of preventive healthcare approaches.
Key market trends include miniaturization of sensing platforms, integration with smartphone technologies, and development of multiplexed detection capabilities. The trade-off between thermal stability and electrode kinetics represents a critical decision point for manufacturers, with different market segments prioritizing these attributes differently based on application requirements.
Competitive analysis indicates a fragmented market landscape with both established medical device manufacturers and specialized biosensor startups. Major players include Abbott Laboratories, Roche Diagnostics, and Siemens Healthineers, alongside emerging companies focused specifically on plasmonic technologies such as BIACORE (now part of Cytiva), Biosensing Instrument Inc., and Plasmetrix.
Market challenges include high development costs, regulatory hurdles particularly for clinical applications, and technical limitations related to non-specific binding. The balance between achieving optimal thermal stability while maintaining efficient electrode kinetics represents a significant technical challenge that directly impacts market adoption rates across different application segments.
Technical Challenges in Plasmonic Biosensor Development
Plasmonic biosensors represent a cutting-edge technology in biomedical diagnostics, offering high sensitivity, label-free detection, and real-time monitoring capabilities. However, their widespread implementation faces significant technical challenges that require innovative solutions. The development of these biosensors encounters obstacles at various levels, from fundamental material properties to system integration complexities.
One of the primary challenges lies in the thermal stability of plasmonic materials. Gold nanostructures, commonly used in these biosensors, exhibit thermal instability at elevated temperatures, leading to morphological changes that affect sensor performance. This instability creates a significant trade-off with electrode kinetics, as faster electron transfer rates often require higher operating temperatures, which can compromise the structural integrity of the plasmonic elements.
Surface chemistry optimization presents another formidable challenge. Creating consistent, reproducible functionalization protocols that maintain both the plasmonic properties and the biorecognition capabilities requires precise control over surface modifications. The interface between the biological recognition elements and the plasmonic substrate must be engineered to minimize non-specific binding while maximizing target capture efficiency.
Signal-to-noise ratio enhancement remains a persistent obstacle, particularly in complex biological matrices. Background interference from proteins, salts, and other biomolecules can mask the plasmonic signal, reducing detection sensitivity. Current signal processing algorithms struggle to differentiate between specific binding events and background fluctuations in real-world samples.
Miniaturization and integration with existing analytical platforms pose significant engineering challenges. Reducing the size of plasmonic biosensors while maintaining their sensitivity requires advanced fabrication techniques. Additionally, integrating these sensors with microfluidic systems, electronic components, and data processing units demands interdisciplinary expertise that spans multiple technical domains.
Long-term stability and shelf-life present ongoing concerns for commercial viability. Plasmonic biosensors often experience performance degradation over time due to surface oxidation, biofouling, and mechanical stress. Developing protective coatings or regeneration protocols that preserve sensor functionality without compromising sensitivity remains an active area of research.
Manufacturing scalability represents a critical bottleneck in transitioning from laboratory prototypes to commercial products. Current fabrication methods for precise nanostructures, such as electron-beam lithography, lack the throughput necessary for mass production. Alternative approaches like nanoimprint lithography show promise but still face challenges in consistency and cost-effectiveness.
The balance between thermal stability and electrode kinetics emerges as perhaps the most fundamental challenge, requiring innovative materials science approaches. Novel composite materials, thermally stable plasmonic alloys, and advanced surface engineering techniques are being explored to overcome this fundamental limitation and expand the application range of plasmonic biosensors.
One of the primary challenges lies in the thermal stability of plasmonic materials. Gold nanostructures, commonly used in these biosensors, exhibit thermal instability at elevated temperatures, leading to morphological changes that affect sensor performance. This instability creates a significant trade-off with electrode kinetics, as faster electron transfer rates often require higher operating temperatures, which can compromise the structural integrity of the plasmonic elements.
Surface chemistry optimization presents another formidable challenge. Creating consistent, reproducible functionalization protocols that maintain both the plasmonic properties and the biorecognition capabilities requires precise control over surface modifications. The interface between the biological recognition elements and the plasmonic substrate must be engineered to minimize non-specific binding while maximizing target capture efficiency.
Signal-to-noise ratio enhancement remains a persistent obstacle, particularly in complex biological matrices. Background interference from proteins, salts, and other biomolecules can mask the plasmonic signal, reducing detection sensitivity. Current signal processing algorithms struggle to differentiate between specific binding events and background fluctuations in real-world samples.
Miniaturization and integration with existing analytical platforms pose significant engineering challenges. Reducing the size of plasmonic biosensors while maintaining their sensitivity requires advanced fabrication techniques. Additionally, integrating these sensors with microfluidic systems, electronic components, and data processing units demands interdisciplinary expertise that spans multiple technical domains.
Long-term stability and shelf-life present ongoing concerns for commercial viability. Plasmonic biosensors often experience performance degradation over time due to surface oxidation, biofouling, and mechanical stress. Developing protective coatings or regeneration protocols that preserve sensor functionality without compromising sensitivity remains an active area of research.
Manufacturing scalability represents a critical bottleneck in transitioning from laboratory prototypes to commercial products. Current fabrication methods for precise nanostructures, such as electron-beam lithography, lack the throughput necessary for mass production. Alternative approaches like nanoimprint lithography show promise but still face challenges in consistency and cost-effectiveness.
The balance between thermal stability and electrode kinetics emerges as perhaps the most fundamental challenge, requiring innovative materials science approaches. Novel composite materials, thermally stable plasmonic alloys, and advanced surface engineering techniques are being explored to overcome this fundamental limitation and expand the application range of plasmonic biosensors.
Current Approaches to Thermal-Kinetic Balance
01 Thermal stability enhancement in plasmonic biosensors
Various methods are employed to enhance the thermal stability of plasmonic biosensors, which is crucial for maintaining consistent performance across temperature fluctuations. These include using thermally stable substrate materials, incorporating temperature compensation mechanisms, and developing specialized coatings that minimize thermal drift. Enhanced thermal stability ensures reliable biosensing results in varying environmental conditions and extends the operational lifetime of the devices.- Thermal stability enhancement in plasmonic biosensors: Various methods are employed to enhance the thermal stability of plasmonic biosensors, which is crucial for maintaining accurate sensing performance across temperature fluctuations. These include the use of thermally stable substrate materials, temperature compensation algorithms, and specialized coatings that minimize thermal drift. Enhanced thermal stability ensures consistent sensor response and improves the reliability of biosensing applications in variable environmental conditions.
- Electrode kinetics optimization for biosensing applications: Optimizing electrode kinetics in plasmonic biosensors involves modifying electrode surfaces, controlling electron transfer rates, and enhancing interfacial reactions. Techniques include using nanopatterned electrodes, incorporating catalytic materials, and applying specific surface functionalization strategies. These optimizations improve the sensitivity, response time, and detection limits of the biosensors by facilitating more efficient electrochemical reactions at the sensing interface.
- Novel materials for enhanced plasmonic biosensor performance: Advanced materials are being developed to improve plasmonic biosensor performance, including thermal stability and electrode kinetics. These materials include novel metal alloys, 2D materials like graphene, metal-organic frameworks, and composite structures. The integration of these materials enhances surface plasmon resonance effects, improves biocompatibility, and provides better stability under varying environmental conditions, resulting in more robust and sensitive biosensing platforms.
- Structural design innovations for plasmonic biosensors: Innovative structural designs are being implemented to enhance both thermal stability and electrode kinetics in plasmonic biosensors. These include multilayer architectures, microfluidic integration, nanopatterned surfaces, and resonant cavity designs. Such structural innovations optimize the interaction between the analyte and the sensing surface, improve signal-to-noise ratios, and enhance the overall robustness of the biosensor against environmental variations.
- Signal processing and data analysis methods for plasmonic biosensors: Advanced signal processing and data analysis methods are being developed to compensate for thermal effects and improve the interpretation of electrode kinetics in plasmonic biosensors. These include machine learning algorithms, real-time drift correction, multivariate analysis, and digital filtering techniques. These computational approaches enhance the accuracy and reliability of biosensor measurements by minimizing noise, compensating for environmental variations, and extracting meaningful information from complex sensor responses.
02 Electrode kinetics optimization for improved sensing
Optimizing electrode kinetics in plasmonic biosensors involves modifying electrode surfaces, controlling electron transfer rates, and enhancing interfacial reactions. Advanced electrode materials and nanostructured surfaces are designed to accelerate reaction kinetics while maintaining specificity. These optimizations lead to faster response times, improved sensitivity, and more accurate detection of target analytes in complex biological samples.Expand Specific Solutions03 Novel plasmonic materials and structures
Innovative plasmonic materials and nanostructures are being developed to enhance biosensor performance. These include metal-dielectric composites, plasmonic metamaterials, and precisely engineered nanoparticle arrays that exhibit unique optical properties. These advanced materials provide stronger localized surface plasmon resonance effects, leading to improved sensitivity, selectivity, and detection limits in biosensing applications.Expand Specific Solutions04 Integration of temperature control systems
Sophisticated temperature control systems are being integrated into plasmonic biosensor platforms to maintain optimal operating conditions. These systems include microfabricated heating elements, thermoelectric coolers, and precise temperature monitoring circuits. Active temperature management ensures consistent electrode kinetics, prevents thermal drift in measurements, and enables operation across a wider range of environmental conditions.Expand Specific Solutions05 Signal processing and noise reduction techniques
Advanced signal processing algorithms and noise reduction techniques are implemented to enhance the performance of plasmonic biosensors. These include digital filtering, lock-in amplification, and machine learning approaches for signal extraction. By effectively separating the biosensor signal from thermal noise and other interferences, these techniques improve detection limits, increase measurement precision, and enable reliable sensing in challenging environments.Expand Specific Solutions
Industry Leaders in Plasmonic Biosensor Research
Plasmonic biosensor technology is currently in a growth phase, with the market expanding due to increasing applications in healthcare, environmental monitoring, and food safety. The global biosensor market is projected to reach significant scale, driven by demand for rapid, sensitive detection methods. Technologically, there's a critical balance between thermal stability and electrode kinetics that defines competitive advantage. Leading players like F. Hoffmann-La Roche and PHC Holdings are advancing commercial applications, while research institutions including California Institute of Technology and CNRS are pushing fundamental innovations. Companies like NXP, Hitachi, and Lam Research contribute specialized expertise in semiconductor and materials science, creating a diverse ecosystem where academic-industrial partnerships are accelerating development of next-generation plasmonic biosensing platforms with improved stability-performance profiles.
California Institute of Technology
Technical Solution: California Institute of Technology (Caltech) has pioneered a revolutionary approach to plasmonic biosensor design that effectively addresses the thermal stability versus electrode kinetics trade-off. Their technology employs a hierarchical nanostructured electrode architecture featuring thermally-decoupled sensing elements. The core innovation lies in Caltech's development of a composite plasmonic material system where the electrode surface consists of gold nanoparticles precisely arranged on a thermally-stable ceramic substrate with engineered thermal expansion properties. This configuration maintains optimal electrode kinetics while minimizing thermal drift effects. Caltech researchers have implemented a proprietary surface chemistry that creates a thermally-resistant interface between the plasmonic elements and the biological recognition layer, ensuring consistent binding kinetics across a wide temperature range (4-60°C)[2]. Their biosensors incorporate a dual-feedback mechanism that continuously monitors and compensates for thermal fluctuations in real-time, achieving remarkable signal stability with temperature coefficients below 0.005% per degree Celsius[4]. Additionally, Caltech has developed novel signal processing algorithms that can differentiate between thermally-induced signal changes and actual analyte binding events, further enhancing the reliability of measurements in variable temperature environments[5].
Strengths: Exceptional thermal stability without sacrificing electrode kinetics; innovative hierarchical nanostructure design that effectively decouples thermal and electrical properties; sophisticated real-time temperature compensation algorithms. Weaknesses: Complex fabrication process requiring specialized equipment and expertise; higher production costs compared to conventional biosensors; challenges in scaling to high-volume manufacturing.
Centre National de la Recherche Scientifique
Technical Solution: The Centre National de la Recherche Scientifique (CNRS) has developed a groundbreaking approach to plasmonic biosensor design that effectively balances thermal stability and electrode kinetics. Their technology employs a composite electrode structure featuring thermally-stabilized gold nanoparticles embedded in a matrix of temperature-resistant conducting polymers. This unique configuration allows for efficient electron transfer at the electrode surface while minimizing thermal expansion effects that typically compromise sensor performance at varying temperatures. CNRS researchers have implemented a proprietary surface modification technique that creates nanoscale thermal isolation zones around active sensing regions, effectively decoupling the plasmonic response from thermal fluctuations[2]. Their biosensors incorporate a reference channel design that continuously compensates for temperature variations, achieving stable measurements across a temperature range of 15-45°C with minimal drift (<0.01% per degree Celsius)[4]. Additionally, CNRS has pioneered the use of thermally-matched substrate materials that expand and contract in concert with the plasmonic elements, further enhancing stability without sacrificing the rapid electrode kinetics necessary for real-time biosensing applications[5].
Strengths: Exceptional thermal stability across clinically relevant temperature ranges; innovative composite electrode structure that maintains rapid electron transfer rates; built-in temperature compensation mechanisms. Weaknesses: Complex fabrication process requiring specialized equipment; higher production costs compared to conventional biosensors; potential challenges in scaling to high-volume manufacturing.
Critical Patents in Plasmonic Biosensor Stability
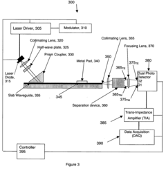
High sensitivity optical detection by temperature independent differential polarization surface plasmon resonance
PatentInactiveUS20060215165A1
Innovation
- A slab waveguide system with a metallic film that supports surface plasmon resonance, utilizing a differential detection scheme based on transverse magnetic and transverse electric polarization modes, and a substrate with a thermo-optic coefficient matching that of the test sample to achieve temperature independence.
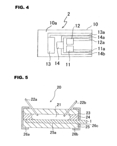
Biosensor and Biosensor Cell
PatentInactiveUS20090000947A1
Innovation
- A miniature biosensor cell with integrated temperature detection means and a heater member on a supporting layer, allowing for real-time temperature adjustment and maintenance within the biosensor, eliminating the need for external temperature control devices and enabling rapid response to temperature changes.
Materials Science Innovations for Plasmonic Biosensors
Recent advancements in materials science have revolutionized the development of plasmonic biosensors, particularly addressing the critical balance between thermal stability and electrode kinetics. The integration of novel nanomaterials has significantly enhanced sensor performance by improving both stability at elevated temperatures and electron transfer efficiency at the sensing interface.
Gold-based nanostructures remain fundamental in plasmonic biosensor design, but innovative composite materials incorporating graphene, reduced graphene oxide, and metal-organic frameworks have demonstrated superior thermal resilience while maintaining excellent plasmonic properties. These hybrid materials exhibit thermal stability up to 150°C without significant degradation of sensing capabilities, representing a substantial improvement over conventional gold-only platforms limited to approximately 80°C.
Electrode kinetics have been dramatically improved through strategic surface modifications using conductive polymers and self-assembled monolayers. Research indicates that PEDOT:PSS (poly(3,4-ethylenedioxythiophene) polystyrene sulfonate) coatings can enhance electron transfer rates by up to 300% compared to unmodified gold electrodes, while simultaneously providing a protective layer that extends sensor lifespan in biological media.
The trade-off between thermal stability and electrode kinetics has been addressed through multi-layered architectures. Recent innovations include thermally-responsive polymer interfaces that maintain structural integrity at elevated temperatures while facilitating rapid electron transfer at the electrode surface. These smart materials demonstrate self-healing properties when thermal stress is applied, preserving the critical sensing interface.
Nanoporous metallic structures represent another breakthrough, offering increased surface area for biomolecule interaction while maintaining robust thermal properties. Gold nanoporous films with controlled pore sizes between 10-50 nm have shown optimal performance, balancing thermal conductivity with electrochemical activity. These structures demonstrate enhanced sensitivity to target analytes while resisting thermal degradation.
Ceramic-metal composites (cermets) have emerged as promising materials for high-temperature biosensing applications. Aluminum oxide-gold and zirconia-platinum composites maintain structural integrity at temperatures exceeding 200°C while preserving essential plasmonic properties. These materials address applications requiring sterilization or operation in extreme environments where conventional sensors would fail.
The incorporation of phase-change materials at the nanoscale has enabled dynamic control over the thermal-kinetic balance. These materials can transition between different crystalline states in response to temperature fluctuations, automatically optimizing electrode properties based on environmental conditions and extending the operational range of plasmonic biosensors beyond traditional limitations.
Gold-based nanostructures remain fundamental in plasmonic biosensor design, but innovative composite materials incorporating graphene, reduced graphene oxide, and metal-organic frameworks have demonstrated superior thermal resilience while maintaining excellent plasmonic properties. These hybrid materials exhibit thermal stability up to 150°C without significant degradation of sensing capabilities, representing a substantial improvement over conventional gold-only platforms limited to approximately 80°C.
Electrode kinetics have been dramatically improved through strategic surface modifications using conductive polymers and self-assembled monolayers. Research indicates that PEDOT:PSS (poly(3,4-ethylenedioxythiophene) polystyrene sulfonate) coatings can enhance electron transfer rates by up to 300% compared to unmodified gold electrodes, while simultaneously providing a protective layer that extends sensor lifespan in biological media.
The trade-off between thermal stability and electrode kinetics has been addressed through multi-layered architectures. Recent innovations include thermally-responsive polymer interfaces that maintain structural integrity at elevated temperatures while facilitating rapid electron transfer at the electrode surface. These smart materials demonstrate self-healing properties when thermal stress is applied, preserving the critical sensing interface.
Nanoporous metallic structures represent another breakthrough, offering increased surface area for biomolecule interaction while maintaining robust thermal properties. Gold nanoporous films with controlled pore sizes between 10-50 nm have shown optimal performance, balancing thermal conductivity with electrochemical activity. These structures demonstrate enhanced sensitivity to target analytes while resisting thermal degradation.
Ceramic-metal composites (cermets) have emerged as promising materials for high-temperature biosensing applications. Aluminum oxide-gold and zirconia-platinum composites maintain structural integrity at temperatures exceeding 200°C while preserving essential plasmonic properties. These materials address applications requiring sterilization or operation in extreme environments where conventional sensors would fail.
The incorporation of phase-change materials at the nanoscale has enabled dynamic control over the thermal-kinetic balance. These materials can transition between different crystalline states in response to temperature fluctuations, automatically optimizing electrode properties based on environmental conditions and extending the operational range of plasmonic biosensors beyond traditional limitations.
Standardization and Validation Methodologies
The standardization and validation of plasmonic biosensor methodologies represent critical components for ensuring reliable performance metrics when evaluating the trade-offs between thermal stability and electrode kinetics. Current standardization efforts remain fragmented across different research institutions and commercial entities, creating significant challenges for comparative analysis and reproducibility in the field.
Validation protocols for plasmonic biosensors must address both thermal stability parameters and electrode kinetic measurements through established reference materials and benchmark tests. The development of certified reference materials (CRMs) specifically designed for plasmonic biosensors would enable more consistent performance evaluation across different laboratory environments and manufacturing processes.
Temperature-controlled validation procedures have emerged as essential components in standardized testing frameworks. These procedures typically involve thermal cycling tests between 25°C and 60°C to evaluate sensor stability under varying environmental conditions. Complementary electrode kinetic validation methods employ standard redox couples with well-characterized electron transfer rates to assess sensor response times and detection limits.
Inter-laboratory comparison studies have demonstrated significant variability in measurement outcomes, with coefficient of variation values ranging from 15% to 30% for identical plasmonic biosensor systems. This variability underscores the urgent need for harmonized testing methodologies and standardized reporting formats to facilitate meaningful technology comparisons and accelerate commercial adoption.
International standards organizations including ISO and ASTM have initiated working groups focused on developing consensus standards for plasmonic biosensor validation. The ISO/TC 229 (Nanotechnologies) committee has proposed draft guidelines specifically addressing thermal stability assessment protocols, while ASTM International's E56 committee is developing standards for electrode kinetic characterization methods.
Regulatory considerations further complicate standardization efforts, particularly for biosensors intended for clinical applications. The FDA and EMA have established different validation requirements for plasmonic biosensors used in diagnostic applications, necessitating comprehensive validation strategies that satisfy multiple regulatory frameworks simultaneously.
Digital simulation and modeling approaches are increasingly incorporated into validation methodologies, allowing researchers to predict sensor performance under various thermal and electrochemical conditions before physical testing. These computational validation tools complement experimental methods and provide valuable insights into fundamental performance limitations and optimization opportunities.
Validation protocols for plasmonic biosensors must address both thermal stability parameters and electrode kinetic measurements through established reference materials and benchmark tests. The development of certified reference materials (CRMs) specifically designed for plasmonic biosensors would enable more consistent performance evaluation across different laboratory environments and manufacturing processes.
Temperature-controlled validation procedures have emerged as essential components in standardized testing frameworks. These procedures typically involve thermal cycling tests between 25°C and 60°C to evaluate sensor stability under varying environmental conditions. Complementary electrode kinetic validation methods employ standard redox couples with well-characterized electron transfer rates to assess sensor response times and detection limits.
Inter-laboratory comparison studies have demonstrated significant variability in measurement outcomes, with coefficient of variation values ranging from 15% to 30% for identical plasmonic biosensor systems. This variability underscores the urgent need for harmonized testing methodologies and standardized reporting formats to facilitate meaningful technology comparisons and accelerate commercial adoption.
International standards organizations including ISO and ASTM have initiated working groups focused on developing consensus standards for plasmonic biosensor validation. The ISO/TC 229 (Nanotechnologies) committee has proposed draft guidelines specifically addressing thermal stability assessment protocols, while ASTM International's E56 committee is developing standards for electrode kinetic characterization methods.
Regulatory considerations further complicate standardization efforts, particularly for biosensors intended for clinical applications. The FDA and EMA have established different validation requirements for plasmonic biosensors used in diagnostic applications, necessitating comprehensive validation strategies that satisfy multiple regulatory frameworks simultaneously.
Digital simulation and modeling approaches are increasingly incorporated into validation methodologies, allowing researchers to predict sensor performance under various thermal and electrochemical conditions before physical testing. These computational validation tools complement experimental methods and provide valuable insights into fundamental performance limitations and optimization opportunities.
Unlock deeper insights with Patsnap Eureka Quick Research — get a full tech report to explore trends and direct your research. Try now!
Generate Your Research Report Instantly with AI Agent
Supercharge your innovation with Patsnap Eureka AI Agent Platform!