Hydrogen storage materials standards compliance and qualification pathways
SEP 28, 20259 MIN READ
Generate Your Research Report Instantly with AI Agent
Patsnap Eureka helps you evaluate technical feasibility & market potential.
Hydrogen Storage Materials Standards Evolution and Objectives
Hydrogen storage materials have evolved significantly over the past decades, driven by the global push towards clean energy solutions and the recognition of hydrogen as a key energy carrier. The initial standards for hydrogen storage materials emerged in the 1970s following the oil crisis, primarily focusing on basic safety parameters and rudimentary performance metrics. These early standards were largely fragmented across different regions with minimal international harmonization.
The 1990s marked a pivotal shift with increased research into various storage technologies including metal hydrides, chemical hydrides, and carbon-based materials. During this period, organizations such as ISO (International Organization for Standardization) and ASME (American Society of Mechanical Engineers) began developing more comprehensive standards addressing material characterization, safety protocols, and performance evaluation methodologies.
By the early 2000s, the hydrogen economy concept gained momentum, catalyzing the development of more sophisticated standards. The U.S. Department of Energy established technical targets for hydrogen storage systems, which became de facto benchmarks globally. These targets addressed gravimetric capacity, volumetric capacity, operating temperature ranges, cycling stability, and cost parameters—creating a framework for evaluating emerging storage technologies.
The evolution accelerated post-2010 with the commercialization of fuel cell vehicles and stationary power systems. This period witnessed the emergence of application-specific standards distinguishing between mobile and stationary storage requirements. Organizations including SAE International, CEN (European Committee for Standardization), and various national standards bodies developed specialized protocols for testing hydrogen storage materials under real-world conditions.
Current standards development focuses on addressing the entire lifecycle of hydrogen storage materials, incorporating sustainability metrics, recyclability assessments, and environmental impact analyses. The integration of digital technologies has also influenced standards evolution, with new protocols emerging for smart monitoring systems and predictive maintenance of storage systems.
The primary objective of contemporary hydrogen storage materials standards is to establish globally harmonized qualification pathways that ensure safety, reliability, and performance while facilitating market adoption. These standards aim to create a level playing field for technology developers while providing confidence to end-users and regulators. Additional objectives include accelerating certification processes, reducing compliance costs, and supporting the scale-up of promising technologies from laboratory to commercial deployment.
Looking forward, standards evolution is increasingly focused on enabling novel materials with breakthrough storage capacities while maintaining rigorous safety requirements—a delicate balance that will shape the future hydrogen economy landscape.
The 1990s marked a pivotal shift with increased research into various storage technologies including metal hydrides, chemical hydrides, and carbon-based materials. During this period, organizations such as ISO (International Organization for Standardization) and ASME (American Society of Mechanical Engineers) began developing more comprehensive standards addressing material characterization, safety protocols, and performance evaluation methodologies.
By the early 2000s, the hydrogen economy concept gained momentum, catalyzing the development of more sophisticated standards. The U.S. Department of Energy established technical targets for hydrogen storage systems, which became de facto benchmarks globally. These targets addressed gravimetric capacity, volumetric capacity, operating temperature ranges, cycling stability, and cost parameters—creating a framework for evaluating emerging storage technologies.
The evolution accelerated post-2010 with the commercialization of fuel cell vehicles and stationary power systems. This period witnessed the emergence of application-specific standards distinguishing between mobile and stationary storage requirements. Organizations including SAE International, CEN (European Committee for Standardization), and various national standards bodies developed specialized protocols for testing hydrogen storage materials under real-world conditions.
Current standards development focuses on addressing the entire lifecycle of hydrogen storage materials, incorporating sustainability metrics, recyclability assessments, and environmental impact analyses. The integration of digital technologies has also influenced standards evolution, with new protocols emerging for smart monitoring systems and predictive maintenance of storage systems.
The primary objective of contemporary hydrogen storage materials standards is to establish globally harmonized qualification pathways that ensure safety, reliability, and performance while facilitating market adoption. These standards aim to create a level playing field for technology developers while providing confidence to end-users and regulators. Additional objectives include accelerating certification processes, reducing compliance costs, and supporting the scale-up of promising technologies from laboratory to commercial deployment.
Looking forward, standards evolution is increasingly focused on enabling novel materials with breakthrough storage capacities while maintaining rigorous safety requirements—a delicate balance that will shape the future hydrogen economy landscape.
Market Analysis for Standardized Hydrogen Storage Solutions
The global market for standardized hydrogen storage solutions is experiencing significant growth, driven by the increasing adoption of hydrogen as a clean energy carrier. The market size for hydrogen storage materials and systems was valued at approximately $14.8 billion in 2022, with projections indicating a compound annual growth rate (CAGR) of 11.3% through 2030. This growth trajectory is primarily fueled by governmental commitments to decarbonization and substantial investments in hydrogen infrastructure development worldwide.
Key market segments for standardized hydrogen storage solutions include automotive applications, stationary power generation, industrial processes, and portable power systems. The automotive sector represents the largest market share at 38%, followed by industrial applications at 27%. Regionally, Asia-Pacific dominates the market with 42% share, led by Japan, South Korea, and China's aggressive hydrogen strategy implementations. Europe follows at 31%, with Germany, France, and the UK as primary contributors, while North America accounts for 21% of the global market.
Consumer demand patterns reveal a growing preference for storage solutions that meet stringent safety standards while offering improved energy density. End-users increasingly prioritize materials and systems that comply with international standards such as ISO 16111, ISO/TS 19883, and SAE J2579, which address hydrogen storage specifications, safety parameters, and performance requirements. This standardization trend is reshaping market dynamics, with compliant products commanding premium pricing.
Market barriers include the high costs associated with certification processes, technical challenges in meeting diverse regional standards, and the lack of harmonized global standards for hydrogen storage materials. The average certification cost for a new hydrogen storage material ranges between $200,000 and $500,000, creating significant entry barriers for smaller manufacturers and innovators.
Emerging market opportunities exist in developing cost-effective compliance pathways, particularly for novel materials such as metal-organic frameworks (MOFs) and advanced metal hydrides. The market for standardization consulting and certification services is projected to grow at 15.7% annually, outpacing the overall hydrogen storage market growth.
Industry stakeholders are increasingly forming consortia to develop shared certification platforms and reduce compliance costs. Notable examples include the Hydrogen Storage Materials Consortium (HSMC) and the International Association for Hydrogen Safety (HySafe), which are working to streamline qualification processes and establish unified testing methodologies across different jurisdictions.
Key market segments for standardized hydrogen storage solutions include automotive applications, stationary power generation, industrial processes, and portable power systems. The automotive sector represents the largest market share at 38%, followed by industrial applications at 27%. Regionally, Asia-Pacific dominates the market with 42% share, led by Japan, South Korea, and China's aggressive hydrogen strategy implementations. Europe follows at 31%, with Germany, France, and the UK as primary contributors, while North America accounts for 21% of the global market.
Consumer demand patterns reveal a growing preference for storage solutions that meet stringent safety standards while offering improved energy density. End-users increasingly prioritize materials and systems that comply with international standards such as ISO 16111, ISO/TS 19883, and SAE J2579, which address hydrogen storage specifications, safety parameters, and performance requirements. This standardization trend is reshaping market dynamics, with compliant products commanding premium pricing.
Market barriers include the high costs associated with certification processes, technical challenges in meeting diverse regional standards, and the lack of harmonized global standards for hydrogen storage materials. The average certification cost for a new hydrogen storage material ranges between $200,000 and $500,000, creating significant entry barriers for smaller manufacturers and innovators.
Emerging market opportunities exist in developing cost-effective compliance pathways, particularly for novel materials such as metal-organic frameworks (MOFs) and advanced metal hydrides. The market for standardization consulting and certification services is projected to grow at 15.7% annually, outpacing the overall hydrogen storage market growth.
Industry stakeholders are increasingly forming consortia to develop shared certification platforms and reduce compliance costs. Notable examples include the Hydrogen Storage Materials Consortium (HSMC) and the International Association for Hydrogen Safety (HySafe), which are working to streamline qualification processes and establish unified testing methodologies across different jurisdictions.
Global Hydrogen Storage Materials Standardization Landscape
The global standardization landscape for hydrogen storage materials is characterized by a complex network of international, regional, and national standards bodies working to establish consistent frameworks for safety, performance, and quality. The International Organization for Standardization (ISO) and the International Electrotechnical Commission (IEC) lead global efforts through technical committees such as ISO/TC 197 (Hydrogen Technologies) and IEC/TC 105 (Fuel Cell Technologies), which have developed key standards including ISO 16111 for portable hydrogen storage systems and ISO 19881 for gaseous hydrogen storage.
Regional standardization bodies play crucial complementary roles, with the European Committee for Standardization (CEN) and the European Committee for Electrotechnical Standardization (CENELEC) developing harmonized standards aligned with EU regulations. These include EN 17339 for transportable gas cylinders and EN 17127 for outdoor hydrogen refueling points. In North America, organizations like CSA Group and ASME have established standards such as ASME B31.12 for hydrogen piping and pipelines and CSA HPIT 1 for hydrogen powered industrial trucks.
In Asia, Japan's JISC has pioneered hydrogen storage standards through its comprehensive approach to hydrogen infrastructure, while China's SAC has rapidly developed standards like GB/T 34542 for hydrogen refueling stations as part of its ambitious hydrogen economy initiatives. South Korea's KATS has similarly established KS standards aligned with its hydrogen roadmap.
The standardization landscape reveals significant regional variations in approach and maturity. European standards emphasize integration with existing regulatory frameworks and cross-border harmonization. North American standards focus on practical implementation and industry-specific applications. Asian standards, particularly in Japan and China, demonstrate strong government coordination with national hydrogen strategies.
Key gaps in the current standardization landscape include insufficient harmonization between material-specific requirements across jurisdictions, limited standards for emerging storage technologies like metal organic frameworks and liquid organic hydrogen carriers, and inadequate coverage of lifecycle assessment methodologies for sustainability evaluation. Additionally, there is a notable absence of unified testing protocols for long-term durability and degradation mechanisms in various environmental conditions.
Collaborative initiatives are emerging to address these gaps, including the International Partnership for Hydrogen and Fuel Cells in the Economy (IPHE) and the Hydrogen Council, which are working to facilitate greater international alignment of standards and regulatory frameworks. These efforts are essential for enabling global market development and technology transfer in hydrogen storage materials.
Regional standardization bodies play crucial complementary roles, with the European Committee for Standardization (CEN) and the European Committee for Electrotechnical Standardization (CENELEC) developing harmonized standards aligned with EU regulations. These include EN 17339 for transportable gas cylinders and EN 17127 for outdoor hydrogen refueling points. In North America, organizations like CSA Group and ASME have established standards such as ASME B31.12 for hydrogen piping and pipelines and CSA HPIT 1 for hydrogen powered industrial trucks.
In Asia, Japan's JISC has pioneered hydrogen storage standards through its comprehensive approach to hydrogen infrastructure, while China's SAC has rapidly developed standards like GB/T 34542 for hydrogen refueling stations as part of its ambitious hydrogen economy initiatives. South Korea's KATS has similarly established KS standards aligned with its hydrogen roadmap.
The standardization landscape reveals significant regional variations in approach and maturity. European standards emphasize integration with existing regulatory frameworks and cross-border harmonization. North American standards focus on practical implementation and industry-specific applications. Asian standards, particularly in Japan and China, demonstrate strong government coordination with national hydrogen strategies.
Key gaps in the current standardization landscape include insufficient harmonization between material-specific requirements across jurisdictions, limited standards for emerging storage technologies like metal organic frameworks and liquid organic hydrogen carriers, and inadequate coverage of lifecycle assessment methodologies for sustainability evaluation. Additionally, there is a notable absence of unified testing protocols for long-term durability and degradation mechanisms in various environmental conditions.
Collaborative initiatives are emerging to address these gaps, including the International Partnership for Hydrogen and Fuel Cells in the Economy (IPHE) and the Hydrogen Council, which are working to facilitate greater international alignment of standards and regulatory frameworks. These efforts are essential for enabling global market development and technology transfer in hydrogen storage materials.
Current Compliance Frameworks and Testing Protocols
01 Safety standards and compliance for hydrogen storage materials
Hydrogen storage materials must adhere to strict safety standards and compliance requirements due to the volatile nature of hydrogen. These standards ensure that storage systems can safely contain hydrogen under various conditions, preventing leaks and potential hazards. Compliance frameworks include testing protocols for pressure resistance, material degradation, and emergency release mechanisms to maintain safety integrity throughout the storage system's lifecycle.- Safety standards and compliance for hydrogen storage materials: Hydrogen storage materials must adhere to specific safety standards and compliance requirements to ensure safe operation. These standards address potential risks associated with hydrogen storage, including pressure management, leak prevention, and material compatibility. Compliance with these standards is essential for certification and commercial deployment of hydrogen storage systems, requiring rigorous testing and validation procedures to verify that materials meet established safety criteria.
- Material qualification testing and certification processes: Qualification of hydrogen storage materials involves comprehensive testing protocols to evaluate performance characteristics such as absorption capacity, cycling stability, and thermal management. These certification processes include standardized testing methods to assess material properties under various operating conditions. Materials must undergo rigorous validation to ensure they meet industry specifications before being approved for commercial applications, with certification bodies providing formal documentation of compliance with relevant standards.
- Quality management systems for hydrogen storage technologies: Quality management systems play a crucial role in ensuring consistent production and performance of hydrogen storage materials. These systems incorporate monitoring protocols, documentation requirements, and quality control procedures throughout the manufacturing process. Implementation of standardized quality management frameworks helps manufacturers maintain compliance with industry standards while providing traceability and accountability for material properties and performance characteristics.
- International standards harmonization for hydrogen storage: Harmonization of international standards for hydrogen storage materials facilitates global trade and technology adoption. Different regions may have varying regulatory requirements, necessitating coordination between standards organizations to establish consistent testing methodologies and acceptance criteria. This harmonization effort aims to reduce barriers to market entry while maintaining rigorous safety and performance standards across different jurisdictions, enabling broader deployment of hydrogen storage technologies.
- Performance validation and compliance verification systems: Automated systems and methodologies for validating performance and verifying compliance of hydrogen storage materials help streamline the qualification process. These systems incorporate data management tools, testing protocols, and reporting mechanisms to document compliance with relevant standards. Advanced verification techniques may include computational modeling, accelerated testing procedures, and real-time monitoring to ensure materials maintain their performance characteristics throughout their operational lifecycle.
02 Testing and qualification methodologies for hydrogen storage systems
Specific testing methodologies are essential for qualifying hydrogen storage materials and systems. These include cyclic loading tests, temperature variation tests, and long-term stability assessments to ensure materials maintain their storage capabilities over time. Qualification processes involve standardized procedures to verify absorption/desorption rates, storage capacity, and structural integrity under operational conditions, ensuring consistent performance across different manufacturing batches.Expand Specific Solutions03 Certification processes for hydrogen storage technologies
Certification processes for hydrogen storage technologies involve third-party verification against established industry standards. These processes evaluate material properties, system design, and manufacturing quality to ensure compliance with regulatory requirements. Certification typically includes documentation of material composition, performance characteristics, and safety features, providing assurance to stakeholders that the storage systems meet necessary quality and safety benchmarks.Expand Specific Solutions04 Quality management systems for hydrogen storage material production
Quality management systems are crucial for consistent production of hydrogen storage materials. These systems incorporate monitoring protocols throughout the manufacturing process, from raw material selection to final product testing. Statistical process control methods help maintain material specifications within acceptable tolerances, while documentation systems ensure traceability of materials and production parameters, supporting both quality assurance and regulatory compliance efforts.Expand Specific Solutions05 International standards harmonization for hydrogen storage materials
Harmonization of international standards for hydrogen storage materials facilitates global trade and technology adoption. Different regions may have varying regulatory requirements, necessitating standardized testing and certification protocols that are recognized across borders. Collaborative efforts between standards organizations work to align technical specifications, safety requirements, and performance metrics, creating a unified framework that supports innovation while maintaining consistent safety and quality expectations worldwide.Expand Specific Solutions
Key Organizations in Hydrogen Storage Standardization
The hydrogen storage materials standards landscape is currently in a growth phase, with an estimated market size of $5-7 billion and projected annual growth of 12-15%. The technology is approaching early commercial maturity, with key players demonstrating varying levels of advancement. Nissan Motor and Robert Bosch GmbH lead in automotive applications, while research institutions like Zhejiang University, Southwest Research Institute, and Battelle Memorial Institute drive fundamental innovations. Specialized companies such as GRZ Technologies and Huaneng Hydrogen Energy Technology focus on commercial deployment. The competitive landscape shows a balance between established industrial players and emerging technology specialists, with standards compliance pathways being developed through collaborative efforts between industry and research organizations to accelerate market adoption.
Robert Bosch GmbH
Technical Solution: Robert Bosch GmbH has developed a comprehensive hydrogen storage qualification framework focused on automotive applications that complies with EC 79/2009, UN GTR No. 13, and ISO 16111 standards. Their approach integrates materials science with systems engineering to ensure storage solutions meet both regulatory requirements and performance targets. Bosch's qualification pathway begins with material characterization using advanced techniques including neutron diffraction and thermal desorption spectroscopy to evaluate hydrogen interaction with storage materials. Their testing protocols include accelerated aging under simulated driving cycles, extreme temperature exposure (-40°C to 85°C), and mechanical shock testing according to ISO 16750-3. Bosch has established a specialized hydrogen testing facility that can evaluate full-scale storage systems under various operating conditions, validating compliance with pressure equipment directives and automotive safety standards. Their qualification process incorporates digital twins of storage systems to predict long-term performance and identify potential failure modes before physical testing.
Strengths: Extensive automotive industry experience provides practical implementation insights; integrated approach connecting material properties to system performance; established relationships with regulatory bodies. Weaknesses: Primary focus on automotive applications may limit applicability to stationary storage; proprietary nature of some testing methodologies; high cost of comprehensive qualification process.
Southwest Research Institute
Technical Solution: Southwest Research Institute (SwRI) has established a comprehensive hydrogen storage materials qualification program that aligns with DOE Hydrogen Program guidelines and international standards including ISO 16111 and ASME B31.12. Their approach incorporates a stage-gate process beginning with material screening, followed by coupon-level testing, sub-scale prototype evaluation, and culminating in full-scale system qualification. SwRI's hydrogen testing facilities can simulate extreme environmental conditions including temperature cycling (-60°C to 120°C), pressure cycling (up to 1000 bar), and mechanical vibration to validate material performance against SAE J2579 standards. Their qualification pathway includes specialized testing for hydrogen embrittlement using ASTM F1459 and G142 methodologies, as well as proprietary techniques for evaluating material degradation mechanisms during long-term hydrogen exposure. SwRI has developed accelerated test protocols that can simulate 15+ years of service life in compressed hydrogen environments, providing a pathway for rapid qualification of novel storage materials.
Strengths: Extensive testing capabilities across multiple storage technologies; independent third-party status enhances credibility with regulatory bodies; comprehensive understanding of hydrogen-material interactions. Weaknesses: Testing protocols can be time-intensive and costly; some qualification pathways still evolving for novel materials; limited focus on system-level integration challenges.
Critical Standards and Certification Requirements Analysis
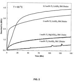
Physiochemical pathway to reversible hydrogen storage
PatentInactiveUS20090142258A1
Innovation
- A physiochemical pathway involving the use of specific hydrogen storage materials, catalysts, and solvents like tetrohydrofuran (THF) to facilitate cyclic dehydrogenation and rehydrogenation, including ball milling and sonochemical treatment, to enhance the reversibility and efficiency of hydrogen storage and release processes.
Safety and Risk Assessment Methodologies
Safety assessment methodologies for hydrogen storage materials must address the unique risks associated with hydrogen's high flammability, wide explosive range, and low ignition energy. Current risk assessment frameworks combine quantitative and qualitative approaches, including Failure Mode and Effects Analysis (FMEA), Hazard and Operability Studies (HAZOP), and Probabilistic Risk Assessment (PRA). These methodologies have been adapted specifically for hydrogen storage materials to account for their distinct physical and chemical properties.
Material-specific risk factors require particular attention, including potential for hydrogen embrittlement, pressure vessel integrity under cycling conditions, and thermal management during rapid charging and discharging. The International Organization for Standardization (ISO) has developed ISO/TR 15916 which provides basic considerations for hydrogen safety, while specialized standards such as ISO 16111 address transportable gas storage devices using hydrogen absorbed in reversible metal hydrides.
Testing protocols for safety qualification typically involve accelerated aging tests, extreme temperature exposure, mechanical shock testing, and fire resistance evaluation. These protocols must be standardized across jurisdictions to ensure consistent safety levels globally. The European Industrial Gases Association (EIGA) and the Compressed Gas Association (CGA) have published guidelines that complement formal standards with practical implementation guidance for industry stakeholders.
Risk mitigation strategies have evolved significantly, incorporating engineered safety features such as pressure relief devices, thermal management systems, and hydrogen sensors. These technical solutions are complemented by administrative controls including proper training, maintenance procedures, and emergency response planning. The qualification pathway for new hydrogen storage materials must demonstrate compliance with these multi-layered safety approaches.
Recent advancements in computational modeling have enhanced risk assessment capabilities, allowing for simulation of failure scenarios without physical testing. These models incorporate machine learning algorithms to predict material behavior under various conditions, significantly reducing the time and cost associated with safety qualification. However, regulatory bodies still require physical validation testing to complement computational approaches.
International harmonization of safety standards remains challenging due to varying regulatory frameworks across regions. The International Partnership for Hydrogen and Fuel Cells in the Economy (IPHE) is working to coordinate global efforts toward consistent safety requirements. This harmonization is essential for enabling cross-border deployment of hydrogen technologies and reducing compliance costs for manufacturers developing materials for global markets.
Material-specific risk factors require particular attention, including potential for hydrogen embrittlement, pressure vessel integrity under cycling conditions, and thermal management during rapid charging and discharging. The International Organization for Standardization (ISO) has developed ISO/TR 15916 which provides basic considerations for hydrogen safety, while specialized standards such as ISO 16111 address transportable gas storage devices using hydrogen absorbed in reversible metal hydrides.
Testing protocols for safety qualification typically involve accelerated aging tests, extreme temperature exposure, mechanical shock testing, and fire resistance evaluation. These protocols must be standardized across jurisdictions to ensure consistent safety levels globally. The European Industrial Gases Association (EIGA) and the Compressed Gas Association (CGA) have published guidelines that complement formal standards with practical implementation guidance for industry stakeholders.
Risk mitigation strategies have evolved significantly, incorporating engineered safety features such as pressure relief devices, thermal management systems, and hydrogen sensors. These technical solutions are complemented by administrative controls including proper training, maintenance procedures, and emergency response planning. The qualification pathway for new hydrogen storage materials must demonstrate compliance with these multi-layered safety approaches.
Recent advancements in computational modeling have enhanced risk assessment capabilities, allowing for simulation of failure scenarios without physical testing. These models incorporate machine learning algorithms to predict material behavior under various conditions, significantly reducing the time and cost associated with safety qualification. However, regulatory bodies still require physical validation testing to complement computational approaches.
International harmonization of safety standards remains challenging due to varying regulatory frameworks across regions. The International Partnership for Hydrogen and Fuel Cells in the Economy (IPHE) is working to coordinate global efforts toward consistent safety requirements. This harmonization is essential for enabling cross-border deployment of hydrogen technologies and reducing compliance costs for manufacturers developing materials for global markets.
International Harmonization of Certification Processes
The global landscape of hydrogen storage materials certification presents significant challenges due to fragmented regulatory frameworks across different regions. Currently, major hydrogen economies including the United States, European Union, Japan, and China maintain distinct certification processes, creating barriers for technology developers seeking international market access. These disparities increase compliance costs, extend time-to-market, and ultimately slow the global adoption of hydrogen storage technologies.
Recent initiatives by international standards organizations have begun addressing these challenges through collaborative frameworks. The International Organization for Standardization (ISO) Technical Committee 197 has established working groups specifically focused on harmonizing hydrogen storage material testing protocols and safety requirements. Similarly, the International Electrotechnical Commission (IEC) has developed complementary standards addressing electrical safety aspects of integrated hydrogen storage systems.
Mutual recognition agreements (MRAs) between certification bodies represent a promising pathway toward harmonization. The agreement between the European Notified Bodies and the U.S. National Recognized Testing Laboratories demonstrates how certification obtained in one jurisdiction can be recognized in another, reducing duplicate testing requirements. These arrangements typically begin with technical equivalence assessments of testing methodologies and acceptance criteria.
Regional hydrogen initiatives are also driving harmonization efforts. The International Partnership for Hydrogen and Fuel Cells in the Economy (IPHE) has established a Regulations, Codes and Standards Working Group that facilitates information exchange between regulatory authorities. Their Hydrogen Storage Materials Safety Testing Task Force specifically addresses qualification pathways for novel storage materials, promoting consensus on performance metrics and safety parameters.
A tiered approach to certification harmonization has emerged as a practical solution. This begins with alignment on fundamental safety requirements and testing methodologies, followed by performance criteria standardization, and ultimately progresses toward unified certification processes. The Global Technical Regulation No. 13 for hydrogen vehicles exemplifies this approach, establishing consistent safety requirements while allowing regional implementation flexibility.
Digital certification platforms are emerging as enablers for harmonization, creating transparent repositories of test data and certification documentation. These systems facilitate cross-recognition between jurisdictions by providing verifiable evidence of compliance with equivalent standards. The European Hydrogen Safety Panel's digital certification framework represents an early implementation of this approach, with potential for broader international adoption.
Recent initiatives by international standards organizations have begun addressing these challenges through collaborative frameworks. The International Organization for Standardization (ISO) Technical Committee 197 has established working groups specifically focused on harmonizing hydrogen storage material testing protocols and safety requirements. Similarly, the International Electrotechnical Commission (IEC) has developed complementary standards addressing electrical safety aspects of integrated hydrogen storage systems.
Mutual recognition agreements (MRAs) between certification bodies represent a promising pathway toward harmonization. The agreement between the European Notified Bodies and the U.S. National Recognized Testing Laboratories demonstrates how certification obtained in one jurisdiction can be recognized in another, reducing duplicate testing requirements. These arrangements typically begin with technical equivalence assessments of testing methodologies and acceptance criteria.
Regional hydrogen initiatives are also driving harmonization efforts. The International Partnership for Hydrogen and Fuel Cells in the Economy (IPHE) has established a Regulations, Codes and Standards Working Group that facilitates information exchange between regulatory authorities. Their Hydrogen Storage Materials Safety Testing Task Force specifically addresses qualification pathways for novel storage materials, promoting consensus on performance metrics and safety parameters.
A tiered approach to certification harmonization has emerged as a practical solution. This begins with alignment on fundamental safety requirements and testing methodologies, followed by performance criteria standardization, and ultimately progresses toward unified certification processes. The Global Technical Regulation No. 13 for hydrogen vehicles exemplifies this approach, establishing consistent safety requirements while allowing regional implementation flexibility.
Digital certification platforms are emerging as enablers for harmonization, creating transparent repositories of test data and certification documentation. These systems facilitate cross-recognition between jurisdictions by providing verifiable evidence of compliance with equivalent standards. The European Hydrogen Safety Panel's digital certification framework represents an early implementation of this approach, with potential for broader international adoption.
Unlock deeper insights with Patsnap Eureka Quick Research — get a full tech report to explore trends and direct your research. Try now!
Generate Your Research Report Instantly with AI Agent
Supercharge your innovation with Patsnap Eureka AI Agent Platform!