The Future of Biodegradable Power Steering Fluids in Automotive Design
JUL 28, 20259 MIN READ
Generate Your Research Report Instantly with AI Agent
Patsnap Eureka helps you evaluate technical feasibility & market potential.
Biodegradable Fluids Evolution and Objectives
The evolution of biodegradable power steering fluids in automotive design represents a significant shift towards more environmentally conscious practices in the automotive industry. This technological advancement aligns with the growing global emphasis on sustainability and eco-friendly solutions across various sectors.
Historically, power steering fluids have been predominantly petroleum-based, posing environmental risks due to their non-biodegradable nature and potential for contamination. The development of biodegradable alternatives marks a crucial step in reducing the automotive industry's environmental footprint.
The primary objective of biodegradable power steering fluids is to maintain optimal performance while significantly reducing environmental impact. These fluids aim to offer comparable or superior lubrication, heat dissipation, and corrosion protection properties to their conventional counterparts, while also being readily biodegradable in the event of leaks or disposal.
Key milestones in the evolution of biodegradable power steering fluids include the introduction of vegetable oil-based formulations, synthetic ester-based fluids, and more recently, advanced biopolymer-based solutions. Each iteration has brought improvements in biodegradability, performance, and compatibility with existing automotive systems.
The development trajectory of these fluids is closely tied to advancements in biotechnology and materials science. Researchers are continuously exploring novel bio-based materials and formulations to enhance the stability, longevity, and performance characteristics of biodegradable power steering fluids.
A significant technological goal in this field is to achieve a balance between biodegradability and long-term stability. This involves developing fluids that can withstand the harsh operating conditions within power steering systems while maintaining their eco-friendly properties. Additionally, there is a focus on improving the fluids' compatibility with a wide range of seal materials and metals used in modern automotive designs.
Another critical objective is to optimize the production processes of these biodegradable fluids to ensure cost-effectiveness and scalability. This is essential for widespread adoption in the automotive industry, where cost considerations play a crucial role in technology implementation.
Looking ahead, the future of biodegradable power steering fluids is likely to involve further refinements in molecular engineering to create custom-designed molecules that offer superior performance and biodegradability. There is also potential for the integration of smart fluid technologies, which could adapt their properties based on operating conditions, further enhancing efficiency and longevity.
Historically, power steering fluids have been predominantly petroleum-based, posing environmental risks due to their non-biodegradable nature and potential for contamination. The development of biodegradable alternatives marks a crucial step in reducing the automotive industry's environmental footprint.
The primary objective of biodegradable power steering fluids is to maintain optimal performance while significantly reducing environmental impact. These fluids aim to offer comparable or superior lubrication, heat dissipation, and corrosion protection properties to their conventional counterparts, while also being readily biodegradable in the event of leaks or disposal.
Key milestones in the evolution of biodegradable power steering fluids include the introduction of vegetable oil-based formulations, synthetic ester-based fluids, and more recently, advanced biopolymer-based solutions. Each iteration has brought improvements in biodegradability, performance, and compatibility with existing automotive systems.
The development trajectory of these fluids is closely tied to advancements in biotechnology and materials science. Researchers are continuously exploring novel bio-based materials and formulations to enhance the stability, longevity, and performance characteristics of biodegradable power steering fluids.
A significant technological goal in this field is to achieve a balance between biodegradability and long-term stability. This involves developing fluids that can withstand the harsh operating conditions within power steering systems while maintaining their eco-friendly properties. Additionally, there is a focus on improving the fluids' compatibility with a wide range of seal materials and metals used in modern automotive designs.
Another critical objective is to optimize the production processes of these biodegradable fluids to ensure cost-effectiveness and scalability. This is essential for widespread adoption in the automotive industry, where cost considerations play a crucial role in technology implementation.
Looking ahead, the future of biodegradable power steering fluids is likely to involve further refinements in molecular engineering to create custom-designed molecules that offer superior performance and biodegradability. There is also potential for the integration of smart fluid technologies, which could adapt their properties based on operating conditions, further enhancing efficiency and longevity.
Market Demand Analysis for Eco-Friendly Automotive Fluids
The market demand for eco-friendly automotive fluids, particularly biodegradable power steering fluids, is experiencing significant growth driven by increasing environmental awareness and stringent regulations. As automotive manufacturers strive to reduce their carbon footprint and meet sustainability goals, the adoption of biodegradable power steering fluids has become a key focus area.
Consumer preferences are shifting towards more environmentally responsible products, with a growing segment of car buyers prioritizing vehicles that incorporate sustainable materials and fluids. This trend is particularly pronounced in developed markets such as Europe and North America, where environmental consciousness is high and regulatory pressures are more intense.
The global automotive power steering fluid market is projected to expand steadily over the next decade, with biodegradable options expected to capture an increasing share. Factors contributing to this growth include the rising production of electric and hybrid vehicles, which often require specialized, eco-friendly fluids, and the overall expansion of the automotive industry in emerging markets.
Regulatory bodies worldwide are implementing stricter environmental standards for automotive components and fluids. The European Union's End-of-Life Vehicle Directive and similar regulations in other regions are pushing manufacturers to adopt more recyclable and biodegradable materials, including power steering fluids. This regulatory landscape is a significant driver for market growth in eco-friendly automotive fluids.
The potential market size for biodegradable power steering fluids is substantial, considering the global automotive fleet and the increasing rate of vehicle production. As older vehicles are replaced with newer models featuring eco-friendly components, the market penetration of biodegradable fluids is expected to accelerate.
However, challenges remain in terms of performance and cost. Biodegradable power steering fluids must meet or exceed the performance standards of traditional petroleum-based fluids while remaining cost-competitive. Manufacturers are investing in research and development to improve the durability, thermal stability, and overall performance of these eco-friendly alternatives.
The aftermarket segment also presents significant opportunities for biodegradable power steering fluids. As awareness grows among vehicle owners, there is potential for increased demand in fluid replacements and top-ups with environmentally friendly options. This trend is likely to be supported by automotive service providers and retailers promoting sustainable choices to their customers.
In conclusion, the market demand for eco-friendly automotive fluids, specifically biodegradable power steering fluids, is poised for robust growth. Driven by environmental concerns, regulatory pressures, and changing consumer preferences, this segment of the automotive fluid market represents a key area for innovation and market expansion in the coming years.
Consumer preferences are shifting towards more environmentally responsible products, with a growing segment of car buyers prioritizing vehicles that incorporate sustainable materials and fluids. This trend is particularly pronounced in developed markets such as Europe and North America, where environmental consciousness is high and regulatory pressures are more intense.
The global automotive power steering fluid market is projected to expand steadily over the next decade, with biodegradable options expected to capture an increasing share. Factors contributing to this growth include the rising production of electric and hybrid vehicles, which often require specialized, eco-friendly fluids, and the overall expansion of the automotive industry in emerging markets.
Regulatory bodies worldwide are implementing stricter environmental standards for automotive components and fluids. The European Union's End-of-Life Vehicle Directive and similar regulations in other regions are pushing manufacturers to adopt more recyclable and biodegradable materials, including power steering fluids. This regulatory landscape is a significant driver for market growth in eco-friendly automotive fluids.
The potential market size for biodegradable power steering fluids is substantial, considering the global automotive fleet and the increasing rate of vehicle production. As older vehicles are replaced with newer models featuring eco-friendly components, the market penetration of biodegradable fluids is expected to accelerate.
However, challenges remain in terms of performance and cost. Biodegradable power steering fluids must meet or exceed the performance standards of traditional petroleum-based fluids while remaining cost-competitive. Manufacturers are investing in research and development to improve the durability, thermal stability, and overall performance of these eco-friendly alternatives.
The aftermarket segment also presents significant opportunities for biodegradable power steering fluids. As awareness grows among vehicle owners, there is potential for increased demand in fluid replacements and top-ups with environmentally friendly options. This trend is likely to be supported by automotive service providers and retailers promoting sustainable choices to their customers.
In conclusion, the market demand for eco-friendly automotive fluids, specifically biodegradable power steering fluids, is poised for robust growth. Driven by environmental concerns, regulatory pressures, and changing consumer preferences, this segment of the automotive fluid market represents a key area for innovation and market expansion in the coming years.
Current Challenges in Biodegradable Power Steering Fluids
The development of biodegradable power steering fluids faces several significant challenges in the automotive industry. One of the primary obstacles is achieving the required performance characteristics while maintaining biodegradability. Traditional power steering fluids are designed to withstand high temperatures, pressures, and shear forces, which can be difficult to replicate with biodegradable alternatives without compromising their environmental benefits.
Thermal stability is a crucial factor that poses a considerable challenge. Biodegradable fluids often struggle to maintain their integrity and performance under the extreme temperature conditions experienced in automotive systems. This can lead to fluid breakdown, reduced efficiency, and potential system failures, which are unacceptable in safety-critical components like power steering.
Another significant hurdle is the compatibility of biodegradable fluids with existing power steering system materials. Many current systems are designed and optimized for conventional petroleum-based fluids. Introducing biodegradable alternatives may result in unexpected interactions with seals, hoses, and other components, potentially leading to premature wear, leaks, or system degradation.
Cost-effectiveness remains a substantial barrier to widespread adoption. The production of biodegradable power steering fluids often involves more complex and expensive processes compared to traditional fluids. This increased cost can be a deterrent for both manufacturers and consumers, especially in price-sensitive market segments.
Longevity and stability over time present additional challenges. Biodegradable fluids may degrade more rapidly than their conventional counterparts, potentially requiring more frequent replacement. This not only increases maintenance costs but also raises questions about the overall environmental impact when considering the lifecycle of the product.
Regulatory compliance and standardization are also significant hurdles. The automotive industry operates under strict safety and performance standards, and biodegradable power steering fluids must meet these requirements while also adhering to environmental regulations. Developing fluids that satisfy both sets of criteria simultaneously is a complex task.
Lastly, the challenge of scalability and consistent production quality cannot be overlooked. As demand for biodegradable alternatives grows, manufacturers must ensure they can produce these fluids at scale while maintaining consistent quality and performance characteristics. This requires significant investment in research, development, and production infrastructure.
Thermal stability is a crucial factor that poses a considerable challenge. Biodegradable fluids often struggle to maintain their integrity and performance under the extreme temperature conditions experienced in automotive systems. This can lead to fluid breakdown, reduced efficiency, and potential system failures, which are unacceptable in safety-critical components like power steering.
Another significant hurdle is the compatibility of biodegradable fluids with existing power steering system materials. Many current systems are designed and optimized for conventional petroleum-based fluids. Introducing biodegradable alternatives may result in unexpected interactions with seals, hoses, and other components, potentially leading to premature wear, leaks, or system degradation.
Cost-effectiveness remains a substantial barrier to widespread adoption. The production of biodegradable power steering fluids often involves more complex and expensive processes compared to traditional fluids. This increased cost can be a deterrent for both manufacturers and consumers, especially in price-sensitive market segments.
Longevity and stability over time present additional challenges. Biodegradable fluids may degrade more rapidly than their conventional counterparts, potentially requiring more frequent replacement. This not only increases maintenance costs but also raises questions about the overall environmental impact when considering the lifecycle of the product.
Regulatory compliance and standardization are also significant hurdles. The automotive industry operates under strict safety and performance standards, and biodegradable power steering fluids must meet these requirements while also adhering to environmental regulations. Developing fluids that satisfy both sets of criteria simultaneously is a complex task.
Lastly, the challenge of scalability and consistent production quality cannot be overlooked. As demand for biodegradable alternatives grows, manufacturers must ensure they can produce these fluids at scale while maintaining consistent quality and performance characteristics. This requires significant investment in research, development, and production infrastructure.
Existing Biodegradable Power Steering Fluid Solutions
01 Biodegradable base oils for power steering fluids
Biodegradable base oils, such as vegetable oils or synthetic esters, are used as the primary component in power steering fluids. These oils are environmentally friendly and can break down naturally, reducing the environmental impact of the fluid when disposed of or leaked.- Biodegradable base oils for power steering fluids: Biodegradable base oils, such as vegetable oils or synthetic esters, are used as the primary component in power steering fluids. These oils are chosen for their high biodegradability and low environmental impact. They provide the necessary lubrication and hydraulic properties while being more environmentally friendly than traditional petroleum-based fluids.
- Additives to enhance biodegradability: Specific additives are incorporated into power steering fluids to improve their biodegradability. These additives may include biodegradable polymers, surfactants, or other compounds that help break down the fluid more easily in the environment. The additives are carefully selected to maintain the fluid's performance while increasing its overall biodegradability.
- Biodegradable power steering systems: Innovative power steering system designs are developed to accommodate biodegradable fluids. These systems may include modified seals, hoses, and other components that are compatible with biodegradable fluids. The entire system is engineered to maintain performance and longevity while using environmentally friendly fluids.
- Testing and certification of biodegradability: Standardized testing methods and certification processes are established to evaluate the biodegradability of power steering fluids. These tests measure the rate and extent of fluid breakdown in various environmental conditions. Certification ensures that the fluids meet specific biodegradability criteria and comply with environmental regulations.
- Recycling and disposal of biodegradable power steering fluids: Proper recycling and disposal methods are developed for biodegradable power steering fluids. These methods may include specialized treatment processes or the use of the spent fluid as a feedstock for other applications. The goal is to minimize environmental impact and maximize resource recovery at the end of the fluid's life cycle.
02 Additives to enhance biodegradability
Specific additives are incorporated into power steering fluids to improve their biodegradability. These additives can include enzymes, microorganisms, or other compounds that facilitate the breakdown of the fluid in the environment, making it more eco-friendly.Expand Specific Solutions03 Biodegradable hydraulic systems for power steering
Development of hydraulic systems specifically designed to use biodegradable fluids in power steering applications. These systems are engineered to be compatible with eco-friendly fluids while maintaining performance and reliability.Expand Specific Solutions04 Testing methods for biodegradability
Standardized testing methods are employed to evaluate the biodegradability of power steering fluids. These tests assess the rate and extent of fluid breakdown under various environmental conditions, ensuring compliance with biodegradability standards.Expand Specific Solutions05 Biodegradable alternatives to traditional power steering fluids
Research and development of alternative biodegradable substances that can replace traditional power steering fluids. These alternatives may include water-based solutions, bio-based polymers, or other innovative materials that offer both performance and environmental benefits.Expand Specific Solutions
Key Players in Biodegradable Automotive Fluid Industry
The biodegradable power steering fluid market is in its early growth stage, driven by increasing environmental concerns and automotive sustainability initiatives. The market size is relatively small but expanding, with potential for significant growth as regulations tighten and consumer demand for eco-friendly vehicles rises. Technologically, biodegradable power steering fluids are still evolving, with companies like ThyssenKrupp Presta AG, Toyota Motor Corp., and Kia Corp. investing in research and development to improve performance and compatibility with existing systems. While not yet mainstream, these fluids are gaining traction in the automotive industry, with major players like Idemitsu Kosan Co., Ltd. and ExxonMobil Technology & Engineering Co. exploring innovative formulations to meet emerging market demands.
China Petroleum & Chemical Corp.
Technical Solution: China Petroleum & Chemical Corp. (Sinopec) has made significant strides in the development of biodegradable power steering fluids tailored for the rapidly growing Chinese automotive market. Their approach leverages locally sourced bio-based materials, particularly from agricultural waste, to create cost-effective and sustainable fluids. Sinopec's research has focused on improving the low-temperature performance of biodegradable fluids, a critical factor in the diverse climate conditions across China[6]. The company has also developed a proprietary additive package that enhances the fluid's resistance to oxidation and hydrolysis, addressing common concerns about the long-term stability of bio-based fluids[7]. Sinopec's fluids have shown promising results in field tests, demonstrating compatibility with a wide range of vehicle models, from compact cars to heavy-duty trucks[8].
Strengths: Cost-effective production using local resources, improved low-temperature performance, and broad compatibility with various vehicle types. Weaknesses: May face challenges in meeting stringent international standards, and the reliance on agricultural waste could lead to supply chain vulnerabilities.
Toyota Motor Corp.
Technical Solution: Toyota Motor Corp. has been pioneering the integration of biodegradable power steering fluids into their vehicle designs, with a focus on holistic environmental impact reduction. Their approach goes beyond just the fluid composition, encompassing the entire steering system design to optimize for biodegradable fluid use. Toyota has developed a new generation of electric power steering systems that require less fluid volume, reducing the overall environmental footprint[9]. The company's biodegradable fluids are designed to work in synergy with these systems, offering improved energy efficiency and reduced wear on components. Toyota's research has also explored the use of nanomaterials to enhance the thermal stability and lubricity of biodegradable fluids, potentially extending service intervals and reducing maintenance needs[10]. Furthermore, Toyota has implemented a closed-loop recycling program for their biodegradable fluids, aiming to minimize waste and maximize resource efficiency[11].
Strengths: Holistic approach to system design, improved energy efficiency, and innovative recycling program. Weaknesses: The specialized nature of their fluids may limit cross-compatibility with other manufacturers' systems, and the initial costs of implementation could be high.
Innovative Formulations for Enhanced Biodegradability
Transmission fluid
PatentActiveUS20240002744A1
Innovation
- A lubricating composition comprising at least 70 wt% biodegradable ester base oil with a kinematic viscosity of 2.5 to 7.0 mm2/s, combined with high viscosity esters and anti-foam additives like silicone or polyacrylate, to enhance lubrication, reduce friction, and improve thermal conductivity, while maintaining low electrical conductivity for compatibility with electric motors.
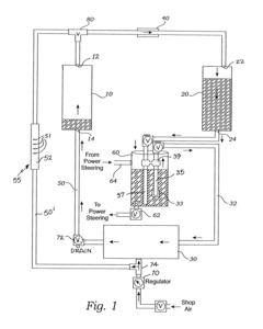
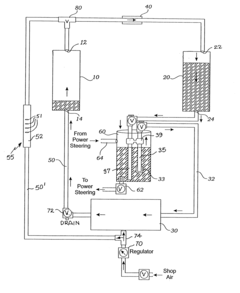
Automotive power steering flush system and methods of use
PatentInactiveUS6688340B1
Innovation
- A manual power steering fluid exchange system comprising a fluid receiving container, a supply container, a utility fluid pump, and a pressure actuated valve, where air compression in the receiving container opens the valve when 80-90% of spent fluid is drawn out, allowing replacement fluid to enter the system, ensuring efficient and complete fluid exchange without manual supervision.
Environmental Impact Assessment
The environmental impact assessment of biodegradable power steering fluids in automotive design reveals significant potential for reducing the ecological footprint of vehicles. Traditional power steering fluids, often petroleum-based, pose substantial risks to ecosystems when leaked or improperly disposed of. In contrast, biodegradable alternatives offer a more sustainable solution, aligning with the automotive industry's growing focus on environmental responsibility.
These eco-friendly fluids are typically derived from renewable resources such as vegetable oils or synthetic esters. Their biodegradability ensures that, in the event of a spill or leak, they break down naturally in the environment without causing long-term harm. This characteristic significantly reduces soil and water contamination risks associated with conventional power steering fluids.
The production process of biodegradable power steering fluids generally has a lower carbon footprint compared to their petroleum-based counterparts. Many of these fluids are manufactured using agricultural byproducts or sustainably sourced materials, contributing to a circular economy model. This approach not only minimizes waste but also reduces dependency on non-renewable resources.
In terms of performance, modern biodegradable power steering fluids have been engineered to match or exceed the functionality of traditional fluids. They offer comparable viscosity, thermal stability, and anti-wear properties, ensuring reliable vehicle operation across various environmental conditions. This advancement addresses previous concerns about the durability and effectiveness of eco-friendly alternatives in automotive applications.
The adoption of biodegradable power steering fluids also contributes to improved air quality. Unlike conventional fluids that may release volatile organic compounds (VOCs) during use, biodegradable options typically have lower VOC emissions. This reduction in harmful air pollutants aligns with increasingly stringent environmental regulations and helps mitigate the automotive industry's impact on air quality in urban areas.
From a lifecycle perspective, biodegradable power steering fluids offer advantages in end-of-life vehicle management. As vehicles are dismantled and recycled, these fluids pose fewer environmental risks during the disposal process. Their biodegradable nature simplifies handling procedures and reduces the potential for environmental contamination at recycling facilities.
However, it is important to note that the environmental benefits of biodegradable power steering fluids are maximized when considered within the broader context of sustainable vehicle design. Factors such as the energy efficiency of the power steering system, the overall weight of the vehicle, and the sourcing of raw materials for fluid production all play crucial roles in determining the net environmental impact. As such, a holistic approach to automotive design is necessary to fully realize the potential of these eco-friendly fluids in reducing the industry's ecological footprint.
These eco-friendly fluids are typically derived from renewable resources such as vegetable oils or synthetic esters. Their biodegradability ensures that, in the event of a spill or leak, they break down naturally in the environment without causing long-term harm. This characteristic significantly reduces soil and water contamination risks associated with conventional power steering fluids.
The production process of biodegradable power steering fluids generally has a lower carbon footprint compared to their petroleum-based counterparts. Many of these fluids are manufactured using agricultural byproducts or sustainably sourced materials, contributing to a circular economy model. This approach not only minimizes waste but also reduces dependency on non-renewable resources.
In terms of performance, modern biodegradable power steering fluids have been engineered to match or exceed the functionality of traditional fluids. They offer comparable viscosity, thermal stability, and anti-wear properties, ensuring reliable vehicle operation across various environmental conditions. This advancement addresses previous concerns about the durability and effectiveness of eco-friendly alternatives in automotive applications.
The adoption of biodegradable power steering fluids also contributes to improved air quality. Unlike conventional fluids that may release volatile organic compounds (VOCs) during use, biodegradable options typically have lower VOC emissions. This reduction in harmful air pollutants aligns with increasingly stringent environmental regulations and helps mitigate the automotive industry's impact on air quality in urban areas.
From a lifecycle perspective, biodegradable power steering fluids offer advantages in end-of-life vehicle management. As vehicles are dismantled and recycled, these fluids pose fewer environmental risks during the disposal process. Their biodegradable nature simplifies handling procedures and reduces the potential for environmental contamination at recycling facilities.
However, it is important to note that the environmental benefits of biodegradable power steering fluids are maximized when considered within the broader context of sustainable vehicle design. Factors such as the energy efficiency of the power steering system, the overall weight of the vehicle, and the sourcing of raw materials for fluid production all play crucial roles in determining the net environmental impact. As such, a holistic approach to automotive design is necessary to fully realize the potential of these eco-friendly fluids in reducing the industry's ecological footprint.
Regulatory Framework for Automotive Fluids
The regulatory framework for automotive fluids, including biodegradable power steering fluids, is a complex and evolving landscape that significantly impacts the future of automotive design. At the global level, organizations such as the United Nations Economic Commission for Europe (UNECE) and the International Organization for Standardization (ISO) play crucial roles in setting standards and guidelines for automotive fluids. These international bodies work to harmonize regulations across different regions, ensuring that automotive fluids meet minimum safety and performance requirements.
In the United States, the Environmental Protection Agency (EPA) and the National Highway Traffic Safety Administration (NHTSA) are the primary regulatory bodies overseeing automotive fluids. The EPA's focus is on environmental impact, particularly concerning the disposal and potential contamination risks associated with automotive fluids. The NHTSA, on the other hand, is concerned with the safety aspects of these fluids in vehicle operation. Both agencies have established stringent guidelines for the composition, performance, and labeling of automotive fluids, including power steering fluids.
The European Union has implemented the Registration, Evaluation, Authorization, and Restriction of Chemicals (REACH) regulation, which affects the production and use of automotive fluids. REACH requires manufacturers to register chemical substances and provide safety data, promoting the use of less harmful alternatives where possible. This regulatory framework has been a driving force behind the development of biodegradable alternatives in the automotive fluid market.
In Asia, countries like Japan and South Korea have their own regulatory bodies, such as the Japan Automobile Standards Internationalization Center (JASIC) and the Korea Automotive Technology Institute (KATECH), which work on developing and implementing standards for automotive fluids. These organizations often collaborate with international bodies to align their regulations with global standards while addressing specific regional concerns.
The push towards biodegradable power steering fluids is further supported by various environmental regulations and initiatives worldwide. For instance, the European Union's End-of-Life Vehicles Directive aims to reduce the environmental impact of vehicles at the end of their lifecycle, encouraging the use of more easily recyclable and biodegradable components, including fluids.
As the automotive industry moves towards more sustainable practices, regulatory bodies are likely to introduce more stringent requirements for the biodegradability and environmental impact of automotive fluids. This shift is expected to accelerate research and development in biodegradable power steering fluids, pushing manufacturers to innovate and adapt to changing regulatory landscapes.
In the United States, the Environmental Protection Agency (EPA) and the National Highway Traffic Safety Administration (NHTSA) are the primary regulatory bodies overseeing automotive fluids. The EPA's focus is on environmental impact, particularly concerning the disposal and potential contamination risks associated with automotive fluids. The NHTSA, on the other hand, is concerned with the safety aspects of these fluids in vehicle operation. Both agencies have established stringent guidelines for the composition, performance, and labeling of automotive fluids, including power steering fluids.
The European Union has implemented the Registration, Evaluation, Authorization, and Restriction of Chemicals (REACH) regulation, which affects the production and use of automotive fluids. REACH requires manufacturers to register chemical substances and provide safety data, promoting the use of less harmful alternatives where possible. This regulatory framework has been a driving force behind the development of biodegradable alternatives in the automotive fluid market.
In Asia, countries like Japan and South Korea have their own regulatory bodies, such as the Japan Automobile Standards Internationalization Center (JASIC) and the Korea Automotive Technology Institute (KATECH), which work on developing and implementing standards for automotive fluids. These organizations often collaborate with international bodies to align their regulations with global standards while addressing specific regional concerns.
The push towards biodegradable power steering fluids is further supported by various environmental regulations and initiatives worldwide. For instance, the European Union's End-of-Life Vehicles Directive aims to reduce the environmental impact of vehicles at the end of their lifecycle, encouraging the use of more easily recyclable and biodegradable components, including fluids.
As the automotive industry moves towards more sustainable practices, regulatory bodies are likely to introduce more stringent requirements for the biodegradability and environmental impact of automotive fluids. This shift is expected to accelerate research and development in biodegradable power steering fluids, pushing manufacturers to innovate and adapt to changing regulatory landscapes.
Unlock deeper insights with Patsnap Eureka Quick Research — get a full tech report to explore trends and direct your research. Try now!
Generate Your Research Report Instantly with AI Agent
Supercharge your innovation with Patsnap Eureka AI Agent Platform!