The Significance of Standards in Carbon Capture Technology Deployment
OCT 27, 202510 MIN READ
Generate Your Research Report Instantly with AI Agent
Patsnap Eureka helps you evaluate technical feasibility & market potential.
Carbon Capture Standards Background and Objectives
Carbon capture technology has evolved significantly over the past several decades, transitioning from theoretical concepts to practical applications in various industrial settings. The development trajectory began in the 1970s with initial research into carbon dioxide separation methods, gaining momentum in the 1990s as climate change concerns intensified globally. Today, carbon capture stands as a critical component in the global strategy to mitigate greenhouse gas emissions and achieve climate neutrality targets established under international frameworks such as the Paris Agreement.
Standards in carbon capture technology serve as the foundational framework that enables consistent implementation, evaluation, and comparison of different capture methodologies across diverse industrial applications. These standards encompass measurement protocols, safety requirements, equipment specifications, and performance metrics that collectively ensure technological reliability and facilitate market adoption. The absence of comprehensive standardization has historically impeded widespread deployment, creating barriers to investment and limiting cross-border technology transfer.
The primary objective of carbon capture standardization efforts is to establish universally accepted benchmarks for technology performance, safety parameters, and environmental impact assessment. This standardization aims to accelerate technology deployment by reducing market uncertainties, lowering barriers to entry for new technologies, and creating a level playing field for technology providers. Additionally, well-defined standards can significantly reduce project development timelines by providing clear compliance pathways and regulatory certainty.
Current standardization initiatives focus on several critical areas: measurement, reporting, and verification (MRV) protocols for captured carbon; technical specifications for capture equipment and processes; interoperability standards for integration with existing industrial infrastructure; and safety protocols for carbon transport and storage. These standards are being developed through collaborative efforts involving international organizations, industry consortia, research institutions, and regulatory bodies.
The evolution of carbon capture standards reflects the technology's maturation curve, with early standards focusing primarily on basic definitions and safety considerations, while more recent efforts address complex issues such as life-cycle assessment methodologies and performance guarantees. This progression demonstrates the dynamic nature of standardization processes that must continuously adapt to technological innovations and evolving market requirements.
Looking forward, the development of robust, internationally recognized standards will be instrumental in facilitating the scale-up of carbon capture technologies from demonstration projects to commercial-scale deployments. These standards will serve as critical enablers for creating transparent carbon markets, establishing credible carbon accounting mechanisms, and ultimately accelerating the transition toward a low-carbon economy through widespread adoption of carbon capture solutions.
Standards in carbon capture technology serve as the foundational framework that enables consistent implementation, evaluation, and comparison of different capture methodologies across diverse industrial applications. These standards encompass measurement protocols, safety requirements, equipment specifications, and performance metrics that collectively ensure technological reliability and facilitate market adoption. The absence of comprehensive standardization has historically impeded widespread deployment, creating barriers to investment and limiting cross-border technology transfer.
The primary objective of carbon capture standardization efforts is to establish universally accepted benchmarks for technology performance, safety parameters, and environmental impact assessment. This standardization aims to accelerate technology deployment by reducing market uncertainties, lowering barriers to entry for new technologies, and creating a level playing field for technology providers. Additionally, well-defined standards can significantly reduce project development timelines by providing clear compliance pathways and regulatory certainty.
Current standardization initiatives focus on several critical areas: measurement, reporting, and verification (MRV) protocols for captured carbon; technical specifications for capture equipment and processes; interoperability standards for integration with existing industrial infrastructure; and safety protocols for carbon transport and storage. These standards are being developed through collaborative efforts involving international organizations, industry consortia, research institutions, and regulatory bodies.
The evolution of carbon capture standards reflects the technology's maturation curve, with early standards focusing primarily on basic definitions and safety considerations, while more recent efforts address complex issues such as life-cycle assessment methodologies and performance guarantees. This progression demonstrates the dynamic nature of standardization processes that must continuously adapt to technological innovations and evolving market requirements.
Looking forward, the development of robust, internationally recognized standards will be instrumental in facilitating the scale-up of carbon capture technologies from demonstration projects to commercial-scale deployments. These standards will serve as critical enablers for creating transparent carbon markets, establishing credible carbon accounting mechanisms, and ultimately accelerating the transition toward a low-carbon economy through widespread adoption of carbon capture solutions.
Market Demand Analysis for Standardized Carbon Capture
The global carbon capture market is experiencing significant growth, driven by increasing climate change concerns and stringent emission regulations. Current market analysis indicates that the carbon capture, utilization, and storage (CCUS) market is projected to reach $7 billion by 2030, with a compound annual growth rate of approximately 13.8% from 2023. This growth trajectory underscores the urgent market demand for standardized carbon capture technologies across various industries.
Primary market drivers include governmental climate policies, particularly carbon pricing mechanisms and emission reduction targets established under international agreements such as the Paris Accord. The European Union's carbon pricing system has created a substantial economic incentive for industries to adopt carbon capture technologies, with carbon prices reaching over €80 per ton in 2023, making carbon capture increasingly economically viable for heavy emitters.
Industrial sectors demonstrating the highest demand for standardized carbon capture solutions include power generation, cement production, steel manufacturing, and chemical processing. These sectors collectively account for approximately 65% of global industrial carbon emissions. The power generation sector alone represents nearly 40% of the potential market for carbon capture technologies, particularly in regions still heavily dependent on fossil fuel electricity generation.
Market research indicates a growing preference for standardized, modular carbon capture systems that can be readily integrated into existing industrial infrastructure. This standardization demand is driven by cost considerations, with potential customers seeking solutions that offer predictable performance metrics, simplified regulatory compliance, and reduced implementation timeframes.
Geographic analysis reveals varying market maturity across regions. North America and Europe currently lead in carbon capture deployment, with established regulatory frameworks and financial incentives. However, the Asia-Pacific region, particularly China and India, represents the fastest-growing market segment due to rapid industrialization coupled with increasing environmental commitments.
Customer surveys indicate that key purchasing factors for carbon capture technologies include capture efficiency rates, operational costs per ton of CO2 captured, energy penalties, and system reliability. Standardization directly addresses these concerns by establishing performance benchmarks and quality assurance protocols.
The market also shows increasing demand for end-to-end solutions that incorporate not only capture but also transportation and storage or utilization pathways. This integrated approach requires comprehensive standardization across the entire carbon capture value chain to ensure interoperability and system efficiency.
Emerging market segments include direct air capture technologies and carbon capture solutions for small to medium-sized enterprises, both of which would benefit significantly from standardization to achieve cost reductions through economies of scale and manufacturing optimization.
Primary market drivers include governmental climate policies, particularly carbon pricing mechanisms and emission reduction targets established under international agreements such as the Paris Accord. The European Union's carbon pricing system has created a substantial economic incentive for industries to adopt carbon capture technologies, with carbon prices reaching over €80 per ton in 2023, making carbon capture increasingly economically viable for heavy emitters.
Industrial sectors demonstrating the highest demand for standardized carbon capture solutions include power generation, cement production, steel manufacturing, and chemical processing. These sectors collectively account for approximately 65% of global industrial carbon emissions. The power generation sector alone represents nearly 40% of the potential market for carbon capture technologies, particularly in regions still heavily dependent on fossil fuel electricity generation.
Market research indicates a growing preference for standardized, modular carbon capture systems that can be readily integrated into existing industrial infrastructure. This standardization demand is driven by cost considerations, with potential customers seeking solutions that offer predictable performance metrics, simplified regulatory compliance, and reduced implementation timeframes.
Geographic analysis reveals varying market maturity across regions. North America and Europe currently lead in carbon capture deployment, with established regulatory frameworks and financial incentives. However, the Asia-Pacific region, particularly China and India, represents the fastest-growing market segment due to rapid industrialization coupled with increasing environmental commitments.
Customer surveys indicate that key purchasing factors for carbon capture technologies include capture efficiency rates, operational costs per ton of CO2 captured, energy penalties, and system reliability. Standardization directly addresses these concerns by establishing performance benchmarks and quality assurance protocols.
The market also shows increasing demand for end-to-end solutions that incorporate not only capture but also transportation and storage or utilization pathways. This integrated approach requires comprehensive standardization across the entire carbon capture value chain to ensure interoperability and system efficiency.
Emerging market segments include direct air capture technologies and carbon capture solutions for small to medium-sized enterprises, both of which would benefit significantly from standardization to achieve cost reductions through economies of scale and manufacturing optimization.
Current State and Challenges in Carbon Capture Standardization
Carbon capture technology standardization currently faces a fragmented landscape globally, with significant variations in measurement methodologies, reporting frameworks, and technical specifications across regions and industries. The International Organization for Standardization (ISO) has established several standards related to carbon capture, including ISO 27919 for performance evaluation of post-combustion CO2 capture systems, but comprehensive standardization remains incomplete. This lack of unified standards creates barriers to technology deployment, investment, and cross-border implementation.
The primary challenge in carbon capture standardization is the technical complexity and diversity of capture methods. Direct air capture, post-combustion capture, pre-combustion capture, and oxy-fuel combustion each require distinct measurement protocols and performance metrics. This technological diversity complicates the development of universal standards that can be applied across different capture approaches while remaining technically rigorous.
Regulatory fragmentation presents another significant obstacle. Different jurisdictions have established varying regulatory frameworks for carbon capture, creating compliance challenges for multinational projects and technology developers. The absence of harmonized international standards forces companies to navigate complex regulatory environments, increasing costs and delaying implementation timelines for carbon capture projects.
Measurement and verification challenges further complicate standardization efforts. Accurately quantifying captured carbon dioxide across different technologies and environments requires sophisticated monitoring systems and protocols. Current methodologies show significant variations in accuracy, reliability, and cost-effectiveness, making it difficult to establish comparable performance metrics across projects and technologies.
Economic considerations also impact standardization progress. The high cost of carbon capture technologies creates pressure to optimize for cost-efficiency, sometimes at the expense of standardization. Without clear economic incentives for standardization, market participants may prioritize proprietary solutions that offer competitive advantages but hinder broader industry standardization.
Emerging markets and developing economies face particular challenges in adopting carbon capture standards. Limited technical capacity, financial resources, and regulatory infrastructure create barriers to participation in global standardization initiatives. This risks creating a two-tier system where advanced economies implement sophisticated standards while developing regions operate with less rigorous frameworks.
Industry collaboration remains insufficient, with competitive concerns sometimes limiting information sharing and joint standard development. While industry consortia like the Global CCS Institute promote knowledge exchange, proprietary interests continue to fragment standardization efforts, slowing the development of universally accepted protocols and specifications for carbon capture technologies.
The primary challenge in carbon capture standardization is the technical complexity and diversity of capture methods. Direct air capture, post-combustion capture, pre-combustion capture, and oxy-fuel combustion each require distinct measurement protocols and performance metrics. This technological diversity complicates the development of universal standards that can be applied across different capture approaches while remaining technically rigorous.
Regulatory fragmentation presents another significant obstacle. Different jurisdictions have established varying regulatory frameworks for carbon capture, creating compliance challenges for multinational projects and technology developers. The absence of harmonized international standards forces companies to navigate complex regulatory environments, increasing costs and delaying implementation timelines for carbon capture projects.
Measurement and verification challenges further complicate standardization efforts. Accurately quantifying captured carbon dioxide across different technologies and environments requires sophisticated monitoring systems and protocols. Current methodologies show significant variations in accuracy, reliability, and cost-effectiveness, making it difficult to establish comparable performance metrics across projects and technologies.
Economic considerations also impact standardization progress. The high cost of carbon capture technologies creates pressure to optimize for cost-efficiency, sometimes at the expense of standardization. Without clear economic incentives for standardization, market participants may prioritize proprietary solutions that offer competitive advantages but hinder broader industry standardization.
Emerging markets and developing economies face particular challenges in adopting carbon capture standards. Limited technical capacity, financial resources, and regulatory infrastructure create barriers to participation in global standardization initiatives. This risks creating a two-tier system where advanced economies implement sophisticated standards while developing regions operate with less rigorous frameworks.
Industry collaboration remains insufficient, with competitive concerns sometimes limiting information sharing and joint standard development. While industry consortia like the Global CCS Institute promote knowledge exchange, proprietary interests continue to fragment standardization efforts, slowing the development of universally accepted protocols and specifications for carbon capture technologies.
Current Standardization Approaches for Carbon Capture
01 Standardization of carbon capture measurement and verification
Standards for measuring, reporting, and verifying carbon capture efficiency and effectiveness are essential for consistent evaluation across different technologies and implementations. These standards establish protocols for quantifying the amount of carbon captured, the purity of the captured CO2, and the overall performance of carbon capture systems. Standardized measurement methods ensure transparency and comparability in carbon capture projects, which is crucial for regulatory compliance and carbon credit markets.- Standardization of Carbon Capture Measurement and Verification: Standards for measuring, reporting, and verifying carbon capture performance are essential for ensuring consistency across different technologies and implementations. These standards establish protocols for quantifying the amount of carbon dioxide captured, the efficiency of the capture process, and the permanence of storage. They provide a framework for certification and validation of carbon capture projects, enabling accurate assessment of their environmental impact and effectiveness in reducing greenhouse gas emissions.
- Technical Specifications for Carbon Capture Equipment: Technical standards for carbon capture equipment define the requirements for design, construction, operation, and maintenance of carbon capture facilities. These specifications cover aspects such as materials compatibility, pressure ratings, safety systems, and operational parameters. They ensure that carbon capture technologies meet minimum performance criteria, safety requirements, and reliability standards, facilitating the deployment of effective and safe carbon capture solutions across various industries.
- Integration of Carbon Capture with Industrial Processes: Standards for integrating carbon capture technologies with existing industrial processes establish guidelines for retrofitting facilities and optimizing system performance. These standards address issues such as energy efficiency, process compatibility, and operational integration. They provide frameworks for minimizing disruption to industrial operations while maximizing carbon capture efficiency, enabling industries to reduce their carbon footprint without compromising productivity or product quality.
- Carbon Capture Monitoring and Reporting Frameworks: Monitoring and reporting frameworks for carbon capture technologies establish protocols for continuous assessment of system performance and environmental impact. These standards define requirements for sensor systems, data collection methodologies, and reporting formats. They ensure transparency and accountability in carbon capture operations, facilitating regulatory compliance, stakeholder communication, and continuous improvement of carbon capture technologies and practices.
- Certification and Quality Assurance for Carbon Storage: Standards for certification and quality assurance of carbon storage establish criteria for evaluating the security, permanence, and environmental safety of stored carbon dioxide. These standards address site selection, risk assessment, monitoring requirements, and long-term management of storage sites. They provide frameworks for verifying that captured carbon remains permanently sequestered, preventing leakage and ensuring the long-term effectiveness of carbon capture and storage as a climate change mitigation strategy.
02 Technical specifications for carbon capture equipment and systems
Technical standards define the requirements for carbon capture equipment, including specifications for materials, safety features, and operational parameters. These standards cover various aspects such as pressure vessel design, heat exchanger efficiency, solvent quality, and system integration. By establishing minimum technical requirements, these standards ensure that carbon capture systems are safe, reliable, and capable of achieving the desired performance levels while maintaining compatibility with existing industrial infrastructure.Expand Specific Solutions03 Environmental impact assessment standards for carbon capture
Standards for evaluating the environmental impacts of carbon capture technologies help ensure that these solutions provide net positive benefits. These standards address factors such as energy consumption, water usage, chemical emissions, land use, and lifecycle greenhouse gas reductions. By standardizing environmental impact assessments, stakeholders can make informed decisions about which carbon capture technologies to implement based on their overall environmental footprint, not just their carbon reduction potential.Expand Specific Solutions04 Certification and compliance frameworks for carbon capture projects
Certification standards establish the criteria for validating carbon capture projects and ensuring compliance with regulatory requirements. These frameworks include procedures for project registration, monitoring, reporting, and verification of carbon removal claims. Certification standards also define the requirements for obtaining carbon credits or other financial incentives, ensuring that only legitimate and effective carbon capture projects receive recognition and support.Expand Specific Solutions05 Integration standards for carbon capture with industrial processes
Standards for integrating carbon capture technologies with existing industrial processes ensure seamless implementation and operation. These standards address the interface requirements, control systems, energy integration, and process modifications needed to incorporate carbon capture into facilities such as power plants, cement factories, and chemical production plants. Integration standards help minimize disruption to existing operations while maximizing carbon capture efficiency and cost-effectiveness.Expand Specific Solutions
Key Players in Carbon Capture Standards Development
The carbon capture technology deployment landscape is currently in a growth phase, with increasing market adoption driven by global decarbonization efforts. The market is projected to expand significantly as regulatory frameworks mature and carbon pricing mechanisms become more widespread. Technical maturity varies across capture methods, with post-combustion technologies being more developed than direct air capture approaches. Key players demonstrate different specialization areas: Chinese entities (Huaneng Clean Energy Research Institute, CNPC) focus on large-scale implementation and integration with existing power infrastructure; academic institutions (Peking University, University of California) drive fundamental research; while international corporations (Toshiba, Schlumberger, Halliburton) develop proprietary solutions targeting industrial applications. The competitive landscape reflects a mix of state-backed initiatives, academic research, and commercial ventures working to overcome cost and efficiency barriers.
Huaneng Clean Energy Research Institute
Technical Solution: Huaneng Clean Energy Research Institute has developed comprehensive standards for post-combustion carbon capture technology implementation in coal-fired power plants. Their approach includes standardized protocols for amine-based solvent selection, absorption tower design specifications, and energy optimization frameworks that have been implemented across multiple demonstration projects in China. The institute has established the first large-scale carbon capture demonstration project at the Shidongkou Power Plant with a capture capacity of 120,000 tons CO2 per year, setting benchmarks for efficiency parameters and environmental performance indicators. Their standards address solvent degradation monitoring, equipment corrosion prevention, and process integration with existing power generation infrastructure, creating a replicable model for deployment across the power sector.
Strengths: Extensive practical experience from operating large-scale demonstration projects; standards developed with real-world operational data; strong integration with existing power infrastructure. Weaknesses: Standards primarily optimized for Chinese coal plants; potentially limited applicability to other industrial sectors; higher focus on post-combustion rather than comprehensive coverage of all capture technologies.
China National Petroleum Corporation
Technical Solution: China National Petroleum Corporation (CNPC) has pioneered standardization in CO2-EOR (Enhanced Oil Recovery) integrated with carbon capture, establishing technical specifications for CO2 purity, transportation parameters, and injection protocols. Their standards framework addresses the full carbon capture value chain, from capture facility requirements to pipeline transportation specifications and geological storage site characterization. CNPC has implemented these standards at the Jilin Oil Field CCUS project, China's first full-chain CCUS demonstration project, which has safely stored over 1.5 million tons of CO2 while standardizing monitoring techniques for CO2 migration and potential leakage pathways. Their approach includes standardized risk assessment methodologies, measurement protocols for storage verification, and technical requirements for long-term site monitoring that align with international best practices while addressing China-specific geological conditions.
Strengths: Comprehensive standards covering the entire CCUS value chain; extensive field validation through operational projects; strong focus on safety and monitoring protocols. Weaknesses: Standards primarily developed for oil and gas sector applications; may require adaptation for non-EOR storage projects; potential gaps in addressing novel capture technologies beyond conventional approaches.
Critical Standards and Protocols for Carbon Capture
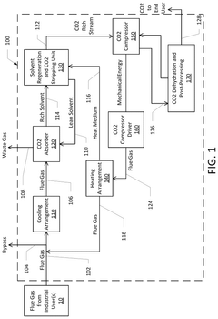
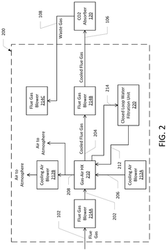
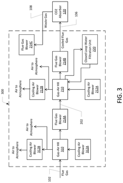
Devices, systems, facilities and processes for carbon capture optimization in industrial facilities
PatentPendingUS20250186936A1
Innovation
- The implementation of a carbon capture system that uses a gas-to-air heat exchanger to cool the flue gas stream before it enters the CO2 absorber, reducing the need for evaporative cooling water systems and minimizing water consumption.
International Regulatory Framework for Carbon Capture
The international regulatory landscape for carbon capture technologies has evolved significantly over the past two decades, creating a complex framework that both enables and constrains deployment efforts. The Paris Agreement of 2015 represents a watershed moment, establishing global commitments to limit temperature increases and recognizing carbon capture as a critical mitigation technology. This agreement has catalyzed numerous national policies and regulatory frameworks specifically addressing carbon capture implementation.
The European Union leads with its comprehensive Emissions Trading System (ETS) and the Carbon Capture and Storage Directive, which provides legal frameworks for geological storage of CO2 and establishes liability regimes. These regulations have been instrumental in driving early demonstration projects across member states, though implementation varies significantly by country.
In North America, the United States has developed regulatory frameworks through the Environmental Protection Agency's Underground Injection Control Program, while Canada has established provincial-level regulations for carbon capture projects, particularly in Alberta and Saskatchewan. These frameworks address operational safety, long-term storage verification, and monitoring requirements.
Asia-Pacific nations have adopted varied approaches, with Australia implementing the Offshore Petroleum and Greenhouse Gas Storage Act, while China has included carbon capture in its Five-Year Plans without comprehensive dedicated legislation. Japan focuses on technology development support rather than specific regulatory frameworks.
Cross-border carbon transport presents unique regulatory challenges, as pipeline infrastructure often crosses multiple jurisdictions. The London Protocol amendments of 2009 addressed transboundary CO2 transport for geological storage purposes, though ratification remains incomplete. This creates uncertainty for large-scale deployment requiring international cooperation.
Liability frameworks represent another critical regulatory component, with approaches ranging from time-limited operator liability (EU model) to permanent liability (some U.S. states). These frameworks significantly impact investment decisions and project economics, as they determine long-term risk allocation between private operators and public entities.
Standardization efforts through organizations like ISO and the International Energy Agency aim to harmonize technical specifications and monitoring protocols. However, significant gaps remain in international regulatory alignment, particularly regarding storage site certification, monitoring requirements, and verification methodologies. These inconsistencies create barriers to technology transfer and global deployment at the scale required to meet climate targets.
The European Union leads with its comprehensive Emissions Trading System (ETS) and the Carbon Capture and Storage Directive, which provides legal frameworks for geological storage of CO2 and establishes liability regimes. These regulations have been instrumental in driving early demonstration projects across member states, though implementation varies significantly by country.
In North America, the United States has developed regulatory frameworks through the Environmental Protection Agency's Underground Injection Control Program, while Canada has established provincial-level regulations for carbon capture projects, particularly in Alberta and Saskatchewan. These frameworks address operational safety, long-term storage verification, and monitoring requirements.
Asia-Pacific nations have adopted varied approaches, with Australia implementing the Offshore Petroleum and Greenhouse Gas Storage Act, while China has included carbon capture in its Five-Year Plans without comprehensive dedicated legislation. Japan focuses on technology development support rather than specific regulatory frameworks.
Cross-border carbon transport presents unique regulatory challenges, as pipeline infrastructure often crosses multiple jurisdictions. The London Protocol amendments of 2009 addressed transboundary CO2 transport for geological storage purposes, though ratification remains incomplete. This creates uncertainty for large-scale deployment requiring international cooperation.
Liability frameworks represent another critical regulatory component, with approaches ranging from time-limited operator liability (EU model) to permanent liability (some U.S. states). These frameworks significantly impact investment decisions and project economics, as they determine long-term risk allocation between private operators and public entities.
Standardization efforts through organizations like ISO and the International Energy Agency aim to harmonize technical specifications and monitoring protocols. However, significant gaps remain in international regulatory alignment, particularly regarding storage site certification, monitoring requirements, and verification methodologies. These inconsistencies create barriers to technology transfer and global deployment at the scale required to meet climate targets.
Economic Implications of Carbon Capture Standards
The economic implications of carbon capture standards extend far beyond mere regulatory compliance, representing a fundamental shift in how industries approach carbon management. Standardization in carbon capture technologies creates a level playing field that enables more accurate cost comparisons and investment decisions across different implementation scenarios. This economic clarity is crucial for businesses planning long-term capital expenditures in carbon capture infrastructure.
Standards drive economies of scale by encouraging compatible and interoperable technologies, potentially reducing the overall cost of carbon capture deployment by 15-30% according to recent industry analyses. As technologies become standardized, manufacturing processes become more efficient, component costs decrease, and installation procedures become streamlined—all contributing to lower implementation costs for businesses adopting these technologies.
The presence of robust standards also significantly impacts investment patterns in the carbon capture sector. Investors typically demonstrate greater confidence in technologies that adhere to established standards, as these represent reduced technical and operational risks. This confidence translates into more favorable financing terms, lower capital costs, and increased private sector participation in carbon capture projects, potentially unlocking billions in additional investment capital.
From a market development perspective, standards create predictable pathways for technology evolution, allowing businesses to plan strategic investments with greater certainty. This predictability is particularly valuable in emerging carbon markets, where standards help establish credible baselines for carbon accounting and verification—essential components for functioning carbon credit trading systems.
Labor markets also experience significant impacts from standardization in carbon capture technologies. As standards become established, specialized workforce development programs can more effectively train technicians and engineers with transferable skills across multiple projects and facilities. This standardization of skills requirements creates more efficient labor markets and reduces training costs for employers.
For international trade, carbon capture standards facilitate cross-border technology transfer and reduce non-tariff barriers to trade in environmental goods and services. Countries with aligned carbon capture standards can more easily integrate their carbon management strategies and potentially develop linked carbon pricing mechanisms, creating larger and more efficient markets for emissions reduction.
The insurance and liability landscape is similarly transformed by standardization, with insurers more willing to underwrite projects that follow established standards due to their more predictable risk profiles. This improved insurability translates directly into lower operational costs for carbon capture facilities throughout their lifecycle.
Standards drive economies of scale by encouraging compatible and interoperable technologies, potentially reducing the overall cost of carbon capture deployment by 15-30% according to recent industry analyses. As technologies become standardized, manufacturing processes become more efficient, component costs decrease, and installation procedures become streamlined—all contributing to lower implementation costs for businesses adopting these technologies.
The presence of robust standards also significantly impacts investment patterns in the carbon capture sector. Investors typically demonstrate greater confidence in technologies that adhere to established standards, as these represent reduced technical and operational risks. This confidence translates into more favorable financing terms, lower capital costs, and increased private sector participation in carbon capture projects, potentially unlocking billions in additional investment capital.
From a market development perspective, standards create predictable pathways for technology evolution, allowing businesses to plan strategic investments with greater certainty. This predictability is particularly valuable in emerging carbon markets, where standards help establish credible baselines for carbon accounting and verification—essential components for functioning carbon credit trading systems.
Labor markets also experience significant impacts from standardization in carbon capture technologies. As standards become established, specialized workforce development programs can more effectively train technicians and engineers with transferable skills across multiple projects and facilities. This standardization of skills requirements creates more efficient labor markets and reduces training costs for employers.
For international trade, carbon capture standards facilitate cross-border technology transfer and reduce non-tariff barriers to trade in environmental goods and services. Countries with aligned carbon capture standards can more easily integrate their carbon management strategies and potentially develop linked carbon pricing mechanisms, creating larger and more efficient markets for emissions reduction.
The insurance and liability landscape is similarly transformed by standardization, with insurers more willing to underwrite projects that follow established standards due to their more predictable risk profiles. This improved insurability translates directly into lower operational costs for carbon capture facilities throughout their lifecycle.
Unlock deeper insights with Patsnap Eureka Quick Research — get a full tech report to explore trends and direct your research. Try now!
Generate Your Research Report Instantly with AI Agent
Supercharge your innovation with Patsnap Eureka AI Agent Platform!



