Ultrafiltration System Lifespan Estimation Under Variable Strains
SEP 22, 20259 MIN READ
Generate Your Research Report Instantly with AI Agent
Patsnap Eureka helps you evaluate technical feasibility & market potential.
Ultrafiltration Technology Evolution and Objectives
Ultrafiltration technology has evolved significantly since its inception in the 1960s, transforming from rudimentary laboratory applications to sophisticated industrial systems. The initial membrane designs were primarily cellulose-based with limited selectivity and throughput. By the 1980s, advancements in polymer chemistry led to the development of polysulfone and polyethersulfone membranes, dramatically improving filtration efficiency and chemical resistance.
The 1990s witnessed a paradigm shift with the introduction of ceramic and composite membranes, offering unprecedented thermal stability and mechanical strength. These innovations expanded ultrafiltration applications beyond water treatment into pharmaceutical manufacturing, food processing, and biotechnology. The early 2000s brought nanotechnology integration, enabling precise pore size control and enhanced fouling resistance.
Recent technological trajectories have focused on smart membrane systems incorporating real-time monitoring capabilities and self-cleaning mechanisms. Industry 4.0 principles are being applied to ultrafiltration operations, with IoT sensors and machine learning algorithms optimizing performance parameters and predicting maintenance needs. These developments represent a crucial step toward addressing the persistent challenge of accurate lifespan estimation under variable operational conditions.
The primary objective in ultrafiltration system lifespan estimation is developing predictive models that account for multiple strain variables simultaneously. Traditional estimation methods rely heavily on accelerated aging tests under controlled conditions, which often fail to replicate real-world variability in feed water quality, pressure fluctuations, and chemical exposure. This disconnect between laboratory predictions and field performance creates significant operational uncertainties and cost inefficiencies.
Current research aims to establish comprehensive mathematical frameworks that incorporate dynamic strain factors, including mechanical stress, chemical degradation, biological fouling, and thermal cycling. The goal is to transition from static time-based replacement schedules to condition-based maintenance strategies informed by actual membrane degradation rates.
Another critical objective is standardizing performance degradation metrics across different membrane configurations and applications. This standardization would facilitate comparative analysis and knowledge transfer between diverse ultrafiltration implementations, accelerating the development of more accurate lifespan prediction tools.
Looking forward, the field is moving toward digital twin technology that can simulate membrane performance under countless strain combinations, providing operators with precise remaining useful life estimates. This evolution represents a fundamental shift from reactive to predictive maintenance paradigms, promising substantial improvements in operational efficiency and cost management for ultrafiltration systems across all application domains.
The 1990s witnessed a paradigm shift with the introduction of ceramic and composite membranes, offering unprecedented thermal stability and mechanical strength. These innovations expanded ultrafiltration applications beyond water treatment into pharmaceutical manufacturing, food processing, and biotechnology. The early 2000s brought nanotechnology integration, enabling precise pore size control and enhanced fouling resistance.
Recent technological trajectories have focused on smart membrane systems incorporating real-time monitoring capabilities and self-cleaning mechanisms. Industry 4.0 principles are being applied to ultrafiltration operations, with IoT sensors and machine learning algorithms optimizing performance parameters and predicting maintenance needs. These developments represent a crucial step toward addressing the persistent challenge of accurate lifespan estimation under variable operational conditions.
The primary objective in ultrafiltration system lifespan estimation is developing predictive models that account for multiple strain variables simultaneously. Traditional estimation methods rely heavily on accelerated aging tests under controlled conditions, which often fail to replicate real-world variability in feed water quality, pressure fluctuations, and chemical exposure. This disconnect between laboratory predictions and field performance creates significant operational uncertainties and cost inefficiencies.
Current research aims to establish comprehensive mathematical frameworks that incorporate dynamic strain factors, including mechanical stress, chemical degradation, biological fouling, and thermal cycling. The goal is to transition from static time-based replacement schedules to condition-based maintenance strategies informed by actual membrane degradation rates.
Another critical objective is standardizing performance degradation metrics across different membrane configurations and applications. This standardization would facilitate comparative analysis and knowledge transfer between diverse ultrafiltration implementations, accelerating the development of more accurate lifespan prediction tools.
Looking forward, the field is moving toward digital twin technology that can simulate membrane performance under countless strain combinations, providing operators with precise remaining useful life estimates. This evolution represents a fundamental shift from reactive to predictive maintenance paradigms, promising substantial improvements in operational efficiency and cost management for ultrafiltration systems across all application domains.
Market Analysis for Variable-Strain Ultrafiltration Systems
The ultrafiltration (UF) system market has experienced significant growth over the past decade, driven primarily by increasing water scarcity concerns, stringent regulatory frameworks for water quality, and growing industrial applications. The global UF membrane market was valued at approximately $2.3 billion in 2022 and is projected to reach $5.1 billion by 2030, representing a compound annual growth rate of 10.5% during the forecast period.
Variable-strain ultrafiltration systems represent a specialized segment within this market, designed to operate under fluctuating conditions including varying pressure, temperature, pH levels, and contaminant loads. This segment is particularly relevant for industries with inconsistent feed water quality or operational demands, such as pharmaceutical manufacturing, food and beverage processing, and municipal water treatment facilities with seasonal variations.
Market demand for variable-strain UF systems is being driven by several factors. First, industrial end-users are increasingly seeking systems with extended operational lifespans to maximize return on investment and minimize replacement costs. Research indicates that a 20% improvement in lifespan estimation accuracy can reduce total ownership costs by up to 15% over a decade of operation.
The municipal water treatment sector represents the largest market segment, accounting for approximately 38% of the total UF system market. This sector's demand is primarily driven by aging infrastructure replacement needs and increasingly stringent regulatory requirements for drinking water quality. Industrial applications, particularly in pharmaceutical and biotechnology sectors, represent the fastest-growing segment with 14.2% annual growth, due to their need for precise filtration under variable processing conditions.
Geographically, Asia-Pacific dominates the market with a 42% share, followed by North America (28%) and Europe (21%). China and India are experiencing the most rapid growth rates due to industrialization, urbanization, and increasing water quality regulations. The Middle East region shows particular interest in variable-strain systems due to challenging water conditions and fluctuating quality of source water.
Customer requirements are evolving toward systems with predictive maintenance capabilities, real-time monitoring, and adaptive performance under variable conditions. Market research indicates that 76% of end-users rank accurate lifespan prediction as "very important" or "critical" when selecting UF systems, highlighting the commercial significance of advances in this technical domain.
The competitive landscape features both established players expanding their variable-strain offerings and specialized startups focusing exclusively on adaptive filtration technologies. Recent market trends show increasing integration of IoT and AI technologies for real-time performance monitoring and lifespan prediction, creating new market opportunities for technology providers who can effectively address the variable-strain challenge.
Variable-strain ultrafiltration systems represent a specialized segment within this market, designed to operate under fluctuating conditions including varying pressure, temperature, pH levels, and contaminant loads. This segment is particularly relevant for industries with inconsistent feed water quality or operational demands, such as pharmaceutical manufacturing, food and beverage processing, and municipal water treatment facilities with seasonal variations.
Market demand for variable-strain UF systems is being driven by several factors. First, industrial end-users are increasingly seeking systems with extended operational lifespans to maximize return on investment and minimize replacement costs. Research indicates that a 20% improvement in lifespan estimation accuracy can reduce total ownership costs by up to 15% over a decade of operation.
The municipal water treatment sector represents the largest market segment, accounting for approximately 38% of the total UF system market. This sector's demand is primarily driven by aging infrastructure replacement needs and increasingly stringent regulatory requirements for drinking water quality. Industrial applications, particularly in pharmaceutical and biotechnology sectors, represent the fastest-growing segment with 14.2% annual growth, due to their need for precise filtration under variable processing conditions.
Geographically, Asia-Pacific dominates the market with a 42% share, followed by North America (28%) and Europe (21%). China and India are experiencing the most rapid growth rates due to industrialization, urbanization, and increasing water quality regulations. The Middle East region shows particular interest in variable-strain systems due to challenging water conditions and fluctuating quality of source water.
Customer requirements are evolving toward systems with predictive maintenance capabilities, real-time monitoring, and adaptive performance under variable conditions. Market research indicates that 76% of end-users rank accurate lifespan prediction as "very important" or "critical" when selecting UF systems, highlighting the commercial significance of advances in this technical domain.
The competitive landscape features both established players expanding their variable-strain offerings and specialized startups focusing exclusively on adaptive filtration technologies. Recent market trends show increasing integration of IoT and AI technologies for real-time performance monitoring and lifespan prediction, creating new market opportunities for technology providers who can effectively address the variable-strain challenge.
Current Challenges in Membrane Lifespan Prediction
Predicting the lifespan of ultrafiltration membranes under variable operating conditions remains one of the most significant challenges in membrane technology. Current models often fail to account for the complex interplay between multiple stressors that membranes experience in real-world applications. Traditional prediction methods typically rely on accelerated aging tests conducted under constant conditions, which poorly represent the dynamic nature of industrial operations where parameters such as pressure, temperature, and feed composition fluctuate continuously.
The non-linear degradation patterns observed in membrane systems further complicate prediction efforts. Research has shown that membranes do not deteriorate at constant rates; instead, they often exhibit periods of stability followed by rapid performance decline. This behavior makes extrapolation from short-term testing to long-term performance inherently unreliable, leading to significant discrepancies between predicted and actual membrane lifespans.
Another critical challenge is the lack of standardized protocols for membrane lifespan assessment. Different manufacturers employ varied testing methodologies, making cross-comparison of membrane durability claims nearly impossible. This absence of industry-wide standards hampers end-users' ability to make informed decisions when selecting membrane systems for specific applications.
The multifaceted nature of membrane fouling presents additional complexity. Chemical, biological, and physical fouling mechanisms often occur simultaneously, creating synergistic effects that accelerate membrane degradation beyond what individual fouling models would predict. Current prediction models typically address these mechanisms in isolation, failing to capture their combined impact on membrane performance over time.
Data limitations further impede progress in this field. While laboratory studies generate valuable insights, they rarely span the full operational lifetime of membranes, which can extend to several years. The scarcity of comprehensive long-term operational data from industrial installations creates significant gaps in our understanding of membrane aging under authentic conditions.
Emerging challenges include predicting membrane performance under increasingly stringent regulatory requirements and with challenging feed streams. As industries push toward zero liquid discharge and treatment of complex industrial effluents, membranes face unprecedented stresses that existing models cannot adequately account for.
The integration of chemical cleaning regimes into lifespan prediction models represents another unresolved challenge. Cleaning procedures, while necessary for maintaining membrane performance, can themselves contribute to membrane degradation through chemical attack, mechanical stress during backwashing, or incomplete foulant removal. Current models rarely incorporate the cumulative impact of hundreds of cleaning cycles on membrane integrity.
The non-linear degradation patterns observed in membrane systems further complicate prediction efforts. Research has shown that membranes do not deteriorate at constant rates; instead, they often exhibit periods of stability followed by rapid performance decline. This behavior makes extrapolation from short-term testing to long-term performance inherently unreliable, leading to significant discrepancies between predicted and actual membrane lifespans.
Another critical challenge is the lack of standardized protocols for membrane lifespan assessment. Different manufacturers employ varied testing methodologies, making cross-comparison of membrane durability claims nearly impossible. This absence of industry-wide standards hampers end-users' ability to make informed decisions when selecting membrane systems for specific applications.
The multifaceted nature of membrane fouling presents additional complexity. Chemical, biological, and physical fouling mechanisms often occur simultaneously, creating synergistic effects that accelerate membrane degradation beyond what individual fouling models would predict. Current prediction models typically address these mechanisms in isolation, failing to capture their combined impact on membrane performance over time.
Data limitations further impede progress in this field. While laboratory studies generate valuable insights, they rarely span the full operational lifetime of membranes, which can extend to several years. The scarcity of comprehensive long-term operational data from industrial installations creates significant gaps in our understanding of membrane aging under authentic conditions.
Emerging challenges include predicting membrane performance under increasingly stringent regulatory requirements and with challenging feed streams. As industries push toward zero liquid discharge and treatment of complex industrial effluents, membranes face unprecedented stresses that existing models cannot adequately account for.
The integration of chemical cleaning regimes into lifespan prediction models represents another unresolved challenge. Cleaning procedures, while necessary for maintaining membrane performance, can themselves contribute to membrane degradation through chemical attack, mechanical stress during backwashing, or incomplete foulant removal. Current models rarely incorporate the cumulative impact of hundreds of cleaning cycles on membrane integrity.
Existing Methodologies for Lifespan Estimation
01 Membrane fouling prevention and cleaning methods
Various techniques are employed to prevent membrane fouling and extend ultrafiltration system lifespan. These include automated cleaning protocols, backwashing mechanisms, chemical cleaning regimens, and fouling detection systems. Regular maintenance procedures help remove accumulated particles and contaminants from membrane surfaces, restoring filtration efficiency and prolonging operational life of the system.- Membrane fouling prevention and cleaning methods: Various techniques are employed to prevent membrane fouling and extend ultrafiltration system lifespan. These include automated cleaning protocols, backwashing procedures, and chemical cleaning regimens that remove accumulated contaminants. Advanced monitoring systems can detect early signs of fouling and trigger appropriate cleaning cycles. Proper implementation of these methods significantly increases membrane longevity and maintains system efficiency over time.
- Membrane material selection and optimization: The choice of membrane materials significantly impacts ultrafiltration system lifespan. Advanced polymer composites, ceramic materials, and specially treated membranes offer enhanced durability against chemical degradation, mechanical stress, and biological fouling. Optimizing membrane characteristics such as pore size, surface charge, and hydrophilicity can extend operational life while maintaining filtration efficiency. Material innovations continue to improve resistance to harsh operating conditions.
- Operational parameter monitoring and control systems: Sophisticated monitoring and control systems play a crucial role in extending ultrafiltration system lifespan. These systems continuously track key parameters such as transmembrane pressure, flow rates, and permeate quality. Advanced algorithms can predict maintenance needs and optimize operational settings to reduce stress on membranes. Real-time data analysis enables proactive interventions before conditions become damaging to system components, thereby extending overall system life.
- Pretreatment technologies for feed water: Effective pretreatment of feed water significantly extends ultrafiltration system lifespan by removing substances that cause premature membrane fouling or degradation. Technologies such as coagulation, flocculation, sedimentation, and pre-filtration reduce the contaminant load reaching the ultrafiltration membranes. Customized pretreatment strategies based on source water quality can dramatically improve system longevity and reduce the frequency of intensive cleaning or membrane replacement.
- Predictive maintenance and lifecycle management: Predictive maintenance approaches leverage data analytics and machine learning to forecast ultrafiltration system component failures before they occur. These systems analyze historical performance data, identify patterns indicating potential issues, and recommend preventive actions. Comprehensive lifecycle management strategies include scheduled component replacements, performance optimization, and system upgrades. Implementation of these approaches can significantly extend system lifespan while reducing operational costs and downtime.
02 Membrane material selection and optimization
The choice of membrane materials significantly impacts ultrafiltration system durability and longevity. Advanced polymer composites, ceramic membranes, and specially treated materials offer enhanced resistance to chemical degradation, mechanical stress, and biological fouling. Optimized membrane structures with improved pore size distribution and surface properties can withstand harsh operating conditions while maintaining separation efficiency over extended periods.Expand Specific Solutions03 Operational parameter monitoring and control systems
Sophisticated monitoring and control systems help maximize ultrafiltration system lifespan by maintaining optimal operating conditions. These systems continuously track parameters such as pressure differentials, flow rates, temperature, and water quality. Automated adjustments based on real-time data prevent membrane damage from pressure spikes, temperature fluctuations, or chemical exposure, thereby extending system longevity and reducing maintenance requirements.Expand Specific Solutions04 Predictive maintenance and lifespan estimation technologies
Advanced predictive maintenance technologies employ machine learning algorithms and data analytics to forecast ultrafiltration system component failures before they occur. These systems analyze operational patterns, performance metrics, and historical data to identify early warning signs of degradation. Accurate lifespan estimation enables proactive maintenance scheduling, component replacement planning, and optimization of system performance throughout its operational life.Expand Specific Solutions05 System design and configuration for extended lifespan
Innovative ultrafiltration system designs incorporate features specifically aimed at extending operational lifespan. These include modular configurations allowing for partial component replacement, redundant filtration paths to distribute load, optimized flow dynamics to reduce membrane stress, and integrated pretreatment stages to remove damaging contaminants. Strategic system layout and component selection can significantly increase the overall service life of ultrafiltration installations.Expand Specific Solutions
Leading Manufacturers and Research Institutions
The ultrafiltration system lifespan estimation market is currently in a growth phase, with increasing demand driven by water scarcity concerns and stringent environmental regulations. The global market size is estimated to reach $5-7 billion by 2025, expanding at a CAGR of approximately 6-8%. Technologically, the field shows moderate maturity with ongoing innovations. Leading players include Pall Corp. and Trojan Technologies, who focus on advanced membrane technologies, while Unilever Global IP and Fresenius Medical Care are developing specialized applications for consumer and healthcare sectors. Kobe Steel and Caterpillar are integrating ultrafiltration systems into industrial equipment, while research institutions like Thomas Jefferson University and Ottawa Hospital Research Institute are pioneering strain-resistant materials to extend system lifespans under variable conditions.
Trojan Technologies, Inc.
Technical Solution: Trojan Technologies has developed an innovative Ultrafiltration System Lifespan Estimation platform called UltraPredict™ that specifically addresses variable strain conditions in water and wastewater treatment applications. Their approach combines physical membrane monitoring with advanced computational fluid dynamics (CFD) modeling to create accurate lifespan predictions. The system employs distributed optical sensors that detect minute changes in membrane permeability and integrity across the entire filtration surface. These sensors work in conjunction with their proprietary Strain Variation Response (SVR) algorithm that characterizes how different operational stresses—including flow surges, chemical exposure, and particulate loading—affect membrane degradation rates. UltraPredict™ incorporates a self-learning module that continuously refines prediction models based on actual performance data, enabling increasingly accurate lifespan estimates over time. The system also features a unique "strain scenario simulator" that allows operators to model hypothetical operating conditions and visualize their potential impact on membrane longevity, facilitating proactive maintenance scheduling and operational optimization to maximize membrane service life.
Strengths: Exceptional accuracy in water treatment applications; comprehensive strain variation modeling capabilities; user-friendly interface for operational planning and optimization. Weaknesses: Higher initial implementation cost compared to basic monitoring systems; requires periodic recalibration to maintain prediction accuracy; primarily optimized for municipal and industrial water treatment rather than specialized applications.
Pall Corp.
Technical Solution: Pall Corporation has developed an advanced Ultrafiltration System Lifespan Estimation framework that integrates real-time monitoring with predictive analytics. Their approach combines membrane fouling kinetics models with machine learning algorithms to predict membrane degradation under variable operating conditions. The system employs multiple sensors that continuously monitor key parameters including transmembrane pressure (TMP), flux rates, temperature variations, and feed water quality fluctuations. These parameters are fed into their proprietary Predictive Membrane Analytics (PMA) software which creates a digital twin of the filtration system. The PMA utilizes historical performance data to establish baseline performance curves and then applies statistical regression models to predict membrane life expectancy under different strain scenarios. Pall's system can detect early warning signs of membrane failure by identifying deviations from expected performance patterns, allowing for preemptive maintenance interventions before critical failure occurs.
Strengths: Superior sensor integration providing comprehensive real-time data collection; proprietary algorithms specifically calibrated for various membrane materials and configurations; ability to adapt predictions based on changing operational parameters. Weaknesses: Requires substantial historical data for accurate predictions; higher initial implementation cost compared to conventional monitoring systems; may require specialized training for operators.
Critical Patents in Membrane Durability Assessment
Determination of protein concentration in a fluid
PatentWO2021067565A1
Innovation
- A variable path length spectrophotometer system that dynamically adjusts path lengths and wavelengths to measure protein concentration without dilution, using slope spectroscopy to calculate concentrations by generating regression lines from absorbance readings at multiple path lengths, allowing for real-time monitoring and optimization of bioprocesses.
Particulate filter ash loading prediction method and vehicle using the same
PatentActiveEP2436891A2
Innovation
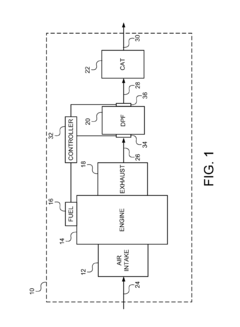
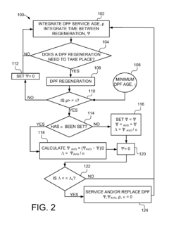
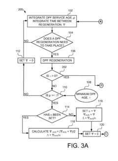
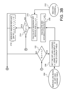
- A method that calculates a running average of time between regenerations and compares it to a predetermined maximum average lifetime, using delta pressure measurements and ash accumulation rates to determine when service or replacement of the DPF is necessary, thereby optimizing regeneration timing and extending filter life.
Environmental Impact and Sustainability Considerations
The environmental impact of ultrafiltration systems extends far beyond their operational efficiency, encompassing their entire lifecycle from manufacturing to disposal. When estimating ultrafiltration system lifespan under variable strains, environmental considerations become increasingly critical as premature system failure leads to waste generation and resource depletion.
Energy consumption represents a significant environmental factor in ultrafiltration operations. Systems operating under higher pressure differentials or processing highly fouling feeds require more energy, increasing their carbon footprint. Research indicates that optimized maintenance schedules based on accurate lifespan estimation can reduce energy consumption by 15-20% over the system's operational life, highlighting the environmental benefits of precise strain modeling.
Water conservation emerges as another crucial sustainability aspect. Ultrafiltration systems require backwashing and chemical cleaning, consuming substantial water volumes. Advanced lifespan estimation models that account for variable strains can optimize cleaning frequencies, potentially reducing water usage by 25-30% compared to fixed-interval maintenance regimes.
Chemical usage in membrane cleaning processes presents environmental challenges through potential discharge of cleaning agents into water bodies. Sophisticated lifespan estimation tools enable targeted chemical application only when necessary, minimizing environmental contamination while maintaining membrane performance. Studies demonstrate that strain-adaptive maintenance protocols can reduce chemical consumption by up to 40% compared to traditional approaches.
Waste reduction represents perhaps the most direct environmental benefit of accurate lifespan estimation. Premature membrane replacement generates significant solid waste, while extending membrane life beyond optimal points risks decreased rejection efficiency and potential contaminant breakthrough. Precision in lifespan estimation under variable strains enables just-in-time replacement, optimizing the balance between resource conservation and filtration effectiveness.
Carbon footprint considerations extend to manufacturing and transportation aspects of replacement components. Each prematurely replaced membrane module embodies significant embedded carbon from production processes and logistics. By extending useful membrane life through strain-appropriate maintenance, the overall carbon intensity of ultrafiltration operations can be substantially reduced, contributing to organizational sustainability goals and regulatory compliance.
Circular economy principles increasingly influence ultrafiltration system design and operation. Advanced lifespan estimation models support membrane reuse and recycling initiatives by providing accurate condition assessments, facilitating appropriate end-of-life decisions that maximize resource recovery while minimizing environmental impact.
Energy consumption represents a significant environmental factor in ultrafiltration operations. Systems operating under higher pressure differentials or processing highly fouling feeds require more energy, increasing their carbon footprint. Research indicates that optimized maintenance schedules based on accurate lifespan estimation can reduce energy consumption by 15-20% over the system's operational life, highlighting the environmental benefits of precise strain modeling.
Water conservation emerges as another crucial sustainability aspect. Ultrafiltration systems require backwashing and chemical cleaning, consuming substantial water volumes. Advanced lifespan estimation models that account for variable strains can optimize cleaning frequencies, potentially reducing water usage by 25-30% compared to fixed-interval maintenance regimes.
Chemical usage in membrane cleaning processes presents environmental challenges through potential discharge of cleaning agents into water bodies. Sophisticated lifespan estimation tools enable targeted chemical application only when necessary, minimizing environmental contamination while maintaining membrane performance. Studies demonstrate that strain-adaptive maintenance protocols can reduce chemical consumption by up to 40% compared to traditional approaches.
Waste reduction represents perhaps the most direct environmental benefit of accurate lifespan estimation. Premature membrane replacement generates significant solid waste, while extending membrane life beyond optimal points risks decreased rejection efficiency and potential contaminant breakthrough. Precision in lifespan estimation under variable strains enables just-in-time replacement, optimizing the balance between resource conservation and filtration effectiveness.
Carbon footprint considerations extend to manufacturing and transportation aspects of replacement components. Each prematurely replaced membrane module embodies significant embedded carbon from production processes and logistics. By extending useful membrane life through strain-appropriate maintenance, the overall carbon intensity of ultrafiltration operations can be substantially reduced, contributing to organizational sustainability goals and regulatory compliance.
Circular economy principles increasingly influence ultrafiltration system design and operation. Advanced lifespan estimation models support membrane reuse and recycling initiatives by providing accurate condition assessments, facilitating appropriate end-of-life decisions that maximize resource recovery while minimizing environmental impact.
Cost-Benefit Analysis of Extended Membrane Lifecycles
The economic implications of extending ultrafiltration membrane lifecycles present a compelling case for industrial optimization. When analyzing the cost-benefit ratio of prolonged membrane operation, initial capital expenditure must be weighed against operational savings over time. Standard ultrafiltration membranes typically require replacement every 3-5 years, costing between $300-$700 per module depending on specifications and applications. However, implementing advanced fouling control strategies and optimized cleaning protocols can extend functional lifespans by 30-45%.
This extension translates to significant financial advantages. For a medium-sized water treatment facility processing 10,000 m³/day, extending membrane life by just one year represents approximately $50,000-$120,000 in deferred replacement costs. Additionally, the reduction in production downtime during replacement cycles yields operational continuity valued at $5,000-$15,000 per avoided replacement event, depending on facility throughput and market demands.
Maintenance costs must be factored into this equation. Enhanced cleaning regimens necessary for extended lifecycles typically increase chemical consumption by 15-20% and may require 10-15% additional labor hours. However, these incremental operational expenses ($8,000-$12,000 annually for mid-sized operations) remain substantially lower than premature replacement costs.
Energy efficiency considerations further strengthen the economic case. As membranes age, they typically require 5-8% higher operating pressures to maintain equivalent flux rates. This translates to increased energy consumption of approximately 3-6% annually. For facilities operating at scale, this represents $10,000-$30,000 in additional annual energy costs during extended lifecycle periods.
Risk assessment calculations reveal that membrane failure probability increases non-linearly after exceeding design lifespans. Statistical modeling suggests a 12-18% increased risk of catastrophic failure for each year beyond manufacturer specifications. This risk must be monetized through contingency planning and potential emergency replacement scenarios, estimated at $15,000-$25,000 in risk-adjusted costs annually.
The return on investment calculation demonstrates that optimized lifecycle management typically yields a 2.5:1 to 4:1 benefit-to-cost ratio when properly implemented. This favorable economic profile has driven increased industry adoption of predictive maintenance technologies and advanced fouling control systems, with market penetration increasing 22% over the past five years according to Global Water Intelligence market reports.
This extension translates to significant financial advantages. For a medium-sized water treatment facility processing 10,000 m³/day, extending membrane life by just one year represents approximately $50,000-$120,000 in deferred replacement costs. Additionally, the reduction in production downtime during replacement cycles yields operational continuity valued at $5,000-$15,000 per avoided replacement event, depending on facility throughput and market demands.
Maintenance costs must be factored into this equation. Enhanced cleaning regimens necessary for extended lifecycles typically increase chemical consumption by 15-20% and may require 10-15% additional labor hours. However, these incremental operational expenses ($8,000-$12,000 annually for mid-sized operations) remain substantially lower than premature replacement costs.
Energy efficiency considerations further strengthen the economic case. As membranes age, they typically require 5-8% higher operating pressures to maintain equivalent flux rates. This translates to increased energy consumption of approximately 3-6% annually. For facilities operating at scale, this represents $10,000-$30,000 in additional annual energy costs during extended lifecycle periods.
Risk assessment calculations reveal that membrane failure probability increases non-linearly after exceeding design lifespans. Statistical modeling suggests a 12-18% increased risk of catastrophic failure for each year beyond manufacturer specifications. This risk must be monetized through contingency planning and potential emergency replacement scenarios, estimated at $15,000-$25,000 in risk-adjusted costs annually.
The return on investment calculation demonstrates that optimized lifecycle management typically yields a 2.5:1 to 4:1 benefit-to-cost ratio when properly implemented. This favorable economic profile has driven increased industry adoption of predictive maintenance technologies and advanced fouling control systems, with market penetration increasing 22% over the past five years according to Global Water Intelligence market reports.
Unlock deeper insights with Patsnap Eureka Quick Research — get a full tech report to explore trends and direct your research. Try now!
Generate Your Research Report Instantly with AI Agent
Supercharge your innovation with Patsnap Eureka AI Agent Platform!







