What Are the Benefits of Conductive Adhesives in Smart Sensors?
OCT 10, 20259 MIN READ
Generate Your Research Report Instantly with AI Agent
Patsnap Eureka helps you evaluate technical feasibility & market potential.
Conductive Adhesives Technology Background and Objectives
Conductive adhesives have emerged as a pivotal technology in the electronics industry, evolving significantly since their introduction in the 1960s. Initially developed as alternatives to traditional soldering methods, these specialized materials combine polymer matrices with conductive fillers to create versatile bonding solutions that offer both mechanical adhesion and electrical conductivity. The evolution of conductive adhesives has been closely tied to the miniaturization trends in electronics and the increasing demand for more environmentally friendly manufacturing processes.
The technological trajectory of conductive adhesives has seen remarkable advancement from simple epoxy-silver composites to sophisticated formulations incorporating nanomaterials such as carbon nanotubes, graphene, and metallic nanoparticles. This progression has been driven by the growing requirements for higher performance in terms of conductivity, reliability, and processing compatibility with sensitive electronic components.
In the context of smart sensors, conductive adhesives represent a critical enabling technology. Smart sensors, which integrate sensing elements with signal processing capabilities, have become ubiquitous in applications ranging from consumer electronics to industrial automation, healthcare, and automotive systems. These sensors increasingly demand interconnection solutions that can accommodate complex geometries, flexible substrates, and heterogeneous material integration while maintaining reliable electrical pathways.
The primary technical objectives in the development of conductive adhesives for smart sensor applications include achieving enhanced electrical conductivity while maintaining mechanical flexibility, improving thermal management capabilities, ensuring long-term reliability under various environmental conditions, and developing formulations compatible with automated manufacturing processes. Additionally, there is a growing emphasis on creating adhesives that can function effectively in specialized environments such as high-temperature operations, high-humidity conditions, or applications requiring biocompatibility.
Recent technological trends indicate a shift toward anisotropic conductive adhesives (ACAs) that provide directional conductivity, allowing for higher-density interconnections without the risk of short circuits. There is also significant research focused on self-healing conductive adhesives that can restore electrical pathways after mechanical damage, enhancing the longevity and reliability of smart sensor systems.
The convergence of nanotechnology with adhesive science has opened new frontiers in this field, with researchers exploring novel conductive fillers and hybrid systems that can deliver unprecedented performance characteristics. As the Internet of Things (IoT) ecosystem continues to expand, conductive adhesives are expected to play an increasingly vital role in enabling the next generation of smart, connected sensing technologies that demand both miniaturization and enhanced functionality.
The technological trajectory of conductive adhesives has seen remarkable advancement from simple epoxy-silver composites to sophisticated formulations incorporating nanomaterials such as carbon nanotubes, graphene, and metallic nanoparticles. This progression has been driven by the growing requirements for higher performance in terms of conductivity, reliability, and processing compatibility with sensitive electronic components.
In the context of smart sensors, conductive adhesives represent a critical enabling technology. Smart sensors, which integrate sensing elements with signal processing capabilities, have become ubiquitous in applications ranging from consumer electronics to industrial automation, healthcare, and automotive systems. These sensors increasingly demand interconnection solutions that can accommodate complex geometries, flexible substrates, and heterogeneous material integration while maintaining reliable electrical pathways.
The primary technical objectives in the development of conductive adhesives for smart sensor applications include achieving enhanced electrical conductivity while maintaining mechanical flexibility, improving thermal management capabilities, ensuring long-term reliability under various environmental conditions, and developing formulations compatible with automated manufacturing processes. Additionally, there is a growing emphasis on creating adhesives that can function effectively in specialized environments such as high-temperature operations, high-humidity conditions, or applications requiring biocompatibility.
Recent technological trends indicate a shift toward anisotropic conductive adhesives (ACAs) that provide directional conductivity, allowing for higher-density interconnections without the risk of short circuits. There is also significant research focused on self-healing conductive adhesives that can restore electrical pathways after mechanical damage, enhancing the longevity and reliability of smart sensor systems.
The convergence of nanotechnology with adhesive science has opened new frontiers in this field, with researchers exploring novel conductive fillers and hybrid systems that can deliver unprecedented performance characteristics. As the Internet of Things (IoT) ecosystem continues to expand, conductive adhesives are expected to play an increasingly vital role in enabling the next generation of smart, connected sensing technologies that demand both miniaturization and enhanced functionality.
Market Demand Analysis for Smart Sensor Applications
The global smart sensor market is experiencing unprecedented growth, driven by the increasing adoption of IoT technologies across various industries. According to recent market research, the smart sensor market is projected to reach $91.4 billion by 2027, with a compound annual growth rate of 19.2% from 2022. This robust growth is particularly evident in applications utilizing conductive adhesives, which are becoming essential components in modern sensor assemblies.
Consumer electronics represents the largest market segment for smart sensors with conductive adhesives, accounting for approximately 32% of the total market share. The demand is primarily fueled by the miniaturization trend in wearable devices, smartphones, and other portable electronics where traditional soldering techniques face significant limitations. Manufacturers are increasingly seeking adhesive solutions that can provide reliable electrical connections while accommodating flexible substrates and complex geometries.
The automotive industry presents another significant growth area, with smart sensors being integrated into advanced driver assistance systems (ADAS), battery management systems for electric vehicles, and various comfort and safety features. Market analysis indicates that automotive applications for conductive adhesive-based sensors will grow at 22.7% annually through 2026, outpacing the overall market growth rate.
Healthcare and medical device sectors are rapidly adopting smart sensors with conductive adhesives for patient monitoring systems, diagnostic equipment, and implantable devices. The market value for medical smart sensors is expected to double within the next five years, reaching $12.3 billion by 2028. The non-invasive nature and biocompatibility of certain conductive adhesives make them particularly valuable in this sector.
Industrial IoT applications represent another significant market driver, with manufacturing facilities implementing smart sensors for predictive maintenance, process optimization, and quality control. The industrial segment currently accounts for 27% of the conductive adhesive-based sensor market and is projected to maintain steady growth as Industry 4.0 initiatives continue to expand globally.
Regional analysis reveals that Asia-Pacific dominates the market with 41% share, followed by North America (28%) and Europe (22%). China and South Korea are particularly notable for their rapid adoption rates, driven by their robust electronics manufacturing ecosystems and government initiatives supporting IoT development.
Customer requirements are increasingly focused on reliability under harsh environmental conditions, longer operational lifetimes, and enhanced thermal management capabilities. This has created market opportunities for specialized conductive adhesives that can withstand extreme temperatures, vibration, and humidity while maintaining consistent electrical performance throughout the product lifecycle.
Consumer electronics represents the largest market segment for smart sensors with conductive adhesives, accounting for approximately 32% of the total market share. The demand is primarily fueled by the miniaturization trend in wearable devices, smartphones, and other portable electronics where traditional soldering techniques face significant limitations. Manufacturers are increasingly seeking adhesive solutions that can provide reliable electrical connections while accommodating flexible substrates and complex geometries.
The automotive industry presents another significant growth area, with smart sensors being integrated into advanced driver assistance systems (ADAS), battery management systems for electric vehicles, and various comfort and safety features. Market analysis indicates that automotive applications for conductive adhesive-based sensors will grow at 22.7% annually through 2026, outpacing the overall market growth rate.
Healthcare and medical device sectors are rapidly adopting smart sensors with conductive adhesives for patient monitoring systems, diagnostic equipment, and implantable devices. The market value for medical smart sensors is expected to double within the next five years, reaching $12.3 billion by 2028. The non-invasive nature and biocompatibility of certain conductive adhesives make them particularly valuable in this sector.
Industrial IoT applications represent another significant market driver, with manufacturing facilities implementing smart sensors for predictive maintenance, process optimization, and quality control. The industrial segment currently accounts for 27% of the conductive adhesive-based sensor market and is projected to maintain steady growth as Industry 4.0 initiatives continue to expand globally.
Regional analysis reveals that Asia-Pacific dominates the market with 41% share, followed by North America (28%) and Europe (22%). China and South Korea are particularly notable for their rapid adoption rates, driven by their robust electronics manufacturing ecosystems and government initiatives supporting IoT development.
Customer requirements are increasingly focused on reliability under harsh environmental conditions, longer operational lifetimes, and enhanced thermal management capabilities. This has created market opportunities for specialized conductive adhesives that can withstand extreme temperatures, vibration, and humidity while maintaining consistent electrical performance throughout the product lifecycle.
Current State and Challenges in Conductive Adhesive Technology
Conductive adhesives have emerged as a critical component in smart sensor technology, with global market adoption accelerating significantly over the past decade. Currently, the conductive adhesive market is valued at approximately $3.4 billion globally, with a compound annual growth rate of 8.2% projected through 2028. This growth is primarily driven by increasing demand in electronics miniaturization and the expansion of IoT applications requiring flexible, reliable interconnection solutions.
The technological landscape of conductive adhesives is characterized by two primary categories: isotropic conductive adhesives (ICAs) and anisotropic conductive adhesives (ACAs). ICAs conduct electricity in all directions and currently dominate the market with approximately 65% share, while ACAs, which conduct primarily in one direction, are gaining traction in high-density applications. Silver-filled epoxy systems remain the most widely implemented solution, accounting for approximately 70% of conductive adhesive applications in smart sensors.
Despite significant advancements, several technical challenges persist in conductive adhesive technology. Contact resistance stability remains a primary concern, with current formulations experiencing up to 30% resistance increase after 1000 hours of environmental stress testing. This degradation significantly impacts long-term sensor reliability, particularly in harsh operating environments. Additionally, the trade-off between conductivity and mechanical properties continues to challenge manufacturers, as higher filler content improves electrical performance but often compromises adhesion strength and flexibility.
Manufacturing scalability presents another significant hurdle. Current dispensing technologies struggle to achieve consistent deposition at dimensions below 50 micrometers, limiting application in next-generation microsensors. The curing process also introduces challenges, with typical thermal curing requirements (150-180°C for 30-60 minutes) potentially damaging temperature-sensitive components in advanced sensor designs.
Environmental considerations are increasingly influencing development trajectories. Traditional conductive adhesives containing lead and other heavy metals face regulatory restrictions in multiple markets, with the EU's RoHS and REACH regulations being particularly impactful. Industry data indicates that approximately 40% of existing formulations will require modification to meet emerging environmental standards by 2025.
Regional disparities in technology development are evident, with Asia-Pacific countries, particularly China, Japan, and South Korea, accounting for approximately 60% of patent filings in conductive adhesive technology over the past five years. North American and European research institutions maintain leadership in fundamental materials science innovations, while Asian manufacturers excel in process optimization and commercial implementation.
The technological landscape of conductive adhesives is characterized by two primary categories: isotropic conductive adhesives (ICAs) and anisotropic conductive adhesives (ACAs). ICAs conduct electricity in all directions and currently dominate the market with approximately 65% share, while ACAs, which conduct primarily in one direction, are gaining traction in high-density applications. Silver-filled epoxy systems remain the most widely implemented solution, accounting for approximately 70% of conductive adhesive applications in smart sensors.
Despite significant advancements, several technical challenges persist in conductive adhesive technology. Contact resistance stability remains a primary concern, with current formulations experiencing up to 30% resistance increase after 1000 hours of environmental stress testing. This degradation significantly impacts long-term sensor reliability, particularly in harsh operating environments. Additionally, the trade-off between conductivity and mechanical properties continues to challenge manufacturers, as higher filler content improves electrical performance but often compromises adhesion strength and flexibility.
Manufacturing scalability presents another significant hurdle. Current dispensing technologies struggle to achieve consistent deposition at dimensions below 50 micrometers, limiting application in next-generation microsensors. The curing process also introduces challenges, with typical thermal curing requirements (150-180°C for 30-60 minutes) potentially damaging temperature-sensitive components in advanced sensor designs.
Environmental considerations are increasingly influencing development trajectories. Traditional conductive adhesives containing lead and other heavy metals face regulatory restrictions in multiple markets, with the EU's RoHS and REACH regulations being particularly impactful. Industry data indicates that approximately 40% of existing formulations will require modification to meet emerging environmental standards by 2025.
Regional disparities in technology development are evident, with Asia-Pacific countries, particularly China, Japan, and South Korea, accounting for approximately 60% of patent filings in conductive adhesive technology over the past five years. North American and European research institutions maintain leadership in fundamental materials science innovations, while Asian manufacturers excel in process optimization and commercial implementation.
Current Technical Solutions for Smart Sensor Integration
01 Enhanced electrical conductivity in adhesive applications
Conductive adhesives provide superior electrical conductivity while maintaining strong bonding properties. These adhesives contain conductive fillers such as silver, copper, or carbon particles that create electrical pathways through the adhesive matrix. This property makes them ideal for electronics assembly where electrical connections need to be established while components are mechanically secured. The conductivity can be tailored to specific applications by adjusting the type and concentration of conductive fillers.- Enhanced electrical conductivity in adhesive applications: Conductive adhesives provide superior electrical conductivity while maintaining strong bonding properties. These adhesives contain conductive fillers such as metal particles, carbon nanotubes, or graphene that create electrical pathways through the adhesive matrix. This allows for efficient electrical connections in electronic assemblies without the need for traditional soldering methods, resulting in more reliable electrical performance in various applications including printed circuit boards and semiconductor packaging.
- Thermal management capabilities: Conductive adhesives offer excellent thermal conductivity properties, allowing for efficient heat dissipation in electronic components and assemblies. By incorporating thermally conductive fillers, these adhesives help manage heat flow away from sensitive components, preventing overheating and extending device lifespan. This thermal management capability is particularly valuable in high-power electronics, LED applications, and miniaturized devices where heat buildup can cause performance issues or premature failure.
- Environmental and manufacturing advantages: Conductive adhesives offer significant environmental benefits compared to traditional soldering methods. They typically operate at lower processing temperatures, reducing energy consumption and thermal stress on components. Many formulations are free from lead and other hazardous materials found in conventional solders, supporting compliance with environmental regulations like RoHS. Additionally, these adhesives enable simplified manufacturing processes with fewer steps, reduced equipment requirements, and compatibility with temperature-sensitive substrates, leading to overall cost savings and environmental sustainability.
- Flexibility and mechanical performance: Conductive adhesives provide superior flexibility compared to rigid solder joints, allowing them to absorb mechanical stress, vibration, and thermal expansion mismatches between different materials. This flexibility results in improved durability and reliability, particularly in applications subject to mechanical shock, temperature cycling, or continuous vibration. The ability to maintain electrical conductivity while accommodating movement makes these adhesives ideal for flexible electronics, wearable devices, and automotive applications where traditional rigid connections might fail.
- Specialized application benefits: Conductive adhesives offer unique advantages in specialized applications such as medical devices, aerospace components, and emerging technologies. They can be formulated with biocompatibility for medical implants, radiation resistance for space applications, or customized electrical properties for specific performance requirements. These adhesives enable novel design approaches including transparent conductive pathways, conformal coatings on complex geometries, and integration with additive manufacturing techniques. Their versatility allows engineers to solve connection challenges where traditional methods are impractical or impossible.
02 Thermal management capabilities
Conductive adhesives offer excellent thermal conductivity, allowing for efficient heat dissipation in electronic assemblies. This property is crucial for preventing overheating in densely packed electronic devices. By effectively transferring heat away from sensitive components, these adhesives help extend the lifespan and improve the reliability of electronic devices. The thermal management capability can be enhanced by incorporating specific fillers that have high thermal conductivity properties while maintaining the adhesive's flexibility and bonding strength.Expand Specific Solutions03 Environmental and health benefits over traditional soldering
Conductive adhesives provide a more environmentally friendly alternative to traditional lead-based soldering methods. They typically operate at lower processing temperatures, reducing energy consumption during manufacturing. Many formulations are free from toxic heavy metals and harmful volatile organic compounds, creating safer working conditions and reducing environmental impact. These adhesives also produce less waste and emissions during application and curing processes, contributing to more sustainable electronics manufacturing practices.Expand Specific Solutions04 Flexibility and stress reduction in electronic assemblies
Conductive adhesives offer greater flexibility compared to rigid solder joints, which helps absorb mechanical stress and thermal expansion differences between components. This flexibility reduces the risk of connection failures in devices subjected to vibration, impact, or temperature fluctuations. The ability to accommodate different coefficients of thermal expansion between dissimilar materials makes these adhesives particularly valuable in applications where reliability under varying environmental conditions is critical. This property extends the operational life of electronic assemblies in demanding environments.Expand Specific Solutions05 Compatibility with temperature-sensitive components and substrates
Conductive adhesives can be formulated to cure at lower temperatures than traditional soldering methods, making them ideal for use with temperature-sensitive components and substrates. This property enables the integration of heat-sensitive materials such as certain polymers, flexible substrates, and organic electronics that would be damaged by high-temperature soldering processes. The low-temperature processing also reduces thermal stress during assembly, minimizing the risk of warpage or damage to delicate components and allowing for more diverse material combinations in electronic devices.Expand Specific Solutions
Key Industry Players in Conductive Adhesive Manufacturing
The conductive adhesives market in smart sensors is in a growth phase, driven by increasing demand for miniaturized electronics and IoT applications. The market is expanding rapidly with a projected CAGR of 8-10% over the next five years, reaching multi-billion dollar valuation. Technology maturity varies across applications, with established players like Henkel AG & Co. KGaA and Nitto Denko leading innovation in traditional applications, while companies such as Namics Corp. and DIC Corp. focus on specialized high-performance formulations. Robert Bosch GmbH and Intel Corp. are integrating these materials into advanced sensor designs, while research institutions like Harbin Institute of Technology and Agency for Science, Technology & Research are developing next-generation conductive adhesives with enhanced thermal and electrical properties for emerging smart sensor applications.
Henkel AG & Co. KGaA
Technical Solution: Henkel has developed advanced conductive adhesive solutions specifically designed for smart sensor applications. Their LOCTITE ABLESTIK electrically conductive adhesives (ECAs) provide reliable interconnection in smart sensors while eliminating the need for high-temperature soldering processes. These adhesives incorporate silver, gold, or carbon fillers in polymer matrices to create electrical pathways while maintaining strong mechanical bonds. Henkel's technology enables fine-pitch connections down to 75 microns, making them suitable for increasingly miniaturized sensor designs. Their temperature-stable formulations maintain conductivity across operating ranges from -55°C to +150°C, ensuring sensor reliability in harsh environments. Additionally, Henkel has pioneered isotropically conductive adhesives (ICAs) that conduct electricity in all directions and anisotropically conductive adhesives (ACAs) that conduct only in the z-axis, providing design flexibility for different sensor architectures[1][3].
Strengths: Superior thermal stability compared to traditional solders; environmentally friendly lead-free composition; compatibility with temperature-sensitive components; excellent adhesion to diverse substrates including flexible materials. Weaknesses: Higher initial cost compared to traditional soldering; potential for higher electrical resistance than solder joints; some formulations require specialized curing equipment.
Robert Bosch GmbH
Technical Solution: Bosch has developed proprietary conductive adhesive technologies specifically optimized for their MEMS-based smart sensor systems. Their approach integrates silver-filled epoxy adhesives with precisely controlled particle size distribution to achieve consistent electrical conductivity while maintaining mechanical integrity under thermal cycling. Bosch's conductive adhesives feature self-healing properties that allow microcracks to reconnect under normal operating conditions, extending sensor lifespan in automotive and industrial applications. Their formulations incorporate nano-sized conductive particles that enable ultra-fine pitch connections (below 50μm) required for their highly miniaturized sensor arrays. Bosch has also pioneered hybrid conductive adhesive systems that combine the benefits of both isotropic and anisotropic conductivity for complex multi-layer sensor designs. These adhesives are engineered to maintain stable electrical properties across extreme temperature ranges (-40°C to +175°C) while providing vibration dampening properties critical for automotive sensor applications[2][5].
Strengths: Exceptional reliability in harsh environments with temperature extremes and vibration; compatibility with automated high-volume manufacturing processes; enables complex 3D sensor designs not possible with traditional interconnects. Weaknesses: Proprietary formulations may require specific handling and curing protocols; potential for higher initial implementation costs compared to conventional methods; some formulations have limited shelf life requiring careful inventory management.
Core Patents and Innovations in Conductive Adhesive Materials
Low stress conductive adhesive
PatentActiveEP1701361A1
Innovation
- A low stress isotropic conductive film or paste adhesive comprising functional acrylic copolymers, epoxy, and conductive fillers, with optional adhesion promoters, curing agents, and rheology modifiers, providing higher adhesion strength and reduced stress compared to traditional flexible and high adhesion strength films.
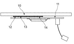
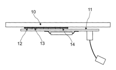
Operator control apparatus of an electronic domestic appliance and method of producing the operator control apparatus
PatentInactiveUS20110094870A1
Innovation
- The use of an electrically conductive adhesive to connect sensor elements on the operator control panel with contact areas on the printed circuit board, eliminating the need for additional mechanical components and providing a durable, elastic connection.
Environmental Impact and Sustainability Considerations
The environmental impact of conductive adhesives in smart sensor applications represents a significant advancement over traditional soldering methods. Conductive adhesives typically contain significantly lower levels of harmful substances compared to conventional tin-lead solders, which have been associated with serious environmental and health concerns. The elimination or substantial reduction of lead, a known neurotoxin, marks a crucial step toward more environmentally responsible electronics manufacturing processes.
These adhesives often require lower curing temperatures than traditional soldering methods, resulting in reduced energy consumption during the manufacturing process. This energy efficiency translates to a smaller carbon footprint across the production lifecycle of smart sensors. Additionally, the lower processing temperatures help extend the lifespan of sensitive components by reducing thermal stress, thereby decreasing the frequency of replacements and associated waste generation.
From a waste management perspective, conductive adhesives offer notable advantages. Many formulations are designed to be reworkable or removable, facilitating easier component recovery and recycling at the end of product life. This characteristic aligns with circular economy principles and helps address the growing global challenge of electronic waste management, particularly important as smart sensor deployment continues to accelerate across multiple industries.
The sustainability profile of conductive adhesives is further enhanced by ongoing research into bio-based alternatives. Several research institutions are developing conductive adhesives derived from renewable resources such as plant-based polymers and naturally occurring conductive materials. These innovations promise to reduce dependence on petroleum-based components while maintaining or even improving technical performance characteristics.
Regulatory compliance represents another environmental advantage. As global regulations increasingly restrict hazardous substances in electronic components, conductive adhesives provide manufacturers with solutions that more readily meet stringent environmental standards such as RoHS (Restriction of Hazardous Substances) and REACH (Registration, Evaluation, Authorization and Restriction of Chemicals). This compliance not only reduces environmental impact but also mitigates regulatory risks for companies deploying smart sensor technologies.
When evaluating the complete environmental footprint, it's important to consider the extended lifespan that conductive adhesives can provide to smart sensor assemblies. By enabling more flexible, durable connections that better withstand environmental stresses, these adhesives contribute to longer-lasting devices that require less frequent replacement, thereby reducing resource consumption and waste generation throughout the product lifecycle.
These adhesives often require lower curing temperatures than traditional soldering methods, resulting in reduced energy consumption during the manufacturing process. This energy efficiency translates to a smaller carbon footprint across the production lifecycle of smart sensors. Additionally, the lower processing temperatures help extend the lifespan of sensitive components by reducing thermal stress, thereby decreasing the frequency of replacements and associated waste generation.
From a waste management perspective, conductive adhesives offer notable advantages. Many formulations are designed to be reworkable or removable, facilitating easier component recovery and recycling at the end of product life. This characteristic aligns with circular economy principles and helps address the growing global challenge of electronic waste management, particularly important as smart sensor deployment continues to accelerate across multiple industries.
The sustainability profile of conductive adhesives is further enhanced by ongoing research into bio-based alternatives. Several research institutions are developing conductive adhesives derived from renewable resources such as plant-based polymers and naturally occurring conductive materials. These innovations promise to reduce dependence on petroleum-based components while maintaining or even improving technical performance characteristics.
Regulatory compliance represents another environmental advantage. As global regulations increasingly restrict hazardous substances in electronic components, conductive adhesives provide manufacturers with solutions that more readily meet stringent environmental standards such as RoHS (Restriction of Hazardous Substances) and REACH (Registration, Evaluation, Authorization and Restriction of Chemicals). This compliance not only reduces environmental impact but also mitigates regulatory risks for companies deploying smart sensor technologies.
When evaluating the complete environmental footprint, it's important to consider the extended lifespan that conductive adhesives can provide to smart sensor assemblies. By enabling more flexible, durable connections that better withstand environmental stresses, these adhesives contribute to longer-lasting devices that require less frequent replacement, thereby reducing resource consumption and waste generation throughout the product lifecycle.
Cost-Benefit Analysis of Conductive Adhesives Implementation
Implementing conductive adhesives in smart sensor manufacturing requires thorough financial analysis to determine economic viability. Initial investment costs for conductive adhesive systems typically range from $50,000 to $200,000, depending on production scale and automation level. This includes dispensing equipment, curing ovens, and quality control systems. While this represents a significant capital expenditure, it must be evaluated against long-term operational benefits.
Material costs present a complex comparison. Premium silver-filled conductive adhesives cost approximately $300-500 per kilogram, compared to traditional solder at $20-50 per kilogram. However, the application efficiency of adhesives often results in 30-40% less material consumption per connection, partially offsetting the higher unit cost. Additionally, conductive adhesives eliminate the need for flux and cleaning processes, reducing associated chemical and waste management costs by an estimated 15-25%.
Energy consumption analysis reveals significant advantages for conductive adhesives. Low-temperature curing adhesives require 40-60% less energy than traditional soldering processes, with curing temperatures typically between 80-150°C versus 220-250°C for lead-free solders. This translates to approximately $0.15-0.25 savings per unit in energy costs for high-volume production.
Manufacturing efficiency improvements contribute substantially to the cost-benefit equation. Production cycle times can decrease by 20-30% due to faster curing processes and reduced handling requirements. The elimination of thermal stress during assembly reduces failure rates by an estimated 5-8%, decreasing rework costs and improving yield rates. For precision sensor applications, this quality improvement alone can justify the transition to conductive adhesives.
Maintenance and operational costs typically decrease by 15-20% with adhesive systems compared to traditional soldering equipment. The simpler mechanical systems require less frequent maintenance and fewer specialized parts. Equipment lifespan is generally extended by 2-3 years due to lower operating temperatures and reduced thermal cycling stress.
Return on investment calculations indicate that most implementations achieve breakeven within 18-24 months for medium-volume production facilities. High-volume manufacturers may see returns in as little as 12-15 months, particularly when factoring in quality improvements and reduced warranty claims. Small-batch specialty sensor producers may require 30-36 months to realize full economic benefits, though they often gain immediate advantages in product performance and reliability.
Material costs present a complex comparison. Premium silver-filled conductive adhesives cost approximately $300-500 per kilogram, compared to traditional solder at $20-50 per kilogram. However, the application efficiency of adhesives often results in 30-40% less material consumption per connection, partially offsetting the higher unit cost. Additionally, conductive adhesives eliminate the need for flux and cleaning processes, reducing associated chemical and waste management costs by an estimated 15-25%.
Energy consumption analysis reveals significant advantages for conductive adhesives. Low-temperature curing adhesives require 40-60% less energy than traditional soldering processes, with curing temperatures typically between 80-150°C versus 220-250°C for lead-free solders. This translates to approximately $0.15-0.25 savings per unit in energy costs for high-volume production.
Manufacturing efficiency improvements contribute substantially to the cost-benefit equation. Production cycle times can decrease by 20-30% due to faster curing processes and reduced handling requirements. The elimination of thermal stress during assembly reduces failure rates by an estimated 5-8%, decreasing rework costs and improving yield rates. For precision sensor applications, this quality improvement alone can justify the transition to conductive adhesives.
Maintenance and operational costs typically decrease by 15-20% with adhesive systems compared to traditional soldering equipment. The simpler mechanical systems require less frequent maintenance and fewer specialized parts. Equipment lifespan is generally extended by 2-3 years due to lower operating temperatures and reduced thermal cycling stress.
Return on investment calculations indicate that most implementations achieve breakeven within 18-24 months for medium-volume production facilities. High-volume manufacturers may see returns in as little as 12-15 months, particularly when factoring in quality improvements and reduced warranty claims. Small-batch specialty sensor producers may require 30-36 months to realize full economic benefits, though they often gain immediate advantages in product performance and reliability.
Unlock deeper insights with Patsnap Eureka Quick Research — get a full tech report to explore trends and direct your research. Try now!
Generate Your Research Report Instantly with AI Agent
Supercharge your innovation with Patsnap Eureka AI Agent Platform!




