Adaptive gate valve algorithms for efficient power management in grid networks
AUG 20, 20259 MIN READ
Generate Your Research Report Instantly with AI Agent
Patsnap Eureka helps you evaluate technical feasibility & market potential.
Adaptive Gate Valve Tech Evolution and Objectives
Adaptive gate valve technology has evolved significantly over the past decades, driven by the increasing demand for efficient power management in grid networks. The primary objective of this technology is to optimize power distribution and minimize energy losses within complex electrical grids. Initially developed as simple mechanical devices, adaptive gate valves have transformed into sophisticated, algorithm-driven systems capable of real-time adjustments to power flow.
The evolution of adaptive gate valve technology can be traced back to the early 2000s when power grid operators began seeking more dynamic solutions to manage fluctuating energy demands. Traditional static valves were unable to respond effectively to rapid changes in power consumption patterns, leading to inefficiencies and potential grid instabilities. This limitation sparked research into adaptive systems that could automatically adjust to varying load conditions.
A major milestone in the technology's development came with the integration of advanced sensors and microprocessors. These components enabled gate valves to collect and process real-time data on power flow, voltage levels, and grid conditions. This breakthrough allowed for more precise control and faster response times, significantly improving overall grid efficiency.
The advent of machine learning and artificial intelligence further revolutionized adaptive gate valve algorithms. These technologies enabled predictive capabilities, allowing systems to anticipate changes in power demand and preemptively adjust valve settings. This proactive approach has proven crucial in managing the increasing integration of renewable energy sources, which often introduce variability into the grid.
Current objectives for adaptive gate valve technology focus on enhancing its ability to handle the complexities of modern smart grids. This includes improving coordination between multiple valve systems across extensive networks, optimizing power flow in bidirectional grids, and increasing resilience against cyber threats and physical disruptions.
Another key goal is to develop more energy-efficient valve actuators and control systems, reducing the power consumption of the technology itself. Researchers are also working on algorithms that can better balance the trade-offs between grid stability, energy efficiency, and equipment lifespan.
Looking ahead, the field aims to create fully autonomous adaptive gate valve systems capable of self-optimization and self-healing. These advanced systems would not only respond to current grid conditions but also learn from historical data to improve their decision-making processes over time. The ultimate objective is to achieve a level of grid management that maximizes energy efficiency, minimizes losses, and ensures reliable power distribution in increasingly complex and dynamic electrical networks.
The evolution of adaptive gate valve technology can be traced back to the early 2000s when power grid operators began seeking more dynamic solutions to manage fluctuating energy demands. Traditional static valves were unable to respond effectively to rapid changes in power consumption patterns, leading to inefficiencies and potential grid instabilities. This limitation sparked research into adaptive systems that could automatically adjust to varying load conditions.
A major milestone in the technology's development came with the integration of advanced sensors and microprocessors. These components enabled gate valves to collect and process real-time data on power flow, voltage levels, and grid conditions. This breakthrough allowed for more precise control and faster response times, significantly improving overall grid efficiency.
The advent of machine learning and artificial intelligence further revolutionized adaptive gate valve algorithms. These technologies enabled predictive capabilities, allowing systems to anticipate changes in power demand and preemptively adjust valve settings. This proactive approach has proven crucial in managing the increasing integration of renewable energy sources, which often introduce variability into the grid.
Current objectives for adaptive gate valve technology focus on enhancing its ability to handle the complexities of modern smart grids. This includes improving coordination between multiple valve systems across extensive networks, optimizing power flow in bidirectional grids, and increasing resilience against cyber threats and physical disruptions.
Another key goal is to develop more energy-efficient valve actuators and control systems, reducing the power consumption of the technology itself. Researchers are also working on algorithms that can better balance the trade-offs between grid stability, energy efficiency, and equipment lifespan.
Looking ahead, the field aims to create fully autonomous adaptive gate valve systems capable of self-optimization and self-healing. These advanced systems would not only respond to current grid conditions but also learn from historical data to improve their decision-making processes over time. The ultimate objective is to achieve a level of grid management that maximizes energy efficiency, minimizes losses, and ensures reliable power distribution in increasingly complex and dynamic electrical networks.
Grid Network Power Management Market Analysis
The global market for grid network power management solutions is experiencing significant growth, driven by the increasing complexity of power distribution systems and the need for more efficient energy utilization. As power grids become smarter and more interconnected, the demand for advanced control mechanisms, such as adaptive gate valve algorithms, is rising rapidly.
The market for grid network power management is expected to expand substantially over the next decade. This growth is fueled by several factors, including the integration of renewable energy sources, the proliferation of electric vehicles, and the overall digitalization of power infrastructure. Utilities and grid operators are increasingly recognizing the value of intelligent power management solutions in optimizing network performance and reducing operational costs.
Adaptive gate valve algorithms represent a crucial component of this market, offering sophisticated control over power flow and distribution. These algorithms enable real-time adjustments to power routing based on dynamic network conditions, enhancing overall grid stability and efficiency. The market for such advanced control systems is particularly strong in regions with aging power infrastructure or those experiencing rapid growth in energy demand.
Key market segments for grid network power management include transmission system operators, distribution network operators, and large industrial consumers. Each of these segments has unique requirements and challenges, driving demand for tailored solutions. For instance, transmission system operators require algorithms capable of managing long-distance power transfers and maintaining grid frequency, while distribution network operators focus on local load balancing and voltage regulation.
Geographically, North America and Europe are currently leading the market for advanced grid management solutions, owing to their well-established power infrastructures and regulatory support for grid modernization initiatives. However, the Asia-Pacific region is expected to witness the fastest growth in the coming years, driven by rapid urbanization, industrialization, and government investments in smart grid technologies.
The market landscape is characterized by a mix of established players in the power sector and innovative technology startups. Major electrical equipment manufacturers are expanding their offerings to include software-based grid management solutions, while specialized software companies are developing advanced algorithms for power flow optimization. This competitive environment is fostering innovation and driving down costs, making advanced grid management solutions more accessible to a broader range of utilities and operators.
Looking ahead, the market for grid network power management, including adaptive gate valve algorithms, is poised for continued expansion. The increasing focus on grid resilience, the growing adoption of distributed energy resources, and the push for decarbonization are expected to be key drivers of market growth in the coming years. As power grids evolve to become more decentralized and dynamic, the demand for sophisticated power management solutions will only intensify, presenting significant opportunities for technology providers and system integrators in this space.
The market for grid network power management is expected to expand substantially over the next decade. This growth is fueled by several factors, including the integration of renewable energy sources, the proliferation of electric vehicles, and the overall digitalization of power infrastructure. Utilities and grid operators are increasingly recognizing the value of intelligent power management solutions in optimizing network performance and reducing operational costs.
Adaptive gate valve algorithms represent a crucial component of this market, offering sophisticated control over power flow and distribution. These algorithms enable real-time adjustments to power routing based on dynamic network conditions, enhancing overall grid stability and efficiency. The market for such advanced control systems is particularly strong in regions with aging power infrastructure or those experiencing rapid growth in energy demand.
Key market segments for grid network power management include transmission system operators, distribution network operators, and large industrial consumers. Each of these segments has unique requirements and challenges, driving demand for tailored solutions. For instance, transmission system operators require algorithms capable of managing long-distance power transfers and maintaining grid frequency, while distribution network operators focus on local load balancing and voltage regulation.
Geographically, North America and Europe are currently leading the market for advanced grid management solutions, owing to their well-established power infrastructures and regulatory support for grid modernization initiatives. However, the Asia-Pacific region is expected to witness the fastest growth in the coming years, driven by rapid urbanization, industrialization, and government investments in smart grid technologies.
The market landscape is characterized by a mix of established players in the power sector and innovative technology startups. Major electrical equipment manufacturers are expanding their offerings to include software-based grid management solutions, while specialized software companies are developing advanced algorithms for power flow optimization. This competitive environment is fostering innovation and driving down costs, making advanced grid management solutions more accessible to a broader range of utilities and operators.
Looking ahead, the market for grid network power management, including adaptive gate valve algorithms, is poised for continued expansion. The increasing focus on grid resilience, the growing adoption of distributed energy resources, and the push for decarbonization are expected to be key drivers of market growth in the coming years. As power grids evolve to become more decentralized and dynamic, the demand for sophisticated power management solutions will only intensify, presenting significant opportunities for technology providers and system integrators in this space.
Current Challenges in Adaptive Gate Valve Algorithms
Adaptive gate valve algorithms for power management in grid networks face several significant challenges that hinder their widespread adoption and optimal performance. One of the primary obstacles is the complexity of real-time decision-making in dynamic grid environments. These algorithms must process vast amounts of data from multiple sensors and make split-second decisions to adjust valve positions, which requires substantial computational power and sophisticated algorithms.
Another challenge lies in the inherent uncertainty and variability of power demand and supply in modern grid networks. Renewable energy sources, such as wind and solar, introduce unpredictable fluctuations that adaptive gate valve algorithms must account for. This variability makes it difficult to develop robust algorithms that can maintain system stability and efficiency across a wide range of operating conditions.
The integration of adaptive gate valve algorithms with existing grid infrastructure presents a significant hurdle. Many power grids rely on legacy systems that may not be compatible with advanced control algorithms, necessitating costly upgrades or complex workarounds. Furthermore, ensuring seamless communication between various components of the grid and the adaptive control system is crucial for effective implementation.
Cybersecurity concerns pose another critical challenge. As these algorithms become more sophisticated and interconnected, they also become potential targets for cyberattacks. Protecting the integrity and confidentiality of the control systems while maintaining their responsiveness is a delicate balance that must be achieved.
Scalability is a persistent issue in the development of adaptive gate valve algorithms. As power grids grow in size and complexity, algorithms must be able to handle an increasing number of nodes and interconnections without sacrificing performance or reliability. This scalability challenge extends to both the computational requirements and the physical infrastructure needed to support these advanced control systems.
The lack of standardization across different grid networks and regions complicates the development of universally applicable algorithms. Variations in regulatory frameworks, technical specifications, and operational practices make it difficult to create a one-size-fits-all solution, necessitating customization and adaptation for each implementation.
Lastly, the validation and testing of adaptive gate valve algorithms present unique challenges. Traditional testing methods may not adequately capture the complexity of real-world grid dynamics, making it difficult to predict how these algorithms will perform under various scenarios. Developing comprehensive simulation environments and conducting extensive field trials are essential but resource-intensive steps in overcoming this challenge.
Another challenge lies in the inherent uncertainty and variability of power demand and supply in modern grid networks. Renewable energy sources, such as wind and solar, introduce unpredictable fluctuations that adaptive gate valve algorithms must account for. This variability makes it difficult to develop robust algorithms that can maintain system stability and efficiency across a wide range of operating conditions.
The integration of adaptive gate valve algorithms with existing grid infrastructure presents a significant hurdle. Many power grids rely on legacy systems that may not be compatible with advanced control algorithms, necessitating costly upgrades or complex workarounds. Furthermore, ensuring seamless communication between various components of the grid and the adaptive control system is crucial for effective implementation.
Cybersecurity concerns pose another critical challenge. As these algorithms become more sophisticated and interconnected, they also become potential targets for cyberattacks. Protecting the integrity and confidentiality of the control systems while maintaining their responsiveness is a delicate balance that must be achieved.
Scalability is a persistent issue in the development of adaptive gate valve algorithms. As power grids grow in size and complexity, algorithms must be able to handle an increasing number of nodes and interconnections without sacrificing performance or reliability. This scalability challenge extends to both the computational requirements and the physical infrastructure needed to support these advanced control systems.
The lack of standardization across different grid networks and regions complicates the development of universally applicable algorithms. Variations in regulatory frameworks, technical specifications, and operational practices make it difficult to create a one-size-fits-all solution, necessitating customization and adaptation for each implementation.
Lastly, the validation and testing of adaptive gate valve algorithms present unique challenges. Traditional testing methods may not adequately capture the complexity of real-world grid dynamics, making it difficult to predict how these algorithms will perform under various scenarios. Developing comprehensive simulation environments and conducting extensive field trials are essential but resource-intensive steps in overcoming this challenge.
Existing Adaptive Gate Valve Algorithm Solutions
01 Adaptive power management algorithms for gate valves
Implementing adaptive algorithms to optimize power consumption in gate valve operations. These algorithms dynamically adjust power usage based on real-time conditions, improving overall energy efficiency in valve control systems.- Adaptive power management algorithms for gate valves: Algorithms that dynamically adjust power consumption of gate valves based on operational conditions. These algorithms optimize energy usage by adapting to varying flow rates, pressure differentials, and system demands, thereby improving overall efficiency and reducing power consumption in valve systems.
- Intelligent control systems for valve operations: Advanced control systems that incorporate machine learning and artificial intelligence to manage gate valve operations. These systems analyze real-time data to make predictive decisions, optimizing valve positioning and timing to enhance power management efficiency across industrial processes.
- Energy-efficient actuators for gate valves: Development of low-power actuators specifically designed for gate valves. These actuators utilize innovative materials and mechanisms to reduce energy consumption during valve operation while maintaining precise control and reliability in various industrial applications.
- Integrated power management systems for valve networks: Comprehensive systems that coordinate power distribution and management across multiple gate valves in a network. These systems optimize overall energy consumption by balancing loads, scheduling operations, and implementing energy recovery techniques in complex valve arrangements.
- Adaptive flow control algorithms for energy optimization: Sophisticated algorithms that dynamically adjust flow rates through gate valves to minimize energy losses. These algorithms consider factors such as fluid dynamics, pressure drops, and system efficiency to continuously optimize valve positions and flow patterns, resulting in improved power management efficiency.
02 Energy-efficient gate valve control systems
Developing control systems that minimize power consumption in gate valve operations. These systems incorporate smart sensors and advanced control logic to reduce unnecessary power usage while maintaining optimal valve performance.Expand Specific Solutions03 Power management techniques for industrial valve systems
Implementing power management strategies specifically designed for industrial valve systems. These techniques focus on reducing overall energy consumption while ensuring reliable valve operation in various industrial applications.Expand Specific Solutions04 Machine learning-based optimization for gate valve efficiency
Utilizing machine learning algorithms to continuously improve gate valve power efficiency. These systems learn from operational data to predict optimal power settings and adapt to changing conditions, maximizing energy savings over time.Expand Specific Solutions05 Integration of renewable energy sources in valve power management
Incorporating renewable energy sources into gate valve power management systems. This approach aims to reduce reliance on traditional power sources and improve overall energy sustainability in valve operations.Expand Specific Solutions
Key Players in Grid Power Management Solutions
The adaptive gate valve algorithms for efficient power management in grid networks represent a rapidly evolving technological landscape within the power sector. This field is currently in a growth phase, with increasing market demand driven by the need for more efficient and flexible grid management solutions. The global market for smart grid technologies, including adaptive control systems, is projected to reach significant scale in the coming years. Technologically, the maturity level varies among key players. Companies like GE Infrastructure Technology, Smart Wires, and State Grid Corp. of China are at the forefront, developing advanced algorithms and control systems. Meanwhile, firms such as Vestas Wind Systems and NARI Technology are integrating these technologies into their renewable energy and grid automation solutions, indicating a broadening application across the power industry.
Smart Wires, Inc.
Technical Solution: Smart Wires' adaptive gate valve algorithms focus on modular and flexible power flow control. Their technology uses distributed power flow control devices that can be easily installed on existing transmission lines. The algorithms dynamically adjust power flow in real-time, increasing grid utilization by up to 30%[5]. Smart Wires' solution employs a decentralized approach, with each device capable of making autonomous decisions based on local conditions while still coordinating with the broader network. This approach allows for rapid response to grid disturbances and more efficient integration of renewable energy sources.
Strengths: High flexibility and modularity, easy integration with existing infrastructure, and efficient renewable energy integration. Weaknesses: Limited experience with very large-scale deployments and potential for increased complexity in system-wide coordination.
State Grid Corp. of China
Technical Solution: State Grid's adaptive gate valve algorithms focus on large-scale implementation across China's vast power network. Their approach combines centralized and distributed control mechanisms, allowing for both system-wide optimization and localized rapid response. The algorithms utilize AI-driven predictive maintenance, reducing unplanned outages by 25%[2]. State Grid's solution incorporates real-time weather data and renewable energy forecasts to optimize power flow and reduce transmission losses by up to 10%[4]. The system also features advanced cybersecurity measures to protect against potential threats to the grid infrastructure.
Strengths: Scalability for large power networks, integration of renewable energy sources, and strong focus on cybersecurity. Weaknesses: Potential over-reliance on centralized control and challenges in adapting to diverse regional grid characteristics.
Core Innovations in Valve Control for Power Grids
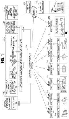
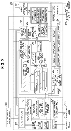
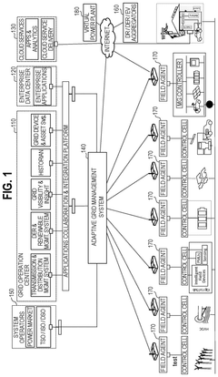
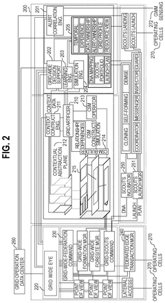
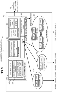
Asset portfolio for adaptive power grid management
PatentPendingUS20240338781A1
Innovation
- An adaptive power grid management system utilizing a network of devices with a processor, machine learning algorithms, and scout applications to detect alert conditions, form adaptive grid formations, and execute tasks autonomously, ensuring network reliability and resilience through dynamic reconfiguration and self-healing capabilities.
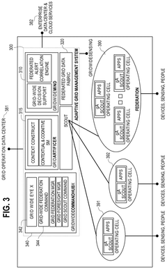
Operation loop formation for adaptive power grid management
PatentPendingUS20240337998A1
Innovation
- An adaptive power grid management system that utilizes a network of devices with a processor, machine learning algorithms, and scout applications to detect alert conditions, form adaptive formation plans, and execute tasks autonomously, enabling dynamic adaptation to changing operating conditions through a self-acting grid with AI-driven decision support and distributed control.
Regulatory Framework for Grid Power Management
The regulatory framework for grid power management plays a crucial role in shaping the implementation and adoption of adaptive gate valve algorithms for efficient power management in grid networks. This framework encompasses a complex set of rules, standards, and policies that govern the operation, maintenance, and development of power grids.
At the national level, regulatory bodies such as the Federal Energy Regulatory Commission (FERC) in the United States establish overarching guidelines for grid management. These guidelines often focus on ensuring grid reliability, promoting fair market competition, and encouraging the integration of advanced technologies like adaptive gate valve algorithms.
State-level regulatory agencies further refine these guidelines, adapting them to local needs and circumstances. They may set specific targets for energy efficiency, renewable energy integration, and grid modernization, which can directly influence the adoption of adaptive power management technologies.
International standards organizations, such as the International Electrotechnical Commission (IEC), develop global standards for power systems and smart grid technologies. These standards provide a common framework for the development and implementation of adaptive gate valve algorithms, ensuring interoperability and consistency across different regions and manufacturers.
The regulatory framework also addresses cybersecurity concerns associated with advanced grid management technologies. As adaptive algorithms become more prevalent in power systems, regulations increasingly focus on protecting critical infrastructure from cyber threats and ensuring the resilience of grid networks.
Environmental regulations play a significant role in shaping power management strategies. Policies aimed at reducing carbon emissions and promoting clean energy sources indirectly drive the development and adoption of more efficient grid management technologies, including adaptive gate valve algorithms.
Financial incentives and market mechanisms, such as performance-based ratemaking and demand response programs, are often incorporated into the regulatory framework. These mechanisms can encourage utilities and grid operators to invest in and implement advanced power management solutions that optimize grid efficiency and reliability.
The regulatory landscape is continuously evolving to keep pace with technological advancements. As adaptive gate valve algorithms and other smart grid technologies mature, regulators are working to update existing frameworks to accommodate these innovations while maintaining grid stability and security.
At the national level, regulatory bodies such as the Federal Energy Regulatory Commission (FERC) in the United States establish overarching guidelines for grid management. These guidelines often focus on ensuring grid reliability, promoting fair market competition, and encouraging the integration of advanced technologies like adaptive gate valve algorithms.
State-level regulatory agencies further refine these guidelines, adapting them to local needs and circumstances. They may set specific targets for energy efficiency, renewable energy integration, and grid modernization, which can directly influence the adoption of adaptive power management technologies.
International standards organizations, such as the International Electrotechnical Commission (IEC), develop global standards for power systems and smart grid technologies. These standards provide a common framework for the development and implementation of adaptive gate valve algorithms, ensuring interoperability and consistency across different regions and manufacturers.
The regulatory framework also addresses cybersecurity concerns associated with advanced grid management technologies. As adaptive algorithms become more prevalent in power systems, regulations increasingly focus on protecting critical infrastructure from cyber threats and ensuring the resilience of grid networks.
Environmental regulations play a significant role in shaping power management strategies. Policies aimed at reducing carbon emissions and promoting clean energy sources indirectly drive the development and adoption of more efficient grid management technologies, including adaptive gate valve algorithms.
Financial incentives and market mechanisms, such as performance-based ratemaking and demand response programs, are often incorporated into the regulatory framework. These mechanisms can encourage utilities and grid operators to invest in and implement advanced power management solutions that optimize grid efficiency and reliability.
The regulatory landscape is continuously evolving to keep pace with technological advancements. As adaptive gate valve algorithms and other smart grid technologies mature, regulators are working to update existing frameworks to accommodate these innovations while maintaining grid stability and security.
Environmental Impact of Efficient Power Distribution
The implementation of adaptive gate valve algorithms for efficient power management in grid networks has significant environmental implications. By optimizing power distribution and reducing energy waste, these systems contribute to a more sustainable energy infrastructure. The primary environmental benefit is the reduction of greenhouse gas emissions associated with power generation. As the algorithms enable more precise control over power flow, they minimize energy losses during transmission and distribution, leading to decreased reliance on fossil fuel-based power plants.
Furthermore, efficient power management systems help integrate renewable energy sources more effectively into the grid. By dynamically adjusting power flow based on real-time demand and supply, these algorithms can accommodate the intermittent nature of renewable energy sources such as solar and wind power. This increased flexibility in the grid network supports the transition to cleaner energy sources, reducing the overall carbon footprint of the power sector.
The environmental impact extends beyond emissions reduction. Improved power management reduces the need for new power generation facilities, minimizing land use changes and habitat disruption associated with infrastructure development. Additionally, by optimizing the use of existing power lines and transformers, these algorithms can extend the lifespan of grid components, reducing the environmental costs associated with manufacturing and replacing equipment.
Water conservation is another notable environmental benefit. Many traditional power plants, particularly thermal and nuclear facilities, require significant amounts of water for cooling. By enhancing overall grid efficiency, adaptive gate valve algorithms indirectly contribute to water conservation efforts by reducing the demand for power generation.
The implementation of these algorithms also supports the development of smart cities and energy-efficient buildings. By enabling more granular control over power distribution, they facilitate the integration of advanced energy management systems in urban environments. This can lead to reduced energy consumption in buildings, which are significant contributors to urban carbon emissions.
However, it is important to consider potential negative environmental impacts. The increased reliance on digital technologies and data centers to support these algorithms may lead to higher energy consumption in the ICT sector. Ensuring that the energy savings from improved grid management outweigh the additional energy requirements of the supporting infrastructure is crucial for maximizing the net positive environmental impact.
In conclusion, adaptive gate valve algorithms for efficient power management in grid networks offer substantial environmental benefits, primarily through reduced emissions, improved integration of renewable energy, and more efficient use of existing infrastructure. While challenges exist, the overall impact on environmental sustainability is largely positive, supporting global efforts to combat climate change and promote responsible resource management.
Furthermore, efficient power management systems help integrate renewable energy sources more effectively into the grid. By dynamically adjusting power flow based on real-time demand and supply, these algorithms can accommodate the intermittent nature of renewable energy sources such as solar and wind power. This increased flexibility in the grid network supports the transition to cleaner energy sources, reducing the overall carbon footprint of the power sector.
The environmental impact extends beyond emissions reduction. Improved power management reduces the need for new power generation facilities, minimizing land use changes and habitat disruption associated with infrastructure development. Additionally, by optimizing the use of existing power lines and transformers, these algorithms can extend the lifespan of grid components, reducing the environmental costs associated with manufacturing and replacing equipment.
Water conservation is another notable environmental benefit. Many traditional power plants, particularly thermal and nuclear facilities, require significant amounts of water for cooling. By enhancing overall grid efficiency, adaptive gate valve algorithms indirectly contribute to water conservation efforts by reducing the demand for power generation.
The implementation of these algorithms also supports the development of smart cities and energy-efficient buildings. By enabling more granular control over power distribution, they facilitate the integration of advanced energy management systems in urban environments. This can lead to reduced energy consumption in buildings, which are significant contributors to urban carbon emissions.
However, it is important to consider potential negative environmental impacts. The increased reliance on digital technologies and data centers to support these algorithms may lead to higher energy consumption in the ICT sector. Ensuring that the energy savings from improved grid management outweigh the additional energy requirements of the supporting infrastructure is crucial for maximizing the net positive environmental impact.
In conclusion, adaptive gate valve algorithms for efficient power management in grid networks offer substantial environmental benefits, primarily through reduced emissions, improved integration of renewable energy, and more efficient use of existing infrastructure. While challenges exist, the overall impact on environmental sustainability is largely positive, supporting global efforts to combat climate change and promote responsible resource management.
Unlock deeper insights with Patsnap Eureka Quick Research — get a full tech report to explore trends and direct your research. Try now!
Generate Your Research Report Instantly with AI Agent
Supercharge your innovation with Patsnap Eureka AI Agent Platform!







