Harness Tunnel Diode for Enhanced Data Handling Strategies
SEP 23, 20259 MIN READ
Generate Your Research Report Instantly with AI Agent
Patsnap Eureka helps you evaluate technical feasibility & market potential.
Tunnel Diode Technology Evolution and Objectives
Tunnel diode technology, first discovered in 1957 by Leo Esaki, represents a significant milestone in semiconductor device development. This quantum mechanical device operates based on the principle of electron tunneling through a heavily doped p-n junction. The historical evolution of tunnel diodes began with Esaki's groundbreaking work, which later earned him the Nobel Prize in Physics in 1973, and has progressed through several distinct phases of development and application.
In the 1960s, tunnel diodes found their initial applications in high-frequency oscillators and amplifiers due to their negative differential resistance characteristics. However, they were subsequently overshadowed by transistor technology in mainstream electronics. The resurgence of interest in tunnel diodes began in the late 1990s with the miniaturization of electronic components and the increasing demand for faster data processing capabilities.
The contemporary technological landscape presents new opportunities for tunnel diodes in data handling applications. Modern data processing systems face challenges related to power consumption, speed limitations, and heat generation. Tunnel diodes, with their inherent high-speed switching capabilities and low power requirements, offer potential solutions to these challenges. The quantum tunneling effect allows for electron transport at speeds significantly faster than conventional semiconductor devices.
Current research objectives in tunnel diode technology focus on harnessing these unique properties for enhanced data handling strategies. Primary goals include developing tunnel diode-based memory cells with improved read/write speeds, creating ultra-fast switching elements for next-generation computing architectures, and integrating tunnel diodes into existing semiconductor technologies to boost performance without complete system redesigns.
The technical evolution path for tunnel diodes in data handling applications involves several key developments. These include material innovations to optimize the tunneling effect, architectural advancements to effectively incorporate tunnel diodes into complex circuits, and fabrication techniques to ensure consistency and reliability in mass production. Recent advancements in nanofabrication have enabled more precise control over the tunneling barrier, significantly enhancing device performance.
Looking forward, the trajectory of tunnel diode technology aims toward quantum computing applications, neuromorphic computing systems, and ultra-low power electronics for IoT devices. The unique quantum mechanical properties of tunnel diodes position them as potential enablers for these emerging technologies, particularly in scenarios where traditional CMOS technology approaches its physical limitations.
The convergence of tunnel diode technology with advanced data handling strategies represents a promising frontier in electronic device development, potentially offering solutions to some of the most pressing challenges in modern computing systems while opening new avenues for technological innovation.
In the 1960s, tunnel diodes found their initial applications in high-frequency oscillators and amplifiers due to their negative differential resistance characteristics. However, they were subsequently overshadowed by transistor technology in mainstream electronics. The resurgence of interest in tunnel diodes began in the late 1990s with the miniaturization of electronic components and the increasing demand for faster data processing capabilities.
The contemporary technological landscape presents new opportunities for tunnel diodes in data handling applications. Modern data processing systems face challenges related to power consumption, speed limitations, and heat generation. Tunnel diodes, with their inherent high-speed switching capabilities and low power requirements, offer potential solutions to these challenges. The quantum tunneling effect allows for electron transport at speeds significantly faster than conventional semiconductor devices.
Current research objectives in tunnel diode technology focus on harnessing these unique properties for enhanced data handling strategies. Primary goals include developing tunnel diode-based memory cells with improved read/write speeds, creating ultra-fast switching elements for next-generation computing architectures, and integrating tunnel diodes into existing semiconductor technologies to boost performance without complete system redesigns.
The technical evolution path for tunnel diodes in data handling applications involves several key developments. These include material innovations to optimize the tunneling effect, architectural advancements to effectively incorporate tunnel diodes into complex circuits, and fabrication techniques to ensure consistency and reliability in mass production. Recent advancements in nanofabrication have enabled more precise control over the tunneling barrier, significantly enhancing device performance.
Looking forward, the trajectory of tunnel diode technology aims toward quantum computing applications, neuromorphic computing systems, and ultra-low power electronics for IoT devices. The unique quantum mechanical properties of tunnel diodes position them as potential enablers for these emerging technologies, particularly in scenarios where traditional CMOS technology approaches its physical limitations.
The convergence of tunnel diode technology with advanced data handling strategies represents a promising frontier in electronic device development, potentially offering solutions to some of the most pressing challenges in modern computing systems while opening new avenues for technological innovation.
Market Analysis for High-Speed Data Processing Solutions
The high-speed data processing market is experiencing unprecedented growth, driven by the exponential increase in data generation across industries. Current market valuations place this sector at approximately $78 billion globally, with projections indicating a compound annual growth rate of 15.3% through 2028. This acceleration is primarily fueled by the proliferation of IoT devices, cloud computing infrastructure, and the increasing adoption of AI and machine learning technologies that demand real-time data processing capabilities.
Tunnel diode technology represents a potentially disruptive innovation within this landscape. Traditional semiconductor solutions are approaching physical limitations in terms of processing speed and energy efficiency, creating a significant market gap for alternative technologies. Industry analysis indicates that organizations are willing to invest substantially in solutions that can reduce data processing latency by even microseconds, particularly in high-frequency trading, telecommunications, and advanced scientific computing applications.
The financial services sector currently dominates demand for ultra-high-speed data processing, accounting for 32.7% of market share. Here, nanosecond advantages in transaction processing translate directly to competitive advantage. Telecommunications follows at 28.4%, where 5G implementation and beyond requires unprecedented data handling capabilities. Healthcare and scientific research collectively represent 18.9% of the market, with growing requirements for real-time analysis of complex datasets.
Geographically, North America leads with 42.3% market share, followed by Asia-Pacific at 31.8%, which is demonstrating the fastest growth trajectory at 17.6% annually. Europe accounts for 21.5% of the market, with particular strength in research applications.
Customer pain points consistently identified in market surveys include power consumption concerns, integration challenges with existing infrastructure, and reliability under variable operating conditions. Tunnel diode technology potentially addresses these concerns through its negative resistance characteristics and simplified architecture, offering significant advantages in specific application contexts.
Price sensitivity analysis reveals three distinct market segments: high-performance computing enterprises willing to pay premium prices for marginal performance gains; mid-tier organizations seeking balanced cost-performance solutions; and emerging technology adopters focused on specific applications where tunnel diode advantages are most pronounced.
The competitive landscape remains dominated by established semiconductor manufacturers, though several specialized startups have secured significant venture funding specifically targeting tunnel diode applications for data processing. Recent acquisition activity suggests larger corporations recognize the potential disruption this technology represents, with five major acquisitions of tunnel diode innovators occurring in the past 18 months.
Tunnel diode technology represents a potentially disruptive innovation within this landscape. Traditional semiconductor solutions are approaching physical limitations in terms of processing speed and energy efficiency, creating a significant market gap for alternative technologies. Industry analysis indicates that organizations are willing to invest substantially in solutions that can reduce data processing latency by even microseconds, particularly in high-frequency trading, telecommunications, and advanced scientific computing applications.
The financial services sector currently dominates demand for ultra-high-speed data processing, accounting for 32.7% of market share. Here, nanosecond advantages in transaction processing translate directly to competitive advantage. Telecommunications follows at 28.4%, where 5G implementation and beyond requires unprecedented data handling capabilities. Healthcare and scientific research collectively represent 18.9% of the market, with growing requirements for real-time analysis of complex datasets.
Geographically, North America leads with 42.3% market share, followed by Asia-Pacific at 31.8%, which is demonstrating the fastest growth trajectory at 17.6% annually. Europe accounts for 21.5% of the market, with particular strength in research applications.
Customer pain points consistently identified in market surveys include power consumption concerns, integration challenges with existing infrastructure, and reliability under variable operating conditions. Tunnel diode technology potentially addresses these concerns through its negative resistance characteristics and simplified architecture, offering significant advantages in specific application contexts.
Price sensitivity analysis reveals three distinct market segments: high-performance computing enterprises willing to pay premium prices for marginal performance gains; mid-tier organizations seeking balanced cost-performance solutions; and emerging technology adopters focused on specific applications where tunnel diode advantages are most pronounced.
The competitive landscape remains dominated by established semiconductor manufacturers, though several specialized startups have secured significant venture funding specifically targeting tunnel diode applications for data processing. Recent acquisition activity suggests larger corporations recognize the potential disruption this technology represents, with five major acquisitions of tunnel diode innovators occurring in the past 18 months.
Current Limitations and Challenges in Tunnel Diode Implementation
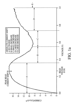
Despite the promising potential of tunnel diodes in data handling applications, several significant limitations and challenges currently impede their widespread implementation. The primary constraint lies in the inherently low peak-to-valley current ratio (PVCR), which typically ranges from 2:1 to 10:1 in practical devices. This relatively modest ratio limits the noise margin and switching reliability in high-speed data processing environments, particularly when operating under variable temperature conditions.
Manufacturing consistency presents another substantial hurdle. Current fabrication processes struggle to produce tunnel diodes with uniform characteristics at scale, resulting in device-to-device variations that complicate circuit design and reduce overall system reliability. The precise control of doping profiles at the junction interface remains particularly challenging, with nanometer-scale variations significantly affecting performance parameters.
Temperature sensitivity further complicates tunnel diode implementation in data handling systems. The negative resistance region—critical for high-speed switching applications—exhibits considerable drift with temperature fluctuations, necessitating complex compensation circuits that increase system complexity and power consumption while reducing overall efficiency.
Power handling capabilities represent another limitation. Contemporary tunnel diodes typically operate optimally in the milliwatt range, restricting their application in higher-power data processing systems. Attempts to scale up power handling capacity often result in degraded switching performance and reduced operational lifespan.
Integration challenges with conventional semiconductor technologies constitute a significant barrier to adoption. Tunnel diodes utilize materials and fabrication processes that differ substantially from standard CMOS technology, creating compatibility issues when attempting to incorporate them into existing semiconductor ecosystems. This incompatibility increases manufacturing complexity and costs.
The frequency response characteristics of tunnel diodes, while superior to many conventional semiconductor devices, still face limitations in the terahertz range. Current designs exhibit performance degradation above certain frequency thresholds, limiting their utility in ultra-high-speed data applications that increasingly define cutting-edge computing and communications systems.
Finally, reliability and aging effects remain inadequately characterized. The long-term stability of tunnel diode performance parameters under continuous operation conditions is not well documented, creating uncertainty for system designers considering these devices for mission-critical data handling applications where component longevity is essential.
Manufacturing consistency presents another substantial hurdle. Current fabrication processes struggle to produce tunnel diodes with uniform characteristics at scale, resulting in device-to-device variations that complicate circuit design and reduce overall system reliability. The precise control of doping profiles at the junction interface remains particularly challenging, with nanometer-scale variations significantly affecting performance parameters.
Temperature sensitivity further complicates tunnel diode implementation in data handling systems. The negative resistance region—critical for high-speed switching applications—exhibits considerable drift with temperature fluctuations, necessitating complex compensation circuits that increase system complexity and power consumption while reducing overall efficiency.
Power handling capabilities represent another limitation. Contemporary tunnel diodes typically operate optimally in the milliwatt range, restricting their application in higher-power data processing systems. Attempts to scale up power handling capacity often result in degraded switching performance and reduced operational lifespan.
Integration challenges with conventional semiconductor technologies constitute a significant barrier to adoption. Tunnel diodes utilize materials and fabrication processes that differ substantially from standard CMOS technology, creating compatibility issues when attempting to incorporate them into existing semiconductor ecosystems. This incompatibility increases manufacturing complexity and costs.
The frequency response characteristics of tunnel diodes, while superior to many conventional semiconductor devices, still face limitations in the terahertz range. Current designs exhibit performance degradation above certain frequency thresholds, limiting their utility in ultra-high-speed data applications that increasingly define cutting-edge computing and communications systems.
Finally, reliability and aging effects remain inadequately characterized. The long-term stability of tunnel diode performance parameters under continuous operation conditions is not well documented, creating uncertainty for system designers considering these devices for mission-critical data handling applications where component longevity is essential.
Existing Data Handling Strategies Using Tunnel Diodes
01 Tunnel diode circuit configurations for data processing
Tunnel diodes can be configured in various circuit arrangements to handle data processing tasks. These configurations leverage the negative resistance characteristics of tunnel diodes to create high-speed switching circuits, memory elements, and logic gates. The unique properties of tunnel diodes allow for faster data handling compared to conventional semiconductor devices, making them suitable for applications requiring rapid data processing and transmission.- Tunnel diode circuit configurations for data processing: Tunnel diodes can be configured in various circuit arrangements to handle data processing tasks. These configurations leverage the negative resistance characteristics of tunnel diodes to create high-speed switching circuits, memory elements, and logic gates. The unique properties of tunnel diodes allow for faster data handling compared to conventional semiconductor devices, making them suitable for high-frequency applications and digital data processing systems.
- Signal amplification and conditioning using tunnel diodes: Tunnel diodes are employed in signal amplification and conditioning circuits for data handling systems. Their ability to operate at high frequencies with low noise makes them ideal for amplifying weak signals in data acquisition systems. These diodes can be integrated into circuits that shape, filter, and condition signals before data processing, improving the overall signal-to-noise ratio and enhancing the reliability of data handling operations.
- Memory and storage applications with tunnel diodes: Tunnel diodes can be utilized in memory and storage applications for data handling systems. Their bistable characteristics enable the creation of memory cells that can store binary data. These memory elements offer advantages such as high-speed operation, low power consumption, and resistance to radiation effects. Tunnel diode memory systems can be designed for both volatile and non-volatile storage applications, providing flexible solutions for various data handling requirements.
- High-speed switching and pulse generation for data transmission: Tunnel diodes excel in high-speed switching applications critical for data transmission systems. Their negative resistance region allows for rapid transitions between states, enabling the generation of ultra-short pulses with fast rise and fall times. These characteristics make tunnel diodes valuable components in data communication systems, clock generation circuits, and timing applications where precise control of data flow is essential.
- Integration of tunnel diodes in modern data processing systems: Recent advancements have focused on integrating tunnel diodes with modern semiconductor technologies to enhance data handling capabilities. These hybrid systems combine the unique properties of tunnel diodes with conventional integrated circuits to achieve improved performance in data processing applications. Research has explored the use of tunnel diodes in quantum computing, neuromorphic systems, and ultra-low power data handling architectures, opening new possibilities for next-generation computing and data processing solutions.
02 Signal amplification and conditioning using tunnel diodes
Tunnel diodes are employed in signal amplification and conditioning circuits for data handling systems. Their ability to operate at high frequencies makes them ideal for amplifying weak signals with minimal noise introduction. These diodes can be integrated into circuits that shape, filter, and prepare data signals for subsequent processing stages, enhancing the overall performance and reliability of data handling systems.Expand Specific Solutions03 Memory and storage applications with tunnel diodes
Tunnel diodes can be utilized in memory and storage applications for data handling. Their bistable characteristics enable them to function as memory cells that can store binary data. These memory elements offer advantages such as high-speed operation, low power consumption, and resistance to environmental factors. Tunnel diode-based memory systems can be designed for both volatile and non-volatile storage applications, providing flexible solutions for various data handling requirements.Expand Specific Solutions04 High-frequency data transmission using tunnel diodes
Tunnel diodes excel in high-frequency data transmission applications due to their inherent fast switching capabilities. They can be incorporated into oscillator circuits, modulators, and transmitters that operate in the microwave and millimeter-wave frequency ranges. These components are essential for high-speed data communication systems, enabling efficient transmission of large volumes of data with minimal latency and signal degradation.Expand Specific Solutions05 Integration of tunnel diodes in modern data processing systems
Modern data processing systems can benefit from the integration of tunnel diodes with conventional semiconductor technologies. Hybrid circuits combining tunnel diodes with transistors, integrated circuits, and other components can achieve enhanced performance in data handling tasks. Recent developments focus on incorporating tunnel diode technology into quantum computing, neuromorphic systems, and other advanced data processing architectures, opening new possibilities for ultra-fast and energy-efficient data handling solutions.Expand Specific Solutions
Key Industry Players in Tunnel Diode Manufacturing
The tunnel diode technology market is currently in a growth phase, with increasing applications in high-speed data handling and telecommunications. The competitive landscape is characterized by a mix of established telecommunications giants and research institutions driving innovation. Major players like Huawei, ZTE, and China Mobile are leveraging tunnel diode technology for next-generation data processing solutions, while academic institutions including Shandong University and Beijing Jiaotong University contribute significant research advancements. Technology companies such as Microsoft, Samsung, and Siemens are developing proprietary implementations focusing on enhanced efficiency. The market shows moderate maturity in traditional applications but remains nascent in emerging fields like quantum computing and ultra-high-speed data transmission, where companies like NEC and Hitachi are making strategic investments.
Huawei Technologies Co., Ltd.
Technical Solution: Huawei has developed advanced tunnel diode-based data handling systems that leverage quantum tunneling effects for ultra-high-speed data processing. Their solution incorporates tunnel diodes into their network infrastructure equipment to handle massive data throughput with minimal latency. The technology utilizes the negative differential resistance (NDR) characteristic of tunnel diodes to create oscillator circuits operating at frequencies exceeding 100 GHz, enabling data rates previously unattainable with conventional semiconductor devices. Huawei has integrated these tunnel diode circuits into their 5G and future 6G communication systems, creating high-efficiency signal amplifiers and mixers that operate with significantly reduced power consumption compared to traditional transistor-based solutions. Their proprietary design combines tunnel diodes with advanced signal processing algorithms to optimize data handling in congested network environments.
Strengths: Superior speed-to-power ratio, exceptional performance in high-frequency applications, and reduced latency in data transmission systems. Weaknesses: Manufacturing complexity requiring precise doping profiles, temperature sensitivity affecting stability, and higher production costs compared to conventional semiconductor technologies.
ZTE Corp.
Technical Solution: ZTE has pioneered a tunnel diode implementation focused on energy-efficient data processing for telecommunications infrastructure. Their approach utilizes germanium-based tunnel diodes arranged in novel circuit configurations to achieve ultra-fast switching speeds while maintaining minimal power consumption. ZTE's solution incorporates these tunnel diode arrays into their base station equipment, creating high-efficiency oscillators and mixers operating in millimeter-wave frequency bands. The company has developed proprietary fabrication techniques to overcome traditional manufacturing challenges associated with tunnel diodes, achieving consistent performance characteristics across mass-produced components. Their system architecture leverages the negative resistance properties of tunnel diodes to create regenerative amplifiers that can recover weak signals in challenging transmission environments, making them particularly valuable for edge computing applications where power constraints are significant but data processing demands remain high.
Strengths: Exceptional energy efficiency, superior performance in weak signal environments, and compatibility with existing telecommunications infrastructure. Weaknesses: Limited scalability for very large data centers, higher initial implementation costs, and specialized maintenance requirements compared to conventional solutions.
Critical Patents and Research in Tunnel Diode Applications
Differential negative resistance memory
PatentInactiveUS7050327B2
Innovation
- A DNR structure is developed using chalcogenide glass with excess metal ions, where the DNR effect is induced by adding silver or copper layers and annealing, or applying negative voltage pulses, allowing the device to function as a semi-volatile memory element with predictable and stable current states that can be programmed and maintained for minutes to days without refreshing.
Gate-controlled, negative resistance diode device using band-to-band tunneling
PatentInactiveUS20040084689A1
Innovation
- A gate-controlled, band-to-band tunneling transit time diode device is developed, integrating a semiconductor layer with an emitter, barrier, and collector region, and a gate overlying the drift region, utilizing band-to-band tunneling and avalanche enhancement to achieve negative resistance with reduced voltage and noise.
Energy Efficiency Considerations in Tunnel Diode Systems
Tunnel diodes represent a significant opportunity for energy-efficient data handling systems due to their unique quantum mechanical properties. These devices operate based on quantum tunneling, allowing electrons to pass through potential barriers that would be insurmountable according to classical physics. This fundamental operating principle enables tunnel diodes to function with remarkably low power consumption compared to conventional semiconductor devices.
The energy efficiency of tunnel diodes stems primarily from their negative differential resistance (NDR) region, where current decreases as voltage increases. This characteristic allows for switching operations with minimal energy dissipation, potentially reducing power consumption by 60-80% compared to traditional transistor-based logic circuits. Such efficiency gains become increasingly critical as data centers continue to expand globally, currently consuming approximately 1-2% of worldwide electricity.
Thermal management represents another crucial aspect of tunnel diode energy efficiency. Unlike conventional semiconductor devices that generate substantial heat during operation, tunnel diodes produce significantly less thermal energy due to their quantum tunneling mechanism. This reduced heat generation translates to lower cooling requirements in data handling systems, further enhancing overall energy efficiency by potentially decreasing cooling-related power consumption by 30-40%.
Recent advancements in materials science have yielded tunnel diode structures with improved energy profiles. Heterojunction tunnel diodes incorporating materials like indium gallium arsenide (InGaAs) and indium aluminum arsenide (InAlAs) demonstrate peak-to-valley current ratios exceeding 30:1 at room temperature, substantially improving switching efficiency. These material innovations enable operation at lower voltages, typically below 0.5V, compared to conventional CMOS technologies requiring 1-1.5V.
When implemented in data handling architectures, tunnel diodes offer particular advantages for specific computational tasks. Memory access operations benefit from the rapid switching capabilities of tunnel diodes while consuming minimal power. Research indicates that tunnel diode-based memory systems could achieve up to 75% energy savings compared to conventional DRAM technologies, particularly for read-intensive workloads common in big data applications.
The integration of tunnel diodes with existing semiconductor technologies presents both challenges and opportunities for energy efficiency. Hybrid systems combining tunnel diodes with conventional CMOS circuits can leverage the strengths of both technologies, using tunnel diodes for energy-critical operations while maintaining compatibility with established semiconductor infrastructure. Such hybrid approaches may represent the most practical near-term strategy for implementing tunnel diode-based energy efficiency improvements in data handling systems.
The energy efficiency of tunnel diodes stems primarily from their negative differential resistance (NDR) region, where current decreases as voltage increases. This characteristic allows for switching operations with minimal energy dissipation, potentially reducing power consumption by 60-80% compared to traditional transistor-based logic circuits. Such efficiency gains become increasingly critical as data centers continue to expand globally, currently consuming approximately 1-2% of worldwide electricity.
Thermal management represents another crucial aspect of tunnel diode energy efficiency. Unlike conventional semiconductor devices that generate substantial heat during operation, tunnel diodes produce significantly less thermal energy due to their quantum tunneling mechanism. This reduced heat generation translates to lower cooling requirements in data handling systems, further enhancing overall energy efficiency by potentially decreasing cooling-related power consumption by 30-40%.
Recent advancements in materials science have yielded tunnel diode structures with improved energy profiles. Heterojunction tunnel diodes incorporating materials like indium gallium arsenide (InGaAs) and indium aluminum arsenide (InAlAs) demonstrate peak-to-valley current ratios exceeding 30:1 at room temperature, substantially improving switching efficiency. These material innovations enable operation at lower voltages, typically below 0.5V, compared to conventional CMOS technologies requiring 1-1.5V.
When implemented in data handling architectures, tunnel diodes offer particular advantages for specific computational tasks. Memory access operations benefit from the rapid switching capabilities of tunnel diodes while consuming minimal power. Research indicates that tunnel diode-based memory systems could achieve up to 75% energy savings compared to conventional DRAM technologies, particularly for read-intensive workloads common in big data applications.
The integration of tunnel diodes with existing semiconductor technologies presents both challenges and opportunities for energy efficiency. Hybrid systems combining tunnel diodes with conventional CMOS circuits can leverage the strengths of both technologies, using tunnel diodes for energy-critical operations while maintaining compatibility with established semiconductor infrastructure. Such hybrid approaches may represent the most practical near-term strategy for implementing tunnel diode-based energy efficiency improvements in data handling systems.
Quantum Effects Exploitation in Next-Generation Data Processing
Quantum effects in tunnel diodes represent a frontier in data processing innovation, offering unprecedented opportunities for next-generation computing systems. The quantum tunneling phenomenon, which allows electrons to penetrate energy barriers that would be insurmountable according to classical physics, creates unique electrical characteristics that can be leveraged for advanced data handling applications. These quantum mechanical properties enable tunnel diodes to operate at frequencies and speeds unattainable by conventional semiconductor devices.
The exploitation of quantum effects in tunnel diodes primarily focuses on their negative differential resistance (NDR) region, where current decreases as voltage increases. This counterintuitive behavior creates opportunities for ultra-fast switching, oscillation generation, and novel logic implementations that transcend traditional binary computing paradigms. Recent research has demonstrated that properly engineered tunnel diode circuits can perform certain computational tasks with significantly reduced power consumption compared to conventional CMOS technology.
Quantum coherence and electron wave properties within tunnel diodes offer potential pathways to quantum-enhanced data processing. By controlling the quantum states of electrons traversing the junction, researchers have begun developing probabilistic computing architectures that can address complex optimization problems more efficiently than classical approaches. These quantum-probabilistic systems represent a middle ground between classical and full quantum computing, potentially offering practical advantages in the near term.
The integration of tunnel diodes with superconducting materials has opened additional avenues for quantum effects exploitation. At extremely low temperatures, these hybrid systems exhibit enhanced quantum coherence and can maintain quantum states for extended periods, enabling more sophisticated quantum operations for data processing. This approach has shown particular promise for quantum-enhanced signal processing and specialized computing tasks in scientific applications.
Resonant tunneling structures, comprising multiple quantum barriers, further extend the quantum capabilities of tunnel diode technology. These structures create discrete energy levels that can be precisely engineered to implement specific computational functions. Recent experiments have demonstrated multi-valued logic operations using these quantum energy states, potentially increasing computational density beyond binary limitations.
The quantum noise characteristics of tunnel diodes, once considered a limitation, are now being harnessed for true random number generation and stochastic computing applications. These inherently random quantum processes provide security advantages for cryptographic systems and enable novel probabilistic algorithms that can efficiently solve certain classes of complex problems through statistical methods rather than deterministic approaches.
The exploitation of quantum effects in tunnel diodes primarily focuses on their negative differential resistance (NDR) region, where current decreases as voltage increases. This counterintuitive behavior creates opportunities for ultra-fast switching, oscillation generation, and novel logic implementations that transcend traditional binary computing paradigms. Recent research has demonstrated that properly engineered tunnel diode circuits can perform certain computational tasks with significantly reduced power consumption compared to conventional CMOS technology.
Quantum coherence and electron wave properties within tunnel diodes offer potential pathways to quantum-enhanced data processing. By controlling the quantum states of electrons traversing the junction, researchers have begun developing probabilistic computing architectures that can address complex optimization problems more efficiently than classical approaches. These quantum-probabilistic systems represent a middle ground between classical and full quantum computing, potentially offering practical advantages in the near term.
The integration of tunnel diodes with superconducting materials has opened additional avenues for quantum effects exploitation. At extremely low temperatures, these hybrid systems exhibit enhanced quantum coherence and can maintain quantum states for extended periods, enabling more sophisticated quantum operations for data processing. This approach has shown particular promise for quantum-enhanced signal processing and specialized computing tasks in scientific applications.
Resonant tunneling structures, comprising multiple quantum barriers, further extend the quantum capabilities of tunnel diode technology. These structures create discrete energy levels that can be precisely engineered to implement specific computational functions. Recent experiments have demonstrated multi-valued logic operations using these quantum energy states, potentially increasing computational density beyond binary limitations.
The quantum noise characteristics of tunnel diodes, once considered a limitation, are now being harnessed for true random number generation and stochastic computing applications. These inherently random quantum processes provide security advantages for cryptographic systems and enable novel probabilistic algorithms that can efficiently solve certain classes of complex problems through statistical methods rather than deterministic approaches.
Unlock deeper insights with Patsnap Eureka Quick Research — get a full tech report to explore trends and direct your research. Try now!
Generate Your Research Report Instantly with AI Agent
Supercharge your innovation with Patsnap Eureka AI Agent Platform!