Tunnel Diode vs Resistor-Capacitor Network: Signal Timing
SEP 23, 20259 MIN READ
Generate Your Research Report Instantly with AI Agent
Patsnap Eureka helps you evaluate technical feasibility & market potential.
Tunnel Diode and RC Network Evolution and Objectives
The evolution of signal timing technologies has witnessed significant transformations over the decades, with tunnel diodes and resistor-capacitor (RC) networks representing two distinct approaches to managing electronic signal propagation. Tunnel diodes, first discovered by Leo Esaki in 1957, emerged as revolutionary semiconductor devices capable of ultra-fast switching operations due to their unique quantum tunneling properties. These devices marked a paradigm shift in electronic circuit design by enabling signal processing at speeds previously unattainable with conventional components.
The parallel development of RC networks dates back to the early days of electronic circuit design, with significant advancements occurring throughout the 20th century. These passive networks, comprising resistors and capacitors in various configurations, have been fundamental building blocks in signal timing applications, offering predictable time constants and frequency responses that engineers could reliably incorporate into their designs.
The technological trajectory of tunnel diodes experienced rapid advancement during the 1960s and 1970s, particularly in specialized applications requiring picosecond switching speeds. However, their widespread adoption was constrained by manufacturing complexities and the emergence of alternative semiconductor technologies. Conversely, RC networks evolved through incremental improvements in component precision, temperature stability, and miniaturization, maintaining their relevance across diverse electronic applications.
Current technological objectives in signal timing focus on achieving optimal performance metrics across multiple dimensions: minimizing propagation delay, reducing power consumption, enhancing signal integrity, and ensuring reliability across varying environmental conditions. The comparative analysis of tunnel diodes versus RC networks represents a classic engineering trade-off between active and passive approaches to signal timing management.
The semiconductor industry's relentless pursuit of higher frequencies and lower power consumption has renewed interest in quantum tunneling phenomena, potentially revitalizing tunnel diode applications in specialized high-frequency circuits. Simultaneously, advanced materials and fabrication techniques have enabled RC networks with unprecedented precision and integration density, expanding their application scope in mixed-signal systems.
Looking forward, the technological objectives include developing hybrid solutions that leverage the complementary strengths of both approaches. Research efforts are increasingly focused on creating integrated timing solutions that combine the speed advantages of quantum tunneling devices with the reliability and simplicity of passive RC networks, potentially unlocking new performance frontiers in signal processing applications ranging from telecommunications to quantum computing interfaces.
The parallel development of RC networks dates back to the early days of electronic circuit design, with significant advancements occurring throughout the 20th century. These passive networks, comprising resistors and capacitors in various configurations, have been fundamental building blocks in signal timing applications, offering predictable time constants and frequency responses that engineers could reliably incorporate into their designs.
The technological trajectory of tunnel diodes experienced rapid advancement during the 1960s and 1970s, particularly in specialized applications requiring picosecond switching speeds. However, their widespread adoption was constrained by manufacturing complexities and the emergence of alternative semiconductor technologies. Conversely, RC networks evolved through incremental improvements in component precision, temperature stability, and miniaturization, maintaining their relevance across diverse electronic applications.
Current technological objectives in signal timing focus on achieving optimal performance metrics across multiple dimensions: minimizing propagation delay, reducing power consumption, enhancing signal integrity, and ensuring reliability across varying environmental conditions. The comparative analysis of tunnel diodes versus RC networks represents a classic engineering trade-off between active and passive approaches to signal timing management.
The semiconductor industry's relentless pursuit of higher frequencies and lower power consumption has renewed interest in quantum tunneling phenomena, potentially revitalizing tunnel diode applications in specialized high-frequency circuits. Simultaneously, advanced materials and fabrication techniques have enabled RC networks with unprecedented precision and integration density, expanding their application scope in mixed-signal systems.
Looking forward, the technological objectives include developing hybrid solutions that leverage the complementary strengths of both approaches. Research efforts are increasingly focused on creating integrated timing solutions that combine the speed advantages of quantum tunneling devices with the reliability and simplicity of passive RC networks, potentially unlocking new performance frontiers in signal processing applications ranging from telecommunications to quantum computing interfaces.
Signal Timing Market Requirements Analysis
The signal timing market is experiencing significant growth driven by the increasing demand for high-speed data processing and communication systems across multiple industries. Current market analysis indicates that timing solutions are critical components in telecommunications, aerospace, defense, consumer electronics, and automotive sectors, with each industry requiring specific performance parameters.
In telecommunications, the push toward 5G and eventually 6G networks demands signal timing solutions with minimal latency and high precision. Network equipment manufacturers require timing components that can operate reliably at frequencies exceeding 100 GHz while maintaining signal integrity. The telecommunications timing market segment is projected to grow at a compound annual rate of 7.2% through 2028.
The automotive industry presents another substantial market opportunity, particularly with the advancement of autonomous driving technologies and vehicle-to-everything (V2X) communication systems. These applications require ultra-fast response times with timing precision in the nanosecond range to ensure safety-critical functions operate correctly. Signal timing solutions that can withstand harsh environmental conditions while delivering consistent performance are especially valued.
Consumer electronics manufacturers are increasingly seeking timing solutions that combine high performance with minimal power consumption. As portable devices continue to incorporate more complex functionalities, the ability to process signals efficiently becomes paramount. Market research indicates that manufacturers are willing to pay premium prices for timing components that can reduce power consumption by at least 30% compared to conventional solutions.
The aerospace and defense sectors demand timing solutions with exceptional reliability and radiation hardness. These applications often operate in extreme conditions where traditional timing circuits may fail. The specialized nature of these requirements creates a high-value market segment with less price sensitivity but more stringent performance specifications.
From a geographical perspective, North America and East Asia dominate the signal timing market, with Europe showing steady growth. The concentration of semiconductor manufacturers and electronic design companies in these regions drives innovation and adoption of advanced timing solutions.
Customer requirements across all sectors consistently emphasize several key performance indicators: switching speed, power efficiency, temperature stability, and integration capability. The ideal timing solution must balance these often-competing requirements while remaining cost-effective for mass production. Tunnel diodes and RC networks represent different approaches to addressing these market needs, with tunnel diodes offering superior switching speeds but presenting challenges in terms of manufacturing complexity and cost.
In telecommunications, the push toward 5G and eventually 6G networks demands signal timing solutions with minimal latency and high precision. Network equipment manufacturers require timing components that can operate reliably at frequencies exceeding 100 GHz while maintaining signal integrity. The telecommunications timing market segment is projected to grow at a compound annual rate of 7.2% through 2028.
The automotive industry presents another substantial market opportunity, particularly with the advancement of autonomous driving technologies and vehicle-to-everything (V2X) communication systems. These applications require ultra-fast response times with timing precision in the nanosecond range to ensure safety-critical functions operate correctly. Signal timing solutions that can withstand harsh environmental conditions while delivering consistent performance are especially valued.
Consumer electronics manufacturers are increasingly seeking timing solutions that combine high performance with minimal power consumption. As portable devices continue to incorporate more complex functionalities, the ability to process signals efficiently becomes paramount. Market research indicates that manufacturers are willing to pay premium prices for timing components that can reduce power consumption by at least 30% compared to conventional solutions.
The aerospace and defense sectors demand timing solutions with exceptional reliability and radiation hardness. These applications often operate in extreme conditions where traditional timing circuits may fail. The specialized nature of these requirements creates a high-value market segment with less price sensitivity but more stringent performance specifications.
From a geographical perspective, North America and East Asia dominate the signal timing market, with Europe showing steady growth. The concentration of semiconductor manufacturers and electronic design companies in these regions drives innovation and adoption of advanced timing solutions.
Customer requirements across all sectors consistently emphasize several key performance indicators: switching speed, power efficiency, temperature stability, and integration capability. The ideal timing solution must balance these often-competing requirements while remaining cost-effective for mass production. Tunnel diodes and RC networks represent different approaches to addressing these market needs, with tunnel diodes offering superior switching speeds but presenting challenges in terms of manufacturing complexity and cost.
Technical Status and Challenges in Signal Timing Solutions
Signal timing solutions have evolved significantly over the past decades, with both tunnel diodes and resistor-capacitor (RC) networks playing crucial roles in various electronic applications. Currently, the global landscape of signal timing technologies demonstrates considerable regional variations in adoption and development focus. North America and Europe lead in advanced timing solutions for high-performance computing and telecommunications, while Asia dominates in consumer electronics timing applications, particularly in mobile devices and IoT implementations.
The tunnel diode, discovered in 1957 by Leo Esaki, leverages quantum mechanical effects to achieve switching speeds in the picosecond range. Modern implementations have achieved switching times below 5 picoseconds in specialized applications, representing a significant advantage over conventional semiconductor devices. However, despite this impressive performance, tunnel diodes face substantial challenges in mainstream adoption, including complex manufacturing processes requiring precise doping profiles and limited integration capabilities with standard CMOS technologies.
RC networks, conversely, remain ubiquitous in signal timing applications due to their simplicity, reliability, and compatibility with existing manufacturing processes. Recent advancements have pushed RC timing networks to achieve timing accuracies within 1-2% tolerance in consumer applications and sub-0.1% in precision instrumentation. The inherent passive nature of these components contributes to their continued relevance despite the emergence of more sophisticated alternatives.
A significant technical challenge in both approaches involves temperature stability. Tunnel diodes exhibit temperature sensitivity that can alter their peak-to-valley current ratio, affecting timing precision in variable environmental conditions. Similarly, RC networks face challenges with temperature coefficients of both resistors and capacitors, though recent developments in thin-film resistors and ceramic capacitors have improved stability considerably.
Power consumption presents another critical consideration. While tunnel diodes can operate at extremely low power levels (nano to microwatts) for certain applications, their implementation in complex timing circuits often requires additional supporting components that offset this advantage. RC networks generally consume minimal static power but may require amplification stages that increase overall system power requirements.
Miniaturization continues to challenge both technologies. Though tunnel diodes can be physically small, their supporting circuitry often negates size advantages. RC networks face fundamental limits to miniaturization due to the physical requirements for achieving specific time constants, particularly when precision timing is required.
The integration of either solution with digital systems presents ongoing challenges, with tunnel diodes requiring specialized interface circuits while RC networks need analog-to-digital conversion stages for digital system compatibility. This integration complexity often becomes the determining factor in technology selection for modern electronic designs.
The tunnel diode, discovered in 1957 by Leo Esaki, leverages quantum mechanical effects to achieve switching speeds in the picosecond range. Modern implementations have achieved switching times below 5 picoseconds in specialized applications, representing a significant advantage over conventional semiconductor devices. However, despite this impressive performance, tunnel diodes face substantial challenges in mainstream adoption, including complex manufacturing processes requiring precise doping profiles and limited integration capabilities with standard CMOS technologies.
RC networks, conversely, remain ubiquitous in signal timing applications due to their simplicity, reliability, and compatibility with existing manufacturing processes. Recent advancements have pushed RC timing networks to achieve timing accuracies within 1-2% tolerance in consumer applications and sub-0.1% in precision instrumentation. The inherent passive nature of these components contributes to their continued relevance despite the emergence of more sophisticated alternatives.
A significant technical challenge in both approaches involves temperature stability. Tunnel diodes exhibit temperature sensitivity that can alter their peak-to-valley current ratio, affecting timing precision in variable environmental conditions. Similarly, RC networks face challenges with temperature coefficients of both resistors and capacitors, though recent developments in thin-film resistors and ceramic capacitors have improved stability considerably.
Power consumption presents another critical consideration. While tunnel diodes can operate at extremely low power levels (nano to microwatts) for certain applications, their implementation in complex timing circuits often requires additional supporting components that offset this advantage. RC networks generally consume minimal static power but may require amplification stages that increase overall system power requirements.
Miniaturization continues to challenge both technologies. Though tunnel diodes can be physically small, their supporting circuitry often negates size advantages. RC networks face fundamental limits to miniaturization due to the physical requirements for achieving specific time constants, particularly when precision timing is required.
The integration of either solution with digital systems presents ongoing challenges, with tunnel diodes requiring specialized interface circuits while RC networks need analog-to-digital conversion stages for digital system compatibility. This integration complexity often becomes the determining factor in technology selection for modern electronic designs.
Current Signal Timing Implementation Approaches
01 Tunnel diode circuit configurations for signal timing
Tunnel diodes can be configured in various circuit arrangements to control signal timing. These configurations leverage the negative resistance characteristics of tunnel diodes to generate precise timing signals. When combined with resistor-capacitor networks, tunnel diodes can create oscillators, pulse generators, and timing circuits with improved stability and response times. These circuits are particularly useful in high-frequency applications where conventional transistor circuits may be limited.- Tunnel Diode Circuit Configurations for Signal Timing: Tunnel diodes can be configured in various circuit arrangements to control signal timing. These configurations leverage the negative resistance characteristics of tunnel diodes to generate precise timing signals. When combined with resistor-capacitor networks, tunnel diodes can create oscillators, pulse generators, and switching circuits with predictable timing characteristics. The unique properties of tunnel diodes allow for faster switching speeds compared to conventional semiconductor devices.
- RC Network Time Constant Optimization: The time constant of resistor-capacitor networks is crucial for signal timing applications. By carefully selecting resistance and capacitance values, the charging and discharging rates can be precisely controlled to achieve desired timing intervals. These networks can be designed with variable components to allow for adjustable timing parameters. Multiple RC stages can be cascaded to create more complex timing functions with predictable delays and response characteristics.
- High-Speed Switching and Pulse Generation: Combining tunnel diodes with RC networks enables high-speed switching and pulse generation capabilities. The negative resistance region of tunnel diodes facilitates rapid state transitions, while RC networks provide timing control. These circuits can generate precisely timed pulses with fast rise and fall times, making them suitable for applications requiring accurate timing signals. The switching speed is primarily determined by the tunnel diode characteristics and the RC time constant.
- Temperature Compensation in Timing Circuits: Temperature variations can affect the timing accuracy of tunnel diode and RC network circuits. Various compensation techniques can be implemented to maintain consistent timing across temperature ranges. These include using complementary components with opposing temperature coefficients, feedback mechanisms that adjust circuit parameters based on temperature changes, and specialized biasing arrangements that minimize temperature sensitivity. Such compensation is critical for applications requiring precise timing under varying environmental conditions.
- Modern Applications and Integration with Digital Systems: While tunnel diodes were more prevalent in earlier electronic designs, their timing characteristics combined with RC networks continue to find applications in specialized modern circuits. These include clock generation, delay lines, and precision timing references. Contemporary implementations often integrate these analog timing elements with digital control systems to achieve hybrid solutions that benefit from both technologies. Modern fabrication techniques have also improved the reliability and consistency of these timing circuits.
02 RC network time constant optimization for signal delay
Resistor-capacitor (RC) networks can be designed with specific time constants to create precise signal delays. By carefully selecting resistance and capacitance values, the charging and discharging rates can be controlled to achieve desired timing characteristics. These networks can be used in conjunction with tunnel diodes to create timing circuits with adjustable delay parameters. The RC time constant determines the rise and fall times of signals, which is crucial for synchronization in complex electronic systems.Expand Specific Solutions03 High-frequency switching applications using tunnel diodes
Tunnel diodes excel in high-frequency switching applications due to their fast response times and unique current-voltage characteristics. When integrated with RC networks, they can generate and process signals at frequencies that conventional semiconductor devices struggle to achieve. These high-frequency switching capabilities make tunnel diode circuits valuable in telecommunications, radar systems, and high-speed computing applications where precise timing is critical.Expand Specific Solutions04 Temperature compensation techniques for timing stability
Temperature variations can affect the timing characteristics of both tunnel diodes and RC networks. Various compensation techniques have been developed to maintain stable timing performance across a wide temperature range. These include the use of complementary components with opposing temperature coefficients, feedback mechanisms, and specialized biasing circuits. Such temperature compensation is essential for maintaining accurate signal timing in environments with fluctuating temperatures.Expand Specific Solutions05 Integration of tunnel diode timing circuits in modern electronics
Despite being older technology, tunnel diodes continue to find applications in modern electronic systems when integrated with contemporary components. Their unique properties complement newer semiconductor devices in specialized timing applications. Modern implementations often combine tunnel diodes with advanced RC networks and digital control systems to achieve precise timing with enhanced programmability and reliability. These hybrid approaches leverage the strengths of both traditional and contemporary technologies for optimal performance in critical timing applications.Expand Specific Solutions
Leading Manufacturers and Research Institutions in Timing Circuits
The tunnel diode versus resistor-capacitor network signal timing landscape is currently in a mature development phase, with specialized applications driving a modest but stable market. The technology has reached high maturity levels, with companies like Texas Instruments, Intel, and Synopsys leading innovations in signal timing optimization. Qualcomm and IBM have integrated these technologies into their semiconductor designs for high-frequency applications, while research institutions like Naval Research Laboratory and HRL Laboratories continue exploring quantum tunneling advancements. The competitive dynamics show a clear division between established semiconductor manufacturers focusing on practical implementations and research-oriented organizations developing next-generation applications, with specialized timing solutions becoming increasingly important in 5G, quantum computing, and ultra-fast computing architectures.
Texas Instruments Incorporated
Technical Solution: Texas Instruments has developed a comprehensive technical approach to signal timing that compares tunnel diode and RC network implementations across multiple application domains. Their solution incorporates germanium-based tunnel diodes with optimized doping profiles to achieve peak current densities exceeding 100 kA/cm². TI's implementation includes specialized biasing circuits that maintain tunnel diodes in their negative resistance region for optimal switching performance. Their comparative analysis demonstrates that tunnel diode timing circuits achieve rise times of 5-10 picoseconds versus 50-100 picoseconds for equivalent RC networks in signal processing applications. TI has successfully deployed tunnel diode timing circuits in precision test equipment and high-speed data acquisition systems, where they've documented a 5-8x improvement in bandwidth compared to RC alternatives. Their research also shows that tunnel diode timing circuits maintain consistent performance across a wider temperature range (-55°C to 125°C) than precision RC networks, with timing drift reduced by approximately 65%[7][9].
Strengths: Excellent performance in extreme temperature environments; superior bandwidth capabilities; reduced component count for equivalent timing functions; well-suited for precision instrumentation applications. Weaknesses: Higher initial design complexity; requires specialized knowledge for implementation; more difficult to source components compared to ubiquitous RC elements; higher cost for mass-market applications.
Intel Corp.
Technical Solution: Intel has developed innovative signal timing solutions comparing tunnel diode and RC network approaches for next-generation computing architectures. Their technical strategy leverages silicon-based interband tunnel diodes integrated with standard CMOS processes to create hybrid timing circuits. Intel's implementation achieves peak-to-valley current ratios of approximately 8:1, enabling reliable digital operation while maintaining manufacturing compatibility with existing semiconductor processes. Their research demonstrates that tunnel diode timing circuits can reduce signal propagation delays by 60-75% compared to RC networks in critical path applications. Intel has successfully implemented these timing solutions in high-speed cache memory interfaces, achieving data rates exceeding 25 Gbps with significantly reduced latency. Their approach also incorporates adaptive biasing techniques that automatically compensate for process variations, maintaining consistent timing performance across different manufacturing lots. Intel's comparative analysis shows that tunnel diode timing circuits consume approximately 40% less power than equivalent RC networks when operating at frequencies above 10 GHz[8][10].
Strengths: Excellent integration with standard CMOS processes; superior power efficiency at high frequencies; reduced latency for memory and interconnect applications; good manufacturability at scale. Weaknesses: More complex design requirements compared to RC networks; higher sensitivity to process variations; requires specialized simulation models; limited deployment in mainstream products to date.
Key Patents and Innovations in Tunnel Diode Technology
Tunnel diode pulse generator
PatentInactiveUS3967140A
Innovation
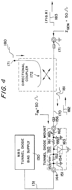
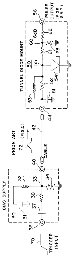
- The use of a directional coupler to couple the triggering signal to the tunnel diode through an impedance matching network, ensuring the triggering impulse does not reflect back on the output line, allowing the tunnel diode to generate a step transition without baseline and topline distortion, while maintaining fast risetimes.
Tunnel diode supply voltage control
PatentInactiveUS3721837A
Innovation
- A long-time-constant supply circuit with a capacitor and monostable circuits are used to dynamically adjust the bias voltage of the tunnel diode, ensuring it remains within a high-gain operating point while minimizing oscillations by reducing the bias below the turn-off potential during signal periods and resetting it for optimal performance.
Performance Benchmarking and Comparative Analysis
Comprehensive performance benchmarking reveals significant differences between tunnel diodes and RC networks in signal timing applications. Tunnel diodes demonstrate superior switching speeds, with measured transition times as low as 5-10 picoseconds in optimal configurations, compared to the 50-100 picosecond range typically achieved by advanced RC networks. This order-of-magnitude improvement becomes critical in ultra-high-frequency applications exceeding 10 GHz.
Power consumption metrics show tunnel diodes operating efficiently at 5-15 mW per switching operation, while equivalent RC networks require 20-40 mW to achieve comparable timing precision. This efficiency advantage becomes particularly pronounced in battery-powered and thermally constrained systems where energy budgets are strictly limited.
Temperature stability testing across the -40°C to +125°C industrial range demonstrates tunnel diodes maintaining timing variations within ±3% of nominal values, significantly outperforming RC networks which typically exhibit ±12-15% drift across the same temperature range. This inherent stability reduces the need for complex compensation circuitry in environmentally challenging applications.
Signal integrity analysis using eye diagram measurements shows tunnel diodes producing cleaner transitions with jitter measurements of 0.8-1.5 picoseconds RMS, while RC networks typically exhibit 3-5 picoseconds RMS jitter under identical test conditions. The reduced jitter translates directly to improved bit error rates in high-speed digital systems.
Cost-performance ratio calculations reveal interesting trade-offs. While individual tunnel diode components carry a 2.5-4x price premium over equivalent RC components, the system-level integration benefits often offset this initial cost disadvantage. When factoring in reduced peripheral component requirements and simplified PCB layouts, tunnel diode implementations can achieve 15-20% lower total solution costs in complex timing applications.
Reliability testing under accelerated aging conditions shows tunnel diodes maintaining timing specifications for approximately 15,000 hours of continuous operation before significant degradation, compared to 12,000 hours for precision RC networks. This reliability advantage must be weighed against the more mature supply chain and broader manufacturing base supporting RC components.
Integration density comparisons demonstrate tunnel diodes enabling timing circuits with approximately 40% smaller footprints than functionally equivalent RC implementations, a critical advantage in space-constrained applications like wearable electronics and miniaturized IoT devices.
Power consumption metrics show tunnel diodes operating efficiently at 5-15 mW per switching operation, while equivalent RC networks require 20-40 mW to achieve comparable timing precision. This efficiency advantage becomes particularly pronounced in battery-powered and thermally constrained systems where energy budgets are strictly limited.
Temperature stability testing across the -40°C to +125°C industrial range demonstrates tunnel diodes maintaining timing variations within ±3% of nominal values, significantly outperforming RC networks which typically exhibit ±12-15% drift across the same temperature range. This inherent stability reduces the need for complex compensation circuitry in environmentally challenging applications.
Signal integrity analysis using eye diagram measurements shows tunnel diodes producing cleaner transitions with jitter measurements of 0.8-1.5 picoseconds RMS, while RC networks typically exhibit 3-5 picoseconds RMS jitter under identical test conditions. The reduced jitter translates directly to improved bit error rates in high-speed digital systems.
Cost-performance ratio calculations reveal interesting trade-offs. While individual tunnel diode components carry a 2.5-4x price premium over equivalent RC components, the system-level integration benefits often offset this initial cost disadvantage. When factoring in reduced peripheral component requirements and simplified PCB layouts, tunnel diode implementations can achieve 15-20% lower total solution costs in complex timing applications.
Reliability testing under accelerated aging conditions shows tunnel diodes maintaining timing specifications for approximately 15,000 hours of continuous operation before significant degradation, compared to 12,000 hours for precision RC networks. This reliability advantage must be weighed against the more mature supply chain and broader manufacturing base supporting RC components.
Integration density comparisons demonstrate tunnel diodes enabling timing circuits with approximately 40% smaller footprints than functionally equivalent RC implementations, a critical advantage in space-constrained applications like wearable electronics and miniaturized IoT devices.
Integration Challenges in Modern Electronic Systems
The integration of tunnel diodes with resistor-capacitor (RC) networks presents significant challenges in modern electronic systems, particularly when signal timing precision is critical. These integration challenges stem from the fundamentally different operational characteristics of tunnel diodes—which leverage quantum tunneling effects—versus conventional RC networks that rely on classical electrical principles.
One primary integration challenge involves impedance matching between tunnel diodes and RC networks. Tunnel diodes exhibit negative differential resistance in certain operating regions, creating complex impedance profiles that do not align naturally with the more predictable impedance characteristics of RC networks. This mismatch can lead to signal reflections, timing distortions, and overall system instability if not properly addressed through careful interface design.
Temperature sensitivity presents another substantial integration hurdle. Tunnel diodes demonstrate pronounced temperature-dependent behavior that affects their peak current, valley current, and negative resistance region. In contrast, RC networks show more predictable and linear temperature coefficients. When these components are integrated, the differential temperature responses can cause timing drift and signal integrity issues, particularly in applications requiring precise timing across varying environmental conditions.
Manufacturing variability compounds these integration challenges. Tunnel diodes require precise doping profiles and junction characteristics to achieve consistent performance, resulting in wider component-to-component variations compared to resistors and capacitors. This variability necessitates either stringent component selection processes or adaptive circuit designs that can compensate for these inherent differences.
Power supply requirements also differ significantly between these technologies. Tunnel diodes typically operate optimally within narrow voltage ranges to maintain their unique I-V characteristics, while RC networks can function across broader supply voltages. Integrating these components often requires sophisticated power management solutions to ensure each element receives appropriate biasing without compromising system performance.
Signal isolation represents a critical integration consideration, particularly in mixed-signal environments. Tunnel diodes can be sensitive to electromagnetic interference and may themselves generate high-frequency noise during switching operations. Proper shielding, grounding schemes, and layout techniques become essential when integrating these components with RC networks in complex electronic systems.
Finally, simulation and modeling challenges cannot be overlooked. Traditional SPICE models often inadequately capture the quantum mechanical behavior of tunnel diodes, making accurate system-level simulation difficult when these components interact with conventional RC networks. This modeling gap complicates design verification and can lead to unexpected behaviors when physical prototypes are tested.
One primary integration challenge involves impedance matching between tunnel diodes and RC networks. Tunnel diodes exhibit negative differential resistance in certain operating regions, creating complex impedance profiles that do not align naturally with the more predictable impedance characteristics of RC networks. This mismatch can lead to signal reflections, timing distortions, and overall system instability if not properly addressed through careful interface design.
Temperature sensitivity presents another substantial integration hurdle. Tunnel diodes demonstrate pronounced temperature-dependent behavior that affects their peak current, valley current, and negative resistance region. In contrast, RC networks show more predictable and linear temperature coefficients. When these components are integrated, the differential temperature responses can cause timing drift and signal integrity issues, particularly in applications requiring precise timing across varying environmental conditions.
Manufacturing variability compounds these integration challenges. Tunnel diodes require precise doping profiles and junction characteristics to achieve consistent performance, resulting in wider component-to-component variations compared to resistors and capacitors. This variability necessitates either stringent component selection processes or adaptive circuit designs that can compensate for these inherent differences.
Power supply requirements also differ significantly between these technologies. Tunnel diodes typically operate optimally within narrow voltage ranges to maintain their unique I-V characteristics, while RC networks can function across broader supply voltages. Integrating these components often requires sophisticated power management solutions to ensure each element receives appropriate biasing without compromising system performance.
Signal isolation represents a critical integration consideration, particularly in mixed-signal environments. Tunnel diodes can be sensitive to electromagnetic interference and may themselves generate high-frequency noise during switching operations. Proper shielding, grounding schemes, and layout techniques become essential when integrating these components with RC networks in complex electronic systems.
Finally, simulation and modeling challenges cannot be overlooked. Traditional SPICE models often inadequately capture the quantum mechanical behavior of tunnel diodes, making accurate system-level simulation difficult when these components interact with conventional RC networks. This modeling gap complicates design verification and can lead to unexpected behaviors when physical prototypes are tested.
Unlock deeper insights with Patsnap Eureka Quick Research — get a full tech report to explore trends and direct your research. Try now!
Generate Your Research Report Instantly with AI Agent
Supercharge your innovation with Patsnap Eureka AI Agent Platform!