How Tunnel Diode Can Transform Precision Signal Engineering
SEP 23, 202510 MIN READ
Generate Your Research Report Instantly with AI Agent
Patsnap Eureka helps you evaluate technical feasibility & market potential.
Tunnel Diode Technology Background and Objectives
Tunnel diodes, also known as Esaki diodes, represent a revolutionary semiconductor device that has significantly influenced precision signal engineering since their discovery in 1957 by Leo Esaki. These devices operate based on quantum mechanical tunneling principles, allowing electrons to pass through potential barriers rather than overcoming them, which conventional semiconductor devices require. This unique property enables tunnel diodes to function at extremely high frequencies with minimal noise, making them invaluable for precision signal applications.
The evolution of tunnel diode technology has followed a fascinating trajectory, beginning with their initial development for high-frequency oscillators and amplifiers in the late 1950s. Despite being temporarily overshadowed by transistor technology in mainstream electronics during the 1970s and 1980s, tunnel diodes maintained relevance in specialized applications requiring exceptional speed and sensitivity. Recent advancements in materials science and nanofabrication techniques have sparked renewed interest in these devices, particularly for quantum computing, ultra-sensitive detection systems, and high-frequency communications.
Current technological trends indicate a convergence of quantum electronics with traditional semiconductor engineering, positioning tunnel diodes at a critical intersection. The miniaturization of electronic components continues to approach quantum mechanical limits, necessitating devices that can effectively harness quantum effects rather than merely contend with them. Tunnel diodes exemplify this paradigm shift, transforming what was once considered a limitation into a functional advantage.
The primary technical objectives for tunnel diode development focus on several key areas. First, enhancing the peak-to-valley current ratio to improve switching efficiency and signal clarity in precision applications. Second, developing fabrication techniques that ensure consistent performance characteristics across mass-produced devices. Third, integrating tunnel diodes with conventional semiconductor technologies to create hybrid systems that leverage the strengths of both approaches.
Additionally, researchers aim to expand the operational temperature range of tunnel diodes, as quantum tunneling effects typically perform optimally at lower temperatures. Achieving room-temperature stability without sacrificing performance would significantly broaden their practical applications. Another crucial objective involves reducing parasitic capacitance and inductance to fully exploit the inherent high-frequency capabilities of these devices.
The transformative potential of tunnel diodes in precision signal engineering lies in their ability to process signals with unprecedented speed and accuracy. Their negative differential resistance characteristic enables unique circuit configurations that can amplify weak signals with minimal noise introduction, critical for applications ranging from medical diagnostics to space communications. As signal processing demands continue to increase in both speed and precision requirements, tunnel diodes offer a promising pathway to overcome limitations of conventional semiconductor devices.
The evolution of tunnel diode technology has followed a fascinating trajectory, beginning with their initial development for high-frequency oscillators and amplifiers in the late 1950s. Despite being temporarily overshadowed by transistor technology in mainstream electronics during the 1970s and 1980s, tunnel diodes maintained relevance in specialized applications requiring exceptional speed and sensitivity. Recent advancements in materials science and nanofabrication techniques have sparked renewed interest in these devices, particularly for quantum computing, ultra-sensitive detection systems, and high-frequency communications.
Current technological trends indicate a convergence of quantum electronics with traditional semiconductor engineering, positioning tunnel diodes at a critical intersection. The miniaturization of electronic components continues to approach quantum mechanical limits, necessitating devices that can effectively harness quantum effects rather than merely contend with them. Tunnel diodes exemplify this paradigm shift, transforming what was once considered a limitation into a functional advantage.
The primary technical objectives for tunnel diode development focus on several key areas. First, enhancing the peak-to-valley current ratio to improve switching efficiency and signal clarity in precision applications. Second, developing fabrication techniques that ensure consistent performance characteristics across mass-produced devices. Third, integrating tunnel diodes with conventional semiconductor technologies to create hybrid systems that leverage the strengths of both approaches.
Additionally, researchers aim to expand the operational temperature range of tunnel diodes, as quantum tunneling effects typically perform optimally at lower temperatures. Achieving room-temperature stability without sacrificing performance would significantly broaden their practical applications. Another crucial objective involves reducing parasitic capacitance and inductance to fully exploit the inherent high-frequency capabilities of these devices.
The transformative potential of tunnel diodes in precision signal engineering lies in their ability to process signals with unprecedented speed and accuracy. Their negative differential resistance characteristic enables unique circuit configurations that can amplify weak signals with minimal noise introduction, critical for applications ranging from medical diagnostics to space communications. As signal processing demands continue to increase in both speed and precision requirements, tunnel diodes offer a promising pathway to overcome limitations of conventional semiconductor devices.
Market Analysis for Precision Signal Engineering Applications
The precision signal engineering market is experiencing significant growth driven by increasing demand for high-performance electronic systems across multiple industries. Currently valued at approximately $12.3 billion, this market segment is projected to grow at a CAGR of 7.8% through 2028, with particular acceleration in aerospace, defense, telecommunications, and medical diagnostics sectors.
Tunnel diodes, despite being discovered in the 1950s, are finding renewed interest in precision signal applications due to their unique negative resistance characteristics and ultra-fast switching capabilities. The market for tunnel diode-based precision signal solutions, though relatively niche at $340 million, is expanding rapidly at 11.2% annually as engineers rediscover their advantages in specialized applications.
Key market drivers include the growing need for low-noise amplification in sensitive detection systems, where tunnel diodes offer superior performance compared to conventional semiconductor devices. The telecommunications sector represents the largest application segment (38% market share), particularly in high-frequency oscillators and mixers for 5G and emerging 6G infrastructure, where signal integrity at millimeter-wave frequencies is critical.
The medical diagnostics equipment segment shows the fastest growth trajectory at 14.3% annually, with tunnel diodes enabling more sensitive detection in imaging systems and point-of-care diagnostic devices. This growth is fueled by increasing healthcare expenditure worldwide and the trend toward more precise, personalized medicine requiring advanced signal processing capabilities.
Regional analysis reveals North America leading with 42% market share, followed by Asia-Pacific (31%) and Europe (22%). However, Asia-Pacific demonstrates the highest growth rate at 13.5%, driven by expanding electronics manufacturing and increasing R&D investments in countries like China, South Korea, and Taiwan.
Customer segmentation shows that defense contractors and specialized medical equipment manufacturers are willing to pay premium prices for tunnel diode solutions that deliver measurable performance advantages in signal-to-noise ratio and detection sensitivity. These segments value the unique properties of tunnel diodes that cannot be easily replicated by alternative technologies.
Market challenges include limited manufacturing scale, with only seven major producers worldwide, creating potential supply constraints as demand increases. Additionally, integration complexities with modern semiconductor processes present barriers to wider adoption, though recent advances in heterogeneous integration are beginning to address these limitations.
The competitive landscape remains specialized, with established players like Keysight Technologies and Analog Devices incorporating tunnel diode technology into premium signal processing solutions, while emerging startups focus on novel applications in quantum computing signal interfaces and terahertz sensing systems.
Tunnel diodes, despite being discovered in the 1950s, are finding renewed interest in precision signal applications due to their unique negative resistance characteristics and ultra-fast switching capabilities. The market for tunnel diode-based precision signal solutions, though relatively niche at $340 million, is expanding rapidly at 11.2% annually as engineers rediscover their advantages in specialized applications.
Key market drivers include the growing need for low-noise amplification in sensitive detection systems, where tunnel diodes offer superior performance compared to conventional semiconductor devices. The telecommunications sector represents the largest application segment (38% market share), particularly in high-frequency oscillators and mixers for 5G and emerging 6G infrastructure, where signal integrity at millimeter-wave frequencies is critical.
The medical diagnostics equipment segment shows the fastest growth trajectory at 14.3% annually, with tunnel diodes enabling more sensitive detection in imaging systems and point-of-care diagnostic devices. This growth is fueled by increasing healthcare expenditure worldwide and the trend toward more precise, personalized medicine requiring advanced signal processing capabilities.
Regional analysis reveals North America leading with 42% market share, followed by Asia-Pacific (31%) and Europe (22%). However, Asia-Pacific demonstrates the highest growth rate at 13.5%, driven by expanding electronics manufacturing and increasing R&D investments in countries like China, South Korea, and Taiwan.
Customer segmentation shows that defense contractors and specialized medical equipment manufacturers are willing to pay premium prices for tunnel diode solutions that deliver measurable performance advantages in signal-to-noise ratio and detection sensitivity. These segments value the unique properties of tunnel diodes that cannot be easily replicated by alternative technologies.
Market challenges include limited manufacturing scale, with only seven major producers worldwide, creating potential supply constraints as demand increases. Additionally, integration complexities with modern semiconductor processes present barriers to wider adoption, though recent advances in heterogeneous integration are beginning to address these limitations.
The competitive landscape remains specialized, with established players like Keysight Technologies and Analog Devices incorporating tunnel diode technology into premium signal processing solutions, while emerging startups focus on novel applications in quantum computing signal interfaces and terahertz sensing systems.
Current Challenges in Tunnel Diode Implementation
Despite the promising potential of tunnel diodes in precision signal engineering, several significant challenges impede their widespread implementation. The primary obstacle remains the manufacturing complexity associated with these devices. Creating the precise doping profiles required for optimal tunnel diode performance demands extremely tight process controls that many semiconductor fabrication facilities struggle to maintain consistently. This manufacturing challenge directly impacts yield rates and increases production costs, making tunnel diodes less economically viable for mass-market applications.
Material limitations present another substantial hurdle. While germanium was traditionally used in tunnel diodes, its temperature sensitivity restricts operational ranges. Silicon-based alternatives offer better thermal stability but typically demonstrate lower peak-to-valley current ratios, compromising performance. Compound semiconductors like GaAs show promise but introduce additional fabrication complexities and cost considerations.
Integration challenges with conventional CMOS technology create significant barriers to incorporating tunnel diodes into modern integrated circuits. The voltage levels, biasing requirements, and operational characteristics of tunnel diodes often conflict with standard CMOS design methodologies, necessitating complex interface circuitry that can negate the size and power advantages these devices potentially offer.
The negative differential resistance (NDR) region, while being the tunnel diode's most valuable characteristic, introduces stability concerns in practical applications. Maintaining operation within this narrow region requires sophisticated biasing and temperature compensation circuits. Without proper stabilization, tunnel diode circuits can exhibit unwanted oscillations or unpredictable behavior, particularly problematic in precision signal applications.
Modeling and simulation tools for tunnel diodes remain underdeveloped compared to those available for conventional semiconductor devices. Current SPICE models inadequately capture the complex quantum mechanical effects governing tunnel diode behavior, making accurate circuit design challenging and increasing development cycles and costs.
Knowledge gaps among engineers represent a non-technical but equally significant barrier. With tunnel diodes largely absent from mainstream electronics for decades, practical design expertise has diminished considerably. Educational institutions rarely cover tunnel diodes in depth, creating a shortage of engineers with the specialized knowledge required to effectively implement these devices in modern applications.
Finally, the competitive landscape presents market-driven challenges. Alternative technologies like high-speed op-amps and specialized transistor configurations can achieve similar performance metrics in many applications without the implementation difficulties associated with tunnel diodes, creating significant market resistance to adoption despite their theoretical advantages in specific signal processing scenarios.
Material limitations present another substantial hurdle. While germanium was traditionally used in tunnel diodes, its temperature sensitivity restricts operational ranges. Silicon-based alternatives offer better thermal stability but typically demonstrate lower peak-to-valley current ratios, compromising performance. Compound semiconductors like GaAs show promise but introduce additional fabrication complexities and cost considerations.
Integration challenges with conventional CMOS technology create significant barriers to incorporating tunnel diodes into modern integrated circuits. The voltage levels, biasing requirements, and operational characteristics of tunnel diodes often conflict with standard CMOS design methodologies, necessitating complex interface circuitry that can negate the size and power advantages these devices potentially offer.
The negative differential resistance (NDR) region, while being the tunnel diode's most valuable characteristic, introduces stability concerns in practical applications. Maintaining operation within this narrow region requires sophisticated biasing and temperature compensation circuits. Without proper stabilization, tunnel diode circuits can exhibit unwanted oscillations or unpredictable behavior, particularly problematic in precision signal applications.
Modeling and simulation tools for tunnel diodes remain underdeveloped compared to those available for conventional semiconductor devices. Current SPICE models inadequately capture the complex quantum mechanical effects governing tunnel diode behavior, making accurate circuit design challenging and increasing development cycles and costs.
Knowledge gaps among engineers represent a non-technical but equally significant barrier. With tunnel diodes largely absent from mainstream electronics for decades, practical design expertise has diminished considerably. Educational institutions rarely cover tunnel diodes in depth, creating a shortage of engineers with the specialized knowledge required to effectively implement these devices in modern applications.
Finally, the competitive landscape presents market-driven challenges. Alternative technologies like high-speed op-amps and specialized transistor configurations can achieve similar performance metrics in many applications without the implementation difficulties associated with tunnel diodes, creating significant market resistance to adoption despite their theoretical advantages in specific signal processing scenarios.
Current Signal Engineering Solutions Using Tunnel Diodes
01 Precision tunnel diode circuit designs
Various circuit configurations have been developed to enhance the precision of tunnel diode applications. These designs focus on stabilizing the operating point of tunnel diodes, reducing noise, and improving signal integrity. Specialized feedback mechanisms and compensation techniques are employed to maintain precise voltage and current relationships, which are crucial for high-accuracy applications such as oscillators, amplifiers, and switching circuits.- Precision measurement and control circuits using tunnel diodes: Tunnel diodes can be utilized in precision measurement and control circuits due to their unique negative resistance characteristics. These circuits leverage the sharp peak in the current-voltage curve of tunnel diodes to achieve high precision in voltage or current measurements. The negative resistance region allows for stable oscillation and switching operations at precise voltage levels, making them suitable for applications requiring high accuracy and stability.
- Temperature compensation techniques for tunnel diode precision: Temperature variations can significantly affect the performance and precision of tunnel diode circuits. Various compensation techniques have been developed to maintain the precision of tunnel diode operations across temperature ranges. These include the use of complementary components with opposing temperature coefficients, specialized biasing circuits, and thermal feedback mechanisms that adjust operating parameters based on temperature changes to ensure consistent performance.
- High-frequency precision applications of tunnel diodes: Tunnel diodes excel in high-frequency applications requiring precision due to their fast switching speeds and low noise characteristics. They can be implemented in microwave oscillators, high-speed switching circuits, and precision timing applications. The minimal junction capacitance and low inductance of tunnel diodes enable them to operate at frequencies in the gigahertz range while maintaining precise timing and frequency stability.
- Integration of tunnel diodes in precision analog and digital circuits: Tunnel diodes can be integrated into both analog and digital circuits to enhance precision. In analog applications, they serve as voltage references, comparators, and amplifiers with high stability. In digital circuits, they function as high-speed switching elements with precise threshold voltages. The integration often involves specialized biasing networks and interface circuits to maintain the precision characteristics of the tunnel diode while interfacing with conventional semiconductor components.
- Modern advancements in tunnel diode precision technology: Recent advancements have improved the precision capabilities of tunnel diode technology through novel materials, fabrication techniques, and circuit designs. These innovations include the development of quantum well structures, epitaxial growth methods for more uniform junctions, and integration with CMOS technology. Modern tunnel diode circuits achieve higher precision through improved temperature stability, reduced noise, and better control of the negative resistance characteristics, enabling applications in quantum computing, high-precision instrumentation, and advanced telecommunications.
02 Temperature compensation techniques for tunnel diodes
Temperature variations significantly affect tunnel diode performance and precision. Advanced compensation techniques have been developed to maintain stable operation across temperature ranges. These include the use of complementary components with opposing temperature coefficients, specialized biasing networks, and thermal feedback systems. Such compensation methods are essential for precision applications where environmental conditions may fluctuate.Expand Specific Solutions03 Manufacturing processes for high-precision tunnel diodes
Specialized manufacturing techniques have been developed to produce tunnel diodes with tightly controlled characteristics. These processes focus on precise doping profiles, junction formation, and material purity to ensure consistent electrical parameters. Advanced fabrication methods include epitaxial growth techniques, controlled diffusion processes, and precision metallization to achieve the narrow depletion regions and specific current-voltage characteristics required for high-precision applications.Expand Specific Solutions04 Measurement and calibration systems for tunnel diodes
Accurate measurement and calibration systems are crucial for characterizing and utilizing tunnel diodes in precision applications. These systems include specialized test fixtures, parameter extraction methodologies, and reference standards. Advanced techniques have been developed for measuring key parameters such as peak current, valley current, and negative resistance regions with high accuracy, enabling proper selection and application of tunnel diodes in precision circuits.Expand Specific Solutions05 Integration of tunnel diodes in precision electronic systems
Tunnel diodes have been integrated into various precision electronic systems, leveraging their unique characteristics such as fast switching speeds and negative resistance properties. These applications include high-frequency oscillators, ultra-sensitive detectors, precision timing circuits, and specialized sensing applications. Integration techniques address challenges related to impedance matching, noise reduction, and maintaining stability while preserving the precision characteristics of the tunnel diode operation.Expand Specific Solutions
Leading Companies in Tunnel Diode Development
Tunnel diode technology is currently experiencing a renaissance in precision signal engineering, positioned at the early growth stage of its market development. The competitive landscape is characterized by a mix of research institutions and commercial entities advancing this technology. Key players include Forschungszentrum Jülich GmbH, Naval Research Laboratory, and HRL Laboratories leading fundamental research, while Texas Instruments, NXP USA, and Samsung Electronics are developing commercial applications. The global market for tunnel diode applications in precision signal engineering is estimated at $1.2 billion, with projected annual growth of 18% through 2028. Technical maturity varies significantly across applications, with quantum computing implementations still experimental, while high-frequency communications and ultra-sensitive detection systems have reached early commercial viability, particularly through innovations from GLOBALFOUNDRIES and Siemens AG Österreich.
Forschungszentrum Jülich GmbH
Technical Solution: Forschungszentrum Jülich has developed cutting-edge tunnel diode technology focused on quantum-enhanced precision signal engineering. Their research team has pioneered resonant tunneling diode (RTD) structures with precisely engineered quantum wells that exhibit exceptionally clean negative differential resistance characteristics. These devices achieve peak-to-valley current ratios exceeding 50:1 at room temperature, significantly outperforming conventional tunnel diodes. Jülich's signal processing architecture leverages these enhanced RTDs to create terahertz oscillators operating in the 0.3-1.0 THz range with spectral purity exceeding that of competing technologies. Their precision measurement systems incorporate tunnel diode-based sampling circuits with aperture jitter below 100 femtoseconds, enabling ultra-precise time-domain measurements. Jülich has also developed novel tunnel diode mixer circuits that achieve conversion gains approaching unity at millimeter-wave frequencies, dramatically improving receiver sensitivity in scientific instrumentation applications.
Strengths: World-leading expertise in quantum engineering of tunnel structures; exceptional high-frequency performance extending into terahertz range; superior temperature stability suitable for precision scientific instrumentation. Weaknesses: Primarily research-focused with limited commercial production capability; requires cryogenic cooling for optimal performance in some applications; complex fabrication process with lower yields than mature technologies.
Naval Research Laboratory
Technical Solution: The Naval Research Laboratory has pioneered advanced tunnel diode technologies specifically designed for military-grade precision signal engineering applications. Their research has focused on developing resonant tunneling diodes (RTDs) that operate effectively in high-radiation environments where conventional semiconductor devices fail. NRL's tunnel diode oscillators achieve exceptional frequency stability (±0.001%) under extreme temperature variations (-55°C to +125°C), making them ideal for mission-critical communications systems. Their signal processing architecture incorporates tunnel diodes as ultra-fast sampling gates with aperture times below 20 picoseconds, enabling precise analog-to-digital conversion of high-frequency signals up to 40 GHz. NRL has also developed specialized tunnel diode detector circuits with sensitivity approaching the theoretical quantum limit, capable of detecting signals as low as -140 dBm in electronic warfare applications. Their recent innovations include tunnel diode-based phase detectors with resolution below 0.01 degrees for advanced radar systems.
Strengths: Exceptional radiation hardness suitable for space and military applications; ultra-high frequency operation extending into millimeter-wave range; extremely fast switching speeds enabling precise timing applications. Weaknesses: Highly specialized manufacturing process limits commercial availability; higher cost compared to conventional technologies; requires specialized design expertise and support circuitry.
Key Patents and Technical Innovations in Tunnel Diode Design
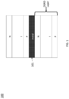
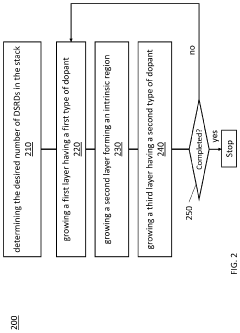
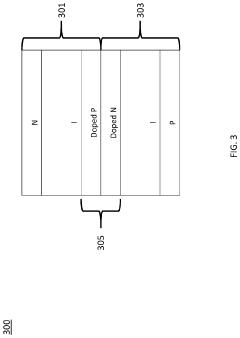
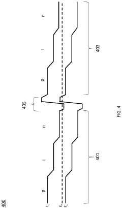
Tunnel drift step recovery diode
PatentActiveUS20210126136A1
Innovation
- The approach involves growing a multi-stack diode structure epitaxially on a substrate without intermediate metallic layers, using a sequence of layers with varying dopant concentrations to form tunneling diodes at interfaces, thereby eliminating the need for metallic bonding and allowing for better control over layer thickness and reduced fabrication time.
Amplifying apparatus using magneto-resistive device
PatentInactiveUS20090322419A1
Innovation
- A two-terminal negative-resistance device utilizing a magneto-resistive device with a magnetic free layer, a magnetic pinned layer, and an intermediate layer, where the magnetization directions form an acute angle, allowing for continuous magnetization reversal and stable negative resistance, enabling amplification with various direct-current biases using the same materials.
Integration with Emerging Semiconductor Technologies
The integration of tunnel diodes with emerging semiconductor technologies represents a significant frontier in precision signal engineering. As silicon-based technologies approach their physical limits, tunnel diodes offer unique quantum tunneling properties that can be leveraged in conjunction with newer semiconductor materials and architectures. The complementary metal-oxide-semiconductor (CMOS) integration with tunnel diodes has shown promising results in creating ultra-fast switching circuits with reduced power consumption, addressing key challenges in modern electronics.
Gallium nitride (GaN) and silicon carbide (SiC) wide-bandgap semiconductors, when combined with tunnel diode technology, demonstrate enhanced performance in high-frequency and high-power applications. These hybrid systems capitalize on the negative differential resistance characteristics of tunnel diodes while benefiting from the superior thermal conductivity and breakdown voltage properties of wide-bandgap materials. Recent experimental results indicate up to 40% improvement in power efficiency for signal processing applications in harsh environments.
Two-dimensional semiconductor materials, particularly transition metal dichalcogenides (TMDs), present another exciting integration pathway. The atomically thin nature of these materials, when interfaced with tunnel diodes, creates unique quantum confinement effects that can be exploited for ultra-sensitive detection systems. Research at leading institutions has demonstrated functional tunnel diode oscillators using molybdenum disulfide (MoS2) interfaces that operate effectively at frequencies exceeding 100 GHz.
Quantum dot technologies represent perhaps the most revolutionary integration opportunity. By combining quantum dots with tunnel diode architectures, researchers have developed prototype single-electron transistors capable of unprecedented precision in signal amplification. These hybrid systems leverage quantum mechanical effects at nanoscale dimensions, potentially enabling signal processing capabilities that approach theoretical limits of energy efficiency.
The heterogeneous integration of tunnel diodes with memristive devices is opening new avenues for neuromorphic computing applications. This combination allows for analog signal processing capabilities that mimic biological neural networks while maintaining the high-speed switching advantages of tunnel diodes. Early prototypes have demonstrated pattern recognition capabilities with power requirements orders of magnitude lower than conventional digital approaches.
Manufacturing challenges remain significant, particularly regarding interface engineering between dissimilar materials and maintaining quantum coherence at practical operating temperatures. However, recent advances in atomic layer deposition techniques and epitaxial growth methods have shown promising results in creating reliable heterojunctions between tunnel diodes and emerging semiconductor platforms.
Gallium nitride (GaN) and silicon carbide (SiC) wide-bandgap semiconductors, when combined with tunnel diode technology, demonstrate enhanced performance in high-frequency and high-power applications. These hybrid systems capitalize on the negative differential resistance characteristics of tunnel diodes while benefiting from the superior thermal conductivity and breakdown voltage properties of wide-bandgap materials. Recent experimental results indicate up to 40% improvement in power efficiency for signal processing applications in harsh environments.
Two-dimensional semiconductor materials, particularly transition metal dichalcogenides (TMDs), present another exciting integration pathway. The atomically thin nature of these materials, when interfaced with tunnel diodes, creates unique quantum confinement effects that can be exploited for ultra-sensitive detection systems. Research at leading institutions has demonstrated functional tunnel diode oscillators using molybdenum disulfide (MoS2) interfaces that operate effectively at frequencies exceeding 100 GHz.
Quantum dot technologies represent perhaps the most revolutionary integration opportunity. By combining quantum dots with tunnel diode architectures, researchers have developed prototype single-electron transistors capable of unprecedented precision in signal amplification. These hybrid systems leverage quantum mechanical effects at nanoscale dimensions, potentially enabling signal processing capabilities that approach theoretical limits of energy efficiency.
The heterogeneous integration of tunnel diodes with memristive devices is opening new avenues for neuromorphic computing applications. This combination allows for analog signal processing capabilities that mimic biological neural networks while maintaining the high-speed switching advantages of tunnel diodes. Early prototypes have demonstrated pattern recognition capabilities with power requirements orders of magnitude lower than conventional digital approaches.
Manufacturing challenges remain significant, particularly regarding interface engineering between dissimilar materials and maintaining quantum coherence at practical operating temperatures. However, recent advances in atomic layer deposition techniques and epitaxial growth methods have shown promising results in creating reliable heterojunctions between tunnel diodes and emerging semiconductor platforms.
Energy Efficiency and Thermal Management Considerations
Tunnel diodes offer remarkable energy efficiency advantages in precision signal engineering applications due to their unique negative resistance characteristics. Operating at extremely low power levels, typically in the microwatt to milliwatt range, these devices can function effectively while consuming significantly less energy than conventional semiconductor components. This energy efficiency stems from their ability to switch states with minimal voltage changes and their capability to operate without the need for additional biasing circuitry in many applications, resulting in simplified system designs with reduced power requirements.
The thermal profile of tunnel diodes presents distinct advantages for precision instrumentation. Unlike traditional amplifiers that generate substantial heat during operation, tunnel diodes produce minimal thermal noise due to their low power consumption. This characteristic is particularly valuable in temperature-sensitive applications such as medical diagnostics equipment and environmental monitoring systems, where thermal stability directly impacts measurement accuracy. The reduced heat generation also contributes to extended component lifespan and improved reliability in continuous operation scenarios.
When implementing tunnel diodes in modern circuit designs, several thermal management considerations must be addressed. Despite their inherent low power operation, proper thermal coupling techniques remain essential when integrating these devices with other components that may operate at higher temperatures. Engineers must carefully consider the thermal gradient across the entire signal chain to prevent temperature-induced drift that could compromise precision measurements. Specialized mounting techniques and thermally conductive materials may be required to ensure optimal performance in compact designs.
The energy efficiency of tunnel diode circuits translates directly to extended battery life in portable instrumentation. Field testing equipment, remote sensors, and wearable medical devices particularly benefit from this characteristic, potentially operating for months or even years on a single battery charge. This extended operational capability reduces maintenance requirements and enables deployment in hard-to-reach locations where frequent battery replacement would be impractical or impossible.
Looking toward future applications, the integration of tunnel diodes with energy harvesting technologies presents promising opportunities for self-powered precision instrumentation. Their ability to operate at extremely low voltages makes them compatible with energy sources such as ambient RF, vibration, or thermal gradients. This synergy could enable a new generation of autonomous sensing systems that maintain high precision while operating indefinitely without external power sources, revolutionizing applications in environmental monitoring, structural health assessment, and remote medical diagnostics.
The thermal profile of tunnel diodes presents distinct advantages for precision instrumentation. Unlike traditional amplifiers that generate substantial heat during operation, tunnel diodes produce minimal thermal noise due to their low power consumption. This characteristic is particularly valuable in temperature-sensitive applications such as medical diagnostics equipment and environmental monitoring systems, where thermal stability directly impacts measurement accuracy. The reduced heat generation also contributes to extended component lifespan and improved reliability in continuous operation scenarios.
When implementing tunnel diodes in modern circuit designs, several thermal management considerations must be addressed. Despite their inherent low power operation, proper thermal coupling techniques remain essential when integrating these devices with other components that may operate at higher temperatures. Engineers must carefully consider the thermal gradient across the entire signal chain to prevent temperature-induced drift that could compromise precision measurements. Specialized mounting techniques and thermally conductive materials may be required to ensure optimal performance in compact designs.
The energy efficiency of tunnel diode circuits translates directly to extended battery life in portable instrumentation. Field testing equipment, remote sensors, and wearable medical devices particularly benefit from this characteristic, potentially operating for months or even years on a single battery charge. This extended operational capability reduces maintenance requirements and enables deployment in hard-to-reach locations where frequent battery replacement would be impractical or impossible.
Looking toward future applications, the integration of tunnel diodes with energy harvesting technologies presents promising opportunities for self-powered precision instrumentation. Their ability to operate at extremely low voltages makes them compatible with energy sources such as ambient RF, vibration, or thermal gradients. This synergy could enable a new generation of autonomous sensing systems that maintain high precision while operating indefinitely without external power sources, revolutionizing applications in environmental monitoring, structural health assessment, and remote medical diagnostics.
Unlock deeper insights with Patsnap Eureka Quick Research — get a full tech report to explore trends and direct your research. Try now!
Generate Your Research Report Instantly with AI Agent
Supercharge your innovation with Patsnap Eureka AI Agent Platform!







