How microgrids benefit from localized green hydrogen storage
SEP 3, 20259 MIN READ
Generate Your Research Report Instantly with AI Agent
Patsnap Eureka helps you evaluate technical feasibility & market potential.
Microgrid-Hydrogen Integration Background and Objectives
The integration of microgrids with green hydrogen storage represents a significant evolution in distributed energy systems. Microgrids emerged in the early 2000s as localized energy networks capable of operating independently from the main grid, primarily utilizing renewable energy sources such as solar and wind. However, the intermittent nature of these renewables presented substantial challenges for energy reliability and grid stability.
Green hydrogen technology has developed in parallel, with electrolysis methods advancing significantly over the past decade. The convergence of these two technologies—microgrids and hydrogen storage—creates a synergistic relationship that addresses critical limitations in renewable energy deployment while supporting decarbonization objectives across multiple sectors.
The primary technical objective of microgrid-hydrogen integration is to enhance energy resilience through effective energy storage mechanisms. Unlike battery storage systems that face degradation and capacity limitations, hydrogen can store large quantities of energy for extended periods without significant losses, making it particularly valuable for seasonal storage applications in microgrid environments.
Another key objective is to maximize renewable energy utilization within microgrids. Current systems often curtail excess renewable generation due to limited storage capacity or grid constraints. Hydrogen production through electrolysis offers a productive pathway for this surplus energy, effectively increasing the renewable penetration rate and improving the economic viability of microgrid investments.
The technology evolution trajectory shows a clear progression from simple diesel-based microgrids to hybrid renewable systems, and now toward integrated hydrogen-based solutions. This progression reflects broader energy transition goals, including carbon neutrality commitments and energy independence initiatives across various regions globally.
From a technical perspective, the integration aims to optimize the balance between immediate electrical needs and longer-term energy security. This involves sophisticated energy management systems that can determine optimal hydrogen production timing, storage levels, and reconversion to electricity through fuel cells or hydrogen-compatible generators.
The development of this integrated approach also supports sectoral coupling—connecting electricity production with transportation, heating, and industrial processes through the versatile energy carrier hydrogen represents. This cross-sectoral integration potential significantly expands the value proposition of microgrids beyond traditional electricity provision.
Green hydrogen technology has developed in parallel, with electrolysis methods advancing significantly over the past decade. The convergence of these two technologies—microgrids and hydrogen storage—creates a synergistic relationship that addresses critical limitations in renewable energy deployment while supporting decarbonization objectives across multiple sectors.
The primary technical objective of microgrid-hydrogen integration is to enhance energy resilience through effective energy storage mechanisms. Unlike battery storage systems that face degradation and capacity limitations, hydrogen can store large quantities of energy for extended periods without significant losses, making it particularly valuable for seasonal storage applications in microgrid environments.
Another key objective is to maximize renewable energy utilization within microgrids. Current systems often curtail excess renewable generation due to limited storage capacity or grid constraints. Hydrogen production through electrolysis offers a productive pathway for this surplus energy, effectively increasing the renewable penetration rate and improving the economic viability of microgrid investments.
The technology evolution trajectory shows a clear progression from simple diesel-based microgrids to hybrid renewable systems, and now toward integrated hydrogen-based solutions. This progression reflects broader energy transition goals, including carbon neutrality commitments and energy independence initiatives across various regions globally.
From a technical perspective, the integration aims to optimize the balance between immediate electrical needs and longer-term energy security. This involves sophisticated energy management systems that can determine optimal hydrogen production timing, storage levels, and reconversion to electricity through fuel cells or hydrogen-compatible generators.
The development of this integrated approach also supports sectoral coupling—connecting electricity production with transportation, heating, and industrial processes through the versatile energy carrier hydrogen represents. This cross-sectoral integration potential significantly expands the value proposition of microgrids beyond traditional electricity provision.
Market Analysis for Localized Green Hydrogen Storage
The global market for localized green hydrogen storage in microgrids is experiencing significant growth, driven by increasing renewable energy integration and the need for long-duration energy storage solutions. Current market valuations estimate the green hydrogen storage sector at approximately $300 million in 2023, with projections indicating a compound annual growth rate of 12-15% through 2030, potentially reaching $800 million by the end of the decade.
Demand analysis reveals several key market segments showing particular interest in microgrid-integrated hydrogen storage solutions. The commercial and industrial sector represents the largest current market share at 42%, as businesses seek energy resilience and sustainability credentials. Remote and island communities constitute a rapidly growing segment at 28% market share, where the economics of hydrogen storage often outcompete traditional diesel generation.
Geographically, Europe leads adoption with 38% of global installations, driven by aggressive decarbonization policies and substantial government incentives. The Asia-Pacific region follows at 31%, with Japan and South Korea demonstrating particular commitment to hydrogen technologies. North America accounts for 22% of the market, with growth concentrated in California and northeastern states with strong renewable portfolio standards.
Customer needs assessment indicates three primary value propositions driving market demand: energy resilience during grid outages (cited by 76% of potential customers), renewable energy time-shifting capabilities (68%), and carbon emissions reduction (59%). Price sensitivity remains high, with surveys indicating willingness-to-pay thresholds approximately 20% above conventional battery storage solutions when accounting for longer duration capabilities.
Market barriers include high upfront capital costs, with current levelized cost of storage ranging from $0.15-0.25/kWh compared to $0.10-0.18/kWh for battery systems. Infrastructure limitations present another challenge, as hydrogen production, storage, and reconversion equipment requires specialized installation expertise currently in short supply.
Competitive landscape analysis shows increasing market consolidation, with five major players controlling 63% of market share. Traditional energy companies are rapidly entering the space through acquisitions and strategic partnerships, indicating market maturation. Differentiation strategies primarily focus on system integration capabilities, efficiency improvements, and financing models that reduce initial capital requirements.
Future market projections suggest accelerating adoption as technology costs decline by an expected 35-45% by 2028, driven by manufacturing scale and technological improvements in electrolyzer and fuel cell technologies. Policy support remains a critical market driver, with carbon pricing mechanisms and clean energy mandates creating favorable conditions in key markets.
Demand analysis reveals several key market segments showing particular interest in microgrid-integrated hydrogen storage solutions. The commercial and industrial sector represents the largest current market share at 42%, as businesses seek energy resilience and sustainability credentials. Remote and island communities constitute a rapidly growing segment at 28% market share, where the economics of hydrogen storage often outcompete traditional diesel generation.
Geographically, Europe leads adoption with 38% of global installations, driven by aggressive decarbonization policies and substantial government incentives. The Asia-Pacific region follows at 31%, with Japan and South Korea demonstrating particular commitment to hydrogen technologies. North America accounts for 22% of the market, with growth concentrated in California and northeastern states with strong renewable portfolio standards.
Customer needs assessment indicates three primary value propositions driving market demand: energy resilience during grid outages (cited by 76% of potential customers), renewable energy time-shifting capabilities (68%), and carbon emissions reduction (59%). Price sensitivity remains high, with surveys indicating willingness-to-pay thresholds approximately 20% above conventional battery storage solutions when accounting for longer duration capabilities.
Market barriers include high upfront capital costs, with current levelized cost of storage ranging from $0.15-0.25/kWh compared to $0.10-0.18/kWh for battery systems. Infrastructure limitations present another challenge, as hydrogen production, storage, and reconversion equipment requires specialized installation expertise currently in short supply.
Competitive landscape analysis shows increasing market consolidation, with five major players controlling 63% of market share. Traditional energy companies are rapidly entering the space through acquisitions and strategic partnerships, indicating market maturation. Differentiation strategies primarily focus on system integration capabilities, efficiency improvements, and financing models that reduce initial capital requirements.
Future market projections suggest accelerating adoption as technology costs decline by an expected 35-45% by 2028, driven by manufacturing scale and technological improvements in electrolyzer and fuel cell technologies. Policy support remains a critical market driver, with carbon pricing mechanisms and clean energy mandates creating favorable conditions in key markets.
Current State and Challenges of Microgrid Hydrogen Systems
The integration of hydrogen storage systems with microgrids represents a significant advancement in renewable energy management, yet the current landscape reveals both promising developments and substantial challenges. Globally, microgrid hydrogen systems have progressed beyond conceptual stages, with operational pilot projects demonstrating technical feasibility in various regions including Europe, North America, and parts of Asia. These systems typically combine electrolyzers, hydrogen storage tanks, and fuel cells to create a complete energy storage and generation loop within localized grid infrastructures.
Despite these advancements, widespread implementation faces several critical technical barriers. Electrolyzer efficiency remains a primary concern, with most commercial systems operating at 60-75% efficiency, resulting in significant energy losses during hydrogen production. This inefficiency directly impacts the economic viability of hydrogen as an energy storage medium for microgrids, particularly when compared to battery technologies that offer round-trip efficiencies exceeding 85%.
Storage density presents another substantial challenge. Current compressed hydrogen storage systems require considerable physical space—approximately 3-4 times more volume than equivalent battery storage systems for the same energy capacity. This spatial requirement creates implementation difficulties in space-constrained environments where microgrids are often deployed, such as urban areas or industrial facilities with limited expansion capabilities.
System integration complexity further complicates deployment. The interface between renewable generation sources, electrolyzers, storage systems, and fuel cells demands sophisticated control systems and power electronics. Many existing microgrid controllers lack native support for hydrogen subsystems, necessitating custom integration solutions that increase both technical risk and implementation costs.
Safety considerations and regulatory compliance represent significant hurdles in many jurisdictions. Hydrogen's flammability characteristics require specialized safety systems, while regulatory frameworks governing hydrogen production, storage, and use within distributed energy systems remain underdeveloped in many regions. This regulatory uncertainty creates additional barriers to project development and financing.
Cost structures present perhaps the most formidable challenge to widespread adoption. Current capital expenditures for complete hydrogen microgrid systems range from $3,000-7,000 per kW of capacity, substantially higher than alternative storage technologies. Electrolyzer costs, while declining, still represent approximately 30-40% of total system costs, with storage infrastructure contributing another 25-35%.
Geographically, technological development shows notable concentration patterns. European countries, particularly Germany, Denmark, and the Netherlands, lead in system integration research and demonstration projects. Japan and South Korea have established strong positions in fuel cell technology development, while North American contributions focus primarily on control systems and grid integration methodologies.
Despite these advancements, widespread implementation faces several critical technical barriers. Electrolyzer efficiency remains a primary concern, with most commercial systems operating at 60-75% efficiency, resulting in significant energy losses during hydrogen production. This inefficiency directly impacts the economic viability of hydrogen as an energy storage medium for microgrids, particularly when compared to battery technologies that offer round-trip efficiencies exceeding 85%.
Storage density presents another substantial challenge. Current compressed hydrogen storage systems require considerable physical space—approximately 3-4 times more volume than equivalent battery storage systems for the same energy capacity. This spatial requirement creates implementation difficulties in space-constrained environments where microgrids are often deployed, such as urban areas or industrial facilities with limited expansion capabilities.
System integration complexity further complicates deployment. The interface between renewable generation sources, electrolyzers, storage systems, and fuel cells demands sophisticated control systems and power electronics. Many existing microgrid controllers lack native support for hydrogen subsystems, necessitating custom integration solutions that increase both technical risk and implementation costs.
Safety considerations and regulatory compliance represent significant hurdles in many jurisdictions. Hydrogen's flammability characteristics require specialized safety systems, while regulatory frameworks governing hydrogen production, storage, and use within distributed energy systems remain underdeveloped in many regions. This regulatory uncertainty creates additional barriers to project development and financing.
Cost structures present perhaps the most formidable challenge to widespread adoption. Current capital expenditures for complete hydrogen microgrid systems range from $3,000-7,000 per kW of capacity, substantially higher than alternative storage technologies. Electrolyzer costs, while declining, still represent approximately 30-40% of total system costs, with storage infrastructure contributing another 25-35%.
Geographically, technological development shows notable concentration patterns. European countries, particularly Germany, Denmark, and the Netherlands, lead in system integration research and demonstration projects. Japan and South Korea have established strong positions in fuel cell technology development, while North American contributions focus primarily on control systems and grid integration methodologies.
Current Technical Solutions for Localized Hydrogen Storage
01 Environmental benefits of green hydrogen storage
Green hydrogen storage offers significant environmental benefits as it enables the utilization of renewable energy sources for hydrogen production, resulting in reduced carbon emissions. The storage of green hydrogen allows for the capture and utilization of excess renewable energy that might otherwise be wasted, contributing to a more sustainable energy ecosystem. This approach helps in decarbonizing various sectors including transportation, industry, and power generation, supporting global climate goals and reducing dependence on fossil fuels.- Environmental benefits of green hydrogen storage: Green hydrogen storage offers significant environmental advantages as it enables the utilization of renewable energy sources for hydrogen production, resulting in reduced carbon emissions. The storage of green hydrogen allows for the capture and utilization of excess renewable energy that might otherwise be wasted, contributing to a more sustainable energy ecosystem. This approach helps in decarbonizing various sectors including transportation, industry, and power generation, supporting global climate goals and reducing dependence on fossil fuels.
- Energy security and grid stability benefits: Green hydrogen storage enhances energy security by providing a reliable buffer for intermittent renewable energy sources like solar and wind. By converting excess renewable electricity into hydrogen during peak production periods and storing it for later use, hydrogen storage systems help balance supply and demand fluctuations in the power grid. This capability enables greater integration of renewable energy into existing infrastructure while maintaining grid stability and reliability, reducing the need for fossil fuel backup systems during periods of low renewable generation.
- Economic advantages of hydrogen storage systems: The implementation of green hydrogen storage systems offers various economic benefits, including the creation of new jobs in manufacturing, installation, and maintenance of hydrogen infrastructure. These systems enable energy arbitrage by storing energy when prices are low and utilizing it when prices are high. Additionally, green hydrogen storage can reduce dependency on imported fuels, improving trade balances and fostering local economic development. As technology advances and scales up, the cost of hydrogen production, storage, and utilization is expected to decrease, making it increasingly competitive with conventional energy sources.
- Technological innovations in hydrogen storage methods: Recent technological advancements have significantly improved hydrogen storage methods, including compressed gas storage, liquid hydrogen storage, metal hydrides, and chemical carriers like ammonia or organic compounds. These innovations have enhanced storage density, safety, and efficiency while reducing costs. Novel materials and composite structures are being developed to address challenges related to hydrogen embrittlement and leakage. Smart monitoring systems and advanced sensors are also being integrated into storage solutions to optimize performance and ensure safe operation under various conditions.
- Integration with renewable energy systems: Green hydrogen storage systems offer excellent integration capabilities with various renewable energy sources, creating versatile hybrid energy systems. These integrated systems can provide both short-term and long-term energy storage solutions, addressing different temporal energy needs. The flexibility of hydrogen as an energy carrier allows for sector coupling, where energy can be transferred between electricity, gas, heating, and transportation sectors. This integration enables more efficient use of renewable resources and creates resilient energy systems that can adapt to changing demand patterns and environmental conditions.
02 Energy security and grid stability advantages
Green hydrogen storage enhances energy security by providing a reliable buffer for intermittent renewable energy sources like solar and wind. It enables long-term energy storage capabilities that batteries cannot match, allowing excess energy to be stored during high production periods and utilized during shortages. This storage mechanism contributes to grid stability by balancing supply and demand fluctuations, reducing the risk of blackouts, and enabling more efficient integration of renewable energy into existing power infrastructure.Expand Specific Solutions03 Economic benefits and market opportunities
The development of green hydrogen storage technologies creates new economic opportunities through job creation in manufacturing, installation, and maintenance sectors. It enables the establishment of new value chains and business models in the energy sector, potentially reducing energy costs in the long term. Green hydrogen storage also opens export opportunities for countries with abundant renewable resources, allowing them to become energy exporters and reducing their dependence on imported fossil fuels.Expand Specific Solutions04 Technological innovations in storage methods
Various innovative storage methods are being developed to enhance the efficiency and safety of green hydrogen storage. These include advanced compression techniques, liquefaction processes, and material-based storage solutions such as metal hydrides and chemical carriers. Novel storage systems are designed to address challenges related to hydrogen's low volumetric energy density, potential leakage issues, and material compatibility concerns. These technological innovations aim to improve storage capacity, reduce costs, and enhance the overall viability of hydrogen as an energy carrier.Expand Specific Solutions05 Integration with renewable energy systems
Green hydrogen storage systems can be effectively integrated with various renewable energy sources, creating synergistic energy ecosystems. This integration enables the efficient utilization of surplus renewable energy for hydrogen production during peak generation periods. The stored hydrogen can then be used for electricity generation, heating, or as a feedstock for industrial processes when renewable energy production is low. This approach enhances the overall efficiency of renewable energy systems and provides a pathway for sector coupling between electricity, transportation, and industry.Expand Specific Solutions
Key Industry Players in Microgrid-Hydrogen Ecosystem
The microgrid green hydrogen storage market is in an early growth phase, characterized by increasing pilot projects and commercial demonstrations. Market size is expanding rapidly, driven by decarbonization goals and energy security concerns, with projections suggesting significant growth over the next decade. Technologically, the field shows varying maturity levels across players. Industry leaders like ABB Group, Schneider Electric, and Toyota are advancing integrated solutions, while specialized companies like BWR Innovations are developing proprietary hydrogen electrical generators with cloud-based controls. Research institutions including Tsinghua University and Nanyang Technological University are contributing breakthrough innovations. Energy giants such as Saudi Aramco and Air Products are investing in large-scale applications, indicating the technology's strategic importance for future energy systems.
Schneider Electric Industries SASU
Technical Solution: Schneider Electric has developed an integrated microgrid solution that incorporates green hydrogen storage as a key component of their EcoStruxure Microgrid platform. Their approach combines solar PV generation, electrolyzer systems for hydrogen production, and fuel cells for reconversion to electricity, all managed by their advanced Energy Management System (EMS). The system optimizes hydrogen production during periods of excess renewable generation, storing energy that would otherwise be curtailed. Their solution includes real-time monitoring and predictive analytics to balance supply and demand, while their containerized hydrogen storage solutions offer scalable capacity from 100kW to multi-MW installations. Schneider's microgrids with hydrogen storage have demonstrated resilience improvements of up to 35% compared to battery-only systems during extended outages, with the ability to provide backup power for 72+ hours without grid connection.
Strengths: Comprehensive end-to-end solution with proprietary control systems that optimize hydrogen production and consumption cycles; extensive global deployment experience across various climate conditions. Weaknesses: Higher initial capital costs compared to battery-only solutions; system complexity requires specialized maintenance expertise.
BWR Innovations LLC
Technical Solution: BWR Innovations has developed a specialized microgrid solution called HyPER (Hydrogen Power Energy Reserve) that focuses specifically on integrating green hydrogen storage with renewable microgrids for remote and island communities. Their system employs a unique approach using alkaline electrolyzers coupled with proprietary hydrogen compression and storage technology that reduces parasitic energy losses by approximately 15% compared to conventional systems. BWR's solution incorporates a hybrid energy management system that intelligently switches between immediate renewable energy use, battery storage for short-term needs, and hydrogen production/storage for long-duration requirements. Their containerized systems are designed for harsh environments with operating temperatures from -40°C to +50°C, making them suitable for deployment in extreme climates. The company has implemented a novel catalytic hydrogen purification process that achieves 99.999% purity without the energy-intensive pressure swing adsorption typically required, improving overall system efficiency. Field tests have demonstrated continuous power supply for up to 7 days during renewable generation outages.
Strengths: Highly ruggedized design specifically engineered for remote locations with minimal infrastructure; simplified maintenance requirements suitable for areas with limited technical support. Weaknesses: Smaller scale deployments limit economies of scale; less experience with utility-scale implementations compared to larger competitors.
Critical Patents and Innovations in Hydrogen Microgrid Systems
Hydrogen generation by alkaline water electrolysis using low-cost materials
PatentPendingIN202341089240A
Innovation
- The use of low-cost materials for electrodes and membranes in alkaline water electrolysis, optimized through advancements in materials science and electrochemistry, to reduce upfront capital costs and enhance efficiency.
Retention amount management system and retention amount management method
PatentPendingEP4040633A1
Innovation
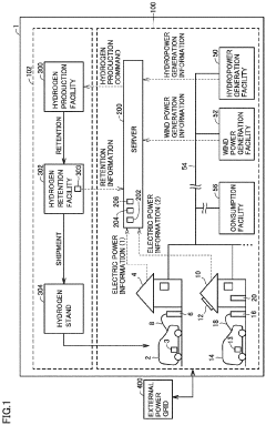
- A retention amount management system that includes an obtaining apparatus and an adjustment apparatus to set target hydrogen retention amounts based on historical disaster data, distinguishing between emergency, preparation, stable, and ordinary periods, adjusting hydrogen production to optimize retention during stable periods and minimize production during ordinary periods to prepare for disasters.
Economic Feasibility and Cost-Benefit Analysis
The economic feasibility of integrating green hydrogen storage into microgrids represents a critical consideration for stakeholders. Initial capital expenditure remains substantial, with electrolyzers costing between $800-1,500/kW and storage systems requiring $15-25/kWh, creating significant front-end investment barriers. However, these costs have decreased by approximately 40% over the past five years and are projected to decline further by 60-70% by 2030 as manufacturing scales and technologies mature.
When analyzing operational economics, microgrids with integrated hydrogen storage demonstrate compelling long-term value propositions. The levelized cost of stored energy (LCOSE) for hydrogen systems ranges from $0.15-0.30/kWh, becoming increasingly competitive with battery storage for longer duration applications exceeding 24 hours. Maintenance costs typically represent 2-3% of capital expenditure annually, substantially lower than alternative long-duration storage technologies.
Return on investment calculations indicate payback periods of 7-12 years for current installations, with this timeline expected to decrease to 4-6 years by 2030. The economic case strengthens considerably in remote or island microgrids where diesel generation costs exceed $0.30/kWh, creating immediate arbitrage opportunities through renewable energy storage and dispatch.
Revenue enhancement opportunities emerge through multiple value streams. Primary among these is peak shaving capability, where hydrogen systems can reduce demand charges by 15-30% for commercial and industrial microgrid operators. Grid services represent another significant revenue source, with hydrogen systems capable of providing frequency regulation, voltage support, and capacity services worth $50-150/kW-year in organized markets.
Resilience benefits, while more challenging to quantify, deliver substantial economic value. Business continuity during extended outages provides value estimated at $10,000-50,000 per avoided outage day for commercial operations. For critical infrastructure microgrids supporting healthcare or data centers, this value increases by an order of magnitude.
Policy incentives significantly impact economic feasibility. Investment tax credits, production tax credits for green hydrogen, and carbon pricing mechanisms can improve project economics by 20-40%. Regulatory frameworks enabling value stacking across multiple services further enhance the business case, with optimal configurations potentially reducing payback periods below five years in favorable jurisdictions.
When analyzing operational economics, microgrids with integrated hydrogen storage demonstrate compelling long-term value propositions. The levelized cost of stored energy (LCOSE) for hydrogen systems ranges from $0.15-0.30/kWh, becoming increasingly competitive with battery storage for longer duration applications exceeding 24 hours. Maintenance costs typically represent 2-3% of capital expenditure annually, substantially lower than alternative long-duration storage technologies.
Return on investment calculations indicate payback periods of 7-12 years for current installations, with this timeline expected to decrease to 4-6 years by 2030. The economic case strengthens considerably in remote or island microgrids where diesel generation costs exceed $0.30/kWh, creating immediate arbitrage opportunities through renewable energy storage and dispatch.
Revenue enhancement opportunities emerge through multiple value streams. Primary among these is peak shaving capability, where hydrogen systems can reduce demand charges by 15-30% for commercial and industrial microgrid operators. Grid services represent another significant revenue source, with hydrogen systems capable of providing frequency regulation, voltage support, and capacity services worth $50-150/kW-year in organized markets.
Resilience benefits, while more challenging to quantify, deliver substantial economic value. Business continuity during extended outages provides value estimated at $10,000-50,000 per avoided outage day for commercial operations. For critical infrastructure microgrids supporting healthcare or data centers, this value increases by an order of magnitude.
Policy incentives significantly impact economic feasibility. Investment tax credits, production tax credits for green hydrogen, and carbon pricing mechanisms can improve project economics by 20-40%. Regulatory frameworks enabling value stacking across multiple services further enhance the business case, with optimal configurations potentially reducing payback periods below five years in favorable jurisdictions.
Regulatory Framework and Policy Incentives
The regulatory landscape surrounding microgrids with integrated green hydrogen storage is evolving rapidly across different jurisdictions, creating both opportunities and challenges for implementation. In the United States, the Federal Energy Regulatory Commission (FERC) Order 2222 has opened pathways for distributed energy resources, including hydrogen-based systems, to participate in wholesale electricity markets. This regulatory shift enables microgrid operators to monetize their flexibility services and potentially improve the economic viability of green hydrogen storage investments.
The European Union has established a more comprehensive framework through its Hydrogen Strategy and the European Green Deal, which explicitly recognize hydrogen as a key component in achieving carbon neutrality. The EU's Renewable Energy Directive II (RED II) provides specific incentives for green hydrogen production and storage, including guarantees of origin certification systems that validate the renewable nature of hydrogen produced within microgrids.
Financial incentives play a crucial role in accelerating adoption. Several countries have implemented direct subsidies for green hydrogen projects, with Germany's National Hydrogen Strategy allocating €9 billion specifically for developing hydrogen technologies and infrastructure. Similarly, Japan's Green Innovation Fund has dedicated substantial resources to hydrogen-related initiatives, including microgrid applications.
Tax incentives represent another policy lever being deployed globally. The United States' Inflation Reduction Act offers production tax credits for clean hydrogen, with higher rates for hydrogen with lower carbon intensity. These incentives can significantly improve the economics of integrating hydrogen storage into microgrids, particularly in remote or island communities where energy resilience carries premium value.
Regulatory sandboxes have emerged as innovative policy tools that allow for controlled experimentation with new business models and technologies. Countries like the UK, Singapore, and Australia have established these frameworks specifically for energy innovations, enabling microgrid developers to test hydrogen storage solutions without facing the full burden of existing regulations while gathering valuable operational data.
Permitting processes remain a significant barrier in many jurisdictions, with complex and often fragmented approval requirements spanning energy, safety, and environmental regulations. Progressive regions are addressing this through streamlined permitting pathways for clean energy projects, with some creating specific provisions for hydrogen infrastructure that recognize its unique safety and technical characteristics.
International standardization efforts are gradually addressing technical interoperability concerns, with organizations like the International Electrotechnical Commission (IEC) developing standards specific to hydrogen technologies in grid applications. These emerging standards will be crucial for scaling microgrid solutions with hydrogen storage across different markets and technical environments.
The European Union has established a more comprehensive framework through its Hydrogen Strategy and the European Green Deal, which explicitly recognize hydrogen as a key component in achieving carbon neutrality. The EU's Renewable Energy Directive II (RED II) provides specific incentives for green hydrogen production and storage, including guarantees of origin certification systems that validate the renewable nature of hydrogen produced within microgrids.
Financial incentives play a crucial role in accelerating adoption. Several countries have implemented direct subsidies for green hydrogen projects, with Germany's National Hydrogen Strategy allocating €9 billion specifically for developing hydrogen technologies and infrastructure. Similarly, Japan's Green Innovation Fund has dedicated substantial resources to hydrogen-related initiatives, including microgrid applications.
Tax incentives represent another policy lever being deployed globally. The United States' Inflation Reduction Act offers production tax credits for clean hydrogen, with higher rates for hydrogen with lower carbon intensity. These incentives can significantly improve the economics of integrating hydrogen storage into microgrids, particularly in remote or island communities where energy resilience carries premium value.
Regulatory sandboxes have emerged as innovative policy tools that allow for controlled experimentation with new business models and technologies. Countries like the UK, Singapore, and Australia have established these frameworks specifically for energy innovations, enabling microgrid developers to test hydrogen storage solutions without facing the full burden of existing regulations while gathering valuable operational data.
Permitting processes remain a significant barrier in many jurisdictions, with complex and often fragmented approval requirements spanning energy, safety, and environmental regulations. Progressive regions are addressing this through streamlined permitting pathways for clean energy projects, with some creating specific provisions for hydrogen infrastructure that recognize its unique safety and technical characteristics.
International standardization efforts are gradually addressing technical interoperability concerns, with organizations like the International Electrotechnical Commission (IEC) developing standards specific to hydrogen technologies in grid applications. These emerging standards will be crucial for scaling microgrid solutions with hydrogen storage across different markets and technical environments.
Unlock deeper insights with Patsnap Eureka Quick Research — get a full tech report to explore trends and direct your research. Try now!
Generate Your Research Report Instantly with AI Agent
Supercharge your innovation with Patsnap Eureka AI Agent Platform!



