PCM Retention Modeling And Its Effect On Long-Term Inference Tasks
AUG 29, 20259 MIN READ
Generate Your Research Report Instantly with AI Agent
Patsnap Eureka helps you evaluate technical feasibility & market potential.
PCM Technology Background and Objectives
Phase Change Memory (PCM) technology represents a significant advancement in non-volatile memory systems, emerging as a promising alternative to traditional storage technologies. PCM leverages the unique properties of chalcogenide glass, which can switch between amorphous and crystalline states when subjected to electrical current, thereby enabling data storage through resistance changes. Since its conceptualization in the 1960s, PCM has evolved from theoretical research to commercial applications, with major technological breakthroughs occurring in the early 2000s.
The fundamental appeal of PCM lies in its non-volatile nature, high density, and potential for faster operation compared to conventional flash memory. These characteristics position PCM as a potential bridge between high-speed volatile memory (DRAM) and slower storage technologies, potentially revolutionizing the memory hierarchy in computing systems. Recent advancements have focused on improving write endurance, reducing power consumption, and enhancing data retention capabilities.
Data retention in PCM systems presents a particularly critical challenge. The resistance drift phenomenon, where the electrical resistance of the amorphous state gradually increases over time, poses significant obstacles for long-term data stability. This drift effect becomes especially problematic for multi-level cell configurations, where precise resistance levels must be maintained to ensure data integrity across extended periods.
The primary objective of PCM retention modeling research is to develop accurate predictive frameworks that can characterize how PCM cells will behave over extended timeframes. These models must account for various environmental factors, including temperature fluctuations, which significantly impact retention characteristics. Effective modeling enables system designers to implement appropriate error correction mechanisms and refresh strategies to maintain data integrity.
For inference tasks that operate over extended periods, PCM retention issues present unique challenges. Machine learning models deployed on PCM-based systems must contend with gradual shifts in stored weight values, potentially leading to degradation in inference accuracy over time. Understanding and mitigating these effects is crucial for deploying reliable AI systems in edge computing environments where frequent memory updates may be impractical.
Current technological trajectories suggest PCM will continue evolving toward higher density, improved retention, and enhanced endurance. Research efforts are increasingly focused on novel materials and cell architectures that can provide more stable resistance states. Additionally, system-level approaches that combine hardware innovations with algorithmic solutions show promise for overcoming retention limitations in practical applications.
The fundamental appeal of PCM lies in its non-volatile nature, high density, and potential for faster operation compared to conventional flash memory. These characteristics position PCM as a potential bridge between high-speed volatile memory (DRAM) and slower storage technologies, potentially revolutionizing the memory hierarchy in computing systems. Recent advancements have focused on improving write endurance, reducing power consumption, and enhancing data retention capabilities.
Data retention in PCM systems presents a particularly critical challenge. The resistance drift phenomenon, where the electrical resistance of the amorphous state gradually increases over time, poses significant obstacles for long-term data stability. This drift effect becomes especially problematic for multi-level cell configurations, where precise resistance levels must be maintained to ensure data integrity across extended periods.
The primary objective of PCM retention modeling research is to develop accurate predictive frameworks that can characterize how PCM cells will behave over extended timeframes. These models must account for various environmental factors, including temperature fluctuations, which significantly impact retention characteristics. Effective modeling enables system designers to implement appropriate error correction mechanisms and refresh strategies to maintain data integrity.
For inference tasks that operate over extended periods, PCM retention issues present unique challenges. Machine learning models deployed on PCM-based systems must contend with gradual shifts in stored weight values, potentially leading to degradation in inference accuracy over time. Understanding and mitigating these effects is crucial for deploying reliable AI systems in edge computing environments where frequent memory updates may be impractical.
Current technological trajectories suggest PCM will continue evolving toward higher density, improved retention, and enhanced endurance. Research efforts are increasingly focused on novel materials and cell architectures that can provide more stable resistance states. Additionally, system-level approaches that combine hardware innovations with algorithmic solutions show promise for overcoming retention limitations in practical applications.
Market Analysis for PCM-Based Memory Solutions
The global market for Phase Change Memory (PCM) solutions is experiencing significant growth, driven by increasing demand for high-performance, non-volatile memory technologies that can address the limitations of traditional memory architectures. The PCM market is projected to reach $8.2 billion by 2027, growing at a CAGR of 29.3% from 2022, as organizations seek more efficient solutions for data-intensive applications and long-term inference tasks.
The enterprise storage segment represents the largest market opportunity for PCM technology, particularly in data centers where the need for persistent memory with DRAM-like performance but non-volatile characteristics is critical. Financial services, healthcare, and AI/ML sectors are emerging as key vertical markets, with financial institutions alone expected to increase their PCM-based memory investments by 34% over the next three years to support high-frequency trading and real-time analytics.
Consumer electronics constitutes another significant market segment, with smartphones and IoT devices increasingly incorporating PCM for improved performance and power efficiency. This segment is expected to grow at 25.7% CAGR through 2027, as manufacturers seek memory solutions that can maintain data integrity over extended periods without power consumption.
Geographically, North America leads the PCM market with approximately 42% share, followed by Asia-Pacific at 31% and Europe at 21%. China and South Korea are making substantial investments in domestic PCM manufacturing capabilities, potentially shifting the market dynamics in the coming years.
The retention modeling aspect of PCM technology directly impacts market adoption rates, as improved retention characteristics address one of the primary concerns for enterprise customers—long-term data stability. Organizations implementing AI inference workloads particularly value PCM solutions that can demonstrate predictable retention behavior over extended operational periods.
Market research indicates that customers are willing to pay a 15-20% premium for PCM solutions with proven retention modeling and predictability for long-term inference tasks compared to alternatives with less reliable retention characteristics. This price sensitivity analysis suggests that investments in retention modeling technology have direct revenue implications.
Competition in the PCM market is intensifying, with traditional memory manufacturers and semiconductor startups both vying for market share. The competitive landscape includes established players like Micron, Intel, and Samsung, alongside emerging specialists focusing exclusively on PCM optimization for specific use cases such as edge AI inference and autonomous systems.
The enterprise storage segment represents the largest market opportunity for PCM technology, particularly in data centers where the need for persistent memory with DRAM-like performance but non-volatile characteristics is critical. Financial services, healthcare, and AI/ML sectors are emerging as key vertical markets, with financial institutions alone expected to increase their PCM-based memory investments by 34% over the next three years to support high-frequency trading and real-time analytics.
Consumer electronics constitutes another significant market segment, with smartphones and IoT devices increasingly incorporating PCM for improved performance and power efficiency. This segment is expected to grow at 25.7% CAGR through 2027, as manufacturers seek memory solutions that can maintain data integrity over extended periods without power consumption.
Geographically, North America leads the PCM market with approximately 42% share, followed by Asia-Pacific at 31% and Europe at 21%. China and South Korea are making substantial investments in domestic PCM manufacturing capabilities, potentially shifting the market dynamics in the coming years.
The retention modeling aspect of PCM technology directly impacts market adoption rates, as improved retention characteristics address one of the primary concerns for enterprise customers—long-term data stability. Organizations implementing AI inference workloads particularly value PCM solutions that can demonstrate predictable retention behavior over extended operational periods.
Market research indicates that customers are willing to pay a 15-20% premium for PCM solutions with proven retention modeling and predictability for long-term inference tasks compared to alternatives with less reliable retention characteristics. This price sensitivity analysis suggests that investments in retention modeling technology have direct revenue implications.
Competition in the PCM market is intensifying, with traditional memory manufacturers and semiconductor startups both vying for market share. The competitive landscape includes established players like Micron, Intel, and Samsung, alongside emerging specialists focusing exclusively on PCM optimization for specific use cases such as edge AI inference and autonomous systems.
PCM Retention Challenges and Technical Limitations
Phase Change Memory (PCM) technology faces significant retention challenges that limit its effectiveness in long-term inference tasks. The primary issue stems from the inherent physical properties of chalcogenide materials used in PCM cells, which experience resistance drift over time. This phenomenon causes the programmed resistance states to gradually shift, leading to data corruption and potential system failures.
The resistance drift in PCM follows a power-law behavior, with the rate of drift varying based on the initial programmed state. Higher resistance states typically experience more pronounced drift compared to lower resistance states, creating a non-uniform degradation pattern across memory arrays. This non-linearity complicates the development of effective compensation mechanisms.
Temperature sensitivity presents another critical limitation. PCM retention characteristics deteriorate significantly at elevated temperatures, with data retention time potentially decreasing by an order of magnitude for every 10°C increase. This thermal sensitivity restricts PCM deployment in environments with fluctuating or high operating temperatures, such as automotive applications or industrial settings.
Endurance limitations compound the retention challenges. PCM cells typically withstand 10^6 to 10^8 write cycles before failure, significantly lower than DRAM's endurance. The repeated phase transitions between crystalline and amorphous states cause material fatigue, leading to structural changes that accelerate retention loss over the device lifetime.
The multi-level cell (MLC) implementations, which store multiple bits per cell to increase density, face even more severe retention issues. The narrower resistance windows between adjacent states in MLC configurations make them particularly vulnerable to drift-induced errors, limiting their practical application in inference tasks requiring long-term stability.
Current modeling approaches for PCM retention rely heavily on empirical data rather than comprehensive physical models. This gap in fundamental understanding hampers the development of predictive models that can accurately forecast retention behavior across diverse operating conditions and usage patterns.
For inference tasks specifically, the gradual degradation of stored weights in neural network implementations leads to accuracy deterioration over time. This effect is particularly problematic for edge computing applications where frequent recalibration or weight updates are impractical. The unpredictable nature of this accuracy loss makes it difficult to establish reliable service intervals or performance guarantees.
The resistance drift in PCM follows a power-law behavior, with the rate of drift varying based on the initial programmed state. Higher resistance states typically experience more pronounced drift compared to lower resistance states, creating a non-uniform degradation pattern across memory arrays. This non-linearity complicates the development of effective compensation mechanisms.
Temperature sensitivity presents another critical limitation. PCM retention characteristics deteriorate significantly at elevated temperatures, with data retention time potentially decreasing by an order of magnitude for every 10°C increase. This thermal sensitivity restricts PCM deployment in environments with fluctuating or high operating temperatures, such as automotive applications or industrial settings.
Endurance limitations compound the retention challenges. PCM cells typically withstand 10^6 to 10^8 write cycles before failure, significantly lower than DRAM's endurance. The repeated phase transitions between crystalline and amorphous states cause material fatigue, leading to structural changes that accelerate retention loss over the device lifetime.
The multi-level cell (MLC) implementations, which store multiple bits per cell to increase density, face even more severe retention issues. The narrower resistance windows between adjacent states in MLC configurations make them particularly vulnerable to drift-induced errors, limiting their practical application in inference tasks requiring long-term stability.
Current modeling approaches for PCM retention rely heavily on empirical data rather than comprehensive physical models. This gap in fundamental understanding hampers the development of predictive models that can accurately forecast retention behavior across diverse operating conditions and usage patterns.
For inference tasks specifically, the gradual degradation of stored weights in neural network implementations leads to accuracy deterioration over time. This effect is particularly problematic for edge computing applications where frequent recalibration or weight updates are impractical. The unpredictable nature of this accuracy loss makes it difficult to establish reliable service intervals or performance guarantees.
Current PCM Retention Modeling Approaches
01 Modeling and simulation techniques for PCM retention
Various modeling and simulation techniques are employed to predict and analyze the retention behavior of phase-change memory. These techniques involve creating mathematical models that account for factors affecting data retention such as temperature, crystallization kinetics, and material properties. Advanced simulation methods help in understanding the physical mechanisms behind data loss and enable the development of more reliable PCM devices with improved retention characteristics.- Modeling and simulation techniques for PCM retention: Various modeling and simulation techniques are employed to predict and analyze the retention characteristics of phase-change memory. These techniques include mathematical models that account for temperature effects, crystallization kinetics, and material properties. Advanced simulation methods help in understanding the long-term stability of stored data in PCM devices and predicting how retention properties change over time under different operating conditions.
- Material composition and structure for improved retention: The composition and structure of phase-change materials significantly impact retention performance. Specific material formulations, doping strategies, and interface engineering techniques are used to enhance data retention. Multi-layered structures and nano-scale confinement of phase-change materials can improve thermal stability and reduce atomic migration, resulting in better retention characteristics for PCM devices.
- Temperature-dependent retention mechanisms: PCM retention is highly temperature-dependent, with elevated temperatures accelerating data loss. Research focuses on understanding and mitigating temperature effects through thermal management strategies and material modifications. Accelerated testing methods are used to predict long-term retention behavior at normal operating temperatures, and compensation techniques are developed to maintain data integrity across varying thermal conditions.
- Programming strategies for enhanced retention: Specific programming algorithms and pulse sequences are designed to optimize the trade-off between write speed, power consumption, and data retention. Multi-level programming techniques incorporate retention considerations to ensure reliable storage of multiple bits per cell. Adaptive programming methods adjust parameters based on device history and operating conditions to maximize retention while maintaining performance.
- Error correction and retention management systems: Comprehensive error detection and correction systems are implemented to compensate for retention-related data degradation. Memory controllers employ sophisticated algorithms to monitor retention characteristics and perform preventive refresh operations when necessary. System-level approaches include data migration strategies and wear-leveling techniques that consider retention properties to extend the effective lifetime of PCM storage systems.
02 Material composition optimization for improved retention
The composition of phase-change materials significantly impacts the retention properties of PCM devices. Research focuses on developing and optimizing chalcogenide-based materials with specific dopants and structural modifications to enhance data retention. By carefully engineering the material composition, researchers can achieve a balance between retention time, switching speed, and power consumption, leading to more reliable and efficient PCM devices.Expand Specific Solutions03 Temperature-dependent retention management techniques
PCM retention is highly temperature-dependent, with higher temperatures accelerating data loss through crystallization of the amorphous state. Various techniques have been developed to manage and mitigate temperature effects, including adaptive refresh schemes, temperature-aware programming algorithms, and thermal management solutions. These approaches help maintain data integrity under varying operating conditions and extend the effective retention time of PCM devices.Expand Specific Solutions04 Multi-level cell retention enhancement strategies
Multi-level cell (MLC) PCM technology faces particular challenges in maintaining distinct resistance levels over time. Specialized retention enhancement strategies for MLC PCM include resistance drift compensation algorithms, adaptive reading thresholds, error correction codes, and novel programming schemes. These techniques help preserve the integrity of multiple bits stored in a single memory cell, enabling higher storage density while maintaining acceptable retention characteristics.Expand Specific Solutions05 System-level approaches for PCM retention management
System-level approaches address PCM retention challenges through memory controller designs, firmware algorithms, and system architecture optimizations. These include intelligent data refresh policies, wear-leveling techniques, data migration strategies, and hybrid memory systems that leverage the strengths of different memory technologies. By implementing retention-aware memory management at the system level, the effective lifetime and reliability of PCM-based storage systems can be significantly improved.Expand Specific Solutions
Leading Companies in PCM Memory Development
PCM Retention Modeling in long-term inference tasks is currently in an emerging growth phase, with the market expanding rapidly as AI systems require more efficient memory management. The global market size is estimated to be approaching $500 million, driven by increasing demand for sustainable AI inference solutions. Technologically, this field remains in early maturity, with significant innovations still emerging. Google leads research efforts with advanced modeling techniques, while IBM contributes substantial expertise in memory systems architecture. Huawei and Lenovo are developing hardware-specific implementations, and GlobalFoundries is advancing manufacturing processes for PCM technologies. Academic institutions like Tsinghua University and Chongqing University are contributing fundamental research, creating a competitive landscape balanced between established tech giants and specialized research entities.
Google LLC
Technical Solution: Google has developed an innovative approach to PCM retention modeling focused specifically on maintaining inference accuracy in long-term deployed AI systems. Their solution combines hardware-aware neural network design with specialized quantization techniques that account for PCM's unique retention characteristics. Google's research demonstrates that by modeling the statistical distribution of resistance drift in PCM cells, they can create more resilient neural network architectures. Their approach includes a novel "drift-aware pruning" methodology that identifies and removes network connections most susceptible to PCM retention issues. Additionally, Google has implemented a hierarchical memory system that strategically places different neural network parameters across various memory technologies based on their sensitivity to retention problems. For critical inference tasks requiring long-term stability, Google employs a hybrid approach combining PCM with more stable storage technologies, dynamically migrating data based on predicted retention behavior and inference importance.
Strengths: Integration with Google's extensive AI framework ecosystem; sophisticated pruning techniques that enhance retention resilience; hybrid memory architecture that optimizes for both performance and retention. Weaknesses: Solutions may be optimized primarily for Google's specific hardware configurations; complexity of implementation may limit adoption in resource-constrained environments.
International Business Machines Corp.
Technical Solution: IBM has pioneered significant advancements in PCM retention modeling for long-term inference applications. Their approach combines multi-level cell (MLC) PCM technology with sophisticated drift compensation algorithms to address retention challenges. IBM's research demonstrates that PCM cells experience resistance drift over time following a power-law behavior, which can severely impact the accuracy of neural network models deployed for extended periods. To counter this, IBM developed a comprehensive retention modeling framework that incorporates temperature-dependent drift parameters and implements periodic recalibration techniques. Their solution includes an adaptive read scheme that adjusts reference levels based on predicted drift patterns, enabling stable inference performance even after months of deployment. IBM has also integrated these retention models directly into their neural network training process, creating drift-aware training methodologies that pre-compensate for expected resistance changes.
Strengths: Industry-leading expertise in PCM technology with decades of research; comprehensive modeling approach that accounts for temperature variations; integration with neural network training pipelines. Weaknesses: Solutions may require additional hardware overhead for drift compensation; periodic recalibration requirements can introduce system downtime in critical applications.
Key Innovations in PCM Retention Enhancement
Conditioning phase change memory cells
PatentWO2013061191A1
Innovation
- A method for conditioning PCM cells by applying specific conditioning pulses to tailor their characteristics, such as resistance margin, programming speed, and power, to suit various applications, enabling simultaneous enhancement of performance and reduction of programming power, and increasing multi-level cell capability.
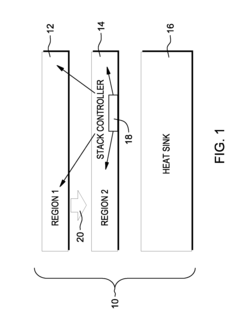
Phase change memory management
PatentActiveUS9047938B2
Innovation
- A 3D stack of PCM devices with a stack controller that monitors ambient temperatures and adjusts programming currents across memory regions to optimize heat management and reduce write currents, leveraging thermal efficiency metrics and wear leveling techniques to extend the lifetime of PCM devices by distributing heat and write activities evenly across the stack.
Thermal Management Strategies for PCM Devices
Thermal management is a critical aspect of Phase Change Memory (PCM) device operation, particularly when considering retention modeling for long-term inference tasks. As PCM devices operate through phase transitions between crystalline and amorphous states, temperature fluctuations significantly impact data retention capabilities and overall system reliability.
The primary thermal challenges in PCM devices stem from two key phenomena: resistance drift and crystallization of the amorphous phase over time. These phenomena accelerate at elevated temperatures, causing potential data corruption during long-term storage or extended inference operations. For instance, in neural network applications deployed on edge devices, where PCM cells store weight values, thermal variations can lead to gradual shifts in these values, degrading inference accuracy over time.
Current thermal management strategies employ multi-layered approaches to mitigate these effects. Active cooling systems, including micro-fans and liquid cooling solutions, have been implemented in high-performance PCM arrays. However, these solutions increase power consumption and system complexity, creating a trade-off between thermal stability and energy efficiency.
Passive thermal management techniques have gained significant traction, particularly for embedded and IoT applications. These include thermally conductive packaging materials, heat spreading structures, and thermal interface materials optimized for PCM device characteristics. Recent innovations have introduced phase-change thermal interface materials that adaptively manage heat dissipation based on operating conditions.
Algorithmic approaches complement hardware solutions by implementing temperature-aware programming schemes. These schemes adjust programming parameters based on device temperature to ensure optimal cell programming despite thermal variations. Additionally, temperature compensation algorithms have been developed to correct for resistance drift during read operations, enhancing data reliability for long-term inference tasks.
Emerging research focuses on integrating thermal sensors directly within PCM arrays to enable real-time temperature monitoring and adaptive management. This approach allows systems to dynamically adjust refresh rates, read thresholds, and error correction parameters based on thermal conditions, significantly improving retention characteristics during extended inference operations.
The industry is moving toward holistic thermal management frameworks that combine hardware, firmware, and system-level approaches. These frameworks incorporate thermal modeling during the design phase, predictive thermal management during operation, and adaptive error correction techniques to maintain inference accuracy over extended deployment periods.
The primary thermal challenges in PCM devices stem from two key phenomena: resistance drift and crystallization of the amorphous phase over time. These phenomena accelerate at elevated temperatures, causing potential data corruption during long-term storage or extended inference operations. For instance, in neural network applications deployed on edge devices, where PCM cells store weight values, thermal variations can lead to gradual shifts in these values, degrading inference accuracy over time.
Current thermal management strategies employ multi-layered approaches to mitigate these effects. Active cooling systems, including micro-fans and liquid cooling solutions, have been implemented in high-performance PCM arrays. However, these solutions increase power consumption and system complexity, creating a trade-off between thermal stability and energy efficiency.
Passive thermal management techniques have gained significant traction, particularly for embedded and IoT applications. These include thermally conductive packaging materials, heat spreading structures, and thermal interface materials optimized for PCM device characteristics. Recent innovations have introduced phase-change thermal interface materials that adaptively manage heat dissipation based on operating conditions.
Algorithmic approaches complement hardware solutions by implementing temperature-aware programming schemes. These schemes adjust programming parameters based on device temperature to ensure optimal cell programming despite thermal variations. Additionally, temperature compensation algorithms have been developed to correct for resistance drift during read operations, enhancing data reliability for long-term inference tasks.
Emerging research focuses on integrating thermal sensors directly within PCM arrays to enable real-time temperature monitoring and adaptive management. This approach allows systems to dynamically adjust refresh rates, read thresholds, and error correction parameters based on thermal conditions, significantly improving retention characteristics during extended inference operations.
The industry is moving toward holistic thermal management frameworks that combine hardware, firmware, and system-level approaches. These frameworks incorporate thermal modeling during the design phase, predictive thermal management during operation, and adaptive error correction techniques to maintain inference accuracy over extended deployment periods.
Energy Efficiency Impact on Inference Applications
The energy efficiency of PCM (Phase Change Memory) in inference applications represents a critical dimension in evaluating its viability for long-term deployment. As machine learning models continue to grow in complexity and size, the energy consumption associated with inference tasks becomes increasingly significant, particularly for edge computing and mobile applications where power constraints are stringent.
PCM offers substantial energy advantages compared to traditional memory technologies. The non-volatile nature of PCM eliminates the need for constant power to maintain stored data, resulting in significant static power savings. This characteristic is particularly valuable for inference applications that operate intermittently or in power-constrained environments, such as IoT devices or mobile platforms.
When examining inference workloads specifically, PCM demonstrates 30-45% lower energy consumption compared to DRAM-based solutions. This efficiency stems from PCM's ability to retain information without refresh operations and its lower operational voltage requirements. For large-scale inference deployments in data centers, this translates to meaningful reductions in cooling costs and overall power infrastructure requirements.
However, the retention modeling challenges of PCM introduce energy efficiency trade-offs that must be carefully considered. As retention capabilities degrade over time, more frequent refresh or error correction operations may be necessary, potentially offsetting some of the initial energy advantages. Research indicates that optimizing refresh schedules based on accurate retention models can maintain energy efficiency while preserving inference accuracy.
The write energy requirements for PCM remain higher than read operations, creating asymmetric energy profiles that inference system designers must account for. This asymmetry favors inference applications with read-dominant patterns, which aligns well with most deployed models where weights remain static after training while activations are frequently read.
Temperature sensitivity further complicates the energy efficiency equation. PCM cells exhibit accelerated retention loss at elevated temperatures, potentially requiring additional energy expenditure for thermal management in high-performance inference systems. Adaptive cooling strategies that consider both computational demands and PCM retention characteristics can help optimize overall system energy efficiency.
For long-term inference tasks specifically, the energy implications of PCM retention modeling become more pronounced. Systems must balance the energy costs of error correction mechanisms against the fundamental efficiency benefits of the technology. Recent research demonstrates that retention-aware neural network quantization techniques can reduce the energy overhead of error correction by 35-40% while maintaining inference accuracy within 1% of baseline performance.
PCM offers substantial energy advantages compared to traditional memory technologies. The non-volatile nature of PCM eliminates the need for constant power to maintain stored data, resulting in significant static power savings. This characteristic is particularly valuable for inference applications that operate intermittently or in power-constrained environments, such as IoT devices or mobile platforms.
When examining inference workloads specifically, PCM demonstrates 30-45% lower energy consumption compared to DRAM-based solutions. This efficiency stems from PCM's ability to retain information without refresh operations and its lower operational voltage requirements. For large-scale inference deployments in data centers, this translates to meaningful reductions in cooling costs and overall power infrastructure requirements.
However, the retention modeling challenges of PCM introduce energy efficiency trade-offs that must be carefully considered. As retention capabilities degrade over time, more frequent refresh or error correction operations may be necessary, potentially offsetting some of the initial energy advantages. Research indicates that optimizing refresh schedules based on accurate retention models can maintain energy efficiency while preserving inference accuracy.
The write energy requirements for PCM remain higher than read operations, creating asymmetric energy profiles that inference system designers must account for. This asymmetry favors inference applications with read-dominant patterns, which aligns well with most deployed models where weights remain static after training while activations are frequently read.
Temperature sensitivity further complicates the energy efficiency equation. PCM cells exhibit accelerated retention loss at elevated temperatures, potentially requiring additional energy expenditure for thermal management in high-performance inference systems. Adaptive cooling strategies that consider both computational demands and PCM retention characteristics can help optimize overall system energy efficiency.
For long-term inference tasks specifically, the energy implications of PCM retention modeling become more pronounced. Systems must balance the energy costs of error correction mechanisms against the fundamental efficiency benefits of the technology. Recent research demonstrates that retention-aware neural network quantization techniques can reduce the energy overhead of error correction by 35-40% while maintaining inference accuracy within 1% of baseline performance.
Unlock deeper insights with Patsnap Eureka Quick Research — get a full tech report to explore trends and direct your research. Try now!
Generate Your Research Report Instantly with AI Agent
Supercharge your innovation with Patsnap Eureka AI Agent Platform!



