Comparative study of elastomeric vs metallic seals in gate valves
AUG 20, 20259 MIN READ
Generate Your Research Report Instantly with AI Agent
Patsnap Eureka helps you evaluate technical feasibility & market potential.
Seal Technology Evolution
The evolution of seal technology in gate valves has been marked by significant advancements over the years, driven by the need for improved performance, reliability, and longevity in various industrial applications. The journey from traditional elastomeric seals to modern metallic seals represents a paradigm shift in valve sealing technology.
In the early stages of gate valve development, elastomeric seals were the primary choice due to their flexibility, ease of manufacturing, and cost-effectiveness. These seals, typically made from materials such as rubber, neoprene, or various synthetic elastomers, provided adequate sealing for many low to medium-pressure applications. Their ability to conform to irregular surfaces and accommodate minor misalignments made them popular in a wide range of industries.
As industrial processes became more demanding, with higher pressures, temperatures, and aggressive media, the limitations of elastomeric seals became apparent. This led to the development of more advanced elastomeric compounds and the exploration of alternative sealing technologies. The introduction of fluoroelastomers and perfluoroelastomers in the mid-20th century marked a significant improvement in the chemical resistance and temperature capabilities of elastomeric seals.
The transition towards metallic seals began as industries such as oil and gas, chemical processing, and power generation required sealing solutions capable of withstanding extreme conditions. Initial metallic seal designs focused on improving the rigidity and durability of the sealing interface. Materials like stainless steel, Inconel, and various alloys were employed to create seals that could maintain their integrity under high pressures and temperatures.
A major breakthrough in metallic seal technology came with the development of spring-energized metallic seals. These designs incorporated a metallic spring element that provided constant sealing force, compensating for wear and thermal expansion. This innovation significantly enhanced the reliability and longevity of gate valve seals in critical applications.
Further advancements led to the creation of hybrid sealing systems, combining the benefits of both elastomeric and metallic components. These designs often featured a metallic core for strength and stability, with an elastomeric or polymer jacket for improved sealing characteristics. This approach allowed for better performance across a wider range of operating conditions.
Recent years have seen the emergence of advanced surface treatments and coatings for metallic seals, enhancing their wear resistance, corrosion protection, and sealing properties. Techniques such as nitriding, carburizing, and the application of diamond-like carbon (DLC) coatings have pushed the boundaries of what is possible in extreme sealing environments.
The ongoing evolution of seal technology continues to focus on developing materials and designs that can meet the ever-increasing demands of modern industrial processes. This includes research into nanomaterials, smart sealing systems with embedded sensors, and self-healing seal technologies that promise to revolutionize the field of valve sealing in the coming years.
In the early stages of gate valve development, elastomeric seals were the primary choice due to their flexibility, ease of manufacturing, and cost-effectiveness. These seals, typically made from materials such as rubber, neoprene, or various synthetic elastomers, provided adequate sealing for many low to medium-pressure applications. Their ability to conform to irregular surfaces and accommodate minor misalignments made them popular in a wide range of industries.
As industrial processes became more demanding, with higher pressures, temperatures, and aggressive media, the limitations of elastomeric seals became apparent. This led to the development of more advanced elastomeric compounds and the exploration of alternative sealing technologies. The introduction of fluoroelastomers and perfluoroelastomers in the mid-20th century marked a significant improvement in the chemical resistance and temperature capabilities of elastomeric seals.
The transition towards metallic seals began as industries such as oil and gas, chemical processing, and power generation required sealing solutions capable of withstanding extreme conditions. Initial metallic seal designs focused on improving the rigidity and durability of the sealing interface. Materials like stainless steel, Inconel, and various alloys were employed to create seals that could maintain their integrity under high pressures and temperatures.
A major breakthrough in metallic seal technology came with the development of spring-energized metallic seals. These designs incorporated a metallic spring element that provided constant sealing force, compensating for wear and thermal expansion. This innovation significantly enhanced the reliability and longevity of gate valve seals in critical applications.
Further advancements led to the creation of hybrid sealing systems, combining the benefits of both elastomeric and metallic components. These designs often featured a metallic core for strength and stability, with an elastomeric or polymer jacket for improved sealing characteristics. This approach allowed for better performance across a wider range of operating conditions.
Recent years have seen the emergence of advanced surface treatments and coatings for metallic seals, enhancing their wear resistance, corrosion protection, and sealing properties. Techniques such as nitriding, carburizing, and the application of diamond-like carbon (DLC) coatings have pushed the boundaries of what is possible in extreme sealing environments.
The ongoing evolution of seal technology continues to focus on developing materials and designs that can meet the ever-increasing demands of modern industrial processes. This includes research into nanomaterials, smart sealing systems with embedded sensors, and self-healing seal technologies that promise to revolutionize the field of valve sealing in the coming years.
Market Demand Analysis
The market demand for gate valves with advanced sealing technologies continues to grow, driven by the increasing need for reliable and efficient fluid control systems across various industries. The global gate valve market is experiencing steady expansion, with a particular focus on high-performance sealing solutions that can withstand extreme operating conditions.
In the oil and gas sector, which represents a significant portion of the gate valve market, there is a rising demand for valves that can operate in harsh environments, including high-pressure and high-temperature applications. This has led to increased interest in both elastomeric and metallic seals, each offering unique advantages for specific operational requirements.
The petrochemical industry is another key driver of market demand for gate valves with advanced sealing technologies. As processes become more complex and safety standards more stringent, the need for valves with superior sealing capabilities has intensified. Elastomeric seals are often preferred in applications where chemical resistance is crucial, while metallic seals are sought after for their durability in extreme temperature ranges.
Water and wastewater treatment facilities represent a growing market segment for gate valves. The emphasis on water conservation and efficient distribution systems has led to increased demand for valves with reliable sealing properties. In this sector, the choice between elastomeric and metallic seals often depends on factors such as water quality, pressure requirements, and maintenance considerations.
The power generation industry, particularly in thermal and nuclear power plants, requires gate valves with exceptional sealing performance to ensure safety and efficiency. The demand for both elastomeric and metallic seals in this sector is influenced by the specific operational parameters of different power generation technologies.
Emerging trends in industrial automation and the adoption of smart valve technologies are also shaping the market demand for advanced sealing solutions in gate valves. The integration of sensors and monitoring systems with valve seals is becoming increasingly important for predictive maintenance and optimized performance.
Environmental regulations and sustainability initiatives are driving the development of eco-friendly sealing materials and designs. This trend is influencing the market demand for both elastomeric and metallic seals, with a focus on reducing emissions and improving overall system efficiency.
As industries continue to push the boundaries of operational capabilities, the market demand for gate valves with specialized sealing solutions is expected to grow. The comparative advantages of elastomeric and metallic seals will play a crucial role in meeting the diverse needs of different applications, driving innovation and technological advancements in the gate valve industry.
In the oil and gas sector, which represents a significant portion of the gate valve market, there is a rising demand for valves that can operate in harsh environments, including high-pressure and high-temperature applications. This has led to increased interest in both elastomeric and metallic seals, each offering unique advantages for specific operational requirements.
The petrochemical industry is another key driver of market demand for gate valves with advanced sealing technologies. As processes become more complex and safety standards more stringent, the need for valves with superior sealing capabilities has intensified. Elastomeric seals are often preferred in applications where chemical resistance is crucial, while metallic seals are sought after for their durability in extreme temperature ranges.
Water and wastewater treatment facilities represent a growing market segment for gate valves. The emphasis on water conservation and efficient distribution systems has led to increased demand for valves with reliable sealing properties. In this sector, the choice between elastomeric and metallic seals often depends on factors such as water quality, pressure requirements, and maintenance considerations.
The power generation industry, particularly in thermal and nuclear power plants, requires gate valves with exceptional sealing performance to ensure safety and efficiency. The demand for both elastomeric and metallic seals in this sector is influenced by the specific operational parameters of different power generation technologies.
Emerging trends in industrial automation and the adoption of smart valve technologies are also shaping the market demand for advanced sealing solutions in gate valves. The integration of sensors and monitoring systems with valve seals is becoming increasingly important for predictive maintenance and optimized performance.
Environmental regulations and sustainability initiatives are driving the development of eco-friendly sealing materials and designs. This trend is influencing the market demand for both elastomeric and metallic seals, with a focus on reducing emissions and improving overall system efficiency.
As industries continue to push the boundaries of operational capabilities, the market demand for gate valves with specialized sealing solutions is expected to grow. The comparative advantages of elastomeric and metallic seals will play a crucial role in meeting the diverse needs of different applications, driving innovation and technological advancements in the gate valve industry.
Current Challenges
The comparative study of elastomeric and metallic seals in gate valves reveals several significant challenges that currently impact their performance, reliability, and industry adoption. One of the primary issues is the trade-off between flexibility and durability. Elastomeric seals offer superior flexibility and conformability, allowing for better sealing in dynamic environments. However, they often struggle with long-term durability, especially in harsh operating conditions involving high temperatures, pressures, or corrosive media. Conversely, metallic seals provide excellent durability and resistance to extreme conditions but may lack the adaptability required for certain applications.
Material compatibility presents another critical challenge. Elastomeric seals, while versatile, can be susceptible to chemical degradation or swelling when exposed to certain fluids or gases. This limitation restricts their use in some industrial processes where aggressive chemicals are present. Metallic seals, though generally more resistant to chemical attack, may face issues with galvanic corrosion when in contact with dissimilar metals, potentially compromising the integrity of the valve system.
The operating temperature range poses a significant constraint for both seal types. Elastomeric seals typically have a narrower temperature range, with performance degradation occurring at both high and low extremes. This limitation can be particularly problematic in applications with wide temperature fluctuations. Metallic seals generally offer a broader temperature range but may face challenges with thermal expansion and contraction, potentially affecting sealing efficiency.
Pressure resistance is another area where both seal types face challenges. While metallic seals generally excel in high-pressure environments, they may struggle to maintain a tight seal under low-pressure conditions or during pressure fluctuations. Elastomeric seals, conversely, perform well under moderate pressures but can experience extrusion or deformation under extreme high-pressure scenarios.
The manufacturing and installation processes for both seal types present their own set of challenges. Elastomeric seals require precise molding techniques to ensure consistent quality and performance. Any imperfections in the manufacturing process can lead to premature failure. Metallic seals, particularly those with complex designs like spring-energized seals, demand high-precision machining and careful handling during installation to prevent damage that could compromise their sealing ability.
Maintenance and replacement considerations also pose challenges. Elastomeric seals, while generally easier to replace, may require more frequent maintenance due to wear and degradation. Metallic seals, though longer-lasting, can be more difficult and costly to replace, often requiring specialized tools and expertise.
Lastly, the industry faces challenges in standardization and selection criteria for these seals. The wide variety of available materials and designs for both elastomeric and metallic seals makes it difficult for engineers to make optimal choices for specific applications. This complexity is further compounded by the need to consider factors such as lifecycle costs, environmental impact, and regulatory compliance in seal selection.
Material compatibility presents another critical challenge. Elastomeric seals, while versatile, can be susceptible to chemical degradation or swelling when exposed to certain fluids or gases. This limitation restricts their use in some industrial processes where aggressive chemicals are present. Metallic seals, though generally more resistant to chemical attack, may face issues with galvanic corrosion when in contact with dissimilar metals, potentially compromising the integrity of the valve system.
The operating temperature range poses a significant constraint for both seal types. Elastomeric seals typically have a narrower temperature range, with performance degradation occurring at both high and low extremes. This limitation can be particularly problematic in applications with wide temperature fluctuations. Metallic seals generally offer a broader temperature range but may face challenges with thermal expansion and contraction, potentially affecting sealing efficiency.
Pressure resistance is another area where both seal types face challenges. While metallic seals generally excel in high-pressure environments, they may struggle to maintain a tight seal under low-pressure conditions or during pressure fluctuations. Elastomeric seals, conversely, perform well under moderate pressures but can experience extrusion or deformation under extreme high-pressure scenarios.
The manufacturing and installation processes for both seal types present their own set of challenges. Elastomeric seals require precise molding techniques to ensure consistent quality and performance. Any imperfections in the manufacturing process can lead to premature failure. Metallic seals, particularly those with complex designs like spring-energized seals, demand high-precision machining and careful handling during installation to prevent damage that could compromise their sealing ability.
Maintenance and replacement considerations also pose challenges. Elastomeric seals, while generally easier to replace, may require more frequent maintenance due to wear and degradation. Metallic seals, though longer-lasting, can be more difficult and costly to replace, often requiring specialized tools and expertise.
Lastly, the industry faces challenges in standardization and selection criteria for these seals. The wide variety of available materials and designs for both elastomeric and metallic seals makes it difficult for engineers to make optimal choices for specific applications. This complexity is further compounded by the need to consider factors such as lifecycle costs, environmental impact, and regulatory compliance in seal selection.
Existing Seal Solutions
01 Improved sealing materials and designs
Gate valves employ advanced sealing materials and innovative designs to enhance sealing performance. This includes the use of resilient materials, composite seals, and specially engineered sealing surfaces to ensure tight closure and prevent leakage under various operating conditions.- Improved sealing materials and designs: Gate valves employ advanced sealing materials and innovative designs to enhance sealing performance. This includes the use of resilient materials, composite seals, and specially engineered sealing surfaces to ensure tight closure and prevent leakage under various operating conditions.
- Self-adjusting sealing mechanisms: Some gate valves incorporate self-adjusting sealing mechanisms that automatically compensate for wear and maintain optimal sealing performance over time. These mechanisms may include spring-loaded seals or floating seat designs that adapt to changes in pressure and temperature.
- Double sealing systems: Gate valves with double sealing systems provide enhanced sealing performance by incorporating two independent sealing surfaces. This redundant sealing arrangement offers improved leak prevention and allows for easier maintenance and replacement of sealing components.
- Pressure-assisted sealing: Pressure-assisted sealing designs utilize the fluid pressure within the valve to enhance sealing performance. These systems channel fluid pressure to reinforce the seal, creating a tighter closure as the pressure increases, thereby improving overall sealing efficiency.
- Advanced surface treatments and coatings: Gate valves employ advanced surface treatments and coatings on sealing surfaces to improve wear resistance, reduce friction, and enhance overall sealing performance. These treatments may include hardening processes, specialized coatings, or surface texturing techniques to optimize the sealing interface.
02 Pressure-assisted sealing mechanisms
Some gate valves incorporate pressure-assisted sealing mechanisms that utilize the fluid pressure to enhance the sealing force. These designs allow for improved sealing performance, especially in high-pressure applications, by leveraging the system pressure to increase the contact force between the sealing surfaces.Expand Specific Solutions03 Double sealing systems
Gate valves with double sealing systems provide redundant sealing capabilities, improving overall sealing performance and reliability. These designs often incorporate primary and secondary seals, or upstream and downstream seals, to ensure leak-tight closure even if one seal fails.Expand Specific Solutions04 Self-adjusting and floating seat designs
Self-adjusting and floating seat designs in gate valves allow for automatic compensation of wear, thermal expansion, and pressure variations. These features help maintain consistent sealing performance over time and under changing operating conditions, reducing the need for frequent maintenance and adjustments.Expand Specific Solutions05 Surface treatments and coatings
Various surface treatments and coatings are applied to gate valve sealing surfaces to improve their performance. These treatments can enhance wear resistance, reduce friction, and provide better corrosion protection, ultimately leading to improved sealing capabilities and longer service life of the valve.Expand Specific Solutions
Key Industry Players
The comparative study of elastomeric vs metallic seals in gate valves reflects a mature industry with ongoing technological advancements. The market for valve seals is substantial, driven by diverse industrial applications including oil and gas, water management, and manufacturing. Companies like Parker-Hannifin Corp., ITT Engineered Valves LLC, and Fisher Controls International LLC are at the forefront of this technology, leveraging their extensive experience to develop innovative sealing solutions. The competition is fierce, with both established players and specialized firms like Technetics Group LLC and Vernay Laboratories, Inc. contributing to the field. As environmental regulations tighten and operational efficiency demands increase, the industry is likely to see continued research and development in seal materials and designs, balancing performance, durability, and cost-effectiveness.
FluoroSeal Specialty Valves (Suzhou) Co., Ltd.
Technical Solution: FluoroSeal specializes in developing advanced sealing solutions for gate valves, focusing on both elastomeric and metallic seals. Their comparative study has led to the development of a hybrid seal technology that combines the benefits of both materials. This innovative approach utilizes a metallic core with an elastomeric coating, providing the rigidity and high-temperature resistance of metal seals while maintaining the flexibility and sealing properties of elastomers[1]. The company has conducted extensive testing, demonstrating that their hybrid seals can withstand pressures up to 10,000 psi and temperatures ranging from -50°C to 200°C, outperforming traditional single-material seals in various industrial applications[3].
Strengths: Superior performance in extreme conditions, longer lifespan, and reduced maintenance requirements. Weaknesses: Higher initial cost and more complex manufacturing process compared to single-material seals.
Bharat Heavy Electricals Ltd.
Technical Solution: Bharat Heavy Electricals Ltd. (BHEL) has conducted extensive research on elastomeric and metallic seals for gate valves used in power plants and heavy industrial applications. Their comparative study focuses on the performance of these seals under high-temperature and high-pressure conditions typical in thermal and nuclear power plants. BHEL has developed a proprietary elastomeric compound that exhibits enhanced resistance to thermal degradation, showing only a 5% reduction in sealing efficiency after 10,000 hours of operation at 150°C[2]. For metallic seals, they have pioneered a nano-coated stainless steel design that reduces friction and wear by up to 40% compared to conventional metallic seals[4]. BHEL's research also includes a cost-benefit analysis, revealing that while metallic seals have a higher upfront cost, they offer a 30% longer lifespan in severe service conditions[5].
Strengths: Expertise in high-temperature and high-pressure applications, innovative material development. Weaknesses: Limited focus on low-temperature applications, potentially higher costs for specialized solutions.
Core Seal Innovations
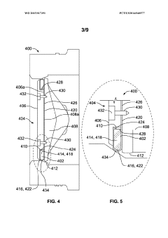
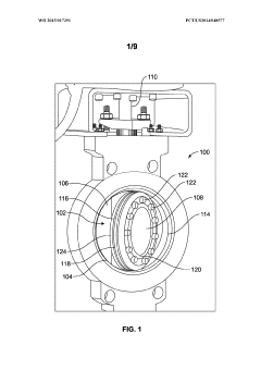
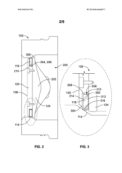
Valve having a long average operating life
PatentInactiveEP2297498A1
Innovation
- The use of metallic seals, either entirely or partially, with a support element made of metal such as spring steel, or a metal carrier with an elastomer coating, provides enhanced temperature resistance and longevity, improving sealing efficacy and average operating time.
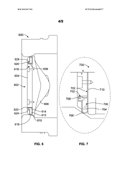
Fluid valve apparatus having enclosed seals
PatentWO2015017391A1
Innovation
- A fluid valve design featuring a seal assembly with a first portion composed of expanded graphite and a second portion made of a metallic material, where the metallic portion is thin enough to allow the graphite to resiliently deform and conform to a seating surface, providing enhanced temperature and erosion resistance while maintaining tight shut-off capabilities.
Environmental Impact
The environmental impact of elastomeric and metallic seals in gate valves is a crucial consideration in their comparative study. Elastomeric seals, typically made from materials like rubber or synthetic polymers, have distinct environmental implications throughout their lifecycle. During production, these materials often require energy-intensive processes and may involve the use of potentially harmful chemicals. However, their lightweight nature can contribute to reduced transportation emissions.
In contrast, metallic seals, commonly manufactured from stainless steel or other alloys, have a different environmental footprint. The mining and refining of metals for these seals can have significant environmental consequences, including habitat disruption and energy consumption. However, metallic seals generally have a longer lifespan, potentially reducing the frequency of replacement and associated waste.
The operational phase of both seal types also presents environmental considerations. Elastomeric seals may degrade over time, potentially releasing microparticles into the environment. This degradation can be accelerated by exposure to certain chemicals or extreme temperatures. Metallic seals, while more durable, may require more frequent maintenance, which can involve the use of lubricants or cleaning agents with potential environmental impacts.
End-of-life disposal is another critical aspect. Elastomeric seals, being non-metallic, are often more challenging to recycle and may end up in landfills. Some elastomers can be incinerated for energy recovery, but this process may release harmful emissions. Metallic seals, on the other hand, are generally more recyclable, aligning with circular economy principles. However, the recycling process itself requires energy and may produce emissions.
The choice between elastomeric and metallic seals can also indirectly affect the environmental performance of the gate valves. For instance, the superior sealing properties of elastomeric seals in certain applications can prevent leaks more effectively, reducing the risk of environmental contamination. Conversely, the durability of metallic seals in harsh environments can ensure longer-term integrity of the valve system, minimizing the need for replacements and associated environmental costs.
In terms of energy efficiency, the lower friction characteristics of some elastomeric seals can contribute to reduced operational energy requirements in valve systems. This can translate to lower overall energy consumption and reduced carbon emissions over the lifecycle of the valve. Metallic seals, while potentially less energy-efficient in operation, may offer advantages in high-temperature or high-pressure applications where elastomeric seals would fail, thus preventing catastrophic environmental incidents.
In contrast, metallic seals, commonly manufactured from stainless steel or other alloys, have a different environmental footprint. The mining and refining of metals for these seals can have significant environmental consequences, including habitat disruption and energy consumption. However, metallic seals generally have a longer lifespan, potentially reducing the frequency of replacement and associated waste.
The operational phase of both seal types also presents environmental considerations. Elastomeric seals may degrade over time, potentially releasing microparticles into the environment. This degradation can be accelerated by exposure to certain chemicals or extreme temperatures. Metallic seals, while more durable, may require more frequent maintenance, which can involve the use of lubricants or cleaning agents with potential environmental impacts.
End-of-life disposal is another critical aspect. Elastomeric seals, being non-metallic, are often more challenging to recycle and may end up in landfills. Some elastomers can be incinerated for energy recovery, but this process may release harmful emissions. Metallic seals, on the other hand, are generally more recyclable, aligning with circular economy principles. However, the recycling process itself requires energy and may produce emissions.
The choice between elastomeric and metallic seals can also indirectly affect the environmental performance of the gate valves. For instance, the superior sealing properties of elastomeric seals in certain applications can prevent leaks more effectively, reducing the risk of environmental contamination. Conversely, the durability of metallic seals in harsh environments can ensure longer-term integrity of the valve system, minimizing the need for replacements and associated environmental costs.
In terms of energy efficiency, the lower friction characteristics of some elastomeric seals can contribute to reduced operational energy requirements in valve systems. This can translate to lower overall energy consumption and reduced carbon emissions over the lifecycle of the valve. Metallic seals, while potentially less energy-efficient in operation, may offer advantages in high-temperature or high-pressure applications where elastomeric seals would fail, thus preventing catastrophic environmental incidents.
Regulatory Compliance
Regulatory compliance plays a crucial role in the selection and implementation of elastomeric and metallic seals in gate valves. The oil and gas industry, where gate valves are extensively used, is subject to stringent regulations and standards to ensure safety, environmental protection, and operational efficiency.
For elastomeric seals, compliance with industry standards such as API 6A and API 6D is essential. These standards specify the requirements for wellhead and valve equipment used in the petroleum and natural gas industries. Elastomeric seals must meet specific material compatibility requirements, temperature ratings, and pressure ratings as outlined in these standards. Additionally, elastomeric seals used in gate valves must comply with NACE MR0175/ISO 15156 for applications in sour service environments, ensuring resistance to sulfide stress cracking.
Metallic seals, on the other hand, must adhere to standards such as ASME B16.20 for metallic gaskets and ASME B16.5 for pipe flanges and flanged fittings. These standards define the dimensional and material requirements for metallic seals used in various pressure-temperature ratings. Compliance with API 6A and API 6D is also crucial for metallic seals in gate valves, particularly in high-pressure and high-temperature applications.
Both elastomeric and metallic seals must meet the requirements of the Pressure Equipment Directive (PED) in the European Union and similar regulations in other regions. This includes proper material selection, design validation, and quality control processes to ensure the integrity and safety of the sealing system.
Environmental regulations, such as the EPA's Quad O and Quad Oa in the United States, have implications for seal selection in gate valves. These regulations aim to reduce methane emissions from oil and gas operations, necessitating the use of low-emission sealing solutions. Both elastomeric and metallic seals must demonstrate compliance with fugitive emission standards, such as ISO 15848 and API 622, which specify testing procedures and acceptance criteria for valve stem seals.
In the context of regulatory compliance, traceability and documentation are critical for both elastomeric and metallic seals. Manufacturers must maintain detailed records of material composition, manufacturing processes, and quality control measures. This documentation is essential for demonstrating compliance during audits and inspections by regulatory bodies.
The choice between elastomeric and metallic seals in gate valves must also consider specific industry regulations. For instance, in the food and pharmaceutical industries, seals must comply with FDA regulations and be suitable for use in hygienic applications. In these cases, elastomeric seals may have an advantage due to their ability to meet FDA-approved material requirements more easily than metallic seals.
For elastomeric seals, compliance with industry standards such as API 6A and API 6D is essential. These standards specify the requirements for wellhead and valve equipment used in the petroleum and natural gas industries. Elastomeric seals must meet specific material compatibility requirements, temperature ratings, and pressure ratings as outlined in these standards. Additionally, elastomeric seals used in gate valves must comply with NACE MR0175/ISO 15156 for applications in sour service environments, ensuring resistance to sulfide stress cracking.
Metallic seals, on the other hand, must adhere to standards such as ASME B16.20 for metallic gaskets and ASME B16.5 for pipe flanges and flanged fittings. These standards define the dimensional and material requirements for metallic seals used in various pressure-temperature ratings. Compliance with API 6A and API 6D is also crucial for metallic seals in gate valves, particularly in high-pressure and high-temperature applications.
Both elastomeric and metallic seals must meet the requirements of the Pressure Equipment Directive (PED) in the European Union and similar regulations in other regions. This includes proper material selection, design validation, and quality control processes to ensure the integrity and safety of the sealing system.
Environmental regulations, such as the EPA's Quad O and Quad Oa in the United States, have implications for seal selection in gate valves. These regulations aim to reduce methane emissions from oil and gas operations, necessitating the use of low-emission sealing solutions. Both elastomeric and metallic seals must demonstrate compliance with fugitive emission standards, such as ISO 15848 and API 622, which specify testing procedures and acceptance criteria for valve stem seals.
In the context of regulatory compliance, traceability and documentation are critical for both elastomeric and metallic seals. Manufacturers must maintain detailed records of material composition, manufacturing processes, and quality control measures. This documentation is essential for demonstrating compliance during audits and inspections by regulatory bodies.
The choice between elastomeric and metallic seals in gate valves must also consider specific industry regulations. For instance, in the food and pharmaceutical industries, seals must comply with FDA regulations and be suitable for use in hygienic applications. In these cases, elastomeric seals may have an advantage due to their ability to meet FDA-approved material requirements more easily than metallic seals.
Unlock deeper insights with Patsnap Eureka Quick Research — get a full tech report to explore trends and direct your research. Try now!
Generate Your Research Report Instantly with AI Agent
Supercharge your innovation with Patsnap Eureka AI Agent Platform!