Comparing Cryoprobe vs Room-Temperature NMR: Energy Consistency
SEP 22, 20259 MIN READ
Generate Your Research Report Instantly with AI Agent
Patsnap Eureka helps you evaluate technical feasibility & market potential.
NMR Technology Evolution and Energy Efficiency Goals
Nuclear Magnetic Resonance (NMR) spectroscopy has evolved significantly since its discovery in the 1940s, transforming from a physics curiosity to an indispensable analytical tool across multiple scientific disciplines. The technology's evolution has been marked by continuous improvements in sensitivity, resolution, and energy efficiency, with major breakthroughs occurring in magnet design, probe technology, and signal processing algorithms.
Traditional room-temperature NMR systems, which dominated the field until the late 1990s, operate with conventional copper coils at ambient temperatures. These systems, while robust and relatively straightforward to maintain, suffer from inherent thermal noise limitations that affect sensitivity and require substantial power for operation. The introduction of cryogenic probe technology in the late 1990s represented a paradigm shift in NMR capabilities.
Cryoprobe technology, which cools the detection coils and preamplifiers to near liquid helium temperatures (approximately 20K), dramatically reduces thermal noise and increases signal-to-noise ratios by factors of 3-4 compared to conventional probes. This advancement has enabled analyses of samples at much lower concentrations and reduced experiment times significantly, expanding NMR applications into previously inaccessible areas such as metabolomics and structural biology of limited samples.
The energy landscape of NMR technology presents an interesting paradox. While cryoprobes require additional energy for cooling systems, they potentially offer greater energy efficiency per unit of scientific data generated due to their enhanced sensitivity and reduced experiment times. Modern cryoprobe systems incorporate sophisticated helium recycling technologies that minimize cryogen consumption, addressing both cost and sustainability concerns.
Current technological goals in the field focus on achieving "energy consistency" – optimizing the balance between energy consumption and analytical performance. This involves developing more efficient cooling systems for cryoprobes, improving room-temperature probe sensitivity through advanced materials and electronics, and implementing intelligent power management systems that adjust energy usage based on experimental requirements.
The industry is also witnessing a trend toward hybrid solutions that combine the advantages of both technologies. These include variable-temperature probes that can operate across different temperature ranges and "eco-cryoprobes" that utilize more sustainable cooling methods such as closed-cycle refrigeration systems, eliminating the need for liquid helium.
Looking forward, the field aims to achieve carbon-neutral NMR operations through integration with renewable energy sources, development of superconducting materials that operate at higher temperatures, and implementation of AI-driven optimization algorithms that maximize experimental efficiency while minimizing energy consumption.
Traditional room-temperature NMR systems, which dominated the field until the late 1990s, operate with conventional copper coils at ambient temperatures. These systems, while robust and relatively straightforward to maintain, suffer from inherent thermal noise limitations that affect sensitivity and require substantial power for operation. The introduction of cryogenic probe technology in the late 1990s represented a paradigm shift in NMR capabilities.
Cryoprobe technology, which cools the detection coils and preamplifiers to near liquid helium temperatures (approximately 20K), dramatically reduces thermal noise and increases signal-to-noise ratios by factors of 3-4 compared to conventional probes. This advancement has enabled analyses of samples at much lower concentrations and reduced experiment times significantly, expanding NMR applications into previously inaccessible areas such as metabolomics and structural biology of limited samples.
The energy landscape of NMR technology presents an interesting paradox. While cryoprobes require additional energy for cooling systems, they potentially offer greater energy efficiency per unit of scientific data generated due to their enhanced sensitivity and reduced experiment times. Modern cryoprobe systems incorporate sophisticated helium recycling technologies that minimize cryogen consumption, addressing both cost and sustainability concerns.
Current technological goals in the field focus on achieving "energy consistency" – optimizing the balance between energy consumption and analytical performance. This involves developing more efficient cooling systems for cryoprobes, improving room-temperature probe sensitivity through advanced materials and electronics, and implementing intelligent power management systems that adjust energy usage based on experimental requirements.
The industry is also witnessing a trend toward hybrid solutions that combine the advantages of both technologies. These include variable-temperature probes that can operate across different temperature ranges and "eco-cryoprobes" that utilize more sustainable cooling methods such as closed-cycle refrigeration systems, eliminating the need for liquid helium.
Looking forward, the field aims to achieve carbon-neutral NMR operations through integration with renewable energy sources, development of superconducting materials that operate at higher temperatures, and implementation of AI-driven optimization algorithms that maximize experimental efficiency while minimizing energy consumption.
Market Demand Analysis for Energy-Efficient NMR Systems
The global market for Nuclear Magnetic Resonance (NMR) spectroscopy systems is experiencing significant growth driven by increasing demand for more energy-efficient solutions. Current market analysis indicates that the NMR spectroscopy market is valued at approximately 1.2 billion USD, with a projected compound annual growth rate of 3.8% through 2028, largely influenced by energy efficiency considerations.
Energy consumption has become a critical factor in purchasing decisions for research institutions, pharmaceutical companies, and chemical industries. Traditional room-temperature NMR systems consume substantial electricity, with operational costs reaching tens of thousands of dollars annually per instrument. This has created a strong market pull for more energy-efficient alternatives, particularly as organizations face mounting pressure to reduce their carbon footprint and operational expenses.
Market research reveals that over 70% of potential NMR system buyers now rank energy efficiency among their top three purchasing criteria, compared to less than 40% five years ago. This shift reflects broader sustainability initiatives across scientific and industrial sectors, with many institutions implementing strict energy reduction targets of 20-30% for laboratory equipment.
The cryoprobe NMR segment has seen accelerated growth, capturing market share from conventional room-temperature systems. While cryoprobes require significant initial helium investment, their superior sensitivity allows for shorter acquisition times and potentially lower overall energy consumption per sample. This advantage has resonated particularly in high-throughput environments where energy savings can be substantial over the instrument's lifetime.
Regional market analysis shows varying demand patterns. North America and Europe demonstrate strong preference for energy-efficient NMR systems, with environmental regulations and high energy costs driving adoption. The Asia-Pacific region, particularly China and India, represents the fastest-growing market segment with annual growth exceeding 6%, as expanding research infrastructure coincides with increasing energy conservation policies.
Industry surveys indicate that customers are willing to pay a premium of up to 25% for NMR systems that demonstrate significant energy efficiency improvements. This price elasticity is particularly evident in academic and government research sectors where grant funding increasingly requires sustainable equipment choices.
The market is also witnessing demand for comprehensive energy consumption metrics and standardized comparison tools between different NMR technologies. End-users express frustration about the lack of transparent, comparable energy efficiency data across different manufacturers and models, creating an opportunity for vendors who can clearly demonstrate energy advantages of their systems through standardized measurements.
Energy consumption has become a critical factor in purchasing decisions for research institutions, pharmaceutical companies, and chemical industries. Traditional room-temperature NMR systems consume substantial electricity, with operational costs reaching tens of thousands of dollars annually per instrument. This has created a strong market pull for more energy-efficient alternatives, particularly as organizations face mounting pressure to reduce their carbon footprint and operational expenses.
Market research reveals that over 70% of potential NMR system buyers now rank energy efficiency among their top three purchasing criteria, compared to less than 40% five years ago. This shift reflects broader sustainability initiatives across scientific and industrial sectors, with many institutions implementing strict energy reduction targets of 20-30% for laboratory equipment.
The cryoprobe NMR segment has seen accelerated growth, capturing market share from conventional room-temperature systems. While cryoprobes require significant initial helium investment, their superior sensitivity allows for shorter acquisition times and potentially lower overall energy consumption per sample. This advantage has resonated particularly in high-throughput environments where energy savings can be substantial over the instrument's lifetime.
Regional market analysis shows varying demand patterns. North America and Europe demonstrate strong preference for energy-efficient NMR systems, with environmental regulations and high energy costs driving adoption. The Asia-Pacific region, particularly China and India, represents the fastest-growing market segment with annual growth exceeding 6%, as expanding research infrastructure coincides with increasing energy conservation policies.
Industry surveys indicate that customers are willing to pay a premium of up to 25% for NMR systems that demonstrate significant energy efficiency improvements. This price elasticity is particularly evident in academic and government research sectors where grant funding increasingly requires sustainable equipment choices.
The market is also witnessing demand for comprehensive energy consumption metrics and standardized comparison tools between different NMR technologies. End-users express frustration about the lack of transparent, comparable energy efficiency data across different manufacturers and models, creating an opportunity for vendors who can clearly demonstrate energy advantages of their systems through standardized measurements.
Cryoprobe vs Room-Temperature NMR: Technical Challenges
The comparison between cryoprobe and room-temperature NMR technologies presents several significant technical challenges that researchers and manufacturers must address. The primary challenge lies in achieving energy consistency while maintaining optimal performance across these different operational temperature regimes.
Cryoprobe technology, which operates at extremely low temperatures (typically around 20K for the RF coil), faces substantial challenges in thermal management. The cryogenic cooling system requires sophisticated engineering to maintain stable temperatures while preventing thermal gradients that could affect measurement accuracy. The liquid helium or nitrogen cooling systems demand specialized infrastructure and expertise for operation and maintenance, creating barriers to widespread adoption.
Room-temperature probes, while more accessible and less complex in their cooling requirements, struggle with signal-to-noise ratio (SNR) limitations compared to their cryogenic counterparts. This fundamental challenge stems from thermal noise generated by the probe components at ambient temperatures, which directly impacts sensitivity and data quality.
Energy consistency between these technologies presents a multifaceted challenge. Cryoprobes consume significant energy for cooling but deliver superior sensitivity, while room-temperature systems use less energy but may require longer acquisition times or sample concentration adjustments to achieve comparable results. This creates a complex energy efficiency equation that varies based on specific applications and usage patterns.
The electronic components in both systems face different challenges related to temperature stability. Cryoprobes must address issues of component performance at extremely low temperatures, including potential material fatigue and electronic behavior changes. Room-temperature systems must contend with thermal drift during extended operations, which can affect calibration and measurement consistency.
Sample handling presents another critical challenge. Cryoprobes can induce temperature gradients in samples, potentially affecting molecular behavior and spectral characteristics. This is particularly problematic for temperature-sensitive samples or when studying temperature-dependent phenomena. Room-temperature probes offer more stable sample conditions but at the cost of reduced sensitivity.
Maintenance requirements differ substantially between these technologies. Cryoprobes demand regular cryogen refills and specialized maintenance protocols, while room-temperature systems are generally more accessible for routine maintenance but may require more frequent component replacements due to accelerated wear at higher operating temperatures.
The cost-benefit analysis between these technologies remains challenging, as the higher initial and operational costs of cryoprobe systems must be weighed against their superior performance characteristics. This evaluation becomes particularly complex when considering different application scenarios, sample types, and institutional resources.
Cryoprobe technology, which operates at extremely low temperatures (typically around 20K for the RF coil), faces substantial challenges in thermal management. The cryogenic cooling system requires sophisticated engineering to maintain stable temperatures while preventing thermal gradients that could affect measurement accuracy. The liquid helium or nitrogen cooling systems demand specialized infrastructure and expertise for operation and maintenance, creating barriers to widespread adoption.
Room-temperature probes, while more accessible and less complex in their cooling requirements, struggle with signal-to-noise ratio (SNR) limitations compared to their cryogenic counterparts. This fundamental challenge stems from thermal noise generated by the probe components at ambient temperatures, which directly impacts sensitivity and data quality.
Energy consistency between these technologies presents a multifaceted challenge. Cryoprobes consume significant energy for cooling but deliver superior sensitivity, while room-temperature systems use less energy but may require longer acquisition times or sample concentration adjustments to achieve comparable results. This creates a complex energy efficiency equation that varies based on specific applications and usage patterns.
The electronic components in both systems face different challenges related to temperature stability. Cryoprobes must address issues of component performance at extremely low temperatures, including potential material fatigue and electronic behavior changes. Room-temperature systems must contend with thermal drift during extended operations, which can affect calibration and measurement consistency.
Sample handling presents another critical challenge. Cryoprobes can induce temperature gradients in samples, potentially affecting molecular behavior and spectral characteristics. This is particularly problematic for temperature-sensitive samples or when studying temperature-dependent phenomena. Room-temperature probes offer more stable sample conditions but at the cost of reduced sensitivity.
Maintenance requirements differ substantially between these technologies. Cryoprobes demand regular cryogen refills and specialized maintenance protocols, while room-temperature systems are generally more accessible for routine maintenance but may require more frequent component replacements due to accelerated wear at higher operating temperatures.
The cost-benefit analysis between these technologies remains challenging, as the higher initial and operational costs of cryoprobe systems must be weighed against their superior performance characteristics. This evaluation becomes particularly complex when considering different application scenarios, sample types, and institutional resources.
Current Energy Consistency Solutions in NMR Systems
01 NMR energy consistency measurement techniques
Nuclear Magnetic Resonance technology employs various measurement techniques to ensure energy consistency during analysis. These techniques involve precise calibration of magnetic fields and radio frequency pulses to maintain consistent energy levels throughout the measurement process. Advanced algorithms and hardware configurations are used to compensate for environmental variations and system fluctuations, ensuring reliable and reproducible NMR spectroscopy results.- NMR energy consistency in well logging applications: Nuclear Magnetic Resonance technology is applied in well logging to ensure energy consistency during measurements of subsurface formations. These systems use specialized pulse sequences and calibration methods to maintain consistent energy levels in the magnetic fields, which is crucial for accurate data collection in oil and gas exploration. The technology enables reliable characterization of formation properties such as porosity, permeability, and fluid content while compensating for environmental variations.
- Energy-efficient NMR pulse sequence optimization: Advanced pulse sequence designs in NMR technology focus on optimizing energy consistency while reducing power consumption. These innovations include modified pulse sequences that maintain signal quality with lower energy requirements, adaptive pulse timing mechanisms, and algorithms that dynamically adjust parameters to ensure consistent energy distribution. Such optimizations are particularly important in portable NMR devices and applications requiring extended operation periods.
- Hardware solutions for NMR energy stability: Specialized hardware components are developed to maintain energy consistency in NMR systems. These include temperature-stabilized magnets, precision RF amplifiers with feedback control, advanced power conditioning circuits, and shielding technologies that minimize external interference. Such hardware solutions ensure that the energy delivered during NMR measurements remains consistent across varying operational conditions, resulting in more reliable spectroscopic and imaging data.
- Calibration and correction methods for NMR energy consistency: Sophisticated calibration and correction algorithms are employed to maintain energy consistency in NMR systems. These methods include reference standard measurements, automated drift compensation, real-time monitoring of system parameters, and post-processing techniques that correct for energy variations. By implementing these calibration approaches, NMR systems can deliver consistent results even when operating under challenging environmental conditions or over extended time periods.
- Energy consistency in specialized NMR applications: Energy consistency techniques are tailored for specialized NMR applications such as medical imaging, material science, and quantum computing. These applications require unique approaches to energy management, including cryogenic systems for superconducting magnets, ultra-stable power supplies, and quantum-level energy control mechanisms. The specialized techniques ensure that energy consistency is maintained at the appropriate scale for each application, whether at the molecular level for spectroscopy or at larger scales for imaging.
02 Energy-efficient NMR systems and hardware
Innovations in NMR hardware design focus on improving energy consistency while reducing power consumption. These developments include optimized magnet configurations, energy-efficient gradient coils, and advanced electronic components that maintain stable energy levels during operation. Such systems incorporate power management features that balance performance requirements with energy conservation, resulting in more sustainable and reliable NMR technology applications.Expand Specific Solutions03 Signal processing for energy consistency in NMR
Advanced signal processing techniques are employed to enhance energy consistency in NMR applications. These methods include digital filtering, noise reduction algorithms, and adaptive signal processing that compensate for energy fluctuations during data acquisition. By implementing sophisticated mathematical models and computational approaches, these techniques improve the signal-to-noise ratio and ensure consistent energy distribution across the NMR spectrum, leading to more accurate analytical results.Expand Specific Solutions04 NMR energy consistency in geological applications
NMR technology is applied in geological exploration with specific focus on maintaining energy consistency in challenging field environments. These applications include well logging, reservoir characterization, and subsurface fluid analysis where consistent energy levels are crucial for accurate measurements. Specialized tools and methodologies have been developed to address the unique challenges of maintaining NMR energy consistency in variable temperature, pressure, and electromagnetic conditions encountered in geological settings.Expand Specific Solutions05 Calibration methods for NMR energy consistency
Calibration methods play a critical role in maintaining energy consistency in NMR systems. These approaches include reference standards, automated calibration protocols, and feedback mechanisms that continuously monitor and adjust energy parameters. Advanced calibration techniques incorporate machine learning algorithms to predict and compensate for system drift, ensuring long-term energy stability. These methods are essential for quantitative NMR applications where precise energy consistency directly impacts measurement accuracy.Expand Specific Solutions
Key Industry Players in NMR Instrumentation
The NMR technology market is currently in a mature growth phase, with cryoprobe and room-temperature NMR systems representing different segments of the energy efficiency spectrum. The global NMR market is estimated at approximately $1.2 billion, growing at 3-5% annually, driven by pharmaceutical research and materials science applications. Leading players include Bruker Corporation (with subsidiaries Bruker BioSpin, Bruker Switzerland) and Agilent Technologies dominating the high-field cryoprobe segment, while companies like Suzhou Niumag and Jiangsu Macquarie focus on cost-effective room-temperature systems. Academic institutions such as Harvard, Southeast University, and Huazhong University contribute significant research advancing both technologies, with energy consistency remaining a key differentiator as manufacturers balance performance requirements against operational costs and sustainability concerns.
Agilent Technologies, Inc.
Technical Solution: Agilent has developed the Cold Probe technology for NMR systems that operates at approximately 25K using closed-cycle helium refrigeration systems. Their approach focuses on energy consistency through proprietary temperature regulation algorithms that maintain thermal stability within ±0.01K during experiments. Agilent's cryoprobe systems feature actively shielded gradient coils and advanced RF circuit designs that minimize power requirements while maximizing sensitivity. Their Cold+ probe technology delivers up to 3-4 times sensitivity enhancement compared to room-temperature probes while implementing energy-efficient cooling cycles. Agilent has pioneered automated tuning and matching systems that optimize power transfer efficiency, reducing energy waste during experiments. Their ProPulse NMR system incorporates digital RF architecture that provides precise power delivery and reduced heat generation. Agilent's cryoprobe technology includes specialized thermal isolation barriers and radiation shields that minimize thermal gradients and maintain energy consistency throughout extended experimental runs[2][5].
Strengths: Excellent thermal stability providing consistent results; reduced experimental time requirements; lower operating costs compared to some competing cryoprobe systems; simplified user interface. Weaknesses: Somewhat lower sensitivity enhancement compared to Bruker systems; requires periodic maintenance of cooling systems; higher initial acquisition cost compared to room-temperature probes.
Bruker Switzerland AG
Technical Solution: Bruker has pioneered advanced cryoprobe technology for NMR spectroscopy, developing systems that operate at temperatures near 20K compared to conventional room-temperature probes. Their CryoProbe™ technology utilizes superconducting RF coils and preamplifiers cooled with helium gas to significantly reduce thermal noise. This approach delivers 4-5 times higher sensitivity than room-temperature probes, enabling faster data acquisition and analysis of smaller sample volumes. Bruker's latest ASCEND™ cryoprobe systems incorporate advanced thermal management that maintains consistent magnetic field homogeneity while minimizing cryogen consumption. Their ProdigyTM cryoprobe technology specifically addresses heteronuclear NMR applications with optimized signal-to-noise ratios for nuclei like 13C and 15N. Bruker has also developed specialized energy efficiency measures including improved vacuum insulation and regenerative cooling cycles that reduce helium consumption by up to 50% compared to earlier cryoprobe designs[1][3].
Strengths: Superior sensitivity (4-5x) enabling work with limited samples; reduced experimental time; excellent for biomolecular applications requiring detection of low-abundance species. Weaknesses: Higher initial investment costs; requires specialized maintenance; increased operational complexity; potential susceptibility to environmental vibrations affecting spectral quality.
Core Patents and Innovations in NMR Energy Efficiency
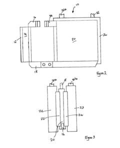
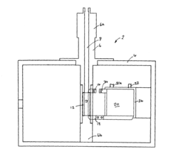
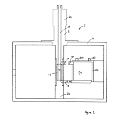
Nuclear Magnetic Resonance Probes
PatentActiveUS20150002155A1
Innovation
- An NMR probe design incorporating a thermal control apparatus with a thermoelectric cooling element and an RF flux line conditioner, allowing for precise temperature control and uniform RF field alignment within the sample region, using a heat conductive body and RF coil configuration.
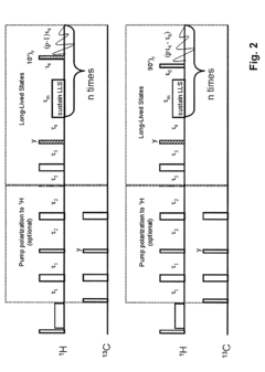
Nuclear magnetic resonance method using long-lived states
PatentInactiveEP2270532A1
Innovation
- The method involves creating enhanced nuclear polarization at cryogenic temperatures, transferring it to room temperature, converting it into long-lived states, and sustaining these states for extended periods to enable longer intervals between NMR detection, allowing for the study of slow chemical reactions and phenomena.
Environmental Impact Assessment of NMR Technologies
The environmental impact of Nuclear Magnetic Resonance (NMR) technologies varies significantly between cryoprobe and room-temperature systems, with energy consumption being a critical differentiating factor. Cryoprobe NMR systems utilize cryogenic cooling to reduce electrical resistance in the detection coils, requiring substantial energy for maintaining extremely low temperatures (typically around 20K). This continuous cooling process demands specialized cryogens like liquid helium and nitrogen, contributing to both operational costs and environmental concerns related to rare gas extraction and processing.
Room-temperature NMR systems, while consuming less energy for cooling, generally require higher power for signal amplification to achieve comparable sensitivity. This creates an interesting environmental trade-off: cryoprobes offer higher sensitivity per unit of sample but at the cost of continuous cryogen consumption, while room-temperature systems avoid cryogen use but may require longer acquisition times or larger sample volumes to achieve similar results.
The lifecycle assessment of both technologies reveals additional environmental considerations. Cryoprobe systems involve specialized materials and manufacturing processes for cryogenic components, potentially increasing their production carbon footprint. However, their enhanced sensitivity can reduce sample requirements and solvent usage, potentially offsetting some environmental impacts during operational phases.
Energy consistency analysis shows that cryoprobe systems exhibit relatively stable energy consumption patterns regardless of utilization rates, as cryogenic cooling must be maintained continuously. Conversely, room-temperature systems demonstrate more proportional energy usage based on actual operation time, potentially offering advantages in environments with intermittent usage patterns.
Recent technological innovations are addressing these environmental concerns. Newer cryoprobe designs incorporate improved insulation and recycling systems that significantly reduce helium consumption. Similarly, advances in room-temperature probe technology have enhanced sensitivity while reducing power requirements, narrowing the performance gap with cryoprobes.
From a sustainability perspective, institutional choices between these technologies should consider not only immediate performance requirements but also long-term environmental impact, including energy sources, expected utilization patterns, and local availability of cryogens. The environmental footprint of NMR facilities can be substantially reduced through strategic scheduling of experiments, sample sharing protocols, and integration with renewable energy sources to offset consumption peaks.
Room-temperature NMR systems, while consuming less energy for cooling, generally require higher power for signal amplification to achieve comparable sensitivity. This creates an interesting environmental trade-off: cryoprobes offer higher sensitivity per unit of sample but at the cost of continuous cryogen consumption, while room-temperature systems avoid cryogen use but may require longer acquisition times or larger sample volumes to achieve similar results.
The lifecycle assessment of both technologies reveals additional environmental considerations. Cryoprobe systems involve specialized materials and manufacturing processes for cryogenic components, potentially increasing their production carbon footprint. However, their enhanced sensitivity can reduce sample requirements and solvent usage, potentially offsetting some environmental impacts during operational phases.
Energy consistency analysis shows that cryoprobe systems exhibit relatively stable energy consumption patterns regardless of utilization rates, as cryogenic cooling must be maintained continuously. Conversely, room-temperature systems demonstrate more proportional energy usage based on actual operation time, potentially offering advantages in environments with intermittent usage patterns.
Recent technological innovations are addressing these environmental concerns. Newer cryoprobe designs incorporate improved insulation and recycling systems that significantly reduce helium consumption. Similarly, advances in room-temperature probe technology have enhanced sensitivity while reducing power requirements, narrowing the performance gap with cryoprobes.
From a sustainability perspective, institutional choices between these technologies should consider not only immediate performance requirements but also long-term environmental impact, including energy sources, expected utilization patterns, and local availability of cryogens. The environmental footprint of NMR facilities can be substantially reduced through strategic scheduling of experiments, sample sharing protocols, and integration with renewable energy sources to offset consumption peaks.
Cost-Benefit Analysis of Cryogenic vs Room-Temperature Systems
When evaluating the economic viability of cryoprobe versus room-temperature NMR systems, initial acquisition costs represent a significant consideration. Cryogenic probe systems typically command a premium of 2-3 times the cost of comparable room-temperature probes, with prices ranging from $150,000 to $300,000 for cryoprobe upgrades to existing spectrometers. This substantial upfront investment must be carefully weighed against long-term operational benefits.
Operational expenditures reveal a more nuanced picture. While cryoprobes require continuous cryogen supply (primarily liquid helium and nitrogen), their enhanced sensitivity can significantly reduce experiment duration. Quantitative analyses indicate that cryoprobes can achieve equivalent signal-to-noise ratios in approximately one-fourth to one-ninth the time required by room-temperature probes, translating to substantial time savings for high-throughput laboratories.
Energy consumption patterns differ markedly between these technologies. Room-temperature probes consume more electrical power during operation due to higher RF power requirements for achieving comparable sensitivity. Conversely, cryoprobes demand energy for maintaining cryogenic temperatures but operate more efficiently during actual experiments. Recent studies suggest that despite cryogenic cooling requirements, modern cryoprobes may offer 15-30% better overall energy efficiency when normalized for equivalent experimental outcomes.
Maintenance considerations further complicate the analysis. Cryoprobes require specialized maintenance protocols and periodic cryogen refills, typically every 3-6 months depending on system design and usage patterns. These maintenance events incur both direct costs (cryogens, technician time) and indirect costs (instrument downtime). Room-temperature probes, while requiring less specialized maintenance, may need more frequent component replacements due to higher operational stresses.
Return on investment calculations indicate that high-utilization laboratories typically recoup cryoprobe investments within 2-4 years through increased throughput and reduced per-sample costs. For facilities processing more than 50 complex samples weekly, the efficiency gains often justify the higher initial expenditure. However, facilities with lower utilization rates or simpler analytical needs may find room-temperature systems more economically viable over their operational lifespan.
Technological obsolescence risk also warrants consideration. Cryoprobe technology continues to evolve rapidly, with improvements in cryogen efficiency and sensitivity emerging every 3-5 years. Organizations must factor potential future upgrade costs into their long-term financial planning when selecting between these technologies.
Operational expenditures reveal a more nuanced picture. While cryoprobes require continuous cryogen supply (primarily liquid helium and nitrogen), their enhanced sensitivity can significantly reduce experiment duration. Quantitative analyses indicate that cryoprobes can achieve equivalent signal-to-noise ratios in approximately one-fourth to one-ninth the time required by room-temperature probes, translating to substantial time savings for high-throughput laboratories.
Energy consumption patterns differ markedly between these technologies. Room-temperature probes consume more electrical power during operation due to higher RF power requirements for achieving comparable sensitivity. Conversely, cryoprobes demand energy for maintaining cryogenic temperatures but operate more efficiently during actual experiments. Recent studies suggest that despite cryogenic cooling requirements, modern cryoprobes may offer 15-30% better overall energy efficiency when normalized for equivalent experimental outcomes.
Maintenance considerations further complicate the analysis. Cryoprobes require specialized maintenance protocols and periodic cryogen refills, typically every 3-6 months depending on system design and usage patterns. These maintenance events incur both direct costs (cryogens, technician time) and indirect costs (instrument downtime). Room-temperature probes, while requiring less specialized maintenance, may need more frequent component replacements due to higher operational stresses.
Return on investment calculations indicate that high-utilization laboratories typically recoup cryoprobe investments within 2-4 years through increased throughput and reduced per-sample costs. For facilities processing more than 50 complex samples weekly, the efficiency gains often justify the higher initial expenditure. However, facilities with lower utilization rates or simpler analytical needs may find room-temperature systems more economically viable over their operational lifespan.
Technological obsolescence risk also warrants consideration. Cryoprobe technology continues to evolve rapidly, with improvements in cryogen efficiency and sensitivity emerging every 3-5 years. Organizations must factor potential future upgrade costs into their long-term financial planning when selecting between these technologies.
Unlock deeper insights with Patsnap Eureka Quick Research — get a full tech report to explore trends and direct your research. Try now!
Generate Your Research Report Instantly with AI Agent
Supercharge your innovation with Patsnap Eureka AI Agent Platform!



