Conduct Temperature-Gradient NMR for Analyzing Phase Transitions
SEP 22, 202510 MIN READ
Generate Your Research Report Instantly with AI Agent
Patsnap Eureka helps you evaluate technical feasibility & market potential.
Temperature-Gradient NMR Technology Background and Objectives
Nuclear Magnetic Resonance (NMR) spectroscopy has evolved significantly since its discovery in the 1940s, transforming from a technique primarily used for structural determination to a versatile analytical tool with applications across multiple scientific disciplines. Temperature-Gradient NMR represents a sophisticated advancement in this field, specifically designed to analyze phase transitions in materials by creating controlled temperature gradients within the sample during measurement.
The development of Temperature-Gradient NMR technology builds upon fundamental NMR principles while incorporating innovative approaches to temperature control and spatial resolution. Traditional NMR techniques typically maintain uniform temperature conditions throughout experiments, limiting their ability to capture dynamic phase transition phenomena. Temperature-Gradient NMR addresses this limitation by deliberately introducing precise temperature variations across the sample, enabling simultaneous observation of different phase states and the transitions between them.
Recent technological advancements in probe design, gradient coil systems, and temperature control mechanisms have significantly enhanced the capabilities of Temperature-Gradient NMR. Modern systems can achieve temperature gradients with sub-degree precision while maintaining the high spectral resolution necessary for detailed molecular analysis. This precision allows researchers to map phase diagrams with unprecedented detail and observe transition dynamics that were previously inaccessible.
The primary objective of Temperature-Gradient NMR research is to develop a comprehensive analytical framework for studying complex phase transitions in various materials, including polymers, liquid crystals, pharmaceuticals, and biological systems. By simultaneously observing multiple phase states within a single experiment, this technology aims to provide insights into transition mechanisms, kinetics, and thermodynamic properties that conventional methods cannot easily access.
Another critical goal is to establish standardized methodologies for Temperature-Gradient NMR experiments, including calibration procedures, data processing algorithms, and interpretation frameworks. These standards would facilitate broader adoption of the technique across research communities and industries, potentially transforming how phase transition studies are conducted.
Looking forward, the technology trajectory suggests integration with complementary analytical techniques such as differential scanning calorimetry (DSC) and X-ray diffraction to create multi-modal analytical platforms. Additionally, there is significant interest in miniaturization and automation of Temperature-Gradient NMR systems to expand accessibility beyond specialized research facilities to quality control laboratories and industrial settings.
The evolution of this technology is expected to continue along two parallel paths: increasing sensitivity and resolution for fundamental research applications, and developing more robust, user-friendly systems for routine analytical work. Both directions aim to establish Temperature-Gradient NMR as an essential tool for materials science, pharmaceutical development, and biological research where understanding phase behavior is crucial.
The development of Temperature-Gradient NMR technology builds upon fundamental NMR principles while incorporating innovative approaches to temperature control and spatial resolution. Traditional NMR techniques typically maintain uniform temperature conditions throughout experiments, limiting their ability to capture dynamic phase transition phenomena. Temperature-Gradient NMR addresses this limitation by deliberately introducing precise temperature variations across the sample, enabling simultaneous observation of different phase states and the transitions between them.
Recent technological advancements in probe design, gradient coil systems, and temperature control mechanisms have significantly enhanced the capabilities of Temperature-Gradient NMR. Modern systems can achieve temperature gradients with sub-degree precision while maintaining the high spectral resolution necessary for detailed molecular analysis. This precision allows researchers to map phase diagrams with unprecedented detail and observe transition dynamics that were previously inaccessible.
The primary objective of Temperature-Gradient NMR research is to develop a comprehensive analytical framework for studying complex phase transitions in various materials, including polymers, liquid crystals, pharmaceuticals, and biological systems. By simultaneously observing multiple phase states within a single experiment, this technology aims to provide insights into transition mechanisms, kinetics, and thermodynamic properties that conventional methods cannot easily access.
Another critical goal is to establish standardized methodologies for Temperature-Gradient NMR experiments, including calibration procedures, data processing algorithms, and interpretation frameworks. These standards would facilitate broader adoption of the technique across research communities and industries, potentially transforming how phase transition studies are conducted.
Looking forward, the technology trajectory suggests integration with complementary analytical techniques such as differential scanning calorimetry (DSC) and X-ray diffraction to create multi-modal analytical platforms. Additionally, there is significant interest in miniaturization and automation of Temperature-Gradient NMR systems to expand accessibility beyond specialized research facilities to quality control laboratories and industrial settings.
The evolution of this technology is expected to continue along two parallel paths: increasing sensitivity and resolution for fundamental research applications, and developing more robust, user-friendly systems for routine analytical work. Both directions aim to establish Temperature-Gradient NMR as an essential tool for materials science, pharmaceutical development, and biological research where understanding phase behavior is crucial.
Market Applications for Phase Transition Analysis
Temperature-gradient NMR technology for phase transition analysis has established significant market applications across multiple industries, driven by the increasing demand for precise material characterization. The pharmaceutical industry represents one of the largest market segments, where temperature-gradient NMR enables researchers to analyze polymorphic transitions in drug compounds, directly impacting drug stability, bioavailability, and intellectual property protection. This application alone has created a substantial market valued in billions due to the critical nature of polymorph control in drug formulation and manufacturing.
The polymer and materials science sector constitutes another major market application, where manufacturers utilize temperature-gradient NMR to optimize processing conditions and predict material performance under varying temperature environments. This capability has proven particularly valuable for industries producing high-performance materials for aerospace, automotive, and consumer electronics applications, where material behavior under thermal stress directly impacts product reliability and safety.
Food science and technology represents an emerging application area with significant growth potential. Temperature-gradient NMR enables food manufacturers to analyze fat crystallization, protein denaturation, and starch gelatinization processes, leading to improved product texture, shelf stability, and sensory properties. Major food corporations have begun implementing this technology in their R&D departments to develop premium products with enhanced consumer appeal.
The petrochemical industry has adopted temperature-gradient NMR for analyzing phase transitions in complex hydrocarbon mixtures, allowing for more efficient refining processes and better prediction of fuel performance under varying temperature conditions. This application has demonstrated measurable economic benefits through reduced processing costs and improved product quality.
Academic and research institutions form a stable market segment, utilizing temperature-gradient NMR for fundamental research in materials science, chemistry, and physics. This sector drives innovation in methodology and application development, often in collaboration with industrial partners.
Market growth for temperature-gradient NMR technology is being accelerated by the trend toward digital transformation in manufacturing, with increasing integration of advanced analytics and machine learning algorithms to interpret complex phase transition data. This integration enables predictive capabilities that extend beyond traditional analytical approaches, creating new value propositions for end users.
The global market for advanced analytical technologies like temperature-gradient NMR continues to expand, with particularly strong growth in Asia-Pacific regions where rapid industrialization and increasing R&D investments are creating new demand centers. North America and Europe remain strong markets due to their established pharmaceutical and materials science industries.
The polymer and materials science sector constitutes another major market application, where manufacturers utilize temperature-gradient NMR to optimize processing conditions and predict material performance under varying temperature environments. This capability has proven particularly valuable for industries producing high-performance materials for aerospace, automotive, and consumer electronics applications, where material behavior under thermal stress directly impacts product reliability and safety.
Food science and technology represents an emerging application area with significant growth potential. Temperature-gradient NMR enables food manufacturers to analyze fat crystallization, protein denaturation, and starch gelatinization processes, leading to improved product texture, shelf stability, and sensory properties. Major food corporations have begun implementing this technology in their R&D departments to develop premium products with enhanced consumer appeal.
The petrochemical industry has adopted temperature-gradient NMR for analyzing phase transitions in complex hydrocarbon mixtures, allowing for more efficient refining processes and better prediction of fuel performance under varying temperature conditions. This application has demonstrated measurable economic benefits through reduced processing costs and improved product quality.
Academic and research institutions form a stable market segment, utilizing temperature-gradient NMR for fundamental research in materials science, chemistry, and physics. This sector drives innovation in methodology and application development, often in collaboration with industrial partners.
Market growth for temperature-gradient NMR technology is being accelerated by the trend toward digital transformation in manufacturing, with increasing integration of advanced analytics and machine learning algorithms to interpret complex phase transition data. This integration enables predictive capabilities that extend beyond traditional analytical approaches, creating new value propositions for end users.
The global market for advanced analytical technologies like temperature-gradient NMR continues to expand, with particularly strong growth in Asia-Pacific regions where rapid industrialization and increasing R&D investments are creating new demand centers. North America and Europe remain strong markets due to their established pharmaceutical and materials science industries.
Current Challenges in Temperature-Gradient NMR Implementation
Despite the promising potential of Temperature-Gradient NMR for analyzing phase transitions, several significant technical challenges currently impede its widespread implementation and application. The primary obstacle lies in achieving precise temperature control across the sample volume. Traditional NMR systems maintain uniform temperatures, whereas temperature-gradient NMR requires establishing and maintaining stable, reproducible temperature gradients with minimal fluctuations, often requiring precision of ±0.1°C or better.
Hardware limitations present another substantial challenge. Conventional NMR probes are not designed to accommodate temperature gradients, necessitating specialized probe designs with modified thermal management systems. These modifications must not interfere with the magnetic field homogeneity critical for high-resolution NMR measurements, creating a complex engineering problem that balances thermal and magnetic requirements.
Signal processing and data interpretation pose significant analytical challenges. The spectral data from temperature-gradient experiments contain overlapping signals from molecules experiencing different temperatures simultaneously, requiring advanced deconvolution algorithms and computational methods to extract meaningful phase transition information. Current software solutions are often inadequate for handling this complexity, necessitating custom analytical approaches.
Calibration and validation methodologies remain underdeveloped for temperature-gradient NMR. Researchers struggle to establish reliable reference standards for validating temperature distributions within samples, leading to difficulties in comparing results across different experimental setups and laboratories. This standardization gap hinders reproducibility and broader adoption of the technique.
Sample preparation introduces additional complications, as the physical properties of the sample itself can distort the intended temperature gradient. Thermal conductivity variations within heterogeneous samples create unpredictable temperature distributions that deviate from theoretical models, compromising data interpretation. Furthermore, convection effects in liquid samples can disrupt established gradients, particularly problematic for studying phase transitions in solution.
Time resolution limitations affect dynamic phase transition studies. Current temperature-gradient NMR setups typically require several minutes to acquire sufficient signal-to-noise ratios, making it challenging to capture rapid phase transitions occurring on shorter timescales. This temporal limitation restricts the technique's applicability to relatively slow transition processes.
Integration with other analytical techniques represents another challenge. While complementary methods like differential scanning calorimetry or X-ray diffraction could provide valuable corroborating data, developing synchronized measurement protocols that maintain the integrity of the temperature gradient while accommodating these additional techniques remains technically demanding.
Hardware limitations present another substantial challenge. Conventional NMR probes are not designed to accommodate temperature gradients, necessitating specialized probe designs with modified thermal management systems. These modifications must not interfere with the magnetic field homogeneity critical for high-resolution NMR measurements, creating a complex engineering problem that balances thermal and magnetic requirements.
Signal processing and data interpretation pose significant analytical challenges. The spectral data from temperature-gradient experiments contain overlapping signals from molecules experiencing different temperatures simultaneously, requiring advanced deconvolution algorithms and computational methods to extract meaningful phase transition information. Current software solutions are often inadequate for handling this complexity, necessitating custom analytical approaches.
Calibration and validation methodologies remain underdeveloped for temperature-gradient NMR. Researchers struggle to establish reliable reference standards for validating temperature distributions within samples, leading to difficulties in comparing results across different experimental setups and laboratories. This standardization gap hinders reproducibility and broader adoption of the technique.
Sample preparation introduces additional complications, as the physical properties of the sample itself can distort the intended temperature gradient. Thermal conductivity variations within heterogeneous samples create unpredictable temperature distributions that deviate from theoretical models, compromising data interpretation. Furthermore, convection effects in liquid samples can disrupt established gradients, particularly problematic for studying phase transitions in solution.
Time resolution limitations affect dynamic phase transition studies. Current temperature-gradient NMR setups typically require several minutes to acquire sufficient signal-to-noise ratios, making it challenging to capture rapid phase transitions occurring on shorter timescales. This temporal limitation restricts the technique's applicability to relatively slow transition processes.
Integration with other analytical techniques represents another challenge. While complementary methods like differential scanning calorimetry or X-ray diffraction could provide valuable corroborating data, developing synchronized measurement protocols that maintain the integrity of the temperature gradient while accommodating these additional techniques remains technically demanding.
Existing Temperature-Gradient NMR Methodologies
01 Temperature-dependent NMR spectroscopy for phase transition analysis
Temperature-gradient NMR spectroscopy can be used to analyze phase transitions in various materials by monitoring changes in molecular structure and dynamics as temperature varies. This technique allows for the observation of structural changes, molecular rearrangements, and phase transitions in real-time. The method involves gradually changing the temperature while acquiring NMR spectra, enabling researchers to identify transition points and characterize the thermodynamic properties of materials.- Temperature-dependent NMR spectroscopy for phase transition analysis: Temperature-gradient NMR spectroscopy can be used to analyze phase transitions in various materials by monitoring changes in molecular structure and dynamics as temperature varies. This technique allows for the observation of structural changes during phase transitions, providing insights into the thermodynamic properties of materials. The method involves controlled temperature variation during NMR measurements to detect subtle changes in chemical shifts, relaxation times, and other NMR parameters that indicate phase transitions.
- NMR hardware for temperature gradient experiments: Specialized NMR hardware has been developed to enable precise temperature control and gradient generation during experiments. These systems include temperature regulation modules, gradient coils, and specialized probes designed to maintain stable temperature gradients across samples. The hardware allows for accurate measurement of phase transitions by creating controlled temperature environments while simultaneously acquiring high-resolution NMR data, enabling researchers to correlate spectral changes with specific transition temperatures.
- Medical applications of temperature-gradient NMR for tissue analysis: Temperature-gradient NMR techniques have been applied in medical imaging to analyze tissue phase transitions and differentiate between normal and pathological tissues. By monitoring how different tissues respond to temperature changes, researchers can identify abnormalities based on their unique phase transition behaviors. This approach has been particularly useful in cancer detection, where malignant tissues often display different thermodynamic properties compared to healthy tissues, allowing for non-invasive diagnostic capabilities.
- Material characterization using temperature-gradient NMR: Temperature-gradient NMR provides a powerful tool for characterizing materials by analyzing their phase transition behavior. This technique can determine the composition, purity, and structural properties of polymers, liquid crystals, and other complex materials by identifying characteristic transition temperatures and associated spectral changes. The method allows for the detection of subtle phase changes that might be missed by other analytical techniques, making it valuable for quality control and material development applications.
- Advanced pulse sequences for phase transition detection: Specialized NMR pulse sequences have been developed specifically for detecting and characterizing phase transitions under temperature gradients. These sequences are designed to enhance sensitivity to molecular mobility changes that occur during phase transitions, allowing for more precise determination of transition temperatures and mechanisms. By manipulating spin dynamics through carefully timed radiofrequency pulses, these methods can highlight specific aspects of phase transitions, such as order parameter changes or molecular reorientation processes.
02 Gradient temperature control systems for NMR measurements
Specialized temperature control systems have been developed to create precise temperature gradients within NMR instruments. These systems enable controlled heating or cooling of samples during NMR experiments, allowing for accurate measurement of phase transitions. The technology includes temperature regulation mechanisms, gradient coils, and feedback control systems that maintain stable temperature profiles across samples, which is crucial for studying temperature-dependent phenomena like phase transitions.Expand Specific Solutions03 NMR methods for detecting liquid crystal phase transitions
NMR techniques have been specifically adapted for studying phase transitions in liquid crystal materials. By applying temperature gradients and monitoring changes in NMR parameters such as chemical shifts, relaxation times, and order parameters, researchers can precisely determine transition temperatures between different mesophases. These methods provide detailed information about molecular orientation, mobility, and structural organization during phase transitions in liquid crystalline materials.Expand Specific Solutions04 Medical applications of temperature-gradient NMR for tissue analysis
Temperature-gradient NMR techniques have been applied in medical imaging and diagnostics to analyze tissue phase transitions. These methods can detect changes in tissue properties related to pathological conditions, monitor therapeutic responses, and characterize tissue composition. By observing how different tissues respond to temperature changes through NMR measurements, clinicians can identify abnormalities and assess treatment efficacy in various medical conditions.Expand Specific Solutions05 Advanced pulse sequences for phase transition detection in NMR
Specialized NMR pulse sequences have been developed to enhance the detection and characterization of phase transitions under temperature gradients. These pulse sequences are designed to be sensitive to specific molecular properties that change during phase transitions, such as molecular mobility, diffusion rates, and intermolecular interactions. By optimizing the timing, frequency, and amplitude of radiofrequency pulses, researchers can obtain more detailed information about the dynamics and mechanisms of phase transitions in complex materials.Expand Specific Solutions
Leading Research Groups and Equipment Manufacturers
Temperature-gradient NMR technology for analyzing phase transitions is currently in an early growth stage, with increasing research interest but limited commercial applications. The market size is relatively small but expanding as more industries recognize its potential for material characterization. Technologically, academic institutions like The Regents of the University of California, Huazhong University of Science & Technology, and The Johns Hopkins University are leading fundamental research, while established instrumentation companies including Bruker, JEOL, and Agilent Technologies are developing more sophisticated NMR systems with temperature control capabilities. Emerging players like United Imaging Healthcare are entering the space, indicating growing market potential. The technology remains primarily research-focused, with gradual movement toward standardization and broader industrial applications.
Agilent Technologies, Inc.
Technical Solution: Agilent has pioneered temperature-gradient NMR technology through their VnmrJ software platform integrated with specialized hardware for thermal gradient control. Their approach employs a dual-channel temperature regulation system that creates precise temperature differentials across the sample while monitoring real-time temperature at multiple points. The technology incorporates proprietary gradient shimming algorithms that compensate for magnetic field distortions caused by temperature variations, maintaining spectral resolution throughout experiments. Agilent's systems feature rapid temperature ramping capabilities (up to 15°C/minute) while preserving gradient stability, enabling dynamic studies of phase transition kinetics[2]. Their technology includes specialized sample holders with embedded temperature sensors that provide direct measurement at the sample, rather than relying on external probes, improving accuracy in phase transition temperature determination. The system can operate across a wide temperature range (-150°C to 400°C) suitable for diverse materials research applications.
Strengths: Excellent temperature ramping capabilities for kinetic studies; sophisticated software integration for automated experiments; wide temperature range operation. Weaknesses: Requires significant laboratory infrastructure; higher maintenance requirements than conventional NMR; limited compatibility with some specialized NMR probes.
Bruker Nano, Inc.
Technical Solution: Bruker has developed advanced temperature-gradient NMR systems that enable precise control of temperature variations across samples to study phase transitions in materials. Their technology incorporates multi-coil probe designs with independent temperature control zones that create stable and reproducible temperature gradients. The system utilizes specialized pulse sequences optimized for detecting subtle changes in molecular mobility and orientation during phase transitions. Bruker's temperature-gradient NMR technology can achieve temperature stability of ±0.1°C while maintaining gradient linearity across the sample volume, which is crucial for accurate phase transition analysis. Their systems integrate with high-field NMR spectrometers (up to 1.2 GHz) to provide enhanced spectral resolution for complex materials[1][3]. The technology includes automated calibration routines that compensate for thermal expansion effects during temperature ramping experiments.
Strengths: Superior temperature stability and gradient control allowing for detection of subtle phase transitions; seamless integration with existing high-field NMR infrastructure; comprehensive software suite for data analysis. Weaknesses: High cost of implementation; requires specialized training for operation; limited throughput compared to some thermal analysis techniques.
Key Patents and Publications in Temperature-Gradient NMR
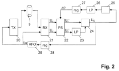
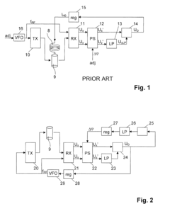
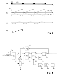
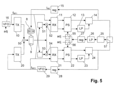
Device for extremely precise synchronisation of NMR transmission frequency to the resonance frequency of an NMR line taking into consideration a non-constant HF phase
PatentActiveEP2246709A1
Innovation
- Incorporation of a phase shifter controlled by a second control circuit that extracts and sets the sawtooth AC component of the signal to zero, improving synchronization accuracy and enabling continuous, high-precision temperature measurement using the difference in resonance frequencies of two NMR lines with different temperature coefficients.
Methods and systems for identifying hydrocarbon fluid transition characteristics using nuclear magnetic resonance
PatentActiveUS20160178545A1
Innovation
- The method involves subjecting hydrocarbon fluids to different pressures or temperatures, conducting NMR tests to obtain data on parameters like T2 relaxation time and diffusion, processing this data to generate signatures, and analyzing these signatures for discontinuities to determine transition characteristics using techniques like dual linear fits and Bayesian change point detection.
Safety Considerations in High-Temperature NMR Experiments
Temperature-gradient NMR experiments for phase transition analysis inherently involve significant safety risks that must be carefully managed. The primary concern stems from the extreme temperature conditions required, which can range from cryogenic levels (-196°C with liquid nitrogen) to high temperatures exceeding 1000°C. These conditions create potential hazards including thermal burns, pressure vessel failures, and material compatibility issues.
Equipment integrity becomes critical at temperature extremes. NMR probes and sample containers must be constructed from materials that maintain structural stability throughout the experimental temperature range. Specialized high-temperature ceramics, temperature-resistant alloys, and reinforced glass materials are essential for preventing catastrophic failures that could damage expensive NMR equipment or injure laboratory personnel.
Pressure management represents another crucial safety consideration. As samples undergo phase transitions, significant volume changes and gas evolution may occur, potentially leading to explosive ruptures if not properly contained. Implementation of pressure relief mechanisms and continuous monitoring systems is necessary to mitigate these risks, particularly when working with sealed sample environments.
Chemical reactivity increases dramatically at elevated temperatures, introducing additional hazards. Samples that remain stable at room temperature may decompose, oxidize, or undergo unexpected reactions when heated. Comprehensive chemical compatibility assessments must be conducted prior to experiments, with particular attention to potential formation of toxic byproducts or flammable gases during heating cycles.
Laboratory infrastructure must be specifically designed for high-temperature NMR work. This includes adequate ventilation systems to remove potentially harmful gases, thermal isolation of hot components, emergency cooling systems, and appropriate fire suppression equipment. Temperature gradient experiments particularly require careful thermal management to prevent heat transfer to sensitive electronic components of the NMR spectrometer.
Personnel training represents the final critical safety element. Researchers must be thoroughly trained in emergency procedures, proper handling of cryogenic and high-temperature materials, recognition of equipment failure signs, and appropriate personal protective equipment usage. Standard operating procedures should include detailed safety protocols specific to temperature-gradient NMR experiments, with regular safety audits to ensure compliance.
Implementation of remote monitoring capabilities allows researchers to maintain safe distances during the most hazardous phases of experiments, while automated shutdown systems can rapidly terminate experiments if unsafe conditions are detected, providing an essential layer of protection for both personnel and equipment.
Equipment integrity becomes critical at temperature extremes. NMR probes and sample containers must be constructed from materials that maintain structural stability throughout the experimental temperature range. Specialized high-temperature ceramics, temperature-resistant alloys, and reinforced glass materials are essential for preventing catastrophic failures that could damage expensive NMR equipment or injure laboratory personnel.
Pressure management represents another crucial safety consideration. As samples undergo phase transitions, significant volume changes and gas evolution may occur, potentially leading to explosive ruptures if not properly contained. Implementation of pressure relief mechanisms and continuous monitoring systems is necessary to mitigate these risks, particularly when working with sealed sample environments.
Chemical reactivity increases dramatically at elevated temperatures, introducing additional hazards. Samples that remain stable at room temperature may decompose, oxidize, or undergo unexpected reactions when heated. Comprehensive chemical compatibility assessments must be conducted prior to experiments, with particular attention to potential formation of toxic byproducts or flammable gases during heating cycles.
Laboratory infrastructure must be specifically designed for high-temperature NMR work. This includes adequate ventilation systems to remove potentially harmful gases, thermal isolation of hot components, emergency cooling systems, and appropriate fire suppression equipment. Temperature gradient experiments particularly require careful thermal management to prevent heat transfer to sensitive electronic components of the NMR spectrometer.
Personnel training represents the final critical safety element. Researchers must be thoroughly trained in emergency procedures, proper handling of cryogenic and high-temperature materials, recognition of equipment failure signs, and appropriate personal protective equipment usage. Standard operating procedures should include detailed safety protocols specific to temperature-gradient NMR experiments, with regular safety audits to ensure compliance.
Implementation of remote monitoring capabilities allows researchers to maintain safe distances during the most hazardous phases of experiments, while automated shutdown systems can rapidly terminate experiments if unsafe conditions are detected, providing an essential layer of protection for both personnel and equipment.
Materials Compatibility and Sample Preparation Techniques
The successful implementation of temperature-gradient NMR for phase transition analysis critically depends on materials compatibility and appropriate sample preparation techniques. Various materials respond differently to temperature gradients, necessitating careful selection of sample containers and supporting hardware. Borosilicate glass and specialized ceramics have demonstrated excellent thermal stability across wide temperature ranges, making them preferred choices for NMR tubes in gradient experiments. Alternatively, certain polymeric materials like PEEK (polyether ether ketone) offer advantages in specific temperature ranges while providing chemical resistance to aggressive solvents.
Sample homogeneity represents a significant challenge in temperature-gradient NMR studies. Inconsistent sample distribution can lead to localized concentration variations that distort the observed phase transition signals. Advanced preparation methods such as freeze-drying followed by controlled rehydration have shown promise in achieving uniform sample distribution. For crystalline materials, controlled crystallization protocols using precise cooling rates help ensure consistent crystal size distribution, which is essential for accurate phase transition detection.
The physical dimensions of samples require careful optimization to balance signal strength with temperature gradient resolution. Thinner samples generally allow for sharper temperature gradients but may provide insufficient signal intensity. Recent innovations in micro-coil NMR technology have enabled the use of smaller sample volumes while maintaining acceptable signal-to-noise ratios, thereby improving gradient resolution without sacrificing data quality.
Sample degassing procedures have proven critical for removing dissolved gases that can form microbubbles during heating cycles, which disrupt magnetic field homogeneity. Vacuum degassing techniques combined with freeze-thaw cycles have demonstrated effectiveness in minimizing this issue. For air-sensitive materials, specialized preparation under inert atmospheres using glove box systems integrated with sample transfer mechanisms preserves sample integrity throughout the preparation and analysis process.
The development of standardized calibration materials with well-characterized phase transitions has significantly improved experimental reproducibility. These reference materials, including high-purity organic compounds and precisely formulated polymer blends, enable system validation and provide benchmarks for comparing results across different laboratory settings. Additionally, the incorporation of internal temperature reference compounds that exhibit distinct NMR signatures at specific transition temperatures allows for precise in situ temperature calibration during experiments.
Sample homogeneity represents a significant challenge in temperature-gradient NMR studies. Inconsistent sample distribution can lead to localized concentration variations that distort the observed phase transition signals. Advanced preparation methods such as freeze-drying followed by controlled rehydration have shown promise in achieving uniform sample distribution. For crystalline materials, controlled crystallization protocols using precise cooling rates help ensure consistent crystal size distribution, which is essential for accurate phase transition detection.
The physical dimensions of samples require careful optimization to balance signal strength with temperature gradient resolution. Thinner samples generally allow for sharper temperature gradients but may provide insufficient signal intensity. Recent innovations in micro-coil NMR technology have enabled the use of smaller sample volumes while maintaining acceptable signal-to-noise ratios, thereby improving gradient resolution without sacrificing data quality.
Sample degassing procedures have proven critical for removing dissolved gases that can form microbubbles during heating cycles, which disrupt magnetic field homogeneity. Vacuum degassing techniques combined with freeze-thaw cycles have demonstrated effectiveness in minimizing this issue. For air-sensitive materials, specialized preparation under inert atmospheres using glove box systems integrated with sample transfer mechanisms preserves sample integrity throughout the preparation and analysis process.
The development of standardized calibration materials with well-characterized phase transitions has significantly improved experimental reproducibility. These reference materials, including high-purity organic compounds and precisely formulated polymer blends, enable system validation and provide benchmarks for comparing results across different laboratory settings. Additionally, the incorporation of internal temperature reference compounds that exhibit distinct NMR signatures at specific transition temperatures allows for precise in situ temperature calibration during experiments.
Unlock deeper insights with Patsnap Eureka Quick Research — get a full tech report to explore trends and direct your research. Try now!
Generate Your Research Report Instantly with AI Agent
Supercharge your innovation with Patsnap Eureka AI Agent Platform!



