Dynamic NMR Monitoring of Solid-Liquid Phase Changes
SEP 22, 202510 MIN READ
Generate Your Research Report Instantly with AI Agent
Patsnap Eureka helps you evaluate technical feasibility & market potential.
NMR Technology Evolution and Monitoring Objectives
Nuclear Magnetic Resonance (NMR) spectroscopy has evolved significantly since its discovery in the 1940s, transforming from a physics curiosity into an indispensable analytical tool across multiple scientific disciplines. The fundamental principle of NMR relies on the magnetic properties of certain atomic nuclei when placed in a magnetic field, allowing for detailed structural and dynamic information about molecules. Early NMR technology was limited to simple one-dimensional spectra with low resolution, primarily used for basic chemical structure determination.
The 1970s marked a pivotal advancement with the introduction of Fourier Transform NMR (FT-NMR), dramatically improving sensitivity and data acquisition speed. This innovation enabled the practical application of NMR to more complex systems and opened doors to studying dynamic processes. The subsequent development of superconducting magnets in the 1980s further enhanced resolution and sensitivity, making it possible to observe subtle molecular interactions and conformational changes.
Two-dimensional and multi-dimensional NMR techniques emerged in the 1980s and 1990s, revolutionizing the field by allowing scientists to correlate different nuclei and extract more comprehensive structural information. These advancements were particularly transformative for protein structure determination and dynamics studies, complementing X-ray crystallography with the ability to analyze molecules in solution.
The application of NMR to solid-liquid phase transitions represents a specialized evolution of this technology. Traditional NMR was primarily optimized for liquid samples, but technological innovations have increasingly enabled the study of solid materials and phase transitions. Solid-state NMR techniques developed since the 1990s have overcome many of the challenges associated with analyzing rigid structures, including line broadening and dipolar coupling effects.
In the context of monitoring solid-liquid phase changes, the primary objectives of modern NMR technology include real-time observation of molecular reorganization during transitions, quantitative analysis of phase composition, and characterization of intermediate states that may be invisible to other analytical methods. These capabilities are particularly valuable in pharmaceutical research, materials science, and chemical engineering, where understanding phase behavior is crucial for product development and process optimization.
Recent technological trends focus on developing more accessible, compact NMR systems with enhanced sensitivity for industrial applications, alongside advanced pulse sequences specifically designed for heterogeneous systems undergoing phase transitions. Machine learning integration is emerging as a powerful approach for interpreting complex spectral data from dynamic systems, potentially enabling automated monitoring of manufacturing processes and quality control.
The ultimate goal of dynamic NMR monitoring is to provide non-destructive, molecularly-detailed insights into phase transition mechanisms, kinetics, and thermodynamics, bridging the gap between theoretical models and practical applications in diverse fields from drug formulation to energy storage materials.
The 1970s marked a pivotal advancement with the introduction of Fourier Transform NMR (FT-NMR), dramatically improving sensitivity and data acquisition speed. This innovation enabled the practical application of NMR to more complex systems and opened doors to studying dynamic processes. The subsequent development of superconducting magnets in the 1980s further enhanced resolution and sensitivity, making it possible to observe subtle molecular interactions and conformational changes.
Two-dimensional and multi-dimensional NMR techniques emerged in the 1980s and 1990s, revolutionizing the field by allowing scientists to correlate different nuclei and extract more comprehensive structural information. These advancements were particularly transformative for protein structure determination and dynamics studies, complementing X-ray crystallography with the ability to analyze molecules in solution.
The application of NMR to solid-liquid phase transitions represents a specialized evolution of this technology. Traditional NMR was primarily optimized for liquid samples, but technological innovations have increasingly enabled the study of solid materials and phase transitions. Solid-state NMR techniques developed since the 1990s have overcome many of the challenges associated with analyzing rigid structures, including line broadening and dipolar coupling effects.
In the context of monitoring solid-liquid phase changes, the primary objectives of modern NMR technology include real-time observation of molecular reorganization during transitions, quantitative analysis of phase composition, and characterization of intermediate states that may be invisible to other analytical methods. These capabilities are particularly valuable in pharmaceutical research, materials science, and chemical engineering, where understanding phase behavior is crucial for product development and process optimization.
Recent technological trends focus on developing more accessible, compact NMR systems with enhanced sensitivity for industrial applications, alongside advanced pulse sequences specifically designed for heterogeneous systems undergoing phase transitions. Machine learning integration is emerging as a powerful approach for interpreting complex spectral data from dynamic systems, potentially enabling automated monitoring of manufacturing processes and quality control.
The ultimate goal of dynamic NMR monitoring is to provide non-destructive, molecularly-detailed insights into phase transition mechanisms, kinetics, and thermodynamics, bridging the gap between theoretical models and practical applications in diverse fields from drug formulation to energy storage materials.
Market Applications for Phase Change Monitoring
The dynamic NMR monitoring of solid-liquid phase changes represents a transformative technology with diverse market applications across multiple industries. This advanced analytical technique offers unprecedented insights into material transitions, creating significant commercial opportunities.
In the pharmaceutical industry, phase change monitoring via NMR enables precise control over drug crystallization processes, ensuring consistent bioavailability and stability. Pharmaceutical manufacturers can optimize formulation development, reducing time-to-market while enhancing product quality. The technology allows for real-time detection of polymorphic transitions, addressing a critical challenge that costs the industry billions annually in failed batches and regulatory issues.
The food industry benefits substantially from this technology through improved quality control in chocolate tempering, fat crystallization, and frozen food production. Companies can optimize freezing and thawing cycles, resulting in superior texture, extended shelf life, and reduced waste. Major food conglomerates have reported efficiency improvements of up to 30% in production lines implementing dynamic phase monitoring systems.
Energy storage represents another high-value application area, particularly for phase change materials (PCMs) used in thermal energy storage systems. The ability to monitor phase transitions in real-time allows for optimization of PCM performance, critical for renewable energy integration and grid stability. The global thermal energy storage market, growing rapidly with increased renewable adoption, stands to benefit significantly from enhanced material characterization capabilities.
In materials science and manufacturing, NMR phase monitoring facilitates the development of advanced composites, polymers, and metal alloys. The technology enables precise control over curing processes, crystallization kinetics, and phase separation phenomena. Industries ranging from aerospace to automotive manufacturing can leverage this capability to develop lighter, stronger materials with tailored properties.
The semiconductor industry utilizes phase change monitoring for the development and production of phase change memory (PCM) devices, positioned as next-generation non-volatile memory solutions. By understanding the amorphous-to-crystalline transitions at the molecular level, manufacturers can enhance switching speeds, reliability, and energy efficiency of these devices.
Environmental applications include monitoring ice formation in atmospheric research, studying soil freezing dynamics in agriculture, and analyzing phase transitions in geological samples. These applications support climate research, precision agriculture, and resource exploration efforts with more accurate data than previously available methods.
As analytical instrumentation becomes more compact and affordable, the market for phase change monitoring systems is expanding beyond traditional research settings into production environments, creating new opportunities for instrumentation manufacturers and analytical service providers.
In the pharmaceutical industry, phase change monitoring via NMR enables precise control over drug crystallization processes, ensuring consistent bioavailability and stability. Pharmaceutical manufacturers can optimize formulation development, reducing time-to-market while enhancing product quality. The technology allows for real-time detection of polymorphic transitions, addressing a critical challenge that costs the industry billions annually in failed batches and regulatory issues.
The food industry benefits substantially from this technology through improved quality control in chocolate tempering, fat crystallization, and frozen food production. Companies can optimize freezing and thawing cycles, resulting in superior texture, extended shelf life, and reduced waste. Major food conglomerates have reported efficiency improvements of up to 30% in production lines implementing dynamic phase monitoring systems.
Energy storage represents another high-value application area, particularly for phase change materials (PCMs) used in thermal energy storage systems. The ability to monitor phase transitions in real-time allows for optimization of PCM performance, critical for renewable energy integration and grid stability. The global thermal energy storage market, growing rapidly with increased renewable adoption, stands to benefit significantly from enhanced material characterization capabilities.
In materials science and manufacturing, NMR phase monitoring facilitates the development of advanced composites, polymers, and metal alloys. The technology enables precise control over curing processes, crystallization kinetics, and phase separation phenomena. Industries ranging from aerospace to automotive manufacturing can leverage this capability to develop lighter, stronger materials with tailored properties.
The semiconductor industry utilizes phase change monitoring for the development and production of phase change memory (PCM) devices, positioned as next-generation non-volatile memory solutions. By understanding the amorphous-to-crystalline transitions at the molecular level, manufacturers can enhance switching speeds, reliability, and energy efficiency of these devices.
Environmental applications include monitoring ice formation in atmospheric research, studying soil freezing dynamics in agriculture, and analyzing phase transitions in geological samples. These applications support climate research, precision agriculture, and resource exploration efforts with more accurate data than previously available methods.
As analytical instrumentation becomes more compact and affordable, the market for phase change monitoring systems is expanding beyond traditional research settings into production environments, creating new opportunities for instrumentation manufacturers and analytical service providers.
Current Limitations in Dynamic NMR Analysis
Despite significant advancements in Nuclear Magnetic Resonance (NMR) technology for monitoring solid-liquid phase transitions, several critical limitations continue to challenge researchers and industry professionals. The temporal resolution of dynamic NMR measurements remains a significant constraint, particularly when monitoring rapid phase transitions that occur within milliseconds to seconds. Current hardware configurations often require acquisition times that exceed the kinetics of fast phase transformations, resulting in missed critical transition moments or averaged data that obscures important mechanistic details.
Spatial resolution presents another substantial challenge, as conventional NMR techniques struggle to provide detailed spatial mapping of heterogeneous phase transitions. This limitation becomes particularly problematic when studying materials with complex microstructures or non-uniform transformation behaviors, where localized phenomena significantly influence overall material properties and performance.
Signal-to-noise ratio (SNR) constraints further complicate dynamic measurements, especially when monitoring dilute species or transitions with subtle spectral changes. The inherent trade-off between temporal resolution and SNR forces researchers to compromise between capturing rapid dynamics and obtaining spectra with sufficient quality for quantitative analysis. This compromise often results in either missing critical transition details or collecting data with insufficient precision for mechanistic insights.
Temperature control and stability during dynamic NMR experiments represent another significant limitation. Precise temperature regulation is essential for accurate phase transition studies, yet current NMR probe designs often struggle with temperature gradients, heating/cooling rates, and stability during measurements. These thermal management challenges can introduce artifacts or misinterpretations of phase transition behaviors.
Data processing and interpretation frameworks for dynamic NMR data remain underdeveloped compared to static NMR analysis tools. The complexity of time-resolved multidimensional data sets, combined with spectral changes during phase transitions, creates significant computational challenges. Current software solutions often lack specialized algorithms for automated identification of transition points, kinetic modeling of complex phase behaviors, or integration with thermodynamic models.
Sample environment constraints also limit the applicability of dynamic NMR for industrial materials and processes. Many real-world phase transitions occur under conditions (extreme pressures, reactive environments, industrial processing conditions) that are incompatible with conventional NMR hardware. The gap between laboratory NMR capabilities and industrial requirements represents a significant barrier to broader implementation of this analytical approach.
Spatial resolution presents another substantial challenge, as conventional NMR techniques struggle to provide detailed spatial mapping of heterogeneous phase transitions. This limitation becomes particularly problematic when studying materials with complex microstructures or non-uniform transformation behaviors, where localized phenomena significantly influence overall material properties and performance.
Signal-to-noise ratio (SNR) constraints further complicate dynamic measurements, especially when monitoring dilute species or transitions with subtle spectral changes. The inherent trade-off between temporal resolution and SNR forces researchers to compromise between capturing rapid dynamics and obtaining spectra with sufficient quality for quantitative analysis. This compromise often results in either missing critical transition details or collecting data with insufficient precision for mechanistic insights.
Temperature control and stability during dynamic NMR experiments represent another significant limitation. Precise temperature regulation is essential for accurate phase transition studies, yet current NMR probe designs often struggle with temperature gradients, heating/cooling rates, and stability during measurements. These thermal management challenges can introduce artifacts or misinterpretations of phase transition behaviors.
Data processing and interpretation frameworks for dynamic NMR data remain underdeveloped compared to static NMR analysis tools. The complexity of time-resolved multidimensional data sets, combined with spectral changes during phase transitions, creates significant computational challenges. Current software solutions often lack specialized algorithms for automated identification of transition points, kinetic modeling of complex phase behaviors, or integration with thermodynamic models.
Sample environment constraints also limit the applicability of dynamic NMR for industrial materials and processes. Many real-world phase transitions occur under conditions (extreme pressures, reactive environments, industrial processing conditions) that are incompatible with conventional NMR hardware. The gap between laboratory NMR capabilities and industrial requirements represents a significant barrier to broader implementation of this analytical approach.
Established Methodologies for Solid-Liquid Transition Analysis
01 NMR techniques for monitoring phase transitions in materials
Nuclear Magnetic Resonance (NMR) technology can be used to monitor phase changes in various materials by detecting changes in molecular structure and dynamics. These techniques analyze the relaxation times, chemical shifts, and other NMR parameters that change during phase transitions. The technology enables real-time monitoring of crystallization, melting, glass transitions, and other phase transformations in materials science applications.- NMR techniques for monitoring phase transitions in materials: Nuclear Magnetic Resonance (NMR) technology can be used to monitor phase transitions in various materials by detecting changes in molecular mobility and structure. These techniques analyze the relaxation times and spectral characteristics that change during phase transitions, providing valuable information about the material's physical state. The technology enables real-time monitoring of crystallization, melting, glass transitions, and other phase changes in polymers, pharmaceuticals, and other compounds.
- Low-field NMR systems for phase change detection in industrial applications: Low-field NMR systems are specifically designed for industrial applications to monitor phase changes in manufacturing processes. These systems are more compact, cost-effective, and can operate in challenging industrial environments while still providing accurate measurements of phase transitions. They are particularly useful in quality control processes, allowing for non-destructive testing of materials as they undergo phase changes during production or processing.
- Advanced NMR pulse sequences for phase change characterization: Specialized NMR pulse sequences have been developed to enhance the detection and characterization of phase changes in various materials. These advanced sequences can suppress unwanted signals, highlight specific molecular interactions, and provide more detailed information about the phase transition process. By manipulating the timing and intensity of radio frequency pulses, researchers can obtain more precise data about the kinetics and thermodynamics of phase transitions.
- NMR monitoring of multiphase fluid systems: NMR technology is particularly effective for monitoring phase changes in multiphase fluid systems, such as oil-water mixtures or gas-liquid transitions. The technology can distinguish between different phases based on their unique NMR signatures, allowing for quantitative analysis of phase composition and distribution. This is valuable in petroleum engineering, chemical processing, and environmental monitoring where understanding fluid phase behavior is critical.
- Integration of NMR with other analytical techniques for comprehensive phase change analysis: Modern phase change monitoring systems often integrate NMR with complementary analytical techniques such as differential scanning calorimetry (DSC), X-ray diffraction, or thermal analysis. This multi-modal approach provides comprehensive characterization of phase transitions by simultaneously measuring different physical and chemical properties. The combined data offers deeper insights into complex phase change phenomena, enabling more accurate interpretation and modeling of phase transition mechanisms.
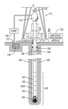
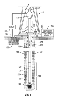
02 Downhole NMR systems for monitoring phase behavior in oil and gas reservoirs
Specialized NMR tools have been developed for downhole applications in oil and gas wells to monitor phase changes in reservoir fluids under varying pressure and temperature conditions. These systems can detect transitions between gas, liquid, and solid phases in hydrocarbon mixtures, helping to optimize production strategies. The technology provides critical data on fluid composition, viscosity changes, and phase boundaries in complex reservoir environments.Expand Specific Solutions03 Time-domain NMR methods for phase change detection
Time-domain NMR methodologies focus on measuring relaxation times (T1 and T2) to detect and characterize phase transitions. These approaches analyze how molecular mobility changes during phase transitions, which is reflected in relaxation time distributions. The technology is particularly useful for monitoring crystallization processes, polymer phase transitions, and multiphase fluid behavior, providing quantitative data on phase composition and kinetics.Expand Specific Solutions04 Advanced NMR pulse sequences for phase change analysis
Specialized pulse sequences have been developed to enhance the sensitivity and specificity of NMR for phase change monitoring. These sequences can selectively detect specific molecular environments or interactions that change during phase transitions. The technology includes multi-dimensional NMR methods, diffusion-ordered spectroscopy, and solid-state NMR techniques that provide detailed information about molecular organization during phase transformations.Expand Specific Solutions05 Integrated NMR systems with temperature and pressure control for phase diagrams
Integrated NMR systems combine magnetic resonance measurements with precise temperature and pressure control to map complete phase diagrams of materials. These systems enable researchers to study phase behavior under controlled environmental conditions, capturing transitions between multiple phases. The technology provides insights into thermodynamic properties, phase stability regions, and transition mechanisms for complex materials including pharmaceuticals, polymers, and energy storage materials.Expand Specific Solutions
Leading Research Institutions and Equipment Manufacturers
Dynamic NMR monitoring of solid-liquid phase changes represents an evolving field at the intersection of analytical chemistry and materials science. The market is in a growth phase, with increasing applications in petroleum, chemical, and pharmaceutical industries. Key players include major oil companies like PetroChina, Sinopec, Chevron, and Shell, who leverage this technology for reservoir characterization and enhanced oil recovery. Instrumentation leaders such as Bruker BioSpin MRI and Waters Technology provide specialized NMR equipment, while research institutions like Southwest Petroleum University and the Max Planck Society drive innovation. The technology has reached moderate maturity in petroleum applications but remains in development for advanced materials and pharmaceutical uses, with significant R&D investments from Schlumberger, Halliburton, and Baker Hughes focusing on downhole applications.
Schlumberger Technologies, Inc.
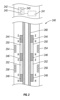
Technical Solution: Schlumberger has pioneered downhole NMR technology for real-time monitoring of solid-liquid phase changes in petroleum reservoirs. Their approach integrates NMR measurements with pressure-volume-temperature (PVT) analysis to characterize phase behavior under reservoir conditions. The company's proprietary NMR logging tools can operate at extreme temperatures (up to 175°C) and pressures (up to 20,000 psi), enabling in-situ monitoring of phase transitions in deep wells[2]. Schlumberger's technology employs multi-frequency NMR measurements that differentiate between solid and liquid phases based on their distinct relaxation properties. Their systems incorporate advanced inversion algorithms that convert raw NMR signals into quantitative phase composition data with accuracy typically within 3-5% of laboratory measurements[4]. The company has also developed specialized interpretation models that account for the complex fluid dynamics in porous media, allowing for more accurate phase transition monitoring in actual reservoir conditions rather than just in laboratory samples.
Strengths: Robust performance in harsh downhole environments; integration with other measurement technologies for comprehensive reservoir characterization; extensive field validation across diverse geological settings. Weaknesses: Limited spatial resolution compared to laboratory NMR systems; higher measurement uncertainty in highly heterogeneous formations; significant data processing requirements for complex fluid mixtures.
Halliburton Energy Services, Inc.
Technical Solution: Halliburton has developed a comprehensive Dynamic NMR monitoring system specifically optimized for oilfield applications. Their technology combines traditional NMR measurements with innovative fluid characterization techniques to monitor solid-liquid phase transitions during drilling, completion, and production operations. Halliburton's approach incorporates time-resolved NMR relaxometry with temperature cycling capabilities, allowing for detailed mapping of phase diagrams under varying pressure and temperature conditions relevant to reservoir management[1]. Their systems feature specialized probe designs that minimize magnetic field inhomogeneities in heterogeneous samples, improving measurement accuracy in complex fluid mixtures. Halliburton has implemented machine learning algorithms that enhance signal processing and data interpretation, enabling real-time phase transition detection even in noisy downhole environments[3]. The company's technology includes modular components that can be deployed in both laboratory and field settings, with ruggedized sensors capable of withstanding harsh oilfield conditions while maintaining measurement precision.
Strengths: Specialized optimization for petroleum industry applications; excellent performance with complex hydrocarbon mixtures; seamless integration with existing oilfield workflows and infrastructure. Weaknesses: Less versatile for non-petroleum applications; more limited resolution for detailed molecular characterization compared to research-grade systems; higher operational costs in remote deployment scenarios.
Key Patents in Dynamic NMR Spectroscopy
Methods and apparatuses for echo processing of nuclear magnetic resonance (NMR) data
PatentActiveUS10088594B2
Innovation
- The implementation of a matched filter module in the NMR echo processing system, which is designed to match the response of the NMR tool, incorporating non-NMR measurements like temperature and salinity, to filter and process NMR echo data sets effectively, improving signal-to-noise ratio and data accuracy.
Nuclear magnetic resonance method of detecting and monitoring the flocculation kinetics of heavy fractions of a complex fluid
PatentInactiveEP1468304A1
Innovation
- The method employs nuclear magnetic resonance (NMR) to detect and monitor the kinetics of flocculation by applying a static magnetic field and an oscillating pulsed magnetic field to measure relaxation signals from both aggregates and liquid fractions, allowing for the determination of flocculation rates and thresholds through the analysis of relaxation signal components.
Data Processing Algorithms for Phase Change Detection
The processing of NMR data for phase change detection requires sophisticated algorithms capable of identifying subtle spectral shifts that indicate transitions between solid and liquid states. Current algorithms primarily focus on three key approaches: spectral decomposition, relaxation time analysis, and chemical shift tracking. Spectral decomposition algorithms employ Fourier transform techniques to separate overlapping resonance signals, enabling the identification of distinct molecular environments characteristic of different phases. These algorithms typically incorporate baseline correction and phase adjustment to enhance signal quality before applying peak detection methods that can identify emerging or disappearing signals during phase transitions.
Relaxation time analysis algorithms focus on monitoring T1 (longitudinal) and T2 (transverse) relaxation parameters, which differ significantly between solid and liquid phases. These algorithms implement fitting procedures for relaxation curves, often using multi-exponential models to account for heterogeneous environments. Machine learning approaches have recently enhanced these algorithms by enabling automatic pattern recognition in complex relaxation datasets, improving detection sensitivity for gradual phase changes.
Chemical shift tracking algorithms monitor the position of specific resonance peaks, as these shifts provide direct evidence of changing molecular environments during phase transitions. These algorithms incorporate peak registration techniques to ensure consistent tracking across multiple spectra acquired during dynamic experiments. Advanced versions employ statistical methods to distinguish genuine phase-related shifts from experimental artifacts or temperature-induced variations.
Real-time processing capabilities have become increasingly important in phase change detection algorithms. Modern implementations utilize parallel computing architectures to process incoming NMR data streams with minimal latency, enabling researchers to observe phase transitions as they occur. These algorithms typically incorporate adaptive thresholding mechanisms that automatically adjust detection parameters based on signal-to-noise ratios and experimental conditions.
Integration of multivariate statistical methods, particularly Principal Component Analysis (PCA) and Partial Least Squares (PLS), has significantly enhanced phase change detection algorithms. These techniques reduce the dimensionality of complex NMR datasets while preserving critical information about phase transitions, allowing for more robust detection even in systems with subtle spectral changes. Recent developments have focused on incorporating deep learning approaches, particularly convolutional neural networks, which can be trained to recognize spectral patterns associated with different phases and their transitions without requiring explicit feature engineering.
Relaxation time analysis algorithms focus on monitoring T1 (longitudinal) and T2 (transverse) relaxation parameters, which differ significantly between solid and liquid phases. These algorithms implement fitting procedures for relaxation curves, often using multi-exponential models to account for heterogeneous environments. Machine learning approaches have recently enhanced these algorithms by enabling automatic pattern recognition in complex relaxation datasets, improving detection sensitivity for gradual phase changes.
Chemical shift tracking algorithms monitor the position of specific resonance peaks, as these shifts provide direct evidence of changing molecular environments during phase transitions. These algorithms incorporate peak registration techniques to ensure consistent tracking across multiple spectra acquired during dynamic experiments. Advanced versions employ statistical methods to distinguish genuine phase-related shifts from experimental artifacts or temperature-induced variations.
Real-time processing capabilities have become increasingly important in phase change detection algorithms. Modern implementations utilize parallel computing architectures to process incoming NMR data streams with minimal latency, enabling researchers to observe phase transitions as they occur. These algorithms typically incorporate adaptive thresholding mechanisms that automatically adjust detection parameters based on signal-to-noise ratios and experimental conditions.
Integration of multivariate statistical methods, particularly Principal Component Analysis (PCA) and Partial Least Squares (PLS), has significantly enhanced phase change detection algorithms. These techniques reduce the dimensionality of complex NMR datasets while preserving critical information about phase transitions, allowing for more robust detection even in systems with subtle spectral changes. Recent developments have focused on incorporating deep learning approaches, particularly convolutional neural networks, which can be trained to recognize spectral patterns associated with different phases and their transitions without requiring explicit feature engineering.
Sample Preparation Techniques for Optimal NMR Results
Sample preparation is a critical factor in achieving high-quality NMR results when monitoring solid-liquid phase changes. The preparation process must account for the dynamic nature of these transitions while maintaining sample integrity throughout the experiment. Proper sample containment is essential, with specialized NMR tubes designed to withstand temperature variations being particularly valuable for phase change studies.
Temperature control during preparation represents a significant challenge, as samples must be maintained at precise temperatures to capture specific phases. This often requires specialized equipment such as variable temperature probes and careful handling protocols to prevent premature phase transitions before measurement begins. Researchers typically employ gradient cooling or heating methods to prepare samples at specific points along the phase transition pathway.
Homogeneity considerations are paramount in sample preparation, as non-uniform samples can lead to broadened spectral lines and diminished resolution. For solid-liquid phase change monitoring, ensuring uniform temperature distribution throughout the sample volume is particularly challenging. Techniques such as sample spinning and specialized inserts help maintain thermal equilibrium across the sample during the preparation stage.
Concentration optimization plays a crucial role in dynamic NMR studies of phase transitions. Too high concentrations may alter phase transition temperatures or kinetics, while too low concentrations may yield insufficient signal intensity. Researchers must carefully calibrate sample concentrations based on the specific material properties and the phase transition parameters being studied.
Solvent selection requires special attention when preparing samples for solid-liquid phase change monitoring. The solvent must not interfere with the phase transition process while providing a suitable environment for NMR measurement. Deuterated solvents with minimal temperature-dependent chemical shift variations are preferred, with common choices including deuterated water, methanol, or specialized eutectic mixtures depending on the temperature range of interest.
Sample loading techniques have evolved specifically for phase change studies, with rapid insertion methods and pre-equilibration protocols helping to capture transient states. Some advanced approaches incorporate in-situ preparation directly within the NMR probe, allowing for real-time monitoring of the preparation process itself and ensuring that the initial conditions of the phase transition are accurately captured.
Contamination prevention is especially important, as impurities can significantly alter phase transition temperatures and kinetics. Ultra-clean preparation environments and rigorous purification protocols are standard practice, with researchers often employing multiple purification steps to ensure sample purity before NMR analysis of phase transitions.
Temperature control during preparation represents a significant challenge, as samples must be maintained at precise temperatures to capture specific phases. This often requires specialized equipment such as variable temperature probes and careful handling protocols to prevent premature phase transitions before measurement begins. Researchers typically employ gradient cooling or heating methods to prepare samples at specific points along the phase transition pathway.
Homogeneity considerations are paramount in sample preparation, as non-uniform samples can lead to broadened spectral lines and diminished resolution. For solid-liquid phase change monitoring, ensuring uniform temperature distribution throughout the sample volume is particularly challenging. Techniques such as sample spinning and specialized inserts help maintain thermal equilibrium across the sample during the preparation stage.
Concentration optimization plays a crucial role in dynamic NMR studies of phase transitions. Too high concentrations may alter phase transition temperatures or kinetics, while too low concentrations may yield insufficient signal intensity. Researchers must carefully calibrate sample concentrations based on the specific material properties and the phase transition parameters being studied.
Solvent selection requires special attention when preparing samples for solid-liquid phase change monitoring. The solvent must not interfere with the phase transition process while providing a suitable environment for NMR measurement. Deuterated solvents with minimal temperature-dependent chemical shift variations are preferred, with common choices including deuterated water, methanol, or specialized eutectic mixtures depending on the temperature range of interest.
Sample loading techniques have evolved specifically for phase change studies, with rapid insertion methods and pre-equilibration protocols helping to capture transient states. Some advanced approaches incorporate in-situ preparation directly within the NMR probe, allowing for real-time monitoring of the preparation process itself and ensuring that the initial conditions of the phase transition are accurately captured.
Contamination prevention is especially important, as impurities can significantly alter phase transition temperatures and kinetics. Ultra-clean preparation environments and rigorous purification protocols are standard practice, with researchers often employing multiple purification steps to ensure sample purity before NMR analysis of phase transitions.
Unlock deeper insights with Patsnap Eureka Quick Research — get a full tech report to explore trends and direct your research. Try now!
Generate Your Research Report Instantly with AI Agent
Supercharge your innovation with Patsnap Eureka AI Agent Platform!



