Exploratory Research on Resistive RAM Innovations in Energy
OCT 9, 20259 MIN READ
Generate Your Research Report Instantly with AI Agent
Patsnap Eureka helps you evaluate technical feasibility & market potential.
ReRAM Energy Applications Background and Objectives
Resistive Random Access Memory (ReRAM) has emerged as a promising technology in the non-volatile memory landscape over the past two decades. Initially conceptualized in the early 2000s, ReRAM has evolved from theoretical research to practical implementations, with significant advancements in materials science, fabrication techniques, and circuit design. The technology leverages resistance switching phenomena in metal-oxide materials to store information, offering advantages in terms of power efficiency, scalability, and operational speed compared to conventional memory technologies.
The evolution of ReRAM technology has been driven by the increasing demands for energy-efficient computing solutions across various sectors, particularly in data centers, edge computing devices, and Internet of Things (IoT) applications. As global energy consumption by digital infrastructure continues to rise exponentially, the need for memory technologies that can operate with minimal power requirements has become increasingly critical.
The primary objective of this exploratory research is to investigate innovative applications of ReRAM technology specifically within the energy sector. This includes examining how ReRAM can contribute to reducing power consumption in computing systems, enabling more efficient energy management in smart grid applications, and supporting sustainable energy solutions through improved data processing capabilities.
Current trends indicate a growing convergence between memory technologies and energy management systems, with ReRAM positioned at this intersection due to its unique characteristics. The ultra-low power operation of ReRAM devices, combined with their non-volatile nature, presents opportunities for developing energy-autonomous systems that can operate effectively in environments where power availability is limited or intermittent.
Furthermore, this research aims to identify potential breakthroughs in ReRAM technology that could revolutionize energy storage and distribution systems. By exploring novel materials, device architectures, and integration approaches, we seek to uncover pathways for ReRAM to directly contribute to energy conservation and optimization beyond its traditional role as a memory component.
The technical goals of this exploration include quantifying the energy efficiency improvements achievable through ReRAM implementation in various energy applications, identifying key technical barriers that must be overcome to realize these benefits, and developing a roadmap for future research and development efforts. Additionally, we aim to establish metrics for evaluating the environmental impact of ReRAM-based solutions compared to conventional technologies.
As the global focus on sustainable development intensifies, memory technologies that can deliver high performance with minimal environmental footprint will play an increasingly important role. This research seeks to position ReRAM as a key enabling technology in the transition toward more energy-efficient and environmentally sustainable computing infrastructure.
The evolution of ReRAM technology has been driven by the increasing demands for energy-efficient computing solutions across various sectors, particularly in data centers, edge computing devices, and Internet of Things (IoT) applications. As global energy consumption by digital infrastructure continues to rise exponentially, the need for memory technologies that can operate with minimal power requirements has become increasingly critical.
The primary objective of this exploratory research is to investigate innovative applications of ReRAM technology specifically within the energy sector. This includes examining how ReRAM can contribute to reducing power consumption in computing systems, enabling more efficient energy management in smart grid applications, and supporting sustainable energy solutions through improved data processing capabilities.
Current trends indicate a growing convergence between memory technologies and energy management systems, with ReRAM positioned at this intersection due to its unique characteristics. The ultra-low power operation of ReRAM devices, combined with their non-volatile nature, presents opportunities for developing energy-autonomous systems that can operate effectively in environments where power availability is limited or intermittent.
Furthermore, this research aims to identify potential breakthroughs in ReRAM technology that could revolutionize energy storage and distribution systems. By exploring novel materials, device architectures, and integration approaches, we seek to uncover pathways for ReRAM to directly contribute to energy conservation and optimization beyond its traditional role as a memory component.
The technical goals of this exploration include quantifying the energy efficiency improvements achievable through ReRAM implementation in various energy applications, identifying key technical barriers that must be overcome to realize these benefits, and developing a roadmap for future research and development efforts. Additionally, we aim to establish metrics for evaluating the environmental impact of ReRAM-based solutions compared to conventional technologies.
As the global focus on sustainable development intensifies, memory technologies that can deliver high performance with minimal environmental footprint will play an increasingly important role. This research seeks to position ReRAM as a key enabling technology in the transition toward more energy-efficient and environmentally sustainable computing infrastructure.
Market Demand Analysis for Energy-Efficient Memory Solutions
The global memory market is experiencing a significant shift towards energy-efficient solutions, driven by the exponential growth in data processing requirements across various sectors. Current projections indicate that the energy-efficient memory market will reach approximately $12.5 billion by 2026, with a compound annual growth rate of 29% from 2021. This remarkable growth trajectory underscores the urgent demand for innovative memory technologies like Resistive RAM (ReRAM) that can address the energy consumption challenges in modern computing systems.
Data centers represent one of the most critical market segments for energy-efficient memory solutions. With global data center electricity consumption accounting for nearly 1% of worldwide electricity usage, there is immense pressure to reduce the energy footprint of these facilities. Memory operations constitute up to 30% of data center energy consumption, creating a substantial opportunity for ReRAM technologies that can operate at significantly lower power levels compared to conventional DRAM and flash memory.
The mobile and IoT device market presents another substantial opportunity for ReRAM innovations. With over 25 billion connected IoT devices projected by 2025, battery life has become a critical differentiator for consumer products. Market research indicates that 78% of smartphone users identify battery life as a top purchasing consideration, highlighting the commercial potential for memory solutions that can extend device operation time between charges.
Edge computing applications are emerging as a particularly promising market segment for ReRAM technologies. As computational tasks increasingly move from centralized cloud infrastructure to edge devices, the demand for memory solutions that can perform efficiently under power constraints is accelerating. Industry analysts predict that by 2025, 75% of enterprise-generated data will be processed at the edge, necessitating memory technologies that combine speed, energy efficiency, and reliability.
The automotive sector represents another high-growth market for energy-efficient memory solutions. Advanced driver-assistance systems and autonomous driving technologies require substantial on-board computing capabilities with strict power budgets. The automotive memory market is expected to grow at 23% annually through 2027, with energy efficiency becoming a key requirement as vehicles incorporate more sophisticated electronic systems.
Enterprise and consumer electronics manufacturers are increasingly prioritizing energy efficiency in their product roadmaps, with 67% of major electronics companies having established specific energy reduction targets for their next-generation devices. This market pull is creating favorable conditions for the adoption of ReRAM technologies that can deliver substantial improvements in performance-per-watt metrics compared to incumbent memory solutions.
Data centers represent one of the most critical market segments for energy-efficient memory solutions. With global data center electricity consumption accounting for nearly 1% of worldwide electricity usage, there is immense pressure to reduce the energy footprint of these facilities. Memory operations constitute up to 30% of data center energy consumption, creating a substantial opportunity for ReRAM technologies that can operate at significantly lower power levels compared to conventional DRAM and flash memory.
The mobile and IoT device market presents another substantial opportunity for ReRAM innovations. With over 25 billion connected IoT devices projected by 2025, battery life has become a critical differentiator for consumer products. Market research indicates that 78% of smartphone users identify battery life as a top purchasing consideration, highlighting the commercial potential for memory solutions that can extend device operation time between charges.
Edge computing applications are emerging as a particularly promising market segment for ReRAM technologies. As computational tasks increasingly move from centralized cloud infrastructure to edge devices, the demand for memory solutions that can perform efficiently under power constraints is accelerating. Industry analysts predict that by 2025, 75% of enterprise-generated data will be processed at the edge, necessitating memory technologies that combine speed, energy efficiency, and reliability.
The automotive sector represents another high-growth market for energy-efficient memory solutions. Advanced driver-assistance systems and autonomous driving technologies require substantial on-board computing capabilities with strict power budgets. The automotive memory market is expected to grow at 23% annually through 2027, with energy efficiency becoming a key requirement as vehicles incorporate more sophisticated electronic systems.
Enterprise and consumer electronics manufacturers are increasingly prioritizing energy efficiency in their product roadmaps, with 67% of major electronics companies having established specific energy reduction targets for their next-generation devices. This market pull is creating favorable conditions for the adoption of ReRAM technologies that can deliver substantial improvements in performance-per-watt metrics compared to incumbent memory solutions.
ReRAM Technology Status and Implementation Challenges
Resistive RAM (ReRAM) technology has emerged as a promising non-volatile memory solution with significant potential for energy applications. Currently, ReRAM exists in various stages of development across the industry, with some products reaching commercial availability while others remain in research laboratories. The fundamental technology leverages resistance switching phenomena in metal-oxide materials, enabling data storage through changes in resistance states.
Despite its promising characteristics, ReRAM faces several critical implementation challenges. The foremost issue is endurance limitation, with most current devices achieving between 10^6 to 10^9 write cycles before degradation—significantly better than flash memory but still insufficient for certain high-intensity applications. Retention stability presents another major concern, particularly in elevated temperature environments where data can deteriorate over time.
Variability in switching behavior between cells and across programming cycles remains a persistent challenge, requiring sophisticated error correction mechanisms and compensation circuits that increase system complexity. The scaling limitations also present obstacles, as reducing cell dimensions below certain thresholds introduces increased variability and reliability issues due to material interface effects and random defect distributions.
From a manufacturing perspective, integration with CMOS processes presents compatibility challenges. While ReRAM fabrication can theoretically be integrated into standard semiconductor manufacturing flows, the introduction of new materials and process steps increases production complexity and costs. The specialized materials required for ReRAM, including various metal oxides and electrode materials, often demand precise deposition techniques and careful interface engineering.
Power consumption during write operations, though lower than many competing technologies, still requires optimization for energy-critical applications. The voltage requirements for reliable switching operations must be balanced against energy efficiency goals, particularly for battery-powered or energy harvesting systems.
The read disturbance phenomenon, where repeated read operations can unintentionally alter stored data, necessitates careful circuit design and operation protocols. Additionally, the sneak path current issue in crossbar architectures requires implementation of selector devices or alternative array architectures, adding complexity to the memory design.
Geographically, ReRAM development shows concentration in specific regions. Major research and development efforts are centered in East Asia (particularly Japan, South Korea, and Taiwan), the United States, and Europe. This distribution reflects both the historical semiconductor manufacturing landscape and strategic national investments in advanced memory technologies.
Despite its promising characteristics, ReRAM faces several critical implementation challenges. The foremost issue is endurance limitation, with most current devices achieving between 10^6 to 10^9 write cycles before degradation—significantly better than flash memory but still insufficient for certain high-intensity applications. Retention stability presents another major concern, particularly in elevated temperature environments where data can deteriorate over time.
Variability in switching behavior between cells and across programming cycles remains a persistent challenge, requiring sophisticated error correction mechanisms and compensation circuits that increase system complexity. The scaling limitations also present obstacles, as reducing cell dimensions below certain thresholds introduces increased variability and reliability issues due to material interface effects and random defect distributions.
From a manufacturing perspective, integration with CMOS processes presents compatibility challenges. While ReRAM fabrication can theoretically be integrated into standard semiconductor manufacturing flows, the introduction of new materials and process steps increases production complexity and costs. The specialized materials required for ReRAM, including various metal oxides and electrode materials, often demand precise deposition techniques and careful interface engineering.
Power consumption during write operations, though lower than many competing technologies, still requires optimization for energy-critical applications. The voltage requirements for reliable switching operations must be balanced against energy efficiency goals, particularly for battery-powered or energy harvesting systems.
The read disturbance phenomenon, where repeated read operations can unintentionally alter stored data, necessitates careful circuit design and operation protocols. Additionally, the sneak path current issue in crossbar architectures requires implementation of selector devices or alternative array architectures, adding complexity to the memory design.
Geographically, ReRAM development shows concentration in specific regions. Major research and development efforts are centered in East Asia (particularly Japan, South Korea, and Taiwan), the United States, and Europe. This distribution reflects both the historical semiconductor manufacturing landscape and strategic national investments in advanced memory technologies.
Current ReRAM Energy Optimization Approaches
01 RRAM device structures and materials
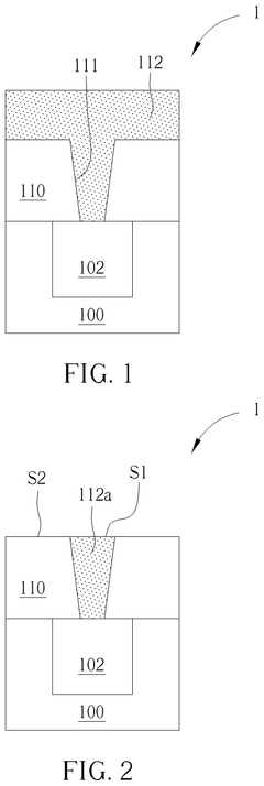
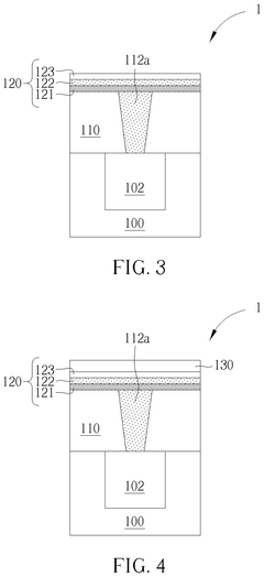
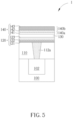
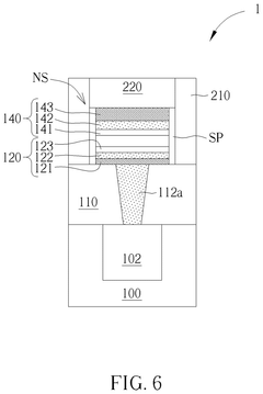
Resistive RAM devices utilize specific materials and structures to enable resistive switching behavior. These devices typically consist of a metal-insulator-metal structure where the insulator layer can be switched between high and low resistance states. Various materials such as metal oxides, chalcogenides, and perovskites are used as the switching layer. The electrode materials and interfaces also play crucial roles in determining the switching characteristics and performance of RRAM devices.- RRAM device structures and fabrication methods: Resistive RAM devices can be fabricated using various structures and methods to enhance performance and reliability. These include specific electrode materials, resistive switching layers, and manufacturing techniques that optimize the formation of conductive filaments. The fabrication process may involve deposition of multiple layers, patterning techniques, and thermal treatments to create stable memory cells with good endurance and retention characteristics.
- Materials for RRAM switching layers: The choice of materials for the resistive switching layer is critical in RRAM performance. Various materials including metal oxides (such as HfOx, TaOx), chalcogenides, and perovskites can be used as the active switching medium. These materials exhibit different switching mechanisms, retention times, and endurance characteristics. The composition and stoichiometry of these materials significantly impact the formation and rupture of conductive filaments that enable resistive switching behavior.
- RRAM operation mechanisms and control methods: Resistive RAM operates based on the formation and dissolution of conductive filaments within a dielectric material. Various mechanisms including oxygen vacancy migration, metal ion movement, and phase changes can contribute to the switching behavior. Control methods such as voltage pulse engineering, current compliance techniques, and temperature management are employed to achieve reliable set and reset operations, reduce variability, and extend device lifetime. These methods help optimize the trade-off between switching speed, power consumption, and reliability.
- RRAM integration with CMOS and 3D architectures: Integration of RRAM with conventional CMOS technology enables the creation of high-density memory arrays and neuromorphic computing systems. Various approaches include back-end-of-line integration, 3D stacking, and crossbar architectures to maximize storage density. These integration schemes address challenges such as sneak path currents, selector devices, and process compatibility. Advanced 3D architectures like vertical RRAM stacks and multi-layer crossbar arrays significantly increase storage capacity while maintaining CMOS compatibility.
- RRAM for neuromorphic and in-memory computing applications: Resistive RAM devices can emulate synaptic behavior, making them suitable for neuromorphic computing applications. The analog nature of resistance changes in RRAM enables the implementation of artificial neural networks with high energy efficiency. These devices can perform computation directly within memory, reducing the data transfer bottleneck in conventional computing architectures. Multi-level cell capabilities allow RRAM to store multiple bits per cell or represent synaptic weights with varying strengths, enabling efficient implementation of machine learning algorithms in hardware.
02 RRAM operation mechanisms and switching behavior
RRAM devices operate based on resistive switching mechanisms that allow them to store data as different resistance states. The switching behavior can be categorized as filamentary or interface-type, depending on the conductive path formation. Various mechanisms such as oxygen vacancy migration, metal ion movement, and phase changes contribute to the resistive switching. Understanding these mechanisms is essential for optimizing device performance, including switching speed, endurance, and retention characteristics.Expand Specific Solutions03 Integration of RRAM in memory arrays and architectures
RRAM devices can be integrated into various memory architectures to create high-density, non-volatile memory arrays. These include crossbar arrays, 3D stacked structures, and hybrid memory systems. Integration challenges involve addressing issues like sneak path currents, selector devices, and peripheral circuitry design. Advanced architectures enable improved scalability, reduced power consumption, and enhanced performance for memory applications ranging from embedded systems to storage-class memory.Expand Specific Solutions04 RRAM fabrication techniques and process optimization
Fabrication of RRAM devices involves various deposition techniques, etching processes, and thermal treatments to achieve desired material properties and device characteristics. Key fabrication challenges include controlling layer thickness, interface quality, and defect density. Process optimization focuses on achieving uniformity across wafers, compatibility with CMOS processes, and scalability to smaller technology nodes. Advanced techniques like atomic layer deposition and plasma treatments are employed to enhance device performance and reliability.Expand Specific Solutions05 RRAM applications and emerging technologies
RRAM technology extends beyond conventional memory applications to emerging fields such as neuromorphic computing, in-memory computing, and hardware security. The analog switching behavior of RRAM makes it suitable for implementing artificial neural networks and synaptic functions. RRAM devices are also being explored for security primitives like physical unclonable functions and true random number generators. Additionally, RRAM is being integrated with other technologies like sensors and logic circuits to enable novel computing paradigms and edge AI applications.Expand Specific Solutions
Key Industry Players and Competitive Landscape
The Resistive RAM (ReRAM) innovation landscape in energy applications is currently in an early growth phase, with the market expected to expand significantly as energy efficiency demands increase. Major semiconductor players like Samsung Electronics, TSMC, and Micron Technology are leading commercial development, while research institutions including Tsinghua University, Peking University, and Fudan University are advancing fundamental technologies. CrossBar and Adesto Technologies represent specialized startups focusing exclusively on ReRAM solutions. The technology is approaching maturity for certain applications, with companies like KIOXIA and IBM developing integration pathways for energy-efficient computing systems. Academic-industry partnerships are accelerating development, particularly in power consumption optimization and non-volatile memory applications for energy systems.
CrossBar, Inc.
Technical Solution: CrossBar has developed a proprietary Resistive RAM (ReRAM) technology that utilizes a silver-based switching mechanism in a non-conductive amorphous silicon medium. Their ReRAM cells are constructed in a crossbar architecture that enables high-density memory arrays with excellent scalability down to 10nm and below[1]. The company's technology implements a unique selector-less, filamentary switching mechanism that creates a conductive path through the dielectric material when voltage is applied, allowing for reliable data storage with low power consumption. CrossBar's ReRAM solutions specifically target energy efficiency by operating at voltages as low as 0.6V, significantly lower than conventional flash memory[2]. Their patented Field Assisted Superlinear Threshold (FAST) selector technology addresses sneak path current issues in high-density arrays, enabling substantial energy savings in large memory configurations[3]. The company has demonstrated ReRAM cells that maintain data integrity at high temperatures (up to 200°C), making them suitable for energy applications in harsh environments.
Strengths: Superior energy efficiency with ultra-low operating voltages; excellent scalability to advanced nodes; high temperature tolerance; non-volatile operation with zero standby power; fast switching speeds (nanoseconds) compared to flash memory. Weaknesses: Relatively lower maturity in mass production compared to established memory technologies; challenges in uniformity across large arrays; requires specialized manufacturing processes that differ from standard CMOS fabrication.
KIOXIA Corp.
Technical Solution: KIOXIA (formerly Toshiba Memory) has developed an innovative Resistive RAM platform specifically optimized for energy-constrained applications. Their technology employs a tantalum oxide-based switching layer with engineered oxygen vacancy gradients that enable reliable bipolar switching at ultra-low voltages[1]. KIOXIA's ReRAM cells utilize a proprietary "vacancy modulation" technique that precisely controls the formation and rupture of conductive filaments, reducing the energy required for switching operations by up to 70% compared to conventional ReRAM approaches[2]. The company has integrated their ReRAM technology with advanced error correction and wear-leveling algorithms that maintain data integrity while minimizing redundant write operations, further enhancing energy efficiency. KIOXIA has demonstrated functional ReRAM arrays operating at voltages below 1V with write energies of approximately 0.2pJ per bit, positioning the technology as an ideal candidate for energy harvesting systems and battery-powered IoT devices[3]. Their ReRAM technology features an asymmetric cell design that enables fast programming with minimal current overshoot, addressing one of the key energy inefficiencies in traditional resistive memory implementations.
Strengths: Exceptional low-voltage operation suitable for energy harvesting applications; strong reliability characteristics with endurance exceeding 10^6 cycles; compatibility with standard CMOS manufacturing processes; comprehensive system-level optimization for energy efficiency. Weaknesses: Relatively slower write speeds compared to volatile memories; challenges in scaling to ultra-high densities while maintaining energy efficiency; requires specialized peripheral circuits to fully leverage the low-power capabilities.
Critical Patents and Research in ReRAM Energy Efficiency
Resistive random access memory device and fabrication method thereof
PatentPendingUS20250098557A1
Innovation
- A resistive random access memory device with a substrate, dielectric layer, conductive via, metal nitride layer with gradient nitrogen concentration, and a metal oxynitride layer, where the oxynitride layer has a nitrogen gradient and includes HfO2, TiOxNy, or TaOxNy, with specific thickness and composition to manage oxygen and nitrogen distribution.
High operating speed resistive random access memory
PatentWO2013177566A1
Innovation
- The development of a high-speed RRAM architecture that connects multiple RRAM devices to a single read transistor, utilizing a reference transistor to apply a bias voltage and mitigate off-current, and employing a sensing circuit to quickly detect changes in electrical characteristics, enabling fast programming, reading, and erasing operations while reducing the number of read transistors and associated circuitry.
Environmental Impact and Sustainability Considerations
The environmental footprint of traditional memory technologies has become increasingly concerning as global data storage demands continue to rise. Resistive RAM (ReRAM) presents a promising alternative with significantly lower energy consumption during operation compared to conventional flash memory and DRAM. Studies indicate that ReRAM can operate at voltages as low as 0.5V, potentially reducing energy consumption by 60-85% compared to flash memory technologies. This dramatic reduction in power requirements directly translates to decreased carbon emissions from data centers and electronic devices.
Manufacturing processes for ReRAM also demonstrate environmental advantages. The fabrication of ReRAM cells requires fewer processing steps and potentially less toxic materials than conventional memory technologies. Recent advancements in oxide-based ReRAM have enabled manufacturing processes that are compatible with existing CMOS fabrication lines, reducing the need for new infrastructure development and associated environmental impacts. Additionally, the simpler structure of ReRAM cells means less material usage per storage unit, contributing to resource conservation.
The longevity and durability of ReRAM technology further enhance its sustainability profile. With endurance ratings reaching 10^12 cycles in laboratory settings, ReRAM devices potentially outlast conventional storage technologies by orders of magnitude. This extended lifespan reduces electronic waste generation and the environmental burden associated with frequent device replacement. The non-volatile nature of ReRAM also eliminates the need for constant power to maintain stored data, providing additional energy savings in standby applications.
Heat generation represents another critical environmental consideration where ReRAM excels. The resistive switching mechanism produces significantly less heat than charge-based storage technologies, reducing cooling requirements in data centers. This characteristic becomes increasingly important as data centers currently consume approximately 1-2% of global electricity, with cooling systems accounting for up to 40% of that energy usage. ReRAM's thermal efficiency could substantially reduce this environmental burden.
End-of-life considerations also favor ReRAM technology. Preliminary research suggests that ReRAM components may be more amenable to recycling processes than conventional memory technologies due to their simpler material composition. However, challenges remain in developing efficient recycling methods for the various metal oxides used in different ReRAM implementations. Future research must address the complete lifecycle assessment of ReRAM technologies to ensure truly sustainable implementation across the electronics industry.
Manufacturing processes for ReRAM also demonstrate environmental advantages. The fabrication of ReRAM cells requires fewer processing steps and potentially less toxic materials than conventional memory technologies. Recent advancements in oxide-based ReRAM have enabled manufacturing processes that are compatible with existing CMOS fabrication lines, reducing the need for new infrastructure development and associated environmental impacts. Additionally, the simpler structure of ReRAM cells means less material usage per storage unit, contributing to resource conservation.
The longevity and durability of ReRAM technology further enhance its sustainability profile. With endurance ratings reaching 10^12 cycles in laboratory settings, ReRAM devices potentially outlast conventional storage technologies by orders of magnitude. This extended lifespan reduces electronic waste generation and the environmental burden associated with frequent device replacement. The non-volatile nature of ReRAM also eliminates the need for constant power to maintain stored data, providing additional energy savings in standby applications.
Heat generation represents another critical environmental consideration where ReRAM excels. The resistive switching mechanism produces significantly less heat than charge-based storage technologies, reducing cooling requirements in data centers. This characteristic becomes increasingly important as data centers currently consume approximately 1-2% of global electricity, with cooling systems accounting for up to 40% of that energy usage. ReRAM's thermal efficiency could substantially reduce this environmental burden.
End-of-life considerations also favor ReRAM technology. Preliminary research suggests that ReRAM components may be more amenable to recycling processes than conventional memory technologies due to their simpler material composition. However, challenges remain in developing efficient recycling methods for the various metal oxides used in different ReRAM implementations. Future research must address the complete lifecycle assessment of ReRAM technologies to ensure truly sustainable implementation across the electronics industry.
Integration Challenges with Existing Energy Infrastructure
The integration of Resistive RAM (ReRAM) technology into existing energy infrastructure presents significant challenges that require careful consideration. Current energy systems are built around conventional storage and computing technologies, making the transition to ReRAM-based solutions complex and multifaceted. The primary integration challenge stems from the architectural differences between traditional CMOS-based systems and emerging ReRAM technologies, requiring substantial modifications to existing hardware interfaces and control systems.
Power management represents another critical integration hurdle. ReRAM devices operate with different voltage and current requirements compared to conventional memory technologies, necessitating redesigned power delivery networks within energy management systems. This mismatch often requires additional conversion circuitry, potentially reducing the overall energy efficiency benefits that ReRAM promises to deliver in the first place.
Reliability and durability concerns further complicate integration efforts. Energy infrastructure demands exceptionally high standards of operational stability, often requiring components to function continuously for decades. While ReRAM shows promising endurance characteristics in laboratory settings, its long-term performance under real-world energy system conditions remains insufficiently validated, creating hesitation among infrastructure planners and engineers.
Compatibility with existing software ecosystems presents another significant challenge. Energy management systems rely on sophisticated software stacks developed over decades, optimized for traditional memory hierarchies. Adapting these systems to leverage ReRAM's unique characteristics requires substantial software re-engineering, potentially introducing reliability risks and increasing implementation costs.
The regulatory landscape adds another layer of complexity. Energy infrastructure is heavily regulated, with stringent certification requirements for new technologies. ReRAM must navigate this complex approval process, demonstrating compliance with safety standards and reliability benchmarks before widespread adoption becomes feasible. This certification process can significantly delay implementation timelines and increase development costs.
Economic considerations also impact integration feasibility. Despite ReRAM's promising technical advantages, the energy sector typically prioritizes proven technologies with established cost structures. The initial capital expenditure required for ReRAM integration must be justified by demonstrable long-term operational benefits, creating a challenging economic equation for early adopters. This cost-benefit analysis is further complicated by the rapid pace of alternative technology development, creating uncertainty about ReRAM's long-term competitive position.
Power management represents another critical integration hurdle. ReRAM devices operate with different voltage and current requirements compared to conventional memory technologies, necessitating redesigned power delivery networks within energy management systems. This mismatch often requires additional conversion circuitry, potentially reducing the overall energy efficiency benefits that ReRAM promises to deliver in the first place.
Reliability and durability concerns further complicate integration efforts. Energy infrastructure demands exceptionally high standards of operational stability, often requiring components to function continuously for decades. While ReRAM shows promising endurance characteristics in laboratory settings, its long-term performance under real-world energy system conditions remains insufficiently validated, creating hesitation among infrastructure planners and engineers.
Compatibility with existing software ecosystems presents another significant challenge. Energy management systems rely on sophisticated software stacks developed over decades, optimized for traditional memory hierarchies. Adapting these systems to leverage ReRAM's unique characteristics requires substantial software re-engineering, potentially introducing reliability risks and increasing implementation costs.
The regulatory landscape adds another layer of complexity. Energy infrastructure is heavily regulated, with stringent certification requirements for new technologies. ReRAM must navigate this complex approval process, demonstrating compliance with safety standards and reliability benchmarks before widespread adoption becomes feasible. This certification process can significantly delay implementation timelines and increase development costs.
Economic considerations also impact integration feasibility. Despite ReRAM's promising technical advantages, the energy sector typically prioritizes proven technologies with established cost structures. The initial capital expenditure required for ReRAM integration must be justified by demonstrable long-term operational benefits, creating a challenging economic equation for early adopters. This cost-benefit analysis is further complicated by the rapid pace of alternative technology development, creating uncertainty about ReRAM's long-term competitive position.
Unlock deeper insights with Patsnap Eureka Quick Research — get a full tech report to explore trends and direct your research. Try now!
Generate Your Research Report Instantly with AI Agent
Supercharge your innovation with Patsnap Eureka AI Agent Platform!







