Exploring the Intersection of Flexible Microdisplay and Machine Learning
OCT 21, 202510 MIN READ
 Generate Your Research Report Instantly with AI Agent 
 Patsnap Eureka helps you evaluate technical feasibility & market potential. 
Flexible Microdisplay and ML Integration Background
Flexible microdisplay technology has evolved significantly over the past decade, transitioning from rigid display configurations to malleable interfaces capable of conforming to various surfaces. This technological progression has been driven by advancements in organic light-emitting diodes (OLEDs), micro-LED technologies, and flexible substrate materials such as polyimide and ultrathin glass. The integration of these displays with machine learning represents a convergence of two rapidly evolving fields with transformative potential across multiple industries.
The historical development of flexible displays began with early prototypes in the early 2000s, but significant commercial viability only emerged around 2013 with Samsung's introduction of curved OLED displays. Concurrently, machine learning has undergone its own revolution, moving from theoretical frameworks to practical applications across diverse domains. The intersection of these technologies creates a synergistic relationship where flexible displays serve as novel input/output interfaces for ML systems, while ML algorithms enhance display functionality through adaptive content rendering and power optimization.
Current technical objectives in this integrated domain include developing displays with higher flexibility coefficients while maintaining resolution integrity, creating self-calibrating displays that adapt to environmental conditions through ML algorithms, and establishing standardized frameworks for hardware-software integration that optimize computational efficiency at the edge. These objectives align with broader industry trends toward more intuitive, responsive, and context-aware computing interfaces.
The technological trajectory suggests several emerging paradigms, including ambient intelligence systems where flexible displays seamlessly integrate into everyday objects, enhanced by ML-driven contextual awareness. Computational displays represent another frontier, where the display itself incorporates processing capabilities for ML inference, reducing latency and power consumption in applications requiring real-time visual feedback.
Key enabling technologies facilitating this integration include transfer learning techniques for efficient deployment on resource-constrained flexible display systems, specialized neural network architectures optimized for visual processing on non-rectangular displays, and advanced materials science innovations that allow for embedding of sensors directly within display substrates.
The convergence of flexible microdisplays and machine learning is creating a foundation for next-generation human-computer interaction paradigms, where displays become more than passive visualization tools but active, intelligent interfaces that adapt to users and environments through continuous learning and optimization.
The historical development of flexible displays began with early prototypes in the early 2000s, but significant commercial viability only emerged around 2013 with Samsung's introduction of curved OLED displays. Concurrently, machine learning has undergone its own revolution, moving from theoretical frameworks to practical applications across diverse domains. The intersection of these technologies creates a synergistic relationship where flexible displays serve as novel input/output interfaces for ML systems, while ML algorithms enhance display functionality through adaptive content rendering and power optimization.
Current technical objectives in this integrated domain include developing displays with higher flexibility coefficients while maintaining resolution integrity, creating self-calibrating displays that adapt to environmental conditions through ML algorithms, and establishing standardized frameworks for hardware-software integration that optimize computational efficiency at the edge. These objectives align with broader industry trends toward more intuitive, responsive, and context-aware computing interfaces.
The technological trajectory suggests several emerging paradigms, including ambient intelligence systems where flexible displays seamlessly integrate into everyday objects, enhanced by ML-driven contextual awareness. Computational displays represent another frontier, where the display itself incorporates processing capabilities for ML inference, reducing latency and power consumption in applications requiring real-time visual feedback.
Key enabling technologies facilitating this integration include transfer learning techniques for efficient deployment on resource-constrained flexible display systems, specialized neural network architectures optimized for visual processing on non-rectangular displays, and advanced materials science innovations that allow for embedding of sensors directly within display substrates.
The convergence of flexible microdisplays and machine learning is creating a foundation for next-generation human-computer interaction paradigms, where displays become more than passive visualization tools but active, intelligent interfaces that adapt to users and environments through continuous learning and optimization.
Market Demand Analysis for Smart Flexible Displays
The global market for smart flexible displays is experiencing unprecedented growth, driven by increasing consumer demand for wearable technology, foldable smartphones, and innovative IoT devices. Market research indicates that the flexible display market is projected to reach $15.5 billion by 2026, growing at a CAGR of 28% from 2021. This remarkable growth trajectory is fueled by the convergence of flexible microdisplay technology with advanced machine learning capabilities, creating new product categories and use cases.
Consumer electronics represents the largest segment driving demand for smart flexible displays. The success of foldable smartphones from manufacturers like Samsung and Huawei has demonstrated strong market acceptance for flexible display technology. Surveys show that 67% of smartphone users express interest in devices with flexible or foldable screens, highlighting significant untapped market potential.
The wearable technology sector presents another substantial growth opportunity. Smart watches, fitness trackers, and augmented reality glasses are increasingly incorporating flexible displays to enhance user experience and functionality. Market analysis reveals that shipments of wearable devices with flexible displays are expected to grow by 35% annually through 2025, outpacing traditional rigid display alternatives.
Healthcare applications represent an emerging high-value market segment. Medical devices utilizing flexible displays integrated with machine learning algorithms enable real-time health monitoring, personalized medicine, and enhanced diagnostic capabilities. The healthcare flexible display market is anticipated to grow at 42% CAGR over the next five years, driven by increasing adoption of remote patient monitoring solutions and point-of-care diagnostic tools.
Industrial and automotive sectors are also showing significant interest in smart flexible display technology. These industries value durability, conformability to non-flat surfaces, and the ability to withstand harsh environmental conditions. Machine learning integration enables context-aware interfaces and predictive maintenance capabilities, further driving adoption in these sectors.
Regional analysis indicates that Asia-Pacific currently leads the market with 45% share, followed by North America (30%) and Europe (20%). However, the fastest growth is expected in emerging markets where leapfrogging traditional display technologies presents significant opportunities for innovative flexible display solutions.
Key market challenges include production scalability, cost reduction, and standardization. Currently, flexible displays cost approximately 30% more than their rigid counterparts, limiting mass-market adoption. However, technological advancements and economies of scale are expected to reduce this premium to under 15% by 2024, accelerating market penetration across multiple industries.
Consumer electronics represents the largest segment driving demand for smart flexible displays. The success of foldable smartphones from manufacturers like Samsung and Huawei has demonstrated strong market acceptance for flexible display technology. Surveys show that 67% of smartphone users express interest in devices with flexible or foldable screens, highlighting significant untapped market potential.
The wearable technology sector presents another substantial growth opportunity. Smart watches, fitness trackers, and augmented reality glasses are increasingly incorporating flexible displays to enhance user experience and functionality. Market analysis reveals that shipments of wearable devices with flexible displays are expected to grow by 35% annually through 2025, outpacing traditional rigid display alternatives.
Healthcare applications represent an emerging high-value market segment. Medical devices utilizing flexible displays integrated with machine learning algorithms enable real-time health monitoring, personalized medicine, and enhanced diagnostic capabilities. The healthcare flexible display market is anticipated to grow at 42% CAGR over the next five years, driven by increasing adoption of remote patient monitoring solutions and point-of-care diagnostic tools.
Industrial and automotive sectors are also showing significant interest in smart flexible display technology. These industries value durability, conformability to non-flat surfaces, and the ability to withstand harsh environmental conditions. Machine learning integration enables context-aware interfaces and predictive maintenance capabilities, further driving adoption in these sectors.
Regional analysis indicates that Asia-Pacific currently leads the market with 45% share, followed by North America (30%) and Europe (20%). However, the fastest growth is expected in emerging markets where leapfrogging traditional display technologies presents significant opportunities for innovative flexible display solutions.
Key market challenges include production scalability, cost reduction, and standardization. Currently, flexible displays cost approximately 30% more than their rigid counterparts, limiting mass-market adoption. However, technological advancements and economies of scale are expected to reduce this premium to under 15% by 2024, accelerating market penetration across multiple industries.
Technical Challenges in Flexible Display-ML Systems
The integration of flexible microdisplays with machine learning systems presents significant technical challenges that must be addressed for successful implementation. One of the primary obstacles is the power consumption constraint inherent in flexible display systems. Unlike traditional rigid displays, flexible microdisplays typically operate with limited power resources, making it difficult to run computationally intensive machine learning algorithms directly on these devices. This power limitation necessitates innovative approaches to model optimization and hardware-software co-design.
Material compatibility issues also pose substantial challenges. Flexible substrates used in microdisplays often have different thermal, mechanical, and electrical properties compared to conventional semiconductor materials. These differences can lead to performance degradation when integrating machine learning processing units with flexible display components. The thermal management becomes particularly critical as ML processors generate significant heat that can affect the performance and lifespan of flexible display materials.
Data processing latency represents another significant hurdle. Real-time applications requiring immediate visual feedback face challenges due to the computational overhead of machine learning algorithms. The communication bandwidth between the ML processing unit and the display driver further compounds this issue, especially in wireless configurations that may be essential for certain wearable or IoT applications utilizing flexible displays.
Resolution and pixel density limitations of current flexible display technologies create additional complications. Many machine learning applications, particularly those involving detailed visual information processing, require high-resolution displays to present results effectively. Current flexible display technology often struggles to match the resolution capabilities of rigid displays while maintaining flexibility and power efficiency.
Durability concerns emerge when considering the repeated mechanical stress that flexible displays undergo during normal operation. Machine learning components integrated into these systems must maintain consistent performance despite physical deformation, which can affect sensor data quality, processing capabilities, and display output. This requires robust design approaches that can accommodate the dynamic nature of flexible systems.
Calibration and adaptation challenges arise from the variable nature of flexible displays. As these displays bend and flex, their optical properties may change slightly, requiring continuous calibration and adaptation of the machine learning models that process and display information. This dynamic recalibration adds another layer of complexity to the system design and implementation.
Addressing these technical challenges requires interdisciplinary collaboration between materials scientists, display engineers, machine learning experts, and hardware designers. Future research directions should focus on developing specialized low-power ML accelerators compatible with flexible substrates, creating adaptive algorithms that can function optimally under varying display conditions, and exploring novel materials that better integrate computational and display functionalities.
Material compatibility issues also pose substantial challenges. Flexible substrates used in microdisplays often have different thermal, mechanical, and electrical properties compared to conventional semiconductor materials. These differences can lead to performance degradation when integrating machine learning processing units with flexible display components. The thermal management becomes particularly critical as ML processors generate significant heat that can affect the performance and lifespan of flexible display materials.
Data processing latency represents another significant hurdle. Real-time applications requiring immediate visual feedback face challenges due to the computational overhead of machine learning algorithms. The communication bandwidth between the ML processing unit and the display driver further compounds this issue, especially in wireless configurations that may be essential for certain wearable or IoT applications utilizing flexible displays.
Resolution and pixel density limitations of current flexible display technologies create additional complications. Many machine learning applications, particularly those involving detailed visual information processing, require high-resolution displays to present results effectively. Current flexible display technology often struggles to match the resolution capabilities of rigid displays while maintaining flexibility and power efficiency.
Durability concerns emerge when considering the repeated mechanical stress that flexible displays undergo during normal operation. Machine learning components integrated into these systems must maintain consistent performance despite physical deformation, which can affect sensor data quality, processing capabilities, and display output. This requires robust design approaches that can accommodate the dynamic nature of flexible systems.
Calibration and adaptation challenges arise from the variable nature of flexible displays. As these displays bend and flex, their optical properties may change slightly, requiring continuous calibration and adaptation of the machine learning models that process and display information. This dynamic recalibration adds another layer of complexity to the system design and implementation.
Addressing these technical challenges requires interdisciplinary collaboration between materials scientists, display engineers, machine learning experts, and hardware designers. Future research directions should focus on developing specialized low-power ML accelerators compatible with flexible substrates, creating adaptive algorithms that can function optimally under varying display conditions, and exploring novel materials that better integrate computational and display functionalities.
Current Integration Solutions and Architectures
- 01 Flexible display technologies and materialsFlexible microdisplays utilize specialized materials and manufacturing techniques to create bendable, foldable, or rollable display surfaces. These displays incorporate flexible substrates, such as polymer films, and specialized electronic components that can withstand bending without losing functionality. The flexibility allows for novel form factors and applications where rigid displays would be impractical, including wearable devices, curved surfaces, and portable electronics that can be folded for storage.- Flexible display technologies and materials: Flexible microdisplays utilize specialized materials and manufacturing techniques to create bendable, lightweight display screens. These displays incorporate flexible substrates, organic light-emitting diodes (OLEDs), or other pliable electronic components that maintain functionality while being bent or curved. The flexibility enables new form factors and applications not possible with traditional rigid displays, including wearable devices, foldable screens, and displays that can conform to non-flat surfaces.
- Machine learning for display optimization: Machine learning algorithms are employed to optimize various aspects of microdisplay performance, including image quality, power consumption, and response time. These algorithms analyze usage patterns and environmental conditions to dynamically adjust display parameters such as brightness, contrast, and refresh rates. The ML models can predict user preferences and adapt the display characteristics accordingly, resulting in improved visual experience and extended battery life for portable devices.
- Integration of sensors with flexible displays: Flexible microdisplays are increasingly integrated with various sensors to enable interactive functionality and context awareness. These sensors may include touch sensors, ambient light sensors, proximity sensors, and biometric sensors. Machine learning algorithms process the sensor data to enhance user interaction, adjust display properties based on environmental conditions, and enable gesture recognition. This integration creates more intuitive and responsive display systems that can adapt to user behavior and surrounding environments.
- Advanced image processing for flexible displays: Specialized image processing techniques are developed to address the unique challenges of flexible displays, such as distortion correction when the display is bent or folded. Machine learning algorithms analyze and compensate for visual artifacts that may occur due to the flexible nature of the display. These techniques include real-time pixel compensation, color calibration that adapts to different viewing angles, and content optimization based on the current physical configuration of the flexible display.
- Manufacturing and quality control using AI: Artificial intelligence and machine learning are applied to the manufacturing process of flexible microdisplays to improve yield rates and quality control. ML algorithms detect defects and inconsistencies during production, predict potential failures, and optimize manufacturing parameters in real-time. This approach enables more efficient production of flexible displays with fewer defects, reduced waste, and improved consistency. The AI systems continuously learn from production data to refine the manufacturing process over time.
 
- 02 Machine learning for display optimizationMachine learning algorithms are employed to optimize various aspects of microdisplay performance, including image quality, power consumption, and response time. These algorithms analyze usage patterns and environmental conditions to dynamically adjust display parameters such as brightness, contrast, and refresh rates. The integration of machine learning enables adaptive displays that can self-calibrate and improve visual output based on real-time data, resulting in enhanced user experience and extended device longevity.Expand Specific Solutions
- 03 Integration of sensors with flexible displaysFlexible microdisplays are increasingly integrated with various sensors to create interactive and responsive display systems. These sensors can detect touch, pressure, ambient light, or user proximity, providing data that can be processed using machine learning algorithms. The combination of flexible display technology with embedded sensors enables new interaction paradigms and context-aware applications that can adapt to user behavior and environmental conditions.Expand Specific Solutions
- 04 AI-driven content adaptation for microdisplaysMachine learning techniques are used to intelligently adapt content for optimal viewing on microdisplays with varying sizes, resolutions, and form factors. These AI systems can automatically resize, reformat, and reprioritize visual information based on display capabilities and user preferences. The content adaptation algorithms learn from user interactions to continuously improve the presentation of information, ensuring readability and visual comfort despite the limited screen real estate of microdisplays.Expand Specific Solutions
- 05 Power efficiency through intelligent display managementMachine learning algorithms are implemented to manage power consumption in flexible microdisplays by intelligently controlling pixel activation, brightness levels, and refresh rates. These systems can predict user attention patterns and optimize display operation accordingly, activating only necessary portions of the screen or reducing power to areas not in the user's focus. The combination of flexible display technologies with AI-driven power management significantly extends battery life in portable and wearable devices.Expand Specific Solutions
Key Industry Players and Competitive Landscape
The flexible microdisplay and machine learning intersection is in an early growth phase, with the market expanding rapidly as these technologies converge to enable next-generation display applications. Key players like Samsung Display, BOE Technology, and LG Electronics are leading commercial development, while Tianma Microelectronics and OPPO are making significant advances in flexible display technologies. Research institutions such as Zhejiang University and Tongji University are contributing fundamental innovations. The technology is approaching maturity in certain applications like foldable smartphones, but remains nascent in areas requiring advanced AI integration. Companies with both display manufacturing expertise and AI capabilities (Samsung, Intel, IBM) are positioned advantageously as this cross-disciplinary field evolves toward mainstream adoption.
Samsung Electronics Co., Ltd.
Technical Solution:  Samsung has developed an integrated approach to flexible microdisplays with machine learning capabilities through their Neural Processing Units (NPUs) embedded directly into display panels. Their technology utilizes OLED-based flexible displays with integrated thin-film transistors that can process ML algorithms locally. Samsung's solution incorporates on-device machine learning for adaptive brightness, color calibration, and power management that responds to environmental conditions and user behavior patterns. Their flexible AMOLED displays feature embedded ML accelerators that enable real-time image enhancement, reducing the need for external processing. Samsung has also pioneered "display-integrated sensors" that collect visual data directly from the screen surface, which is then processed by on-panel ML algorithms to enable touch-free gesture recognition and eye-tracking capabilities without additional hardware components.
Strengths: Vertical integration of display manufacturing and semiconductor technology gives Samsung complete control over the hardware-software stack. Their extensive experience in both flexible displays and AI chipsets enables unique form factors with embedded intelligence. Weaknesses: The approach requires significant power management challenges when running ML algorithms on display panels, potentially affecting battery life in mobile applications.
BOE Technology Group Co., Ltd.
Technical Solution:  BOE has developed a comprehensive flexible microdisplay platform that integrates machine learning capabilities directly into their display architecture. Their technology utilizes ultra-thin flexible OLED panels with embedded ML processing units that enable on-screen image enhancement and adaptive display features. BOE's solution incorporates a specialized "AI Display Engine" that processes visual data in real-time to optimize content rendering based on ambient conditions and viewing angles. The company has implemented a distributed computing approach where certain ML tasks are performed directly on the display controller while more complex operations are offloaded to companion chips. Their flexible displays feature self-calibration capabilities powered by machine learning algorithms that continuously monitor panel performance and compensate for degradation over time, ensuring consistent image quality throughout the display's lifecycle. BOE has also developed specialized ML models for power optimization that dynamically adjust pixel illumination based on content, significantly reducing energy consumption in their flexible displays.
Strengths: BOE's massive production capacity allows for rapid scaling of new display technologies, and their extensive R&D in flexible substrates gives them manufacturing advantages. Their focus on integrating ML directly into display controllers reduces system complexity. Weaknesses: Their ML implementation requires specialized software development kits, creating potential barriers for third-party developers wanting to leverage the display's embedded intelligence capabilities.
Core Technologies and Breakthrough Patents
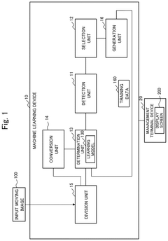
Machine learning device and machine learning system using the same 
PatentActiveUS11972328B2
 Innovation 
- A machine learning device is designed to be compatible with conventional computer systems through a general-purpose memory module interface, incorporating a data storage circuit, a machine learning logic circuit, and a controller that enables the processing and storage of machine learning data using a DIMM standard, allowing seamless integration with host devices and computer motherboards.
Machine learning device, machine learning method, and recording medium storing machine learning program 
PatentActiveUS12272035B2
 Innovation 
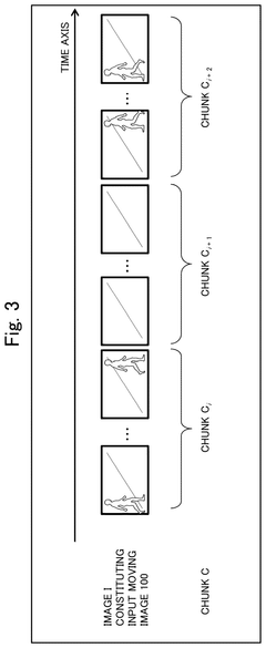
- A machine learning device that detects losses of temporal consistency and consistency associated with image conversion processing in determination results. It selects unit data based on these detection results to be used as training data when updating the learning model, thereby preferentially including data suitable for resolving data imbalance and improving accuracy.
Materials Science Advancements for Display Flexibility
The evolution of flexible microdisplays represents a significant frontier in materials science, with recent advancements creating unprecedented opportunities for integration with machine learning technologies. Traditional rigid display technologies have relied primarily on glass substrates, which impose fundamental limitations on form factor and durability. The transition to flexible displays has necessitated revolutionary developments in substrate materials, with polyimide and ultrathin glass emerging as leading candidates due to their exceptional mechanical properties and thermal stability.
Polymer-based substrates have undergone remarkable refinement, with specialized formulations achieving bend radii below 1mm while maintaining optical clarity and dimensional stability under repeated flexing cycles. These materials incorporate novel cross-linking architectures that preserve electronic performance during mechanical deformation, a critical requirement for reliable machine learning interface applications.
Transparent conductive materials have similarly evolved beyond conventional indium tin oxide (ITO), which typically fractures under bending stress. Silver nanowire networks, graphene sheets, and PEDOT:PSS composites now provide conductivity approaching that of ITO while withstanding thousands of flex cycles. These materials enable the creation of touch interfaces and sensors that maintain performance integrity even when subjected to dynamic environmental conditions.
Encapsulation technologies have advanced significantly, with multi-layer barrier films achieving water vapor transmission rates below 10^-6 g/m²/day. These ultra-high barrier properties protect sensitive organic and quantum dot materials from atmospheric degradation, extending operational lifetimes from months to years. Atomic layer deposition techniques have enabled conformal coating of nanoscale protective layers that maintain flexibility while providing hermetic protection.
Emissive layer innovations have focused on materials compatible with flexible substrates while delivering the color gamut and brightness required for machine learning visualization applications. Quantum dot-enhanced films have achieved over 90% BT.2020 color space coverage while maintaining performance under mechanical stress. Organic light-emitting materials have been engineered with molecular structures that resist crystallization during bending, preserving emission efficiency.
Thin-film transistor (TFT) backplane technologies have transitioned from amorphous silicon to oxide semiconductors and organic materials that maintain carrier mobility when flexed. Low-temperature polysilicon (LTPS) processes compatible with flexible substrates now achieve electron mobilities exceeding 100 cm²/Vs, enabling the high refresh rates and pixel densities required for real-time machine learning data visualization.
These material science breakthroughs collectively enable flexible microdisplays capable of supporting complex machine learning applications, from wearable health monitoring to adaptive user interfaces. The continued advancement of these materials will be essential for realizing the full potential of machine learning systems that can seamlessly integrate with the physical world through conformable, durable display interfaces.
Polymer-based substrates have undergone remarkable refinement, with specialized formulations achieving bend radii below 1mm while maintaining optical clarity and dimensional stability under repeated flexing cycles. These materials incorporate novel cross-linking architectures that preserve electronic performance during mechanical deformation, a critical requirement for reliable machine learning interface applications.
Transparent conductive materials have similarly evolved beyond conventional indium tin oxide (ITO), which typically fractures under bending stress. Silver nanowire networks, graphene sheets, and PEDOT:PSS composites now provide conductivity approaching that of ITO while withstanding thousands of flex cycles. These materials enable the creation of touch interfaces and sensors that maintain performance integrity even when subjected to dynamic environmental conditions.
Encapsulation technologies have advanced significantly, with multi-layer barrier films achieving water vapor transmission rates below 10^-6 g/m²/day. These ultra-high barrier properties protect sensitive organic and quantum dot materials from atmospheric degradation, extending operational lifetimes from months to years. Atomic layer deposition techniques have enabled conformal coating of nanoscale protective layers that maintain flexibility while providing hermetic protection.
Emissive layer innovations have focused on materials compatible with flexible substrates while delivering the color gamut and brightness required for machine learning visualization applications. Quantum dot-enhanced films have achieved over 90% BT.2020 color space coverage while maintaining performance under mechanical stress. Organic light-emitting materials have been engineered with molecular structures that resist crystallization during bending, preserving emission efficiency.
Thin-film transistor (TFT) backplane technologies have transitioned from amorphous silicon to oxide semiconductors and organic materials that maintain carrier mobility when flexed. Low-temperature polysilicon (LTPS) processes compatible with flexible substrates now achieve electron mobilities exceeding 100 cm²/Vs, enabling the high refresh rates and pixel densities required for real-time machine learning data visualization.
These material science breakthroughs collectively enable flexible microdisplays capable of supporting complex machine learning applications, from wearable health monitoring to adaptive user interfaces. The continued advancement of these materials will be essential for realizing the full potential of machine learning systems that can seamlessly integrate with the physical world through conformable, durable display interfaces.
Energy Efficiency and Power Management Considerations
The integration of flexible microdisplays with machine learning systems presents significant challenges in energy efficiency and power management. These displays require continuous power for operation, while machine learning algorithms demand substantial computational resources. In wearable and portable applications, where battery life is critical, optimizing energy consumption becomes paramount for commercial viability.
Current flexible microdisplay technologies exhibit varying power requirements. OLED-based flexible displays typically consume 0.2-1.0 W depending on content brightness and pixel activation patterns. E-ink technologies offer superior power efficiency for static content at 0.01-0.05 W but struggle with video applications. Micro-LED displays show promise with power consumption of 0.1-0.5 W while maintaining high brightness and contrast ratios.
Machine learning operations compound these energy challenges. On-device inference for image recognition or gesture control can consume 0.3-2.0 W depending on model complexity and processing frequency. This creates a significant power management challenge when combined with display requirements in constrained form factors.
Several innovative approaches are emerging to address these challenges. Dynamic refresh rate technologies adjust display update frequency based on content requirements, potentially reducing power consumption by 30-50% during periods of limited user interaction. Content-adaptive brightness control leverages ML algorithms to optimize display luminance based on ambient conditions and viewed content, achieving 15-25% energy savings.
Hardware-level innovations include specialized low-power ML accelerators that reduce inference energy requirements by 5-10x compared to general-purpose processors. Heterogeneous computing architectures distribute workloads across specialized processing units optimized for specific operations, improving overall system efficiency.
Power harvesting technologies represent another promising direction, with flexible photovoltaic cells integrated into display bezels capturing ambient light to supplement battery power. Early implementations demonstrate energy recovery of 5-15% under optimal lighting conditions. Thermal energy harvesting from body heat shows potential for wearable applications, though with more modest returns of 1-3% of total system requirements.
Future research directions include neuromorphic computing approaches that mimic brain function for dramatically lower power ML operations, potentially reducing energy requirements by 100-1000x for specific applications. Additionally, materials science advancements in display technologies continue to lower inherent power requirements while maintaining or improving visual performance metrics.
Current flexible microdisplay technologies exhibit varying power requirements. OLED-based flexible displays typically consume 0.2-1.0 W depending on content brightness and pixel activation patterns. E-ink technologies offer superior power efficiency for static content at 0.01-0.05 W but struggle with video applications. Micro-LED displays show promise with power consumption of 0.1-0.5 W while maintaining high brightness and contrast ratios.
Machine learning operations compound these energy challenges. On-device inference for image recognition or gesture control can consume 0.3-2.0 W depending on model complexity and processing frequency. This creates a significant power management challenge when combined with display requirements in constrained form factors.
Several innovative approaches are emerging to address these challenges. Dynamic refresh rate technologies adjust display update frequency based on content requirements, potentially reducing power consumption by 30-50% during periods of limited user interaction. Content-adaptive brightness control leverages ML algorithms to optimize display luminance based on ambient conditions and viewed content, achieving 15-25% energy savings.
Hardware-level innovations include specialized low-power ML accelerators that reduce inference energy requirements by 5-10x compared to general-purpose processors. Heterogeneous computing architectures distribute workloads across specialized processing units optimized for specific operations, improving overall system efficiency.
Power harvesting technologies represent another promising direction, with flexible photovoltaic cells integrated into display bezels capturing ambient light to supplement battery power. Early implementations demonstrate energy recovery of 5-15% under optimal lighting conditions. Thermal energy harvesting from body heat shows potential for wearable applications, though with more modest returns of 1-3% of total system requirements.
Future research directions include neuromorphic computing approaches that mimic brain function for dramatically lower power ML operations, potentially reducing energy requirements by 100-1000x for specific applications. Additionally, materials science advancements in display technologies continue to lower inherent power requirements while maintaining or improving visual performance metrics.
 Unlock deeper insights with  Patsnap Eureka Quick Research — get a full tech report to explore trends and direct your research. Try now! 
 Generate Your Research Report Instantly with AI Agent 
 Supercharge your innovation with Patsnap Eureka AI Agent Platform! 







