Measure Atomic Force Microscopy Cantilever Resonance Decay — Techniques
SEP 19, 20259 MIN READ
Generate Your Research Report Instantly with AI Agent
Patsnap Eureka helps you evaluate technical feasibility & market potential.
AFM Cantilever Resonance Decay Background and Objectives
Atomic Force Microscopy (AFM) has evolved significantly since its invention in 1986 by Binnig, Quate, and Gerber. This scanning probe microscopy technique has become fundamental in nanoscale characterization across multiple scientific disciplines. The cantilever, a key component of AFM systems, exhibits resonance behavior that contains valuable information about sample-tip interactions and material properties at the nanoscale level.
The study of cantilever resonance decay in AFM represents a critical area of investigation that has gained increasing attention over the past decade. This resonance phenomenon occurs when the cantilever oscillation amplitude diminishes over time after excitation, providing insights into energy dissipation mechanisms at the nanoscale. Understanding these decay patterns enables researchers to extract information about viscoelastic properties, adhesion forces, and molecular interactions that would otherwise remain inaccessible through conventional AFM measurements.
Historically, AFM cantilever dynamics were primarily studied in steady-state conditions. However, the transient behavior during resonance decay offers complementary and often more sensitive information about sample-probe interactions. Early techniques for measuring resonance decay relied on simple ring-down measurements, but technological advancements have enabled more sophisticated approaches with higher temporal resolution and sensitivity.
The evolution of this field has been driven by both theoretical developments in nanomechanics and practical improvements in instrumentation. Significant milestones include the development of frequency-modulation AFM in the 1990s, the introduction of multi-frequency techniques in the 2000s, and recent advances in high-speed data acquisition systems that can capture cantilever dynamics with unprecedented precision.
The primary objective of current research in AFM cantilever resonance decay measurement is to develop robust, reproducible techniques that can quantitatively characterize energy dissipation mechanisms at the nanoscale with high spatial and temporal resolution. This includes improving signal-to-noise ratios, developing standardized measurement protocols, and creating analytical frameworks for interpreting complex decay patterns.
Additional goals include extending these techniques to various environmental conditions (liquid, vacuum, variable temperature), integrating them with other AFM modalities, and establishing correlations between resonance decay parameters and specific material properties. There is also significant interest in applying machine learning approaches to extract meaningful patterns from the complex datasets generated by these measurements.
The ultimate aim is to transform resonance decay measurements from specialized research tools into standard analytical techniques that can be routinely applied across disciplines ranging from materials science and biophysics to semiconductor manufacturing and pharmaceutical development. This would enable new insights into dynamic processes at interfaces, viscoelastic behavior of soft materials, and energy dissipation mechanisms in complex systems.
The study of cantilever resonance decay in AFM represents a critical area of investigation that has gained increasing attention over the past decade. This resonance phenomenon occurs when the cantilever oscillation amplitude diminishes over time after excitation, providing insights into energy dissipation mechanisms at the nanoscale. Understanding these decay patterns enables researchers to extract information about viscoelastic properties, adhesion forces, and molecular interactions that would otherwise remain inaccessible through conventional AFM measurements.
Historically, AFM cantilever dynamics were primarily studied in steady-state conditions. However, the transient behavior during resonance decay offers complementary and often more sensitive information about sample-probe interactions. Early techniques for measuring resonance decay relied on simple ring-down measurements, but technological advancements have enabled more sophisticated approaches with higher temporal resolution and sensitivity.
The evolution of this field has been driven by both theoretical developments in nanomechanics and practical improvements in instrumentation. Significant milestones include the development of frequency-modulation AFM in the 1990s, the introduction of multi-frequency techniques in the 2000s, and recent advances in high-speed data acquisition systems that can capture cantilever dynamics with unprecedented precision.
The primary objective of current research in AFM cantilever resonance decay measurement is to develop robust, reproducible techniques that can quantitatively characterize energy dissipation mechanisms at the nanoscale with high spatial and temporal resolution. This includes improving signal-to-noise ratios, developing standardized measurement protocols, and creating analytical frameworks for interpreting complex decay patterns.
Additional goals include extending these techniques to various environmental conditions (liquid, vacuum, variable temperature), integrating them with other AFM modalities, and establishing correlations between resonance decay parameters and specific material properties. There is also significant interest in applying machine learning approaches to extract meaningful patterns from the complex datasets generated by these measurements.
The ultimate aim is to transform resonance decay measurements from specialized research tools into standard analytical techniques that can be routinely applied across disciplines ranging from materials science and biophysics to semiconductor manufacturing and pharmaceutical development. This would enable new insights into dynamic processes at interfaces, viscoelastic behavior of soft materials, and energy dissipation mechanisms in complex systems.
Market Applications for Cantilever Resonance Decay Measurements
The market for cantilever resonance decay measurements in Atomic Force Microscopy (AFM) spans multiple high-value sectors where precision material characterization is critical. In the semiconductor industry, these measurements enable quality control during chip fabrication by detecting nanoscale defects and variations in material properties that could affect device performance. As semiconductor nodes continue shrinking below 3nm, the demand for such high-precision measurement techniques has grown significantly, with the semiconductor metrology market currently valued at approximately $5.7 billion.
In materials science research, cantilever resonance decay measurements provide crucial insights into viscoelastic properties, surface adhesion, and energy dissipation mechanisms at the nanoscale. This capability is particularly valuable for developing advanced materials like high-performance polymers, composites, and nanomaterials, supporting a research instrumentation market segment worth over $2.3 billion annually.
The life sciences sector represents another substantial market, where these measurements help characterize biological samples including cells, tissues, and biomolecules. The ability to measure mechanical properties of biological materials non-destructively has applications in drug development, disease diagnosis, and fundamental biological research. The biomedical applications of AFM technologies alone constitute a market approaching $1.8 billion, with consistent annual growth rates exceeding 7%.
In the energy sector, cantilever resonance decay measurements assist in developing and optimizing energy storage materials, catalysts, and thin-film solar cells. The technique's ability to correlate nanomechanical properties with performance characteristics drives innovation in battery technology and renewable energy systems, supporting a specialized instrumentation market worth approximately $1.2 billion.
The aerospace and automotive industries utilize these measurements for quality assurance of advanced materials and coatings, where nanoscale mechanical properties directly impact product performance and durability. This application segment represents a market valued at roughly $900 million annually.
Emerging applications include quantum computing, where ultra-sensitive cantilever measurements help characterize quantum materials and devices, and environmental monitoring, where functionalized cantilevers can detect specific chemical or biological agents at extremely low concentrations. These emerging sectors are projected to grow at compound annual rates exceeding 15% over the next five years.
The overall market for advanced AFM techniques, including cantilever resonance decay measurements, is expected to reach $8.4 billion by 2028, driven by increasing demand for nanoscale characterization across these diverse application areas.
In materials science research, cantilever resonance decay measurements provide crucial insights into viscoelastic properties, surface adhesion, and energy dissipation mechanisms at the nanoscale. This capability is particularly valuable for developing advanced materials like high-performance polymers, composites, and nanomaterials, supporting a research instrumentation market segment worth over $2.3 billion annually.
The life sciences sector represents another substantial market, where these measurements help characterize biological samples including cells, tissues, and biomolecules. The ability to measure mechanical properties of biological materials non-destructively has applications in drug development, disease diagnosis, and fundamental biological research. The biomedical applications of AFM technologies alone constitute a market approaching $1.8 billion, with consistent annual growth rates exceeding 7%.
In the energy sector, cantilever resonance decay measurements assist in developing and optimizing energy storage materials, catalysts, and thin-film solar cells. The technique's ability to correlate nanomechanical properties with performance characteristics drives innovation in battery technology and renewable energy systems, supporting a specialized instrumentation market worth approximately $1.2 billion.
The aerospace and automotive industries utilize these measurements for quality assurance of advanced materials and coatings, where nanoscale mechanical properties directly impact product performance and durability. This application segment represents a market valued at roughly $900 million annually.
Emerging applications include quantum computing, where ultra-sensitive cantilever measurements help characterize quantum materials and devices, and environmental monitoring, where functionalized cantilevers can detect specific chemical or biological agents at extremely low concentrations. These emerging sectors are projected to grow at compound annual rates exceeding 15% over the next five years.
The overall market for advanced AFM techniques, including cantilever resonance decay measurements, is expected to reach $8.4 billion by 2028, driven by increasing demand for nanoscale characterization across these diverse application areas.
Current Techniques and Challenges in AFM Resonance Decay Analysis
The measurement of cantilever resonance decay in Atomic Force Microscopy (AFM) represents a critical aspect of nanoscale characterization techniques. Currently, several methodologies exist for analyzing this phenomenon, each with distinct advantages and limitations. The ring-down method stands as the most traditional approach, where the cantilever is excited at its resonance frequency and then allowed to freely oscillate while the decay envelope is recorded. This technique provides direct measurement of the quality factor (Q-factor) but requires specialized hardware for precise timing control and high-speed data acquisition.
Frequency domain analysis offers an alternative approach, utilizing the frequency response function to determine resonance characteristics. By measuring the width of the resonance peak at half-maximum amplitude, researchers can calculate the Q-factor without time-domain measurements. However, this method assumes linear system behavior and may introduce errors when nonlinear effects are present in the cantilever-sample interaction.
Thermal noise analysis has gained prominence for its non-invasive nature, as it requires no external excitation. By analyzing the power spectral density of the cantilever's thermal fluctuations, researchers can extract resonance parameters. While advantageous for delicate samples, this technique suffers from low signal-to-noise ratios and requires longer acquisition times to achieve reliable results.
Phase-locked loop (PLL) systems represent a more advanced approach, continuously tracking resonance frequency and phase during measurements. These systems can provide real-time monitoring of resonance decay but introduce additional complexity and cost to AFM instrumentation.
Despite these advances, significant challenges persist in resonance decay analysis. Environmental factors such as temperature fluctuations, humidity, and acoustic noise can substantially affect measurements, necessitating controlled experimental conditions. The nonlinear behavior of cantilevers near surfaces complicates interpretation, as the simple harmonic oscillator model becomes inadequate when tip-sample interactions become significant.
Signal processing limitations present another obstacle, particularly for high-Q cantilevers where decay times extend beyond practical measurement windows. Conversely, for low-Q systems, rapid decay challenges the temporal resolution of detection systems. The trade-off between measurement speed and accuracy remains a persistent issue in the field.
Calibration and standardization represent ongoing challenges, with variations in experimental setups making cross-laboratory comparisons difficult. The lack of universally accepted protocols for resonance decay measurements hampers reproducibility and validation of research findings.
Recent developments have focused on multimodal approaches that simultaneously analyze multiple resonance modes, providing more comprehensive characterization of cantilever dynamics. Machine learning algorithms are increasingly being applied to extract meaningful parameters from complex decay patterns, potentially overcoming some traditional analysis limitations.
Frequency domain analysis offers an alternative approach, utilizing the frequency response function to determine resonance characteristics. By measuring the width of the resonance peak at half-maximum amplitude, researchers can calculate the Q-factor without time-domain measurements. However, this method assumes linear system behavior and may introduce errors when nonlinear effects are present in the cantilever-sample interaction.
Thermal noise analysis has gained prominence for its non-invasive nature, as it requires no external excitation. By analyzing the power spectral density of the cantilever's thermal fluctuations, researchers can extract resonance parameters. While advantageous for delicate samples, this technique suffers from low signal-to-noise ratios and requires longer acquisition times to achieve reliable results.
Phase-locked loop (PLL) systems represent a more advanced approach, continuously tracking resonance frequency and phase during measurements. These systems can provide real-time monitoring of resonance decay but introduce additional complexity and cost to AFM instrumentation.
Despite these advances, significant challenges persist in resonance decay analysis. Environmental factors such as temperature fluctuations, humidity, and acoustic noise can substantially affect measurements, necessitating controlled experimental conditions. The nonlinear behavior of cantilevers near surfaces complicates interpretation, as the simple harmonic oscillator model becomes inadequate when tip-sample interactions become significant.
Signal processing limitations present another obstacle, particularly for high-Q cantilevers where decay times extend beyond practical measurement windows. Conversely, for low-Q systems, rapid decay challenges the temporal resolution of detection systems. The trade-off between measurement speed and accuracy remains a persistent issue in the field.
Calibration and standardization represent ongoing challenges, with variations in experimental setups making cross-laboratory comparisons difficult. The lack of universally accepted protocols for resonance decay measurements hampers reproducibility and validation of research findings.
Recent developments have focused on multimodal approaches that simultaneously analyze multiple resonance modes, providing more comprehensive characterization of cantilever dynamics. Machine learning algorithms are increasingly being applied to extract meaningful parameters from complex decay patterns, potentially overcoming some traditional analysis limitations.
Established Methods for Measuring Cantilever Resonance Decay
01 Resonance decay measurement techniques in AFM
Various techniques are employed to measure and analyze the resonance decay of atomic force microscopy cantilevers. These methods involve exciting the cantilever at its resonant frequency and then monitoring how the oscillation amplitude decays over time. The decay characteristics provide valuable information about the cantilever's mechanical properties and its interaction with the sample surface. Advanced signal processing algorithms can be applied to extract parameters such as quality factor and damping coefficient from the decay curve.- Resonance decay measurement techniques in AFM: Various techniques are employed to measure and analyze the resonance decay of atomic force microscopy cantilevers. These methods involve exciting the cantilever at its resonant frequency and then monitoring how the oscillation amplitude decays over time. The decay characteristics provide valuable information about the cantilever's mechanical properties and its interaction with the sample surface. Advanced signal processing algorithms can be applied to extract parameters such as quality factor and damping coefficient from the decay curve.
- Cantilever design optimization for resonance applications: The design of AFM cantilevers can be optimized to achieve specific resonance characteristics. Factors such as cantilever geometry, material composition, and coating layers significantly influence resonance behavior and decay properties. Specialized cantilever designs may incorporate features that enhance sensitivity, stability, or quality factor. These optimizations can improve measurement precision and enable detection of subtle sample properties through careful analysis of resonance decay patterns.
- Environmental effects on cantilever resonance decay: The surrounding environment significantly impacts cantilever resonance decay in atomic force microscopy. Factors such as air pressure, humidity, temperature, and medium viscosity alter the damping forces acting on the cantilever, thereby affecting its resonance decay characteristics. Vacuum environments typically result in higher quality factors and slower decay rates compared to measurements in air or liquid. Understanding and controlling these environmental influences is crucial for accurate and reproducible AFM measurements based on cantilever resonance properties.
- Resonance decay analysis for material characterization: Cantilever resonance decay analysis provides valuable information for characterizing material properties at the nanoscale. By examining how the resonance of an AFM cantilever decays when interacting with different materials, researchers can determine properties such as elasticity, viscoelasticity, adhesion, and energy dissipation mechanisms. This approach enables non-destructive investigation of soft materials, thin films, and biological samples where traditional contact methods might cause damage or produce inaccurate results.
- Advanced instrumentation for resonance decay monitoring: Specialized instrumentation has been developed to precisely monitor and analyze cantilever resonance decay in atomic force microscopy. These systems incorporate high-speed data acquisition hardware, phase-locked loops, digital signal processors, and specialized feedback mechanisms. Some advanced setups employ laser Doppler vibrometry, interferometric detection, or electrical readout methods to capture the subtle dynamics of cantilever oscillation with high temporal resolution. This instrumentation enables researchers to extract detailed information about tip-sample interactions from the resonance decay behavior.
02 Cantilever design optimization for resonance stability
The design of AFM cantilevers can be optimized to control resonance decay characteristics. Factors such as cantilever geometry, material composition, and coating layers significantly affect the resonance behavior. Specialized cantilever designs incorporate features that minimize unwanted resonance decay while maintaining sensitivity to sample interactions. These optimizations may include structural modifications to reduce internal damping, surface treatments to enhance stability, or the integration of specific materials with superior mechanical properties.Expand Specific Solutions03 Environmental effects on cantilever resonance decay
Environmental conditions significantly impact the resonance decay behavior of AFM cantilevers. Factors such as temperature, humidity, pressure, and surrounding medium (liquid, vacuum, or air) alter the damping characteristics and resonant frequency of the cantilever. Understanding and controlling these environmental influences is crucial for accurate measurements, especially in applications requiring high precision. Specialized chambers and control systems can be implemented to maintain stable environmental conditions during measurements.Expand Specific Solutions04 Signal processing algorithms for resonance decay analysis
Advanced signal processing algorithms are developed to analyze cantilever resonance decay in atomic force microscopy. These algorithms extract meaningful parameters from the decay signal, such as quality factor, resonant frequency, and damping coefficient. Machine learning and artificial intelligence approaches can be applied to interpret complex decay patterns and correlate them with sample properties. Real-time processing techniques enable dynamic adjustment of measurement parameters based on the observed resonance behavior.Expand Specific Solutions05 Applications of cantilever resonance decay measurements
Cantilever resonance decay measurements in AFM have diverse applications across scientific and industrial fields. These include material characterization, where decay patterns reveal viscoelastic properties; biological imaging, where resonance changes detect biomolecular interactions; and nanomechanical analysis, where decay characteristics correlate with local mechanical properties. The technique is also valuable for quality control in nanofabrication, environmental monitoring of nanoparticles, and fundamental research in surface science and molecular dynamics.Expand Specific Solutions
Leading Manufacturers and Research Groups in AFM Instrumentation
The atomic force microscopy cantilever resonance decay measurement technology landscape is currently in a growth phase, with an estimated market size of $300-400 million and expanding at 8-10% annually. The competitive field features established scientific instrument manufacturers like Oxford Instruments Asylum Research, JEOL, and Agilent Technologies, who lead with mature commercial solutions. Academic institutions including Shanghai Institute of Microsystem & Information Technology, Tianjin University, and Swiss Federal Institute of Technology are advancing fundamental research in this domain. The technology shows moderate maturity in standard applications but remains actively developing for specialized measurements, with companies like Keysight Technologies and Hitachi investing in next-generation capabilities that offer higher sensitivity and resolution for nanoscale characterization.
Oxford Instruments Asylum Research, Inc.
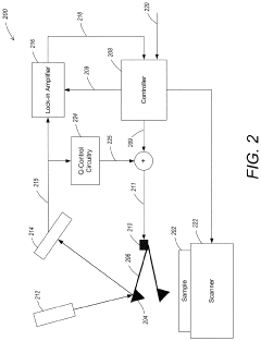
Technical Solution: Oxford Instruments Asylum Research has developed advanced resonance decay measurement techniques for atomic force microscopy cantilevers through their proprietary Bluedrive photothermal excitation technology. This approach uses a blue laser to directly excite the cantilever at its base, avoiding the "forest of peaks" problem associated with acoustic excitation methods. Their systems implement Q-controlled feedback loops that can artificially modify the cantilever's effective Q-factor, allowing researchers to precisely control damping characteristics during measurements. The company's Cypher series AFMs incorporate sophisticated digital signal processing algorithms that enable real-time analysis of cantilever resonance decay, providing high-precision measurements of material properties including viscoelasticity and energy dissipation at the nanoscale. Their technology allows for measurement of Q factors exceeding 100,000 in vacuum environments, with temporal resolution in the microsecond range for decay measurements.
Strengths: Proprietary photothermal excitation provides cleaner resonance peaks and more accurate Q measurements compared to acoustic methods. Their systems offer exceptional signal-to-noise ratio and stability for precise decay measurements. Weaknesses: Higher cost compared to standard AFM systems, and their specialized hardware may require additional training for effective use. The photothermal excitation approach may introduce local heating effects that could influence measurements in temperature-sensitive samples.
JEOL Ltd.
Technical Solution: JEOL has pioneered hybrid measurement techniques for atomic force microscopy cantilever resonance decay through their JSPM-5200 scanning probe microscope platform. Their approach integrates frequency modulation (FM) detection with phase-locked loop (PLL) technology to enable precise tracking of cantilever resonance frequency shifts and decay characteristics. JEOL's systems implement a multi-harmonic excitation methodology that allows simultaneous monitoring of multiple resonance modes, providing comprehensive mechanical property mapping. Their proprietary digital signal processing architecture achieves temporal resolution below 10 microseconds for decay measurements, enabling the capture of rapid dissipation processes. JEOL's technology incorporates adaptive Q-control algorithms that can modify the effective damping of the cantilever in real-time, allowing researchers to optimize measurement sensitivity for specific sample types. Their systems also feature automated calibration routines that account for environmental factors affecting cantilever dynamics, ensuring measurement reproducibility across different operating conditions.
Strengths: Exceptional integration with electron microscopy systems allows correlative measurements across multiple length scales. Their multi-harmonic approach provides richer information about sample-tip interactions than single-mode measurements. Weaknesses: Complex operation requiring significant expertise to fully utilize advanced features. Their systems typically have lower bandwidth for high-frequency measurements compared to some specialized competitors.
Key Technical Innovations in Resonance Decay Detection
Tuned oscillator atomic force microscopy methods and apparatus
PatentActiveUS11162977B2
Innovation
- The introduction of tuned oscillation atomic force microscopy (TO-AFM) mode, where operational parameters such as quality factor and free oscillation amplitude are selected to ensure a single stable oscillation state, allowing for precise control of the cantilever's oscillation and avoiding instabilities, using electronic Q-control to maintain a desired quality factor and amplitude compatible with measurement bandwidths.
A method to measure nanoscale mechanical properties using atomic force microscopy without initially characterizing cantilever tip geometry
PatentInactiveUS20180364277A1
Innovation
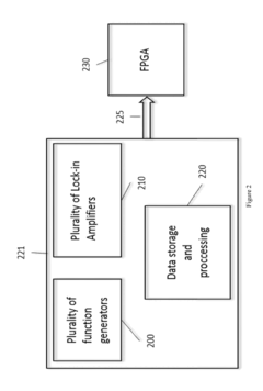
- The method employs harmonic amplitude spectrum atomic force microscopy (HAS-AFM) with a field programmable gate array (FPGA) to drive the cantilever at multiple frequencies and apply a novel model of dynamic contact mechanics to determine reduced Young's modulus and bulk damping parameters by analyzing cantilever response, accounting for sample dynamics and eliminating the need for separate tip geometry characterization.
Calibration Standards and Measurement Accuracy
Accurate calibration of atomic force microscopy (AFM) cantilever resonance measurements is essential for reliable quantitative analysis. The field has developed several standardized calibration methods that serve as benchmarks for ensuring measurement accuracy across different instruments and experimental conditions.
Primary calibration standards for AFM cantilever resonance decay measurements include reference cantilevers with well-characterized properties. These standards, often manufactured from single-crystal silicon or silicon nitride, have precisely defined dimensions, spring constants, and resonance frequencies that have been verified through multiple independent measurement techniques. Organizations such as the National Institute of Standards and Technology (NIST) and the International Organization for Standardization (ISO) have established protocols for the production and certification of these reference materials.
Measurement accuracy in cantilever resonance decay analysis depends significantly on environmental control. Temperature fluctuations can alter the mechanical properties of cantilevers, while humidity variations affect the quality factor through changes in air damping. Leading laboratories maintain temperature stability within ±0.1°C and relative humidity within ±2% to minimize these effects. Vacuum-based measurements further improve accuracy by eliminating air damping entirely, though they introduce additional calibration challenges.
Signal-to-noise ratio (SNR) represents another critical factor affecting measurement accuracy. Modern AFM systems employ lock-in amplifiers and phase-locked loops to enhance SNR, with state-of-the-art systems achieving ratios exceeding 1000:1 for resonance measurements. This high SNR allows for detection of quality factor changes as small as 0.1%, essential for sensitive material characterization applications.
Traceability chains have been established to link individual laboratory measurements to international standards. These chains typically involve a hierarchy of reference cantilevers, from primary standards maintained by national metrology institutes to secondary standards used in industrial and academic settings. Regular cross-validation between laboratories helps identify systematic errors and improve measurement protocols.
Quantification of measurement uncertainty follows the Guide to the Expression of Uncertainty in Measurement (GUM) framework. For cantilever resonance decay measurements, combined standard uncertainty typically ranges from 1-5%, with contributions from cantilever calibration (0.5-2%), environmental factors (0.3-1%), detection system limitations (0.2-1%), and data analysis methods (0.5-2%). Advanced uncertainty analysis techniques, including Monte Carlo simulations, are increasingly used to provide more comprehensive uncertainty estimates for complex measurement scenarios.
Primary calibration standards for AFM cantilever resonance decay measurements include reference cantilevers with well-characterized properties. These standards, often manufactured from single-crystal silicon or silicon nitride, have precisely defined dimensions, spring constants, and resonance frequencies that have been verified through multiple independent measurement techniques. Organizations such as the National Institute of Standards and Technology (NIST) and the International Organization for Standardization (ISO) have established protocols for the production and certification of these reference materials.
Measurement accuracy in cantilever resonance decay analysis depends significantly on environmental control. Temperature fluctuations can alter the mechanical properties of cantilevers, while humidity variations affect the quality factor through changes in air damping. Leading laboratories maintain temperature stability within ±0.1°C and relative humidity within ±2% to minimize these effects. Vacuum-based measurements further improve accuracy by eliminating air damping entirely, though they introduce additional calibration challenges.
Signal-to-noise ratio (SNR) represents another critical factor affecting measurement accuracy. Modern AFM systems employ lock-in amplifiers and phase-locked loops to enhance SNR, with state-of-the-art systems achieving ratios exceeding 1000:1 for resonance measurements. This high SNR allows for detection of quality factor changes as small as 0.1%, essential for sensitive material characterization applications.
Traceability chains have been established to link individual laboratory measurements to international standards. These chains typically involve a hierarchy of reference cantilevers, from primary standards maintained by national metrology institutes to secondary standards used in industrial and academic settings. Regular cross-validation between laboratories helps identify systematic errors and improve measurement protocols.
Quantification of measurement uncertainty follows the Guide to the Expression of Uncertainty in Measurement (GUM) framework. For cantilever resonance decay measurements, combined standard uncertainty typically ranges from 1-5%, with contributions from cantilever calibration (0.5-2%), environmental factors (0.3-1%), detection system limitations (0.2-1%), and data analysis methods (0.5-2%). Advanced uncertainty analysis techniques, including Monte Carlo simulations, are increasingly used to provide more comprehensive uncertainty estimates for complex measurement scenarios.
Signal Processing Algorithms for Resonance Data Analysis
Signal processing algorithms play a crucial role in extracting meaningful information from Atomic Force Microscopy (AFM) cantilever resonance decay measurements. These algorithms transform raw time-domain signals into interpretable frequency-domain data, enabling precise characterization of cantilever properties and sample interactions.
Fast Fourier Transform (FFT) remains the fundamental algorithm for resonance data analysis, converting time-domain oscillations into frequency spectra. However, advanced implementations such as the Chirp-Z Transform (CZT) offer superior frequency resolution in narrow bands of interest, particularly valuable for detecting subtle shifts in resonance frequencies during AFM measurements.
Wavelet transforms have emerged as powerful alternatives to traditional Fourier methods, providing simultaneous time-frequency localization. This capability proves especially valuable when analyzing non-stationary resonance decay signals, where frequency components evolve over time due to tip-sample interactions or environmental factors.
Parameter estimation algorithms, including Maximum Likelihood Estimation (MLE) and Least Squares Fitting, enable precise extraction of resonance parameters such as quality factor (Q), resonance frequency, and damping coefficient. These parameters directly correlate with material properties and interaction forces at the nanoscale, making their accurate determination essential for quantitative AFM measurements.
Digital filtering techniques, particularly adaptive filters, help improve signal-to-noise ratios in resonance measurements. Kalman filters have demonstrated exceptional performance in tracking resonance parameters in real-time, even under challenging measurement conditions with significant noise or drift.
Machine learning approaches are increasingly being integrated into resonance data analysis workflows. Convolutional Neural Networks (CNNs) and Support Vector Machines (SVMs) have shown promise in automatically classifying resonance patterns and extracting features that might be overlooked by traditional signal processing methods.
Time-frequency analysis methods, such as Short-Time Fourier Transform (STFT) and Hilbert-Huang Transform, provide insights into how resonance characteristics evolve during measurement. These techniques are particularly valuable for studying dynamic processes and transient interactions between the AFM tip and sample surface.
Recent developments in compressed sensing algorithms have enabled more efficient data acquisition, reducing measurement times while maintaining high information content. This advancement is particularly significant for high-speed AFM applications where rapid resonance measurements are essential.
Fast Fourier Transform (FFT) remains the fundamental algorithm for resonance data analysis, converting time-domain oscillations into frequency spectra. However, advanced implementations such as the Chirp-Z Transform (CZT) offer superior frequency resolution in narrow bands of interest, particularly valuable for detecting subtle shifts in resonance frequencies during AFM measurements.
Wavelet transforms have emerged as powerful alternatives to traditional Fourier methods, providing simultaneous time-frequency localization. This capability proves especially valuable when analyzing non-stationary resonance decay signals, where frequency components evolve over time due to tip-sample interactions or environmental factors.
Parameter estimation algorithms, including Maximum Likelihood Estimation (MLE) and Least Squares Fitting, enable precise extraction of resonance parameters such as quality factor (Q), resonance frequency, and damping coefficient. These parameters directly correlate with material properties and interaction forces at the nanoscale, making their accurate determination essential for quantitative AFM measurements.
Digital filtering techniques, particularly adaptive filters, help improve signal-to-noise ratios in resonance measurements. Kalman filters have demonstrated exceptional performance in tracking resonance parameters in real-time, even under challenging measurement conditions with significant noise or drift.
Machine learning approaches are increasingly being integrated into resonance data analysis workflows. Convolutional Neural Networks (CNNs) and Support Vector Machines (SVMs) have shown promise in automatically classifying resonance patterns and extracting features that might be overlooked by traditional signal processing methods.
Time-frequency analysis methods, such as Short-Time Fourier Transform (STFT) and Hilbert-Huang Transform, provide insights into how resonance characteristics evolve during measurement. These techniques are particularly valuable for studying dynamic processes and transient interactions between the AFM tip and sample surface.
Recent developments in compressed sensing algorithms have enabled more efficient data acquisition, reducing measurement times while maintaining high information content. This advancement is particularly significant for high-speed AFM applications where rapid resonance measurements are essential.
Unlock deeper insights with Patsnap Eureka Quick Research — get a full tech report to explore trends and direct your research. Try now!
Generate Your Research Report Instantly with AI Agent
Supercharge your innovation with Patsnap Eureka AI Agent Platform!







