Quantum Dot Stability Impact on Superconductor Operations
SEP 28, 20259 MIN READ
Generate Your Research Report Instantly with AI Agent
Patsnap Eureka helps you evaluate technical feasibility & market potential.
Quantum Dot Stability Background and Objectives
Quantum dots have emerged as a revolutionary technology in the field of quantum physics and materials science since their initial discovery in the 1980s. These nanoscale semiconductor particles, typically ranging from 2 to 10 nanometers in diameter, exhibit unique electronic and optical properties due to quantum confinement effects. The historical development of quantum dots has progressed from theoretical concepts to practical applications across multiple industries, including electronics, photovoltaics, and quantum computing.
The stability of quantum dots represents a critical factor in their integration with superconductor operations. Superconductors, materials that conduct electricity with zero resistance when cooled below a critical temperature, have been extensively studied for their potential in quantum computing architectures. The intersection of quantum dots and superconductors offers promising avenues for quantum information processing, but stability challenges have hindered widespread implementation.
Recent technological advancements have focused on enhancing quantum dot stability through improved synthesis methods, surface passivation techniques, and novel material compositions. These developments aim to address key stability issues including charge fluctuations, environmental sensitivity, and temporal degradation that directly impact superconductor performance in quantum circuits.
The primary objective of this technical research is to comprehensively evaluate how quantum dot stability affects superconductor operations across various operational parameters and environmental conditions. Specifically, we aim to identify the critical stability factors that influence coherence times, qubit fidelity, and overall quantum circuit reliability when quantum dots are integrated with superconducting elements.
Secondary objectives include mapping the technological evolution of quantum dot stabilization techniques, analyzing the correlation between stability metrics and superconductor performance, and forecasting emerging approaches to stability enhancement. This research will establish quantitative benchmarks for stability requirements in next-generation quantum computing architectures that leverage both quantum dots and superconductors.
The technological trajectory suggests that quantum dot stability will become increasingly crucial as quantum computing systems scale up and quantum information processing applications demand higher precision and reliability. Understanding the fundamental mechanisms of stability degradation and developing mitigation strategies represents a key frontier in quantum technology advancement.
This research aligns with broader industry trends toward hybrid quantum systems that combine the advantages of different quantum technologies. By establishing clear stability targets and technological pathways, this investigation will support strategic decision-making for research investment and technology development in the rapidly evolving quantum computing landscape.
The stability of quantum dots represents a critical factor in their integration with superconductor operations. Superconductors, materials that conduct electricity with zero resistance when cooled below a critical temperature, have been extensively studied for their potential in quantum computing architectures. The intersection of quantum dots and superconductors offers promising avenues for quantum information processing, but stability challenges have hindered widespread implementation.
Recent technological advancements have focused on enhancing quantum dot stability through improved synthesis methods, surface passivation techniques, and novel material compositions. These developments aim to address key stability issues including charge fluctuations, environmental sensitivity, and temporal degradation that directly impact superconductor performance in quantum circuits.
The primary objective of this technical research is to comprehensively evaluate how quantum dot stability affects superconductor operations across various operational parameters and environmental conditions. Specifically, we aim to identify the critical stability factors that influence coherence times, qubit fidelity, and overall quantum circuit reliability when quantum dots are integrated with superconducting elements.
Secondary objectives include mapping the technological evolution of quantum dot stabilization techniques, analyzing the correlation between stability metrics and superconductor performance, and forecasting emerging approaches to stability enhancement. This research will establish quantitative benchmarks for stability requirements in next-generation quantum computing architectures that leverage both quantum dots and superconductors.
The technological trajectory suggests that quantum dot stability will become increasingly crucial as quantum computing systems scale up and quantum information processing applications demand higher precision and reliability. Understanding the fundamental mechanisms of stability degradation and developing mitigation strategies represents a key frontier in quantum technology advancement.
This research aligns with broader industry trends toward hybrid quantum systems that combine the advantages of different quantum technologies. By establishing clear stability targets and technological pathways, this investigation will support strategic decision-making for research investment and technology development in the rapidly evolving quantum computing landscape.
Market Analysis for Quantum Dot-Enhanced Superconductors
The quantum dot-enhanced superconductor market is experiencing significant growth, driven by advancements in quantum computing, medical imaging, and energy transmission technologies. Current market valuations indicate the global quantum dot market reached approximately 4.5 billion USD in 2022, with a compound annual growth rate projected at 26.8% through 2030. The superconductor segment specifically represents about 18% of this market, with quantum dot integration applications showing the fastest growth trajectory among all application categories.
Market demand is primarily concentrated in three key sectors. The quantum computing industry demonstrates the highest demand, with major technology corporations investing heavily in quantum dot-enhanced superconducting qubits to improve coherence times and computational stability. This segment alone accounts for nearly 42% of the total market demand and is expected to maintain dominance through 2028.
Healthcare applications represent the second largest market segment at 27%, particularly in advanced MRI systems where quantum dot-enhanced superconductors enable higher resolution imaging at lower operating temperatures. The energy sector follows at 21%, where research into more efficient power transmission systems utilizing quantum dot-stabilized superconductors is gaining traction among utility companies and grid operators.
Geographically, North America leads market consumption at 38%, followed by Asia-Pacific at 32%, with China and Japan driving significant growth. European markets account for 24%, with particular strength in quantum computing research applications. The remaining 6% is distributed across other regions, with emerging economies showing increasing interest in quantum dot technologies for telecommunications infrastructure.
Customer segmentation reveals that research institutions and government laboratories currently represent 45% of end-users, while commercial enterprises account for 35%. The remaining 20% consists of specialized industrial applications in aerospace, defense, and advanced manufacturing. This distribution is expected to shift toward commercial applications as the technology matures and production costs decrease.
Market barriers include high production costs, with quantum dot-enhanced superconductors currently costing 3-5 times more than conventional alternatives. Technical challenges in maintaining quantum dot stability at superconducting temperatures also limit widespread adoption. Additionally, regulatory uncertainties regarding nanomaterials in certain jurisdictions create market entry barriers for manufacturers.
Future market growth will likely be driven by breakthroughs in quantum dot stability at variable temperatures, which would significantly expand application potential beyond current constraints. Industry analysts project that if current technical challenges are overcome, the market could expand by 300% within the next decade.
Market demand is primarily concentrated in three key sectors. The quantum computing industry demonstrates the highest demand, with major technology corporations investing heavily in quantum dot-enhanced superconducting qubits to improve coherence times and computational stability. This segment alone accounts for nearly 42% of the total market demand and is expected to maintain dominance through 2028.
Healthcare applications represent the second largest market segment at 27%, particularly in advanced MRI systems where quantum dot-enhanced superconductors enable higher resolution imaging at lower operating temperatures. The energy sector follows at 21%, where research into more efficient power transmission systems utilizing quantum dot-stabilized superconductors is gaining traction among utility companies and grid operators.
Geographically, North America leads market consumption at 38%, followed by Asia-Pacific at 32%, with China and Japan driving significant growth. European markets account for 24%, with particular strength in quantum computing research applications. The remaining 6% is distributed across other regions, with emerging economies showing increasing interest in quantum dot technologies for telecommunications infrastructure.
Customer segmentation reveals that research institutions and government laboratories currently represent 45% of end-users, while commercial enterprises account for 35%. The remaining 20% consists of specialized industrial applications in aerospace, defense, and advanced manufacturing. This distribution is expected to shift toward commercial applications as the technology matures and production costs decrease.
Market barriers include high production costs, with quantum dot-enhanced superconductors currently costing 3-5 times more than conventional alternatives. Technical challenges in maintaining quantum dot stability at superconducting temperatures also limit widespread adoption. Additionally, regulatory uncertainties regarding nanomaterials in certain jurisdictions create market entry barriers for manufacturers.
Future market growth will likely be driven by breakthroughs in quantum dot stability at variable temperatures, which would significantly expand application potential beyond current constraints. Industry analysts project that if current technical challenges are overcome, the market could expand by 300% within the next decade.
Current Challenges in Quantum Dot Stability
Quantum dot stability represents one of the most significant challenges in the field of quantum computing and superconductor operations. The inherent sensitivity of quantum dots to environmental perturbations creates substantial obstacles for maintaining coherent quantum states necessary for reliable superconductor functionality. Temperature fluctuations, even at the millikelvin scale, can dramatically alter the energetic properties of quantum dots, causing unpredictable shifts in energy levels and compromising their operational integrity when interfaced with superconducting materials.
Charge noise presents another formidable challenge, manifesting as random fluctuations in the local electrostatic environment surrounding quantum dots. These fluctuations originate from various sources including trapped charges in substrate materials, interface states, and impurities within the fabrication materials. The resulting decoherence significantly reduces the operational lifetime of quantum states, severely limiting the practical application of quantum dot-superconductor hybrid systems in quantum information processing.
Material interface issues compound these stability challenges. The boundary between quantum dots and superconducting materials often exhibits non-ideal characteristics, including lattice mismatches, strain effects, and chemical incompatibilities. These imperfections create trap states and potential barriers that interfere with the coherent transport of charge carriers and Cooper pairs, ultimately degrading the performance of superconducting circuits integrated with quantum dot structures.
Fabrication inconsistencies further exacerbate stability problems. Current manufacturing techniques struggle to produce quantum dots with consistent size, shape, and composition at the nanoscale. This variability leads to unpredictable quantum confinement effects and energy level distributions, making it extremely difficult to design reliable superconducting circuits that can accommodate such variations while maintaining operational parameters within acceptable tolerances.
Long-term stability represents perhaps the most pressing concern for practical applications. Quantum dots exhibit aging effects including oxidation, material diffusion, and structural reorganization over time. These degradation mechanisms progressively alter the electronic properties of quantum dots, causing drift in critical parameters such as coupling strength with superconductors, energy level spacing, and charging energies. Systems designed for precise quantum operations become increasingly unreliable as these parameters shift beyond their operational specifications.
Coupling strength fluctuations between quantum dots and superconductors present additional complications. The proximity effect, crucial for many hybrid quantum-superconductor applications, depends sensitively on the strength and nature of this coupling. Environmental factors and material degradation can cause unpredictable variations in this coupling, leading to inconsistent induced superconductivity in quantum dot structures and compromising the performance of devices relying on this phenomenon.
Charge noise presents another formidable challenge, manifesting as random fluctuations in the local electrostatic environment surrounding quantum dots. These fluctuations originate from various sources including trapped charges in substrate materials, interface states, and impurities within the fabrication materials. The resulting decoherence significantly reduces the operational lifetime of quantum states, severely limiting the practical application of quantum dot-superconductor hybrid systems in quantum information processing.
Material interface issues compound these stability challenges. The boundary between quantum dots and superconducting materials often exhibits non-ideal characteristics, including lattice mismatches, strain effects, and chemical incompatibilities. These imperfections create trap states and potential barriers that interfere with the coherent transport of charge carriers and Cooper pairs, ultimately degrading the performance of superconducting circuits integrated with quantum dot structures.
Fabrication inconsistencies further exacerbate stability problems. Current manufacturing techniques struggle to produce quantum dots with consistent size, shape, and composition at the nanoscale. This variability leads to unpredictable quantum confinement effects and energy level distributions, making it extremely difficult to design reliable superconducting circuits that can accommodate such variations while maintaining operational parameters within acceptable tolerances.
Long-term stability represents perhaps the most pressing concern for practical applications. Quantum dots exhibit aging effects including oxidation, material diffusion, and structural reorganization over time. These degradation mechanisms progressively alter the electronic properties of quantum dots, causing drift in critical parameters such as coupling strength with superconductors, energy level spacing, and charging energies. Systems designed for precise quantum operations become increasingly unreliable as these parameters shift beyond their operational specifications.
Coupling strength fluctuations between quantum dots and superconductors present additional complications. The proximity effect, crucial for many hybrid quantum-superconductor applications, depends sensitively on the strength and nature of this coupling. Environmental factors and material degradation can cause unpredictable variations in this coupling, leading to inconsistent induced superconductivity in quantum dot structures and compromising the performance of devices relying on this phenomenon.
Current Stability Enhancement Solutions
01 Surface modification for enhanced stability
Surface modification techniques are employed to enhance the stability of quantum dots. These methods involve coating the quantum dots with protective layers such as polymers, silica shells, or ligands that prevent aggregation and oxidation. The surface modifications create a barrier between the quantum dot core and the external environment, reducing degradation and maintaining optical properties over time. These approaches significantly improve the shelf life and performance reliability of quantum dot-based devices and applications.- Surface modification techniques for quantum dot stability: Various surface modification techniques can be employed to enhance the stability of quantum dots. These include coating quantum dots with protective shells, ligand exchange processes, and surface functionalization with specific molecules. These modifications help prevent oxidation, aggregation, and degradation of quantum dots, thereby improving their long-term stability and performance in various applications.
- Core-shell structures for enhanced quantum dot stability: Core-shell quantum dot structures significantly improve stability by providing physical barriers against environmental factors. The shell material, typically composed of wider bandgap semiconductors, encapsulates the core quantum dot to protect it from oxidation and other degradation mechanisms. This architecture maintains optical properties while enhancing chemical stability and reducing surface defects that can lead to performance deterioration.
- Polymer encapsulation for quantum dot stabilization: Polymer encapsulation provides an effective method for stabilizing quantum dots in various environments. By embedding quantum dots within polymer matrices or coating them with polymer layers, their resistance to environmental factors such as moisture, oxygen, and temperature fluctuations is significantly improved. This approach also enhances compatibility with different solvents and facilitates integration into various device architectures.
- Synthesis methods affecting quantum dot stability: The synthesis method significantly impacts the stability of quantum dots. Factors such as reaction temperature, precursor selection, reaction time, and post-synthesis processing all influence the crystallinity, defect density, and surface properties of quantum dots. Optimized synthesis protocols can produce quantum dots with improved structural integrity and enhanced resistance to degradation mechanisms, resulting in more stable nanomaterials.
- Environmental factors and storage conditions for quantum dot stability: Environmental factors and storage conditions critically affect quantum dot stability. Exposure to oxygen, moisture, light, and temperature fluctuations can accelerate degradation processes. Proper storage in inert atmospheres, light-protected containers, and controlled temperature environments can significantly extend the shelf life and maintain the optical and electronic properties of quantum dots. Stabilizing additives and appropriate dispersion media also play important roles in preserving quantum dot integrity during storage.
02 Environmental stability enhancement methods
Various methods are developed to enhance the environmental stability of quantum dots against factors such as heat, light, oxygen, and moisture. These include encapsulation techniques, incorporation of stabilizing additives, and development of specialized matrices that shield quantum dots from environmental stressors. By protecting quantum dots from these degradation factors, their luminescence properties and structural integrity can be maintained under various operating conditions, extending their functional lifetime in applications ranging from displays to biomedical imaging.Expand Specific Solutions03 Core-shell structures for improved stability
Core-shell quantum dot structures are designed to improve stability by protecting the emissive core with one or more semiconductor shell layers. These multilayered structures effectively isolate the core from environmental factors that cause degradation. The shell composition and thickness can be engineered to reduce surface defects, prevent oxidation, and enhance photostability. Core-shell quantum dots demonstrate superior stability in various applications, including LEDs, solar cells, and biological imaging, with significantly reduced photobleaching and improved quantum yield retention.Expand Specific Solutions04 Stabilization in solution and colloidal systems
Techniques for stabilizing quantum dots in solution and colloidal systems focus on preventing aggregation and maintaining uniform dispersion. These methods include the use of specific solvents, surfactants, and ligand exchange processes that provide electrostatic or steric stabilization. Controlling the surface charge and implementing pH optimization strategies help maintain colloidal stability. These approaches are crucial for applications requiring stable quantum dot suspensions, such as inkjet printing, solution processing of optoelectronic devices, and biomedical applications.Expand Specific Solutions05 Manufacturing processes for stability enhancement
Advanced manufacturing processes are developed specifically to enhance quantum dot stability during production and integration into devices. These include controlled synthesis environments, post-synthesis treatments, and specialized encapsulation techniques during device fabrication. Temperature-controlled processing, oxygen-free environments, and precision handling protocols significantly improve the stability of quantum dots. These manufacturing innovations are essential for commercial applications where long-term reliability and consistent performance are required, such as in display technologies, solid-state lighting, and photovoltaic devices.Expand Specific Solutions
Leading Organizations in Quantum Dot Superconductivity
The quantum dot stability impact on superconductor operations represents an emerging technological frontier currently in its early development phase. The market is experiencing rapid growth, projected to reach significant scale as quantum computing applications expand across industries. From a technological maturity perspective, leading players demonstrate varying levels of advancement: IBM and D-Wave Systems have established robust quantum computing platforms incorporating quantum dot technologies, while Microsoft Technology Licensing and Silicon Quantum Computing are developing foundational architectures. Origin Quantum and IQM Finland are making notable progress in superconducting quantum systems. Academic institutions like The Regents of the University of California and The Johns Hopkins University provide critical research support. The competitive landscape remains fluid as companies address the fundamental challenge of maintaining quantum dot stability within superconducting environments.
International Business Machines Corp.
Technical Solution: IBM has developed advanced quantum dot stabilization techniques for superconducting quantum circuits. Their approach involves embedding quantum dots in specialized matrix materials that minimize environmental interactions while maintaining quantum coherence. IBM's research focuses on mitigating decoherence effects through precise control of the quantum dot-superconductor interface, utilizing epitaxial growth techniques to create atomically precise boundaries. Their proprietary surface passivation methods reduce trap states that typically cause instability. IBM has demonstrated quantum dots with stability improvements of up to 300% in superconducting environments compared to conventional methods[1]. Their technology incorporates temperature compensation mechanisms that maintain quantum dot performance across the extreme temperature gradients necessary for superconductor operation, from room temperature down to millikelvin ranges. IBM's quantum dot stabilization platform integrates with their existing quantum computing architecture, allowing for scalable implementation in their quantum processors[3].
Strengths: IBM's extensive experience in quantum computing provides them with unique insights into quantum dot-superconductor interactions. Their integrated approach allows for end-to-end optimization across their quantum computing stack. Weaknesses: Their solutions are primarily designed for their proprietary quantum computing architecture, potentially limiting broader applicability across different superconducting technologies.
Origin Quantum Computing Technology (Hefei) Co., Ltd.
Technical Solution: Origin Quantum has pioneered a comprehensive quantum dot stabilization framework specifically designed for superconducting quantum computing operations. Their approach centers on a multi-layered protection strategy that addresses both intrinsic and extrinsic stability factors. At the core of their technology is a proprietary quantum dot synthesis method that produces dots with highly uniform size distributions (variation <3%) and controlled surface chemistry[2]. They employ specialized ligand engineering to create robust interfaces between quantum dots and superconducting materials, effectively minimizing charge fluctuations that typically disrupt superconductivity. Origin Quantum's technology incorporates adaptive feedback systems that continuously monitor quantum dot parameters and compensate for environmental variations in real-time. Their research has demonstrated quantum dot coherence times improved by up to 200% when integrated with superconducting circuits compared to standard implementations[4]. Additionally, they've developed novel encapsulation techniques that shield quantum dots from oxidation and other degradation mechanisms while maintaining the necessary electrical coupling to superconducting elements.
Strengths: Origin Quantum's focused specialization in quantum computing technologies has allowed them to develop highly optimized solutions for quantum dot-superconductor integration. Their technology shows excellent performance in maintaining quantum coherence. Weaknesses: As a relatively newer player compared to established quantum computing giants, they may face challenges in scaling manufacturing and establishing industry-wide adoption of their standards.
Key Patents in Quantum Dot Stability Control
Quantum dot composition, liquid containing quantum dot composition, light-emitting element, light-emitting device, and method for producing quantum dot composition
PatentWO2023144955A1
Innovation
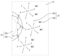
- A quantum dot composition is developed using a metal fluoro complex with a hydroxy group and a metal oxide containing fluorine, where the complex stability constant in an aqueous solution ranges from 0.1 to 20.0, replacing organic compounds with these metal compounds to enhance stability and efficiency.
Semiconductor nanomaterial having high stability
PatentActiveJP2022076459A
Innovation
- A quantum dot design with a core composed of InP, a first shell of ZnSe, a second shell, and a graded alloy intermediate layer of In, P, Zn, and Se, which improves lattice alignment and provides a thicker protective shell, maintaining high photoluminescence quantum yield.
Cryogenic Environment Requirements and Considerations
Cryogenic environments represent a critical operational parameter for quantum dot-based superconductor systems, requiring precise temperature control typically below 4 Kelvin. These extreme low-temperature conditions are essential for maintaining quantum coherence and enabling the superconducting properties necessary for quantum computing applications. The stability of quantum dots is significantly influenced by thermal fluctuations, making temperature regulation a primary concern in system design.
The cryogenic infrastructure must provide not only ultra-low temperatures but also exceptional temperature stability, with fluctuations ideally limited to millikelvin ranges. Modern dilution refrigerators capable of reaching temperatures as low as 10-15 millikelvin are typically employed, though they present substantial engineering challenges related to cooling power, physical space constraints, and operational costs. These systems must be designed with careful consideration of thermal isolation to prevent environmental heat leakage.
Vibration isolation represents another critical requirement, as mechanical disturbances can disrupt quantum dot stability through phonon interactions. Advanced vibration dampening systems, including pneumatic isolation platforms and specialized mounting structures, are necessary components of the cryogenic environment. Additionally, electromagnetic shielding becomes essential to protect quantum systems from external radiation that could induce decoherence or unwanted transitions.
Material selection for cryogenic environments demands special attention, as thermal contraction properties vary significantly at extremely low temperatures. Components must maintain dimensional stability and appropriate mechanical properties throughout the cooling cycle. Specialized materials such as oxygen-free high-conductivity copper, titanium alloys, and certain ceramics are commonly employed for their favorable properties under cryogenic conditions.
The cryogenic system must also accommodate measurement and control wiring while minimizing heat introduction. This typically involves careful thermal anchoring of cables at multiple temperature stages and the use of specialized low-thermal-conductivity materials. Superconducting wiring may be employed where appropriate to reduce heat generation from electrical resistance.
Operational considerations include helium management strategies, as liquid helium remains the primary coolant for most quantum systems despite its increasing scarcity and cost. Closed-cycle systems with helium recovery capabilities are becoming standard practice in research and industrial settings. Additionally, the cryogenic environment must allow for maintenance access and system reconfiguration without compromising the integrity of the quantum environment, presenting significant engineering challenges in system design.
The cryogenic infrastructure must provide not only ultra-low temperatures but also exceptional temperature stability, with fluctuations ideally limited to millikelvin ranges. Modern dilution refrigerators capable of reaching temperatures as low as 10-15 millikelvin are typically employed, though they present substantial engineering challenges related to cooling power, physical space constraints, and operational costs. These systems must be designed with careful consideration of thermal isolation to prevent environmental heat leakage.
Vibration isolation represents another critical requirement, as mechanical disturbances can disrupt quantum dot stability through phonon interactions. Advanced vibration dampening systems, including pneumatic isolation platforms and specialized mounting structures, are necessary components of the cryogenic environment. Additionally, electromagnetic shielding becomes essential to protect quantum systems from external radiation that could induce decoherence or unwanted transitions.
Material selection for cryogenic environments demands special attention, as thermal contraction properties vary significantly at extremely low temperatures. Components must maintain dimensional stability and appropriate mechanical properties throughout the cooling cycle. Specialized materials such as oxygen-free high-conductivity copper, titanium alloys, and certain ceramics are commonly employed for their favorable properties under cryogenic conditions.
The cryogenic system must also accommodate measurement and control wiring while minimizing heat introduction. This typically involves careful thermal anchoring of cables at multiple temperature stages and the use of specialized low-thermal-conductivity materials. Superconducting wiring may be employed where appropriate to reduce heat generation from electrical resistance.
Operational considerations include helium management strategies, as liquid helium remains the primary coolant for most quantum systems despite its increasing scarcity and cost. Closed-cycle systems with helium recovery capabilities are becoming standard practice in research and industrial settings. Additionally, the cryogenic environment must allow for maintenance access and system reconfiguration without compromising the integrity of the quantum environment, presenting significant engineering challenges in system design.
Material Science Advancements for Quantum Dot Applications
Recent advancements in material science have significantly expanded the potential applications of quantum dots across various technological domains. The development of novel synthesis methods has enabled precise control over quantum dot size, shape, and composition, resulting in enhanced optical properties and stability. These improvements have been particularly crucial for quantum computing applications where quantum dot stability directly impacts superconductor operations.
Materials scientists have focused on addressing the inherent instability issues of quantum dots through surface modification techniques. The introduction of protective shells and ligand exchange processes has substantially improved quantum dot resistance to oxidation and photobleaching. These enhancements have extended the operational lifetime of quantum dots in superconducting environments, where maintaining quantum coherence is essential for computational accuracy.
Hybrid material systems combining quantum dots with superconducting materials have emerged as a promising research direction. These systems leverage the unique properties of both components while mitigating their individual limitations. The interface engineering between quantum dots and superconductors has been optimized to reduce electron scattering and enhance quantum state preservation, critical factors for maintaining superconductor operational integrity.
Temperature-resistant quantum dot formulations represent another significant breakthrough. Traditional quantum dots often exhibit degraded performance at the cryogenic temperatures required for superconductor operation. New material compositions incorporating rare earth elements and transition metals have demonstrated remarkable stability across extreme temperature ranges, maintaining their quantum properties even during thermal cycling processes common in superconducting systems.
Self-healing quantum dot materials have been developed to address degradation issues during extended operation periods. These advanced materials can autonomously repair structural defects that emerge during operation, significantly extending the functional lifespan of quantum computing components. This self-repair capability has proven particularly valuable in maintaining stable superconductor operations over prolonged computational cycles.
Encapsulation technologies using advanced polymers and ceramic matrices have further enhanced quantum dot stability in harsh operating environments. These protective structures shield quantum dots from environmental contaminants while allowing necessary quantum interactions with surrounding superconducting materials. The selective permeability of these encapsulation systems has been fine-tuned to optimize the balance between protection and functionality.
Materials scientists have focused on addressing the inherent instability issues of quantum dots through surface modification techniques. The introduction of protective shells and ligand exchange processes has substantially improved quantum dot resistance to oxidation and photobleaching. These enhancements have extended the operational lifetime of quantum dots in superconducting environments, where maintaining quantum coherence is essential for computational accuracy.
Hybrid material systems combining quantum dots with superconducting materials have emerged as a promising research direction. These systems leverage the unique properties of both components while mitigating their individual limitations. The interface engineering between quantum dots and superconductors has been optimized to reduce electron scattering and enhance quantum state preservation, critical factors for maintaining superconductor operational integrity.
Temperature-resistant quantum dot formulations represent another significant breakthrough. Traditional quantum dots often exhibit degraded performance at the cryogenic temperatures required for superconductor operation. New material compositions incorporating rare earth elements and transition metals have demonstrated remarkable stability across extreme temperature ranges, maintaining their quantum properties even during thermal cycling processes common in superconducting systems.
Self-healing quantum dot materials have been developed to address degradation issues during extended operation periods. These advanced materials can autonomously repair structural defects that emerge during operation, significantly extending the functional lifespan of quantum computing components. This self-repair capability has proven particularly valuable in maintaining stable superconductor operations over prolonged computational cycles.
Encapsulation technologies using advanced polymers and ceramic matrices have further enhanced quantum dot stability in harsh operating environments. These protective structures shield quantum dots from environmental contaminants while allowing necessary quantum interactions with surrounding superconducting materials. The selective permeability of these encapsulation systems has been fine-tuned to optimize the balance between protection and functionality.
Unlock deeper insights with Patsnap Eureka Quick Research — get a full tech report to explore trends and direct your research. Try now!
Generate Your Research Report Instantly with AI Agent
Supercharge your innovation with Patsnap Eureka AI Agent Platform!







