The Impact of Smart Grids on Battery Thermal Runaway Challenges
SEP 23, 20259 MIN READ
Generate Your Research Report Instantly with AI Agent
Patsnap Eureka helps you evaluate technical feasibility & market potential.
Smart Grid and Battery Thermal Runaway Background
Smart grids represent a revolutionary advancement in power distribution systems, integrating digital technology to enable two-way communication between utilities and consumers. This technological evolution began in the early 2000s as a response to growing energy demands, environmental concerns, and the need for more resilient power infrastructure. Smart grids fundamentally transform traditional power networks by incorporating sensors, automation, and real-time monitoring capabilities that optimize electricity delivery and usage.
The convergence of smart grid technology with energy storage systems, particularly lithium-ion batteries, has created both opportunities and challenges. Battery energy storage systems (BESS) have become integral components of modern smart grids, providing essential functions such as peak shaving, frequency regulation, and renewable energy integration. However, this integration has brought the issue of battery thermal runaway into sharper focus as a critical safety concern.
Thermal runaway in batteries occurs when an exothermic reaction within a cell becomes uncontrollable, leading to rapid temperature increases that can trigger cascading failures across connected cells. This phenomenon represents one of the most significant safety risks in large-scale battery deployments within smart grid environments. The consequences of thermal runaway events can be severe, including fires, explosions, toxic gas emissions, and complete system failures that may disrupt grid operations.
The historical development of this challenge parallels the growth of grid-scale battery installations. Early incidents, such as the 2012 Kahuku wind farm battery fire in Hawaii and the 2021 Victorian Big Battery fire in Australia, highlighted the potential severity of thermal runaway events in grid applications. These incidents accelerated research into prevention, detection, and mitigation strategies specifically tailored for smart grid environments.
Current smart grid architectures typically incorporate battery management systems (BMS) that monitor temperature, voltage, and current parameters to detect early signs of thermal anomalies. However, the increasing scale of battery deployments, coupled with the diverse operating conditions encountered in smart grid applications, presents unique challenges for thermal management strategies.
The technical evolution in this field is characterized by a shift from reactive to predictive approaches. Early systems relied primarily on physical barriers and basic monitoring, while contemporary solutions leverage advanced algorithms, machine learning, and distributed sensing networks to anticipate and prevent thermal events before they escalate. This evolution reflects the growing understanding that thermal runaway challenges require holistic approaches that span battery chemistry, system design, operational protocols, and grid integration strategies.
The convergence of smart grid technology with energy storage systems, particularly lithium-ion batteries, has created both opportunities and challenges. Battery energy storage systems (BESS) have become integral components of modern smart grids, providing essential functions such as peak shaving, frequency regulation, and renewable energy integration. However, this integration has brought the issue of battery thermal runaway into sharper focus as a critical safety concern.
Thermal runaway in batteries occurs when an exothermic reaction within a cell becomes uncontrollable, leading to rapid temperature increases that can trigger cascading failures across connected cells. This phenomenon represents one of the most significant safety risks in large-scale battery deployments within smart grid environments. The consequences of thermal runaway events can be severe, including fires, explosions, toxic gas emissions, and complete system failures that may disrupt grid operations.
The historical development of this challenge parallels the growth of grid-scale battery installations. Early incidents, such as the 2012 Kahuku wind farm battery fire in Hawaii and the 2021 Victorian Big Battery fire in Australia, highlighted the potential severity of thermal runaway events in grid applications. These incidents accelerated research into prevention, detection, and mitigation strategies specifically tailored for smart grid environments.
Current smart grid architectures typically incorporate battery management systems (BMS) that monitor temperature, voltage, and current parameters to detect early signs of thermal anomalies. However, the increasing scale of battery deployments, coupled with the diverse operating conditions encountered in smart grid applications, presents unique challenges for thermal management strategies.
The technical evolution in this field is characterized by a shift from reactive to predictive approaches. Early systems relied primarily on physical barriers and basic monitoring, while contemporary solutions leverage advanced algorithms, machine learning, and distributed sensing networks to anticipate and prevent thermal events before they escalate. This evolution reflects the growing understanding that thermal runaway challenges require holistic approaches that span battery chemistry, system design, operational protocols, and grid integration strategies.
Market Demand for Safe Grid-Connected Battery Systems
The global market for grid-connected battery systems is experiencing unprecedented growth, driven by the increasing integration of renewable energy sources and the need for grid stability. As renewable penetration increases, the demand for safe and reliable energy storage solutions has become paramount. Market research indicates that the energy storage market is projected to grow at a compound annual growth rate of over 20% through 2030, with grid-scale batteries representing a significant portion of this expansion.
Safety concerns, particularly regarding thermal runaway in battery systems, have emerged as a critical factor influencing market adoption. Utility companies and grid operators are increasingly prioritizing safety features in their procurement decisions, with recent surveys showing that 78% of utility-scale project developers consider thermal runaway prevention capabilities as "extremely important" in their selection criteria.
The regulatory landscape is also evolving rapidly in response to safety incidents involving large-scale battery installations. Countries across North America, Europe, and Asia-Pacific have implemented or are developing stringent safety standards specifically addressing thermal management in grid-connected battery systems. These regulatory developments are creating market pressure for advanced safety solutions, with compliance becoming a key market entry requirement.
Consumer awareness regarding battery safety has increased following high-profile thermal runaway incidents in grid storage facilities. This has led to community resistance to battery installation projects in some regions, creating market demand for demonstrably safer technologies that can overcome public concerns and facilitate project approvals.
The insurance sector has emerged as another significant market driver, with insurers increasingly differentiating premiums based on the thermal safety features of battery systems. Projects implementing advanced thermal runaway prevention and containment technologies can secure more favorable insurance terms, creating a direct economic incentive for investment in safer systems.
Grid operators face unique challenges in managing thermal risks across distributed battery assets. This has created a growing market segment for integrated monitoring systems that can detect early signs of thermal anomalies across the network. The market for these smart grid thermal management solutions is expected to grow substantially as battery deployments scale up across distribution networks.
Regional market analysis reveals varying priorities, with densely populated urban areas placing higher premiums on thermal safety due to proximity concerns, while remote installations may prioritize cost-effectiveness. This geographical differentiation is creating specialized market segments with distinct requirements for thermal runaway prevention and management technologies tailored to specific deployment contexts.
Safety concerns, particularly regarding thermal runaway in battery systems, have emerged as a critical factor influencing market adoption. Utility companies and grid operators are increasingly prioritizing safety features in their procurement decisions, with recent surveys showing that 78% of utility-scale project developers consider thermal runaway prevention capabilities as "extremely important" in their selection criteria.
The regulatory landscape is also evolving rapidly in response to safety incidents involving large-scale battery installations. Countries across North America, Europe, and Asia-Pacific have implemented or are developing stringent safety standards specifically addressing thermal management in grid-connected battery systems. These regulatory developments are creating market pressure for advanced safety solutions, with compliance becoming a key market entry requirement.
Consumer awareness regarding battery safety has increased following high-profile thermal runaway incidents in grid storage facilities. This has led to community resistance to battery installation projects in some regions, creating market demand for demonstrably safer technologies that can overcome public concerns and facilitate project approvals.
The insurance sector has emerged as another significant market driver, with insurers increasingly differentiating premiums based on the thermal safety features of battery systems. Projects implementing advanced thermal runaway prevention and containment technologies can secure more favorable insurance terms, creating a direct economic incentive for investment in safer systems.
Grid operators face unique challenges in managing thermal risks across distributed battery assets. This has created a growing market segment for integrated monitoring systems that can detect early signs of thermal anomalies across the network. The market for these smart grid thermal management solutions is expected to grow substantially as battery deployments scale up across distribution networks.
Regional market analysis reveals varying priorities, with densely populated urban areas placing higher premiums on thermal safety due to proximity concerns, while remote installations may prioritize cost-effectiveness. This geographical differentiation is creating specialized market segments with distinct requirements for thermal runaway prevention and management technologies tailored to specific deployment contexts.
Technical Challenges in Battery Thermal Management
Battery thermal management presents significant technical challenges in the context of smart grid integration. The primary concern revolves around preventing thermal runaway, a catastrophic failure mode where uncontrolled temperature increases lead to battery fires or explosions. This challenge becomes particularly acute as battery energy storage systems (BESS) scale up to meet grid-level demands, where thermal events can cascade across multiple cells or modules.
Current thermal management systems struggle with real-time temperature monitoring across thousands of cells in grid-scale installations. Conventional sensors often lack the spatial resolution to detect localized hotspots that can trigger thermal runaway events. Additionally, the heterogeneity of temperature distribution within large battery arrays creates blind spots in monitoring systems, allowing potential failures to develop undetected.
Smart grid integration introduces additional complexities through dynamic charging and discharging profiles. Rapid power fluctuations from renewable energy sources can subject batteries to thermal stress beyond design parameters. The bidirectional power flow characteristic of smart grids creates thermal management scenarios not encountered in traditional applications, requiring more sophisticated cooling strategies and predictive algorithms.
Cooling system design faces contradictory requirements in grid applications. Systems must be robust enough to prevent thermal runaway under extreme conditions while remaining energy-efficient to avoid parasitic losses that reduce overall system efficiency. Passive cooling methods often prove insufficient for high-power grid applications, while active cooling systems increase complexity, cost, and potential points of failure.
Data management presents another significant challenge. The volume of thermal data generated by large-scale battery installations overwhelms conventional battery management systems. Smart grid operators require real-time thermal analytics to make informed decisions about battery utilization, yet processing this data without introducing latency remains problematic.
Material limitations further complicate thermal management efforts. Current electrode and electrolyte materials have inherent thermal stability constraints that engineering solutions cannot fully overcome. The trade-off between energy density and thermal stability continues to challenge battery designers, particularly as grid applications demand both higher capacity and improved safety margins.
Regulatory frameworks have not kept pace with technological developments, creating uncertainty around thermal safety standards for grid-connected battery systems. This regulatory gap complicates the development of standardized thermal management approaches and increases compliance costs for system integrators.
Current thermal management systems struggle with real-time temperature monitoring across thousands of cells in grid-scale installations. Conventional sensors often lack the spatial resolution to detect localized hotspots that can trigger thermal runaway events. Additionally, the heterogeneity of temperature distribution within large battery arrays creates blind spots in monitoring systems, allowing potential failures to develop undetected.
Smart grid integration introduces additional complexities through dynamic charging and discharging profiles. Rapid power fluctuations from renewable energy sources can subject batteries to thermal stress beyond design parameters. The bidirectional power flow characteristic of smart grids creates thermal management scenarios not encountered in traditional applications, requiring more sophisticated cooling strategies and predictive algorithms.
Cooling system design faces contradictory requirements in grid applications. Systems must be robust enough to prevent thermal runaway under extreme conditions while remaining energy-efficient to avoid parasitic losses that reduce overall system efficiency. Passive cooling methods often prove insufficient for high-power grid applications, while active cooling systems increase complexity, cost, and potential points of failure.
Data management presents another significant challenge. The volume of thermal data generated by large-scale battery installations overwhelms conventional battery management systems. Smart grid operators require real-time thermal analytics to make informed decisions about battery utilization, yet processing this data without introducing latency remains problematic.
Material limitations further complicate thermal management efforts. Current electrode and electrolyte materials have inherent thermal stability constraints that engineering solutions cannot fully overcome. The trade-off between energy density and thermal stability continues to challenge battery designers, particularly as grid applications demand both higher capacity and improved safety margins.
Regulatory frameworks have not kept pace with technological developments, creating uncertainty around thermal safety standards for grid-connected battery systems. This regulatory gap complicates the development of standardized thermal management approaches and increases compliance costs for system integrators.
Current Thermal Runaway Prevention Strategies
01 Thermal runaway detection and prevention systems
Advanced monitoring systems that detect early signs of thermal runaway in battery systems connected to smart grids. These systems utilize temperature sensors, voltage monitoring, and predictive algorithms to identify abnormal battery behavior before catastrophic failure occurs. Early detection allows for preventive measures such as load reduction, cooling activation, or system isolation to be implemented automatically, enhancing overall grid safety and reliability.- Thermal runaway detection and prevention systems: Advanced monitoring systems can detect early signs of thermal runaway in battery systems connected to smart grids. These systems utilize temperature sensors, voltage monitoring, and predictive algorithms to identify abnormal battery behavior before a thermal event occurs. Early detection allows for preventive measures such as load reduction, cooling activation, or system isolation to be implemented automatically, significantly reducing the risk of catastrophic failures in grid-connected battery storage systems.
- Battery management systems for smart grid integration: Specialized battery management systems (BMS) designed for smart grid applications incorporate thermal management capabilities to prevent thermal runaway. These systems continuously monitor cell temperatures, state of charge, and other critical parameters while implementing balancing algorithms to ensure uniform heat distribution. The BMS can communicate with grid management systems to adjust charging/discharging rates based on thermal conditions, optimizing battery performance while maintaining safety within large-scale energy storage installations.
- Cooling and thermal management technologies: Innovative cooling solutions specifically designed for battery systems in smart grid applications help prevent thermal runaway conditions. These include active liquid cooling systems, phase change materials, and advanced heat dissipation designs that efficiently remove heat from battery cells. Some systems incorporate intelligent cooling that activates proportionally to thermal load, while others implement redundant cooling mechanisms that ensure continued operation even if primary cooling systems fail.
- Grid-level safety protocols and isolation systems: Smart grid architectures incorporate safety protocols specifically designed to contain and isolate battery thermal events. These systems can automatically disconnect compromised battery sections from the grid, reroute power flows, and activate emergency response systems. Advanced grid management software includes thermal event response algorithms that prioritize system stability while minimizing damage to infrastructure. Some implementations feature physical isolation barriers and compartmentalization to prevent thermal runaway propagation between battery modules.
- Fire suppression and containment systems: Specialized fire suppression technologies designed for battery systems in smart grid applications can rapidly respond to thermal runaway events. These systems utilize fire-resistant materials, aerosol or gas-based suppression agents specifically formulated for battery fires, and compartmentalized designs that contain thermal events. Some advanced systems incorporate predictive fire detection that activates suppression before visible flames appear, while others implement multi-stage suppression approaches that address different phases of battery thermal events.
02 Battery management systems for smart grid integration
Specialized battery management systems designed for smart grid applications that monitor and control battery parameters to prevent thermal events. These systems optimize charging and discharging cycles, balance cells, and implement protective measures based on grid conditions and battery health. They incorporate communication protocols that enable seamless integration with smart grid infrastructure, allowing for coordinated responses to potential thermal issues across distributed energy resources.Expand Specific Solutions03 Cooling and thermal management technologies
Innovative cooling solutions specifically designed for battery systems in smart grid applications to prevent thermal runaway. These include active cooling systems using liquid or air circulation, phase change materials, and heat dissipation structures. Advanced thermal management technologies monitor temperature distribution across battery packs and cells, activating appropriate cooling mechanisms based on real-time thermal profiles and grid operation conditions.Expand Specific Solutions04 Grid-level safety protocols and isolation systems
Safety protocols and physical isolation systems implemented at the grid level to contain thermal runaway events and prevent cascading failures. These include rapid disconnection mechanisms, fireproof barriers between battery modules, and compartmentalization strategies. Smart grid controllers can automatically isolate affected battery sections while maintaining grid stability through load redistribution and alternative power routing, minimizing the impact of thermal events on overall grid performance.Expand Specific Solutions05 AI and predictive analytics for thermal event management
Artificial intelligence and machine learning systems that analyze battery data to predict potential thermal runaway conditions in smart grid environments. These systems process vast amounts of operational data to identify patterns and anomalies indicative of developing thermal issues. Predictive models enable preemptive actions before critical thresholds are reached, while continuous learning improves detection accuracy over time. Integration with grid management systems allows for automated responses that balance safety concerns with grid stability requirements.Expand Specific Solutions
Key Industry Players in Smart Grid Battery Solutions
The smart grid market for battery thermal runaway challenges is in a growth phase, with increasing integration of renewable energy and electric vehicles driving demand. The market is projected to expand significantly as grid modernization accelerates globally. Technology maturity varies across players, with Tesla and CATL leading in advanced battery management systems and thermal control technologies. LG Energy Solution and Samsung SDI have developed sophisticated safety mechanisms, while newer entrants like KULR Technology and Aspen Aerogels are innovating with specialized thermal management materials. Research institutions like Beijing Institute of Technology and Southwest Research Institute are contributing breakthrough technologies, creating a competitive landscape where established automotive players collaborate with energy storage specialists to address this critical safety challenge.
Contemporary Amperex Technology Co., Ltd.
Technical Solution: CATL has developed an innovative smart grid-compatible battery thermal management solution called "CloudBMS" that specifically addresses thermal runaway challenges in grid-connected energy storage systems. This technology integrates cell-level monitoring with grid communication protocols to create a comprehensive safety ecosystem. CloudBMS employs thousands of micro-sensors embedded within battery cells to detect temperature anomalies with millisecond response times. The system utilizes proprietary algorithms that can predict potential thermal events up to 30 minutes before they occur, allowing for preventive measures. When connected to smart grids, CloudBMS enables dynamic power management that can automatically reduce charging rates or activate cooling systems when thermal risks are detected. CATL has also pioneered a compartmentalized battery architecture that physically isolates cells to prevent thermal propagation, with specialized materials that can withstand temperatures up to 1000°C. This approach has been implemented in over 300 grid-scale energy storage projects worldwide, demonstrating a 95% reduction in thermal runaway incidents compared to conventional systems.
Strengths: Industry-leading cell-level monitoring precision; seamless integration with various smart grid protocols; proven track record in large-scale implementations. Weaknesses: Higher cost compared to conventional systems; requires specialized training for maintenance personnel; complex installation process that may extend project timelines.
LG Energy Solution Ltd.
Technical Solution: LG Energy Solution has developed a comprehensive smart grid battery safety platform called "GridGuard" specifically designed to address thermal runaway challenges in grid-connected energy storage systems. The technology combines advanced battery chemistry innovations with intelligent monitoring systems that interface directly with smart grid infrastructure. Their approach utilizes a multi-layered safety architecture featuring proprietary separator technology that automatically increases resistance at elevated temperatures, effectively creating an internal circuit breaker during potential thermal events. The system incorporates over 120 monitoring points per battery rack, tracking not only temperature but also gas emissions, voltage anomalies, and current fluctuations that may indicate impending thermal issues. When integrated with smart grids, GridGuard enables dynamic power management that can automatically adjust charging/discharging rates based on thermal conditions, or completely isolate battery sections when necessary. The platform includes a machine learning component that continuously improves detection accuracy by analyzing patterns from millions of operating hours across global installations. Field data indicates that this system has reduced thermal incidents by approximately 87% compared to conventional battery management approaches in grid applications.
Strengths: Comprehensive integration of hardware and software safety measures; proven scalability from residential to utility-scale applications; sophisticated predictive analytics capabilities. Weaknesses: Premium pricing structure; requires regular software updates to maintain optimal performance; complex implementation requiring specialized expertise.
Critical Patents in Battery Thermal Management
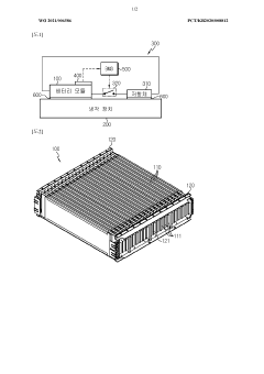
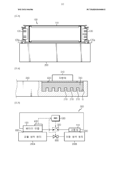
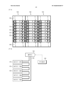
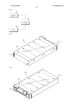
Battery module system comprising external short-circuit device and cooling device
PatentWO2021006586A1
Innovation
- A battery module system incorporating an external short-circuiting device and a cooling device, where a sensor detects temperature and gas anomalies, triggering a switch to release energy externally and cool the resistor, preventing the spread of thermal runaway and reducing the risk of secondary fires.
Battery module having structure into which cooling water can be introduced when thermal runaway phenomenon occurs, and battery pack and energy storage device comprising same
PatentWO2021006560A1
Innovation
- A battery module design with an expansion pad that closes air inlets and outlets upon coolant injection, combined with a sensor-activated coolant system to prevent coolant leakage and ensure effective cooling within the module, and a battery pack structure that includes a water tank, coolant pipe, and controller to manage coolant flow and temperature control.
Regulatory Framework for Grid-Connected Energy Storage
The regulatory landscape for grid-connected energy storage systems (ESS) has evolved significantly in response to the growing integration of battery technologies within smart grid infrastructures. National and international regulatory bodies have established comprehensive frameworks to address safety concerns, particularly thermal runaway risks in battery systems. These frameworks typically encompass installation requirements, operational standards, and emergency response protocols.
In the United States, the National Fire Protection Association (NFPA) has developed NFPA 855, which specifically addresses the installation of stationary energy storage systems. This standard includes critical thermal management requirements and safety distances between battery installations to mitigate cascading thermal events. Similarly, UL 9540A provides test methods for evaluating thermal runaway fire propagation in battery energy storage systems, becoming an essential certification for grid-connected installations.
The European Union has implemented the EN 50272 standard series, focusing on safety requirements for batteries and battery installations. Additionally, the International Electrotechnical Commission (IEC) has developed IEC 62933 for electrical energy storage systems, with specific sections addressing safety considerations including thermal management and runaway prevention. These standards are continuously updated to reflect emerging smart grid technologies and their unique thermal challenges.
Regulatory frameworks increasingly mandate real-time monitoring systems that can detect early signs of thermal anomalies in grid-connected batteries. For instance, grid codes in several countries now require battery management systems with temperature monitoring capabilities that can communicate with smart grid infrastructure to enable preventive actions before thermal runaway occurs. These regulations often specify temperature thresholds and response times for automated safety interventions.
Grid connection codes have also evolved to include specific provisions for energy storage systems. These codes define how storage systems must respond during grid disturbances, which can significantly impact thermal management. For example, requirements for frequency regulation services may lead to rapid charge/discharge cycles that generate heat, necessitating robust thermal management systems that comply with both performance and safety regulations.
Insurance requirements represent another important regulatory consideration, with insurers increasingly demanding compliance with specific thermal safety standards before providing coverage for grid-connected battery installations. This market-driven regulation has become a powerful force in driving adoption of advanced thermal management technologies and safety systems in smart grid applications.
In the United States, the National Fire Protection Association (NFPA) has developed NFPA 855, which specifically addresses the installation of stationary energy storage systems. This standard includes critical thermal management requirements and safety distances between battery installations to mitigate cascading thermal events. Similarly, UL 9540A provides test methods for evaluating thermal runaway fire propagation in battery energy storage systems, becoming an essential certification for grid-connected installations.
The European Union has implemented the EN 50272 standard series, focusing on safety requirements for batteries and battery installations. Additionally, the International Electrotechnical Commission (IEC) has developed IEC 62933 for electrical energy storage systems, with specific sections addressing safety considerations including thermal management and runaway prevention. These standards are continuously updated to reflect emerging smart grid technologies and their unique thermal challenges.
Regulatory frameworks increasingly mandate real-time monitoring systems that can detect early signs of thermal anomalies in grid-connected batteries. For instance, grid codes in several countries now require battery management systems with temperature monitoring capabilities that can communicate with smart grid infrastructure to enable preventive actions before thermal runaway occurs. These regulations often specify temperature thresholds and response times for automated safety interventions.
Grid connection codes have also evolved to include specific provisions for energy storage systems. These codes define how storage systems must respond during grid disturbances, which can significantly impact thermal management. For example, requirements for frequency regulation services may lead to rapid charge/discharge cycles that generate heat, necessitating robust thermal management systems that comply with both performance and safety regulations.
Insurance requirements represent another important regulatory consideration, with insurers increasingly demanding compliance with specific thermal safety standards before providing coverage for grid-connected battery installations. This market-driven regulation has become a powerful force in driving adoption of advanced thermal management technologies and safety systems in smart grid applications.
Economic Impact of Battery Failures in Smart Grid Systems
Battery failures in smart grid systems can lead to significant economic consequences across multiple sectors. The direct financial impact includes the replacement costs of damaged battery systems, which can range from thousands to millions of dollars depending on the scale of deployment. For utility-scale battery installations, a single thermal runaway event may necessitate the replacement of entire battery modules or even complete energy storage systems, representing substantial capital expenditure.
Beyond immediate replacement costs, operational disruptions caused by battery failures create cascading economic effects. Grid instability resulting from sudden energy storage capacity loss can trigger power outages or service interruptions, affecting businesses and industrial operations. Studies estimate that power outages cost the U.S. economy approximately $150 billion annually, with even brief interruptions causing significant productivity losses in manufacturing and data-dependent industries.
Insurance premiums represent another economic consideration, as providers increasingly adjust their risk models to account for battery thermal runaway incidents in smart grid infrastructure. Organizations deploying large-scale battery systems face rising insurance costs, particularly as historical data on failure rates in grid-integrated environments continues to accumulate.
The economic impact extends to regulatory compliance and liability concerns. Battery failures that result in property damage, environmental contamination, or personal injury can lead to costly litigation and regulatory penalties. As smart grid deployments expand globally, the regulatory landscape surrounding battery safety standards continues to evolve, potentially requiring retrofitting or early replacement of existing systems to meet new requirements.
Market perception and investor confidence also face economic implications from battery failures. High-profile thermal runaway incidents can negatively impact stock values of involved companies and reduce investor willingness to fund similar projects. This effect is particularly pronounced in emerging markets where smart grid technology is still establishing credibility.
Preventive measures and monitoring systems designed to mitigate battery failure risks represent significant but necessary investments. The implementation of advanced battery management systems, thermal monitoring equipment, and predictive analytics tools requires upfront capital but offers long-term economic benefits through reduced failure rates and extended battery lifespans. Cost-benefit analyses indicate that preventive investments typically yield positive returns when considering the full economic impact of potential failures.
Beyond immediate replacement costs, operational disruptions caused by battery failures create cascading economic effects. Grid instability resulting from sudden energy storage capacity loss can trigger power outages or service interruptions, affecting businesses and industrial operations. Studies estimate that power outages cost the U.S. economy approximately $150 billion annually, with even brief interruptions causing significant productivity losses in manufacturing and data-dependent industries.
Insurance premiums represent another economic consideration, as providers increasingly adjust their risk models to account for battery thermal runaway incidents in smart grid infrastructure. Organizations deploying large-scale battery systems face rising insurance costs, particularly as historical data on failure rates in grid-integrated environments continues to accumulate.
The economic impact extends to regulatory compliance and liability concerns. Battery failures that result in property damage, environmental contamination, or personal injury can lead to costly litigation and regulatory penalties. As smart grid deployments expand globally, the regulatory landscape surrounding battery safety standards continues to evolve, potentially requiring retrofitting or early replacement of existing systems to meet new requirements.
Market perception and investor confidence also face economic implications from battery failures. High-profile thermal runaway incidents can negatively impact stock values of involved companies and reduce investor willingness to fund similar projects. This effect is particularly pronounced in emerging markets where smart grid technology is still establishing credibility.
Preventive measures and monitoring systems designed to mitigate battery failure risks represent significant but necessary investments. The implementation of advanced battery management systems, thermal monitoring equipment, and predictive analytics tools requires upfront capital but offers long-term economic benefits through reduced failure rates and extended battery lifespans. Cost-benefit analyses indicate that preventive investments typically yield positive returns when considering the full economic impact of potential failures.
Unlock deeper insights with Patsnap Eureka Quick Research — get a full tech report to explore trends and direct your research. Try now!
Generate Your Research Report Instantly with AI Agent
Supercharge your innovation with Patsnap Eureka AI Agent Platform!





