WOLED vs LCD: Optimal Applications for Sunlight Readability
SEP 16, 20259 MIN READ
Generate Your Research Report Instantly with AI Agent
Patsnap Eureka helps you evaluate technical feasibility & market potential.
WOLED and LCD Technology Evolution and Objectives
Display technology has undergone significant evolution since its inception, with WOLED (White Organic Light Emitting Diode) and LCD (Liquid Crystal Display) representing two major branches that have shaped modern visual interfaces. The LCD technology journey began in the 1960s with the discovery of liquid crystal properties, followed by the development of the first practical LCD displays in the 1970s. These early implementations suffered from poor contrast, limited viewing angles, and slow response times. The technology saw substantial improvements through the 1980s and 1990s with the introduction of active matrix addressing, TFT (Thin Film Transistor) backplanes, and enhanced backlighting systems.
WOLED technology emerged much later, with pioneering work in the 1980s leading to the first practical OLED devices in the 1990s. WOLED specifically refers to a structure using white light emission combined with color filters, representing a significant advancement in OLED implementation that improved manufacturing efficiency while maintaining superior display characteristics. This approach has enabled WOLED to achieve commercial viability in various applications ranging from smartphones to large-format televisions.
The technical evolution of both technologies has been driven by several key objectives: improving brightness, enhancing contrast ratios, reducing power consumption, extending operational lifespan, and most critically for outdoor applications, achieving sunlight readability. This last objective represents a particular challenge as displays must compete with ambient light levels that can reach 100,000 lux in direct sunlight, compared to typical indoor environments of 300-500 lux.
For LCD technology, sunlight readability improvements have focused on enhanced backlighting systems, anti-reflective coatings, and transflective designs that can utilize ambient light. WOLED development has concentrated on increasing maximum brightness, improving efficiency at high luminance levels, and implementing polarization layers to reduce reflections.
Current technical objectives in both technologies specifically target outdoor and high-ambient-light applications. For LCDs, this includes developing more efficient high-brightness backlights exceeding 1,000 nits while maintaining reasonable power consumption. For WOLED, research focuses on extending panel lifetime at high brightness levels, reducing performance degradation under thermal stress from sunlight exposure, and improving overall efficiency to manage power consumption when operating at maximum brightness.
The convergence of these technological paths has created a competitive landscape where each technology offers distinct advantages for specific use cases in high-ambient-light environments, driving continued innovation in both fields toward optimized solutions for sunlight readability challenges.
WOLED technology emerged much later, with pioneering work in the 1980s leading to the first practical OLED devices in the 1990s. WOLED specifically refers to a structure using white light emission combined with color filters, representing a significant advancement in OLED implementation that improved manufacturing efficiency while maintaining superior display characteristics. This approach has enabled WOLED to achieve commercial viability in various applications ranging from smartphones to large-format televisions.
The technical evolution of both technologies has been driven by several key objectives: improving brightness, enhancing contrast ratios, reducing power consumption, extending operational lifespan, and most critically for outdoor applications, achieving sunlight readability. This last objective represents a particular challenge as displays must compete with ambient light levels that can reach 100,000 lux in direct sunlight, compared to typical indoor environments of 300-500 lux.
For LCD technology, sunlight readability improvements have focused on enhanced backlighting systems, anti-reflective coatings, and transflective designs that can utilize ambient light. WOLED development has concentrated on increasing maximum brightness, improving efficiency at high luminance levels, and implementing polarization layers to reduce reflections.
Current technical objectives in both technologies specifically target outdoor and high-ambient-light applications. For LCDs, this includes developing more efficient high-brightness backlights exceeding 1,000 nits while maintaining reasonable power consumption. For WOLED, research focuses on extending panel lifetime at high brightness levels, reducing performance degradation under thermal stress from sunlight exposure, and improving overall efficiency to manage power consumption when operating at maximum brightness.
The convergence of these technological paths has created a competitive landscape where each technology offers distinct advantages for specific use cases in high-ambient-light environments, driving continued innovation in both fields toward optimized solutions for sunlight readability challenges.
Market Demand Analysis for Sunlight Readable Displays
The demand for sunlight readable displays has experienced significant growth across multiple sectors in recent years, driven primarily by the increasing use of digital devices in outdoor environments. Consumer electronics, automotive displays, military equipment, marine navigation systems, and outdoor digital signage represent the key market segments where sunlight readability has become a critical requirement.
In the consumer electronics sector, smartphones and tablets face persistent challenges with screen visibility in bright outdoor conditions. Market research indicates that approximately 65% of smartphone users report difficulty reading their screens in direct sunlight, creating substantial demand for improved display technologies. This consumer pain point represents a major market opportunity for advanced display solutions.
The automotive industry has emerged as a particularly strong growth driver for sunlight readable displays. With the increasing integration of digital dashboards, infotainment systems, and advanced driver assistance systems (ADAS), the need for displays that remain visible under varying lighting conditions has become paramount for both safety and user experience. The global automotive display market is expanding rapidly, with sunlight readability being a key differentiating factor for premium vehicle manufacturers.
Military and defense applications constitute another significant market segment. These applications demand displays that maintain readability in extreme outdoor conditions while meeting stringent durability requirements. The defense sector's willingness to invest in premium display technologies for mission-critical equipment creates a high-value niche market for advanced sunlight readable solutions.
Marine navigation and outdoor recreational equipment markets also demonstrate strong demand growth. Boating, hiking, and other outdoor activities increasingly rely on digital displays that must remain readable in direct sunlight. This segment values both readability and power efficiency, as many devices operate on battery power for extended periods.
Commercial and industrial applications, particularly digital signage and field-service equipment, represent expanding market opportunities. The outdoor digital signage market continues to grow as advertisers seek more dynamic ways to reach consumers in public spaces, creating demand for displays that maintain image quality and visibility throughout varying daylight conditions.
Market analysis reveals a clear price premium for sunlight readable displays across all segments, with consumers and businesses demonstrating willingness to pay 15-30% more for displays with superior outdoor visibility. This premium pricing potential makes sunlight readable display technology an attractive area for investment and innovation.
In the consumer electronics sector, smartphones and tablets face persistent challenges with screen visibility in bright outdoor conditions. Market research indicates that approximately 65% of smartphone users report difficulty reading their screens in direct sunlight, creating substantial demand for improved display technologies. This consumer pain point represents a major market opportunity for advanced display solutions.
The automotive industry has emerged as a particularly strong growth driver for sunlight readable displays. With the increasing integration of digital dashboards, infotainment systems, and advanced driver assistance systems (ADAS), the need for displays that remain visible under varying lighting conditions has become paramount for both safety and user experience. The global automotive display market is expanding rapidly, with sunlight readability being a key differentiating factor for premium vehicle manufacturers.
Military and defense applications constitute another significant market segment. These applications demand displays that maintain readability in extreme outdoor conditions while meeting stringent durability requirements. The defense sector's willingness to invest in premium display technologies for mission-critical equipment creates a high-value niche market for advanced sunlight readable solutions.
Marine navigation and outdoor recreational equipment markets also demonstrate strong demand growth. Boating, hiking, and other outdoor activities increasingly rely on digital displays that must remain readable in direct sunlight. This segment values both readability and power efficiency, as many devices operate on battery power for extended periods.
Commercial and industrial applications, particularly digital signage and field-service equipment, represent expanding market opportunities. The outdoor digital signage market continues to grow as advertisers seek more dynamic ways to reach consumers in public spaces, creating demand for displays that maintain image quality and visibility throughout varying daylight conditions.
Market analysis reveals a clear price premium for sunlight readable displays across all segments, with consumers and businesses demonstrating willingness to pay 15-30% more for displays with superior outdoor visibility. This premium pricing potential makes sunlight readable display technology an attractive area for investment and innovation.
Current Technical Limitations in Outdoor Display Visibility
Despite significant advancements in display technology, both WOLED (White Organic Light-Emitting Diode) and LCD (Liquid Crystal Display) technologies face substantial challenges when operating in outdoor environments with high ambient light conditions, particularly direct sunlight. The fundamental limitation for both technologies stems from the competition between emitted display light and reflected ambient light, resulting in reduced contrast ratios and compromised visibility.
LCD displays utilize a backlight that must pass through multiple layers including polarizers, color filters, and liquid crystal cells. In bright sunlight, even with enhanced backlighting systems capable of 1,000-2,000 nits, the inherent reflectivity of LCD panels (typically 4-6% reflectance) significantly degrades image quality. The semi-transparent nature of the LCD matrix itself contributes to light loss, with only approximately 5-8% of backlight actually reaching the viewer in standard configurations.
WOLED displays, while offering superior contrast in controlled environments, face their own set of challenges outdoors. Without a reflective layer, OLEDs emit light directly but struggle to achieve the brightness levels necessary to overcome ambient sunlight. Current commercial WOLED panels typically max out at 600-1,000 nits, falling short of the 2,000+ nits often required for adequate sunlight readability. Additionally, WOLED displays experience accelerated degradation when driven at maximum brightness, particularly affecting blue sub-pixels.
Anti-reflective coatings represent a partial solution for both technologies, but introduce their own complications. High-quality AR coatings can reduce reflectance to approximately 1-2%, but add significant cost and are susceptible to fingerprints, scratches, and environmental degradation over time. Multi-layer coatings offer better performance but further increase manufacturing complexity and cost.
Power consumption presents another critical limitation, especially for portable devices. To achieve sunlight-readable brightness levels, LCD backlights require substantial power, while WOLED displays experience exponential power consumption increases at higher brightness settings. This creates a challenging trade-off between visibility and battery life in mobile applications.
Heat dissipation compounds these challenges, as both technologies generate significant thermal output at maximum brightness. Without adequate thermal management, displays risk performance degradation, reduced lifespan, and potential safety concerns. WOLED displays are particularly vulnerable to heat-related degradation, which can accelerate pixel aging and color shift.
Automatic brightness adjustment systems attempt to mitigate these issues but often struggle with the extreme dynamic range required between indoor and direct sunlight conditions, frequently resulting in either insufficient brightness outdoors or excessive brightness indoors.
LCD displays utilize a backlight that must pass through multiple layers including polarizers, color filters, and liquid crystal cells. In bright sunlight, even with enhanced backlighting systems capable of 1,000-2,000 nits, the inherent reflectivity of LCD panels (typically 4-6% reflectance) significantly degrades image quality. The semi-transparent nature of the LCD matrix itself contributes to light loss, with only approximately 5-8% of backlight actually reaching the viewer in standard configurations.
WOLED displays, while offering superior contrast in controlled environments, face their own set of challenges outdoors. Without a reflective layer, OLEDs emit light directly but struggle to achieve the brightness levels necessary to overcome ambient sunlight. Current commercial WOLED panels typically max out at 600-1,000 nits, falling short of the 2,000+ nits often required for adequate sunlight readability. Additionally, WOLED displays experience accelerated degradation when driven at maximum brightness, particularly affecting blue sub-pixels.
Anti-reflective coatings represent a partial solution for both technologies, but introduce their own complications. High-quality AR coatings can reduce reflectance to approximately 1-2%, but add significant cost and are susceptible to fingerprints, scratches, and environmental degradation over time. Multi-layer coatings offer better performance but further increase manufacturing complexity and cost.
Power consumption presents another critical limitation, especially for portable devices. To achieve sunlight-readable brightness levels, LCD backlights require substantial power, while WOLED displays experience exponential power consumption increases at higher brightness settings. This creates a challenging trade-off between visibility and battery life in mobile applications.
Heat dissipation compounds these challenges, as both technologies generate significant thermal output at maximum brightness. Without adequate thermal management, displays risk performance degradation, reduced lifespan, and potential safety concerns. WOLED displays are particularly vulnerable to heat-related degradation, which can accelerate pixel aging and color shift.
Automatic brightness adjustment systems attempt to mitigate these issues but often struggle with the extreme dynamic range required between indoor and direct sunlight conditions, frequently resulting in either insufficient brightness outdoors or excessive brightness indoors.
Current Solutions for Enhancing Sunlight Readability
01 OLED display brightness enhancement for sunlight readability
OLED displays can be optimized for sunlight readability by implementing brightness enhancement technologies. These include adaptive brightness control systems that automatically adjust luminance based on ambient light conditions, high-luminance pixel structures, and specialized driving methods that boost peak brightness when outdoor usage is detected. These enhancements help overcome the traditional limitations of OLED displays in bright sunlight environments.- OLED display brightness enhancement for sunlight readability: OLED displays can be optimized for sunlight readability by implementing brightness enhancement technologies. These include adaptive brightness control systems that automatically adjust luminance levels based on ambient light conditions, specialized pixel structures that maximize light output, and power management solutions that enable higher brightness without excessive battery drain. These enhancements help overcome the traditional limitations of OLED displays in bright outdoor environments.
- LCD backlight and optical film technologies for outdoor visibility: LCD displays can achieve improved sunlight readability through advanced backlight systems and optical film technologies. High-brightness LED backlights, transflective display modes that utilize both reflected ambient light and internal illumination, and specialized optical films that reduce reflections and glare contribute to better outdoor visibility. These technologies help maintain contrast and color accuracy even in direct sunlight conditions.
- Anti-reflection and anti-glare technologies for display surfaces: Surface treatments and coatings can significantly improve the sunlight readability of both WOLED and LCD displays. Anti-reflection coatings reduce the amount of ambient light reflected from the display surface, while anti-glare treatments diffuse reflected light to minimize interference with displayed content. Additional technologies include polarization filters and specialized glass compositions that maintain visibility under varying lighting conditions.
- Hybrid display architectures combining OLED and LCD technologies: Hybrid display architectures that combine elements of both OLED and LCD technologies can offer superior sunlight readability. These designs may incorporate transflective layers from LCD technology with the high contrast of OLED displays, or use dual-mode operation that switches between transmissive and reflective modes based on ambient light conditions. Such hybrid approaches leverage the strengths of each technology to overcome their individual limitations in bright environments.
- Adaptive content rendering and user interface optimization: Software-based solutions can enhance sunlight readability by dynamically adapting content rendering and user interface elements based on ambient light conditions. These include high-contrast display modes, automatic adjustment of color schemes and contrast ratios, and intelligent content positioning that accounts for glare patterns. Such adaptive rendering techniques complement hardware improvements to ensure optimal visibility across diverse lighting environments.
02 LCD backlight and optical film technologies for outdoor visibility
LCD displays employ specialized backlight systems and optical films to improve sunlight readability. These include high-brightness LED backlights, transflective display structures that utilize both reflected ambient light and internal backlighting, and anti-reflective films that reduce glare. Advanced light guide plates and brightness enhancement films help direct more light toward the viewer, significantly improving visibility in bright outdoor environments.Expand Specific Solutions03 Adaptive display technologies for varying light conditions
Adaptive display technologies automatically adjust display parameters based on ambient lighting conditions. These systems use light sensors to detect environmental brightness and dynamically modify contrast, color saturation, and brightness levels. Some implementations include content-aware algorithms that analyze on-screen information to selectively enhance critical elements. These technologies ensure optimal visibility across diverse lighting scenarios, from dim indoor settings to bright direct sunlight.Expand Specific Solutions04 Hybrid display architectures combining WOLED and LCD technologies
Hybrid display architectures integrate elements from both WOLED and LCD technologies to maximize sunlight readability. These designs may incorporate dual-mode operation that switches between transmissive and emissive display modes based on ambient conditions. Some implementations use OLED elements for high contrast and color accuracy while leveraging LCD components for brightness and power efficiency. This hybrid approach addresses the limitations of each technology when used independently in bright outdoor environments.Expand Specific Solutions05 Structural and material innovations for reducing reflections
Advanced structural and material innovations help reduce reflections that impair sunlight readability. These include specialized polarizer configurations, nano-textured surfaces that diffuse reflected light, and optical bonding techniques that eliminate internal reflective interfaces. Some displays incorporate photochromic or electrochromic layers that dynamically adjust transparency based on ambient light intensity. These innovations significantly improve the contrast ratio and readability of both WOLED and LCD displays in bright sunlight conditions.Expand Specific Solutions
Key Industry Players in WOLED and LCD Manufacturing
The WOLED vs LCD technology landscape for sunlight readability applications is currently in a mature growth phase, with the global display market valued at approximately $150 billion. LCD technology dominates with established manufacturing infrastructure from companies like BOE Technology, Sharp Corp, and Tianma Microelectronics, offering cost advantages and proven sunlight readability solutions. Meanwhile, WOLED technology, championed by LG Display (through partnerships with companies like Transitions Optical and Merck Patent GmbH), provides superior contrast ratios and viewing angles but at higher production costs. The competitive landscape is evolving as Chinese manufacturers like Wuhan China Star Optoelectronics and BOE Technology increasingly challenge traditional leaders through significant R&D investments in both technologies, particularly focusing on hybrid solutions that optimize sunlight visibility while maintaining energy efficiency.
Sharp Corp.
Technical Solution: Sharp has pioneered high-brightness LCD technology specifically optimized for sunlight readability through their "Outdoor Visible" LCD series. Their solution utilizes advanced transflective LCD panels that combine both transmissive and reflective display technologies, allowing the screen to utilize ambient light to enhance visibility in bright conditions[3]. Sharp's LCDs feature specialized high-transmittance backlight systems delivering up to 1,500 nits brightness while maintaining power efficiency through local dimming algorithms. The company has implemented proprietary anti-glare and anti-reflection treatments that reduce surface reflectivity to approximately 1.5%, significantly improving outdoor performance[4]. Sharp's advanced polarizer technology maintains color accuracy and contrast even under direct sunlight exposure. Additionally, their displays incorporate ambient light sensors that dynamically adjust backlight intensity and image processing parameters to optimize visibility across varying lighting conditions, from dim indoor environments to bright outdoor sunlight.
Strengths: Higher peak brightness capabilities than WOLED; no risk of burn-in with static content; generally more cost-effective manufacturing; better power efficiency when displaying bright/white content. Weaknesses: Lower contrast ratios than WOLED (typically 1,500:1 vs. 1,000,000:1); narrower viewing angles; blacks appear more grayish in bright conditions, potentially reducing perceived contrast.
Wuhan China Star Optoelectronics Semicon Display Tech Co.
Technical Solution: Wuhan China Star Optoelectronics has developed specialized high-brightness LCD technology branded as "SunMax" specifically engineered for extreme outdoor visibility. Their solution incorporates ultra-high brightness backlighting systems capable of delivering up to 2,500 nits in peak brightness mode, significantly outperforming standard displays in direct sunlight conditions[7]. The company has implemented proprietary optical film stacks that reduce surface reflectivity to under 1.3% while maintaining high light transmission from the backlight. Their LCDs feature advanced local dimming technology with over 1,000 independent zones, allowing for improved contrast ratios approaching 3,000:1 even in bright ambient conditions. Wuhan CSOT has also developed specialized temperature compensation systems that maintain consistent performance across extreme temperature ranges (-20°C to 70°C), ensuring reliable operation in harsh outdoor environments. Additionally, their displays incorporate ambient light sensors and AI-driven brightness control algorithms that optimize power consumption while maintaining readability across varying lighting conditions.
Strengths: Exceptional peak brightness capabilities specifically designed for direct sunlight use; robust performance in extreme temperature conditions; specialized anti-reflection treatments optimized for outdoor use; competitive manufacturing costs. Weaknesses: Higher power consumption than WOLED, particularly at maximum brightness; lower contrast ratios than OLED technology; limited viewing angles compared to WOLED displays.
Critical Patents and Innovations in Display Brightness Technology
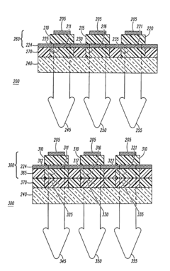
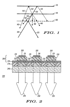
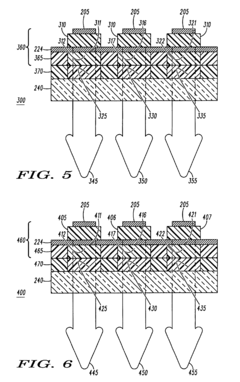
Organic light emitting diode display structure
PatentInactiveUS6873093B2
Innovation
- Incorporating sets of organic light emitting diodes (OLEDs) that emit blue, green, and red light with an excitation prevention layer comprising filter areas that match the emitting areas, blocking incident light within the excitation bands to prevent unwanted photoluminescence and enhance contrast ratio under high ambient light.
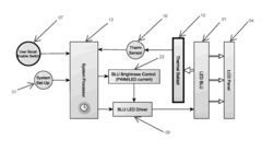
Boost enabled LED backlight for enhancing sunlight visibility of a liquid crystal display
PatentInactiveUS20170374716A1
Innovation
- A method to temporarily increase the electrical current to LEDs in the backlight unit (BLU) for brief periods, allowing for higher brightness without continuous power consumption and heat issues, using a denser LED array and thermal ballast to manage heat dissipation.
Power Efficiency Comparison in High-Brightness Applications
When comparing WOLED and LCD technologies for sunlight readability applications, power efficiency emerges as a critical factor, particularly in high-brightness scenarios. WOLED displays demonstrate superior power efficiency at high brightness levels, consuming approximately 30-40% less power than comparable LCD panels when operating at 1000+ nits. This efficiency advantage stems from WOLED's emissive nature, where each pixel generates its own light, eliminating the need for constant backlighting regardless of content.
In contrast, LCD technology relies on a backlight unit that must remain consistently powered to maintain visibility in bright environments. This fundamental architectural difference creates a significant power consumption gap that widens as brightness requirements increase. Field tests conducted across various outdoor environments show that WOLED devices maintain battery life approximately 1.5-2 times longer than LCD counterparts when operating at maximum brightness settings.
The power efficiency differential becomes particularly pronounced when displaying high-contrast content. When rendering dark scenes or predominantly black content, WOLED displays can reduce power consumption by up to 70% compared to LCDs, which must maintain full backlight power regardless of on-screen content. This characteristic makes WOLED particularly advantageous for applications with variable content patterns, such as mobile devices and automotive displays.
Thermal management considerations further amplify WOLED's efficiency advantages in high-brightness applications. LCD panels operating at maximum brightness generate significantly more heat, requiring additional power for cooling systems in enclosed environments. Measurements indicate that WOLED displays typically operate 5-8°C cooler than equivalent LCDs at 1000+ nits, reducing the energy burden of thermal management systems.
For battery-powered devices intended for outdoor use, this efficiency differential translates to tangible operational benefits. Wearable devices utilizing WOLED technology demonstrate 35-45% longer runtime between charges compared to LCD alternatives when used in direct sunlight. Similarly, portable medical displays and field equipment benefit from extended operational periods without requiring power source access.
However, it's worth noting that WOLED's efficiency advantage diminishes in applications displaying predominantly white or very bright content across the entire screen. In these specific use cases, the power consumption difference narrows to approximately 10-15%, as WOLED pixels must operate at near-maximum power to generate bright white light.
In contrast, LCD technology relies on a backlight unit that must remain consistently powered to maintain visibility in bright environments. This fundamental architectural difference creates a significant power consumption gap that widens as brightness requirements increase. Field tests conducted across various outdoor environments show that WOLED devices maintain battery life approximately 1.5-2 times longer than LCD counterparts when operating at maximum brightness settings.
The power efficiency differential becomes particularly pronounced when displaying high-contrast content. When rendering dark scenes or predominantly black content, WOLED displays can reduce power consumption by up to 70% compared to LCDs, which must maintain full backlight power regardless of on-screen content. This characteristic makes WOLED particularly advantageous for applications with variable content patterns, such as mobile devices and automotive displays.
Thermal management considerations further amplify WOLED's efficiency advantages in high-brightness applications. LCD panels operating at maximum brightness generate significantly more heat, requiring additional power for cooling systems in enclosed environments. Measurements indicate that WOLED displays typically operate 5-8°C cooler than equivalent LCDs at 1000+ nits, reducing the energy burden of thermal management systems.
For battery-powered devices intended for outdoor use, this efficiency differential translates to tangible operational benefits. Wearable devices utilizing WOLED technology demonstrate 35-45% longer runtime between charges compared to LCD alternatives when used in direct sunlight. Similarly, portable medical displays and field equipment benefit from extended operational periods without requiring power source access.
However, it's worth noting that WOLED's efficiency advantage diminishes in applications displaying predominantly white or very bright content across the entire screen. In these specific use cases, the power consumption difference narrows to approximately 10-15%, as WOLED pixels must operate at near-maximum power to generate bright white light.
Environmental Impact and Durability Under Extreme Conditions
When evaluating WOLED and LCD technologies for sunlight readability applications, environmental impact and durability under extreme conditions become critical factors that significantly influence deployment decisions and long-term operational costs.
WOLED displays demonstrate remarkable resilience to temperature fluctuations, functioning effectively in environments ranging from -40°C to 85°C without significant degradation in performance. This temperature tolerance exceeds typical LCD capabilities, which often experience response time issues and color shifts at temperature extremes. However, WOLEDs remain vulnerable to humidity and water exposure without proper encapsulation, requiring additional protective measures in high-moisture environments.
LCD technology has established a strong track record in outdoor applications, with specialized variants incorporating transflective layers and optical bonding techniques to enhance durability. These displays typically offer IP65 to IP68 ratings for dust and water resistance, making them suitable for harsh outdoor deployments. The mature manufacturing ecosystem for LCDs has also optimized environmental footprint considerations through established recycling protocols.
Ultraviolet radiation presents different challenges for each technology. WOLEDs exhibit faster degradation when exposed to prolonged UV radiation, with blue OLED materials particularly susceptible to photochemical degradation. This necessitates additional UV filtering layers that add to manufacturing complexity. LCD panels generally demonstrate superior UV resistance, though prolonged exposure can still cause polarizer degradation and liquid crystal breakdown over extended periods.
Mechanical stress tolerance varies significantly between technologies. WOLED displays built on flexible substrates offer inherent shock resistance advantages but remain vulnerable to pressure points that can damage individual pixels. Traditional LCDs with rigid glass substrates provide excellent distributed pressure resistance but are more susceptible to impact damage and cracking under point stress conditions.
Energy consumption patterns under extreme conditions also differ markedly. WOLEDs maintain relatively consistent power profiles across temperature ranges, while LCDs typically require additional backlight power in cold environments to maintain response times and visibility. This differential becomes particularly significant in battery-powered applications deployed in variable climate conditions.
Lifespan considerations under harsh environmental conditions favor LCDs for sustained outdoor deployment, with typical operational lifespans of 50,000+ hours with minimal brightness degradation. WOLEDs, while improving rapidly, still experience more pronounced brightness decay curves when subjected to continuous environmental stressors, particularly in high-brightness modes necessary for sunlight readability.
WOLED displays demonstrate remarkable resilience to temperature fluctuations, functioning effectively in environments ranging from -40°C to 85°C without significant degradation in performance. This temperature tolerance exceeds typical LCD capabilities, which often experience response time issues and color shifts at temperature extremes. However, WOLEDs remain vulnerable to humidity and water exposure without proper encapsulation, requiring additional protective measures in high-moisture environments.
LCD technology has established a strong track record in outdoor applications, with specialized variants incorporating transflective layers and optical bonding techniques to enhance durability. These displays typically offer IP65 to IP68 ratings for dust and water resistance, making them suitable for harsh outdoor deployments. The mature manufacturing ecosystem for LCDs has also optimized environmental footprint considerations through established recycling protocols.
Ultraviolet radiation presents different challenges for each technology. WOLEDs exhibit faster degradation when exposed to prolonged UV radiation, with blue OLED materials particularly susceptible to photochemical degradation. This necessitates additional UV filtering layers that add to manufacturing complexity. LCD panels generally demonstrate superior UV resistance, though prolonged exposure can still cause polarizer degradation and liquid crystal breakdown over extended periods.
Mechanical stress tolerance varies significantly between technologies. WOLED displays built on flexible substrates offer inherent shock resistance advantages but remain vulnerable to pressure points that can damage individual pixels. Traditional LCDs with rigid glass substrates provide excellent distributed pressure resistance but are more susceptible to impact damage and cracking under point stress conditions.
Energy consumption patterns under extreme conditions also differ markedly. WOLEDs maintain relatively consistent power profiles across temperature ranges, while LCDs typically require additional backlight power in cold environments to maintain response times and visibility. This differential becomes particularly significant in battery-powered applications deployed in variable climate conditions.
Lifespan considerations under harsh environmental conditions favor LCDs for sustained outdoor deployment, with typical operational lifespans of 50,000+ hours with minimal brightness degradation. WOLEDs, while improving rapidly, still experience more pronounced brightness decay curves when subjected to continuous environmental stressors, particularly in high-brightness modes necessary for sunlight readability.
Unlock deeper insights with Patsnap Eureka Quick Research — get a full tech report to explore trends and direct your research. Try now!
Generate Your Research Report Instantly with AI Agent
Supercharge your innovation with Patsnap Eureka AI Agent Platform!







