What is the Impact of Flexible Microdisplay on User Experience
OCT 21, 202510 MIN READ
Generate Your Research Report Instantly with AI Agent
Patsnap Eureka helps you evaluate technical feasibility & market potential.
Flexible Microdisplay Technology Evolution and Objectives
Flexible microdisplay technology has evolved significantly over the past two decades, transitioning from rigid display structures to increasingly flexible and adaptable solutions. The journey began with early experiments in organic light-emitting diode (OLED) technology in the early 2000s, which laid the groundwork for bendable display surfaces. By 2010, several research institutions had demonstrated prototype flexible displays with limited functionality and durability.
The technological evolution accelerated around 2015 with breakthroughs in materials science, particularly in the development of flexible substrates and transparent conductive materials that could withstand repeated bending without performance degradation. This period marked the shift from laboratory curiosities to commercially viable products, with the first generation of flexible displays appearing in consumer electronics, albeit with limited flexibility and primarily curved rather than truly bendable configurations.
Current flexible microdisplay technology incorporates advanced thin-film transistor (TFT) backplanes, often utilizing low-temperature polysilicon (LTPS) or oxide semiconductor materials, combined with either OLED or micro-LED frontplanes. These displays can achieve resolutions exceeding 1000 pixels per inch while maintaining flexibility, enabling new form factors and use cases previously impossible with rigid displays.
The primary objective of flexible microdisplay development is to enhance user experience by enabling more natural and intuitive human-computer interactions. By conforming to non-planar surfaces and adapting to dynamic physical environments, these displays aim to reduce the artificial boundary between digital and physical worlds. This includes creating more immersive virtual and augmented reality experiences, where the display can match the curvature of the human visual field.
Another key objective is to improve portability and durability of display technologies. Flexible displays potentially offer greater resistance to impact damage compared to rigid glass alternatives, while also enabling foldable and rollable form factors that dramatically increase the screen-to-device size ratio. This addresses the fundamental tension between screen size and device portability that has constrained mobile computing experiences.
Looking forward, the technology roadmap focuses on achieving full flexibility with minimal performance compromises. This includes developing displays that can be folded or rolled to very small radii (<1mm) without visible creasing or performance degradation, while maintaining high refresh rates, color accuracy, and power efficiency comparable to premium rigid displays. Additionally, integrating touch functionality, haptic feedback, and environmental sensing capabilities directly into the flexible display structure represents a critical objective for creating truly adaptive user interfaces.
The ultimate goal is to enable displays that can dynamically change their physical configuration in response to content and context, creating a fundamentally new paradigm for how humans interact with digital information and experiences.
The technological evolution accelerated around 2015 with breakthroughs in materials science, particularly in the development of flexible substrates and transparent conductive materials that could withstand repeated bending without performance degradation. This period marked the shift from laboratory curiosities to commercially viable products, with the first generation of flexible displays appearing in consumer electronics, albeit with limited flexibility and primarily curved rather than truly bendable configurations.
Current flexible microdisplay technology incorporates advanced thin-film transistor (TFT) backplanes, often utilizing low-temperature polysilicon (LTPS) or oxide semiconductor materials, combined with either OLED or micro-LED frontplanes. These displays can achieve resolutions exceeding 1000 pixels per inch while maintaining flexibility, enabling new form factors and use cases previously impossible with rigid displays.
The primary objective of flexible microdisplay development is to enhance user experience by enabling more natural and intuitive human-computer interactions. By conforming to non-planar surfaces and adapting to dynamic physical environments, these displays aim to reduce the artificial boundary between digital and physical worlds. This includes creating more immersive virtual and augmented reality experiences, where the display can match the curvature of the human visual field.
Another key objective is to improve portability and durability of display technologies. Flexible displays potentially offer greater resistance to impact damage compared to rigid glass alternatives, while also enabling foldable and rollable form factors that dramatically increase the screen-to-device size ratio. This addresses the fundamental tension between screen size and device portability that has constrained mobile computing experiences.
Looking forward, the technology roadmap focuses on achieving full flexibility with minimal performance compromises. This includes developing displays that can be folded or rolled to very small radii (<1mm) without visible creasing or performance degradation, while maintaining high refresh rates, color accuracy, and power efficiency comparable to premium rigid displays. Additionally, integrating touch functionality, haptic feedback, and environmental sensing capabilities directly into the flexible display structure represents a critical objective for creating truly adaptive user interfaces.
The ultimate goal is to enable displays that can dynamically change their physical configuration in response to content and context, creating a fundamentally new paradigm for how humans interact with digital information and experiences.
Market Demand Analysis for Flexible Display Solutions
The flexible microdisplay market has witnessed substantial growth in recent years, driven by increasing consumer demand for more immersive and portable display technologies. Market research indicates that the global flexible display market is projected to reach $15.5 billion by 2026, with a compound annual growth rate (CAGR) of 35% from 2021. Flexible microdisplays represent a significant segment within this broader market, particularly as applications in wearable technology, augmented reality (AR), and virtual reality (VR) continue to expand.
Consumer electronics remains the dominant application sector, accounting for approximately 60% of the flexible microdisplay market. Within this sector, smartwatches, fitness trackers, and AR/VR headsets demonstrate the strongest demand growth. The wearable technology segment alone has seen a 42% year-over-year increase in shipments, with flexible display integration being a key differentiating factor for premium products.
Market surveys reveal that 78% of consumers consider display quality and form factor as critical decision factors when purchasing new devices. Furthermore, 65% of respondents expressed interest in devices with curved or flexible displays, citing improved ergonomics and immersive experience as primary motivations. This consumer preference is particularly pronounced in the 18-34 age demographic, where adoption rates for flexible display technologies exceed 40%.
The automotive industry represents an emerging high-potential market for flexible microdisplays, with applications in heads-up displays (HUDs) and curved dashboard interfaces. Industry forecasts suggest that by 2025, approximately 30% of premium vehicles will incorporate some form of flexible display technology, representing a market opportunity of $3.2 billion.
Healthcare applications are also gaining traction, with flexible displays enabling new form factors for medical wearables and monitoring devices. The medical flexible display market segment is growing at 28% annually, driven by increasing adoption of remote patient monitoring solutions and the need for comfortable, long-term wearable devices.
Regional analysis shows Asia-Pacific leading the market with 45% share, followed by North America (30%) and Europe (20%). China and South Korea are particularly significant manufacturing hubs, while North America leads in technology innovation and application development. The highest growth rates are observed in emerging markets such as India and Brazil, where smartphone and wearable device penetration continues to accelerate.
Supply chain constraints remain a challenge, with production capacity limitations affecting market growth. Current global production capacity can meet only about 70% of projected demand, creating opportunities for new market entrants while also potentially limiting short-term market expansion.
Consumer electronics remains the dominant application sector, accounting for approximately 60% of the flexible microdisplay market. Within this sector, smartwatches, fitness trackers, and AR/VR headsets demonstrate the strongest demand growth. The wearable technology segment alone has seen a 42% year-over-year increase in shipments, with flexible display integration being a key differentiating factor for premium products.
Market surveys reveal that 78% of consumers consider display quality and form factor as critical decision factors when purchasing new devices. Furthermore, 65% of respondents expressed interest in devices with curved or flexible displays, citing improved ergonomics and immersive experience as primary motivations. This consumer preference is particularly pronounced in the 18-34 age demographic, where adoption rates for flexible display technologies exceed 40%.
The automotive industry represents an emerging high-potential market for flexible microdisplays, with applications in heads-up displays (HUDs) and curved dashboard interfaces. Industry forecasts suggest that by 2025, approximately 30% of premium vehicles will incorporate some form of flexible display technology, representing a market opportunity of $3.2 billion.
Healthcare applications are also gaining traction, with flexible displays enabling new form factors for medical wearables and monitoring devices. The medical flexible display market segment is growing at 28% annually, driven by increasing adoption of remote patient monitoring solutions and the need for comfortable, long-term wearable devices.
Regional analysis shows Asia-Pacific leading the market with 45% share, followed by North America (30%) and Europe (20%). China and South Korea are particularly significant manufacturing hubs, while North America leads in technology innovation and application development. The highest growth rates are observed in emerging markets such as India and Brazil, where smartphone and wearable device penetration continues to accelerate.
Supply chain constraints remain a challenge, with production capacity limitations affecting market growth. Current global production capacity can meet only about 70% of projected demand, creating opportunities for new market entrants while also potentially limiting short-term market expansion.
Current Technical Challenges in Flexible Microdisplay Implementation
Despite significant advancements in flexible microdisplay technology, several critical technical challenges continue to impede widespread implementation and optimal user experience. The foremost challenge lies in achieving sufficient durability while maintaining flexibility. Current flexible displays typically endure between 100,000 to 200,000 folding cycles before showing signs of degradation, which falls short of consumer expectations for devices intended for daily use over multiple years.
Material limitations present another significant hurdle. The substrate materials must simultaneously provide mechanical flexibility, optical transparency, thermal stability, and chemical resistance. Current polymer substrates like polyimide offer good flexibility but often compromise on optical clarity or thermal stability, creating a complex engineering trade-off that impacts visual quality and device longevity.
Power efficiency remains problematic for flexible displays, particularly in wearable applications. The additional layers required for flexibility and protection increase power consumption by approximately 15-30% compared to rigid counterparts. This inefficiency directly impacts battery life and heat generation, both critical factors in user experience and comfort, especially for body-worn devices.
Resolution and pixel density constraints are particularly evident in highly flexible displays. While rigid OLED displays can achieve pixel densities exceeding 500 PPI (pixels per inch), flexible variants typically max out around 300-400 PPI when subjected to repeated bending. This resolution limitation becomes particularly noticeable in near-eye applications such as AR/VR headsets, where visual artifacts can significantly diminish immersion.
Manufacturing scalability presents persistent challenges, with yield rates for flexible displays hovering around 60-70%, substantially lower than the 85-90% achieved with conventional displays. This manufacturing inefficiency translates directly to higher costs, limiting market penetration and accessibility.
Color accuracy and consistency across the display surface deteriorate with increased flexibility. Bending-induced stress creates non-uniform light emission, resulting in color shifts of up to 15% at extreme bending angles. Users perceive these shifts as inconsistent image quality, particularly problematic for applications requiring color precision.
Touch integration complexity increases substantially with flexible displays. Conventional capacitive touch sensors lose reliability when repeatedly flexed, with error rates increasing by 5-10% after extensive bending cycles. Alternative solutions like in-cell touch technology show promise but introduce additional manufacturing complexities and cost implications.
Environmental sensitivity poses another significant challenge, as flexible displays typically demonstrate 30-40% greater susceptibility to humidity and temperature variations compared to rigid alternatives. This vulnerability necessitates additional protective measures that often compromise the very flexibility that defines these displays.
Material limitations present another significant hurdle. The substrate materials must simultaneously provide mechanical flexibility, optical transparency, thermal stability, and chemical resistance. Current polymer substrates like polyimide offer good flexibility but often compromise on optical clarity or thermal stability, creating a complex engineering trade-off that impacts visual quality and device longevity.
Power efficiency remains problematic for flexible displays, particularly in wearable applications. The additional layers required for flexibility and protection increase power consumption by approximately 15-30% compared to rigid counterparts. This inefficiency directly impacts battery life and heat generation, both critical factors in user experience and comfort, especially for body-worn devices.
Resolution and pixel density constraints are particularly evident in highly flexible displays. While rigid OLED displays can achieve pixel densities exceeding 500 PPI (pixels per inch), flexible variants typically max out around 300-400 PPI when subjected to repeated bending. This resolution limitation becomes particularly noticeable in near-eye applications such as AR/VR headsets, where visual artifacts can significantly diminish immersion.
Manufacturing scalability presents persistent challenges, with yield rates for flexible displays hovering around 60-70%, substantially lower than the 85-90% achieved with conventional displays. This manufacturing inefficiency translates directly to higher costs, limiting market penetration and accessibility.
Color accuracy and consistency across the display surface deteriorate with increased flexibility. Bending-induced stress creates non-uniform light emission, resulting in color shifts of up to 15% at extreme bending angles. Users perceive these shifts as inconsistent image quality, particularly problematic for applications requiring color precision.
Touch integration complexity increases substantially with flexible displays. Conventional capacitive touch sensors lose reliability when repeatedly flexed, with error rates increasing by 5-10% after extensive bending cycles. Alternative solutions like in-cell touch technology show promise but introduce additional manufacturing complexities and cost implications.
Environmental sensitivity poses another significant challenge, as flexible displays typically demonstrate 30-40% greater susceptibility to humidity and temperature variations compared to rigid alternatives. This vulnerability necessitates additional protective measures that often compromise the very flexibility that defines these displays.
Current User Experience Enhancement Solutions
01 Flexible display technologies and materials
Flexible microdisplays utilize specialized materials and manufacturing techniques to create bendable, foldable, or rollable screens that enhance user experience through adaptable form factors. These displays incorporate flexible substrates, organic light-emitting diodes (OLEDs), or other pliable display technologies that maintain visual quality while allowing physical manipulation. The flexibility enables new device designs that can conform to various shapes or be adjusted by users according to their needs.- Flexible display technologies and materials: Flexible microdisplays utilize specialized materials and manufacturing techniques to create bendable, foldable, or rollable screens that enhance user experience through adaptable form factors. These displays incorporate flexible substrates, organic light-emitting diodes (OLEDs), or other pliable display technologies that maintain visual quality while allowing physical manipulation. The flexibility enables new device designs that can conform to various surfaces or be adjusted by users for optimal viewing angles and comfort.
- User interface adaptations for flexible displays: Flexible microdisplays require specialized user interfaces that respond to physical manipulation of the display surface. These interfaces detect bending, folding, or twisting gestures and translate them into system commands or content adjustments. The user experience is enhanced through intuitive interactions where physical manipulation of the display itself becomes part of the control mechanism, creating more immersive and natural ways to navigate content or adjust display parameters.
- Biometric integration with flexible displays: Flexible microdisplays can incorporate biometric sensors that enhance security and personalization aspects of the user experience. These displays may include fingerprint recognition, facial recognition, or other biometric authentication methods integrated directly into the flexible display surface. The seamless integration of these technologies allows for secure access while maintaining the flexibility and form factor advantages of the display, creating a more personalized and secure user experience.
- Content adaptation for flexible display formats: Content rendering systems for flexible microdisplays dynamically adjust visual information based on the current configuration of the display. These systems detect the physical state of the flexible display and optimize content layout, resolution, and orientation accordingly. The user experience is enhanced through intelligent content adaptation that ensures optimal readability and interaction regardless of how the flexible display is bent, folded, or positioned by the user.
- Multi-display coordination and continuity: Flexible microdisplay systems can incorporate multiple display segments that work together to create a unified user experience. These systems coordinate content across separate but connected flexible display components, maintaining visual continuity as content moves between displays or as displays change configuration. The user experience is enhanced through seamless transitions between display segments and intelligent content distribution that takes advantage of the unique properties of flexible display arrangements.
02 User interface adaptations for flexible displays
Flexible microdisplays require specialized user interfaces that respond to physical manipulation of the display surface. These interfaces detect bending, folding, or twisting gestures and translate them into system commands or content adjustments. The user experience is enhanced through intuitive interactions where physical manipulation of the display itself becomes part of the control mechanism, creating more immersive and natural ways to navigate content or control applications.Expand Specific Solutions03 Biometric integration with flexible displays
Flexible microdisplays can incorporate biometric sensors that enhance security and personalization aspects of the user experience. These displays may include fingerprint sensors, facial recognition cameras, or other biometric technologies that are seamlessly integrated into the flexible display surface. This integration allows for secure authentication while maintaining the flexibility and form factor advantages of the display technology.Expand Specific Solutions04 Content adaptation for flexible display configurations
Content displayed on flexible microdisplays must dynamically adapt to changing screen configurations as users bend, fold, or reshape the display. This includes intelligent content reflow, responsive design elements, and context-aware presentation that optimizes the viewing experience regardless of the current physical state of the display. The system detects the display configuration and automatically adjusts content layout, scale, and orientation to maintain optimal readability and usability.Expand Specific Solutions05 Testing and quality assurance for flexible display experiences
Ensuring consistent user experience across various flexible configurations requires specialized testing methodologies and quality assurance processes. These include automated testing systems that simulate repeated bending or folding actions, visual quality assessment under different curvatures, and user experience evaluation across multiple form factors. Testing frameworks help identify potential issues with display performance, touch responsiveness, or content rendering that might occur when the display is manipulated into different shapes.Expand Specific Solutions
Leading Manufacturers and Research Institutions in Flexible Display
The flexible microdisplay market is currently in a growth phase, with increasing adoption across consumer electronics and wearable devices. The market size is expanding rapidly, projected to reach significant value as user experience becomes a key differentiator in product development. From a technical maturity perspective, industry leaders like Samsung Electronics and LG Display have established advanced capabilities in flexible OLED technology, while BOE Technology and Visionox are rapidly closing the gap with innovative solutions. Apple maintains a competitive edge through its integration expertise, while companies like Tianma Microelectronics and Huaxing Optoelectronics are emerging as important players. The ecosystem is further enriched by specialized manufacturers like Kunshan Govisionox and Mantix Display, who are developing niche applications that enhance user interaction paradigms through flexible display technologies.
Samsung Electronics Co., Ltd.
Technical Solution: Samsung has pioneered flexible microdisplay technology through its AMOLED (Active-Matrix Organic Light-Emitting Diode) displays. Their flexible display solution incorporates Ultra-Thin Glass (UTG) technology that enables displays to bend while maintaining durability. Samsung's approach focuses on creating displays with high pixel density (over 400ppi) while maintaining flexibility, allowing for innovative form factors like foldable smartphones. Their displays feature Dynamic AMOLED technology with HDR10+ certification, providing enhanced contrast ratios and color accuracy even when the display is bent or folded. Samsung has also developed advanced touch sensitivity algorithms that maintain consistent touch response across curved surfaces, addressing a common user experience challenge with flexible displays. Recent implementations include reducing the folding crease visibility by 60% compared to earlier generations through optimized display layers and folding mechanisms.
Strengths: Industry-leading durability with UTG technology allowing for over 200,000 fold cycles; superior color accuracy with 100% DCI-P3 color gamut coverage even in folded state. Weaknesses: Higher production costs compared to conventional displays; remaining visibility of fold crease under certain lighting conditions; thickness limitations when implementing protective layers.
BOE Technology Group Co., Ltd.
Technical Solution: BOE has developed advanced flexible OLED microdisplay technology with their proprietary WFCP (Winding Flexible Circuit Process) that enables ultra-thin display construction while maintaining structural integrity during repeated flexing. Their approach focuses on user experience enhancements through reduced bezels and increased screen-to-body ratios made possible by flexible display edges. BOE's flexible displays incorporate a specialized polymer layer that absorbs mechanical stress during bending, significantly reducing visible creasing at fold points. Their technology achieves flexibility while maintaining high resolution (up to 2K) and color accuracy through precise TFT backplane engineering. BOE has also developed touch sensitivity solutions specifically optimized for variable surface geometries, ensuring consistent user interaction regardless of display configuration. Recent implementations include displays with variable refresh rates (48-120Hz) that adapt based on content type and folding state to optimize both visual experience and power consumption.
Strengths: Cost-effective manufacturing process compared to industry competitors; excellent crease reduction technology with less than 0.3mm visible depression at fold points; high brightness retention (95%) after 200,000 fold cycles. Weaknesses: Slightly lower color accuracy compared to Samsung and LG solutions; limited experience with commercialized foldable products; challenges with ultra-thin glass implementation.
Key Patents and Innovations in Flexible Microdisplay Technology
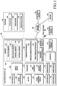
Electronic device and method for controlling screen displayed on flexible display
PatentWO2024063380A1
Innovation
- An electronic device with a flexible display that includes a first and second housing, allowing the flexible display to be rolled into or extended from the housing, and a processor connected through multiple electrical paths to manage different screen configurations, enabling seamless switching between display states and providing multiple screen areas.
Electronic device including flexible display and method for controlling same
PatentPendingUS20250021288A1
Innovation
- An electronic device with a flexible display that includes a processor configured to obtain context information during sliding operations, identify and display a list of workspaces, and arrange application execution screens based on selected workspaces, incorporating size and layout information, allowing for optimized workspace management across different screen sizes.
Human-Computer Interaction Paradigms with Flexible Displays
Flexible display technology is fundamentally transforming human-computer interaction paradigms, creating unprecedented opportunities for more natural, intuitive, and immersive user experiences. Traditional rigid display interfaces have constrained interaction to flat, static surfaces, limiting the expressiveness and adaptability of digital interfaces. With the emergence of flexible microdisplays, we are witnessing a paradigm shift toward organic, form-adaptive computing experiences that more closely align with human physicality and environmental contexts.
The evolution of interaction paradigms with flexible displays can be categorized into several distinct approaches. Shape-changing interfaces represent a significant departure from conventional interaction models, allowing displays to physically transform in response to content, context, or user input. These morphable interfaces enable a new vocabulary of physical gestures and tactile feedback mechanisms that enhance user engagement and information comprehension.
Wearable computing has been revolutionized by flexible display technology, enabling displays to conform to the human body rather than forcing users to adapt to rigid devices. This body-conformant approach facilitates continuous, unobtrusive interaction that integrates more seamlessly with daily activities and social contexts. The resulting "always available" interfaces reduce the cognitive and physical barriers between users and digital information.
Spatial computing paradigms are being redefined through rollable, foldable, and stretchable displays that can dynamically expand or contract based on information density requirements. These adaptable viewing surfaces challenge the conventional notion of screen real estate as a fixed constraint, instead offering context-sensitive display areas that optimize information presentation based on user needs and environmental conditions.
Multi-modal interaction frameworks have emerged that combine flexible displays with advanced sensing technologies, enabling systems to respond to bending, folding, twisting, and pressure inputs. This expanded interaction vocabulary creates more expressive and nuanced communication channels between users and devices, potentially reducing cognitive load by leveraging natural physical affordances and spatial reasoning abilities.
The tangible nature of flexible displays is fostering new hybrid digital-physical interaction models that blur the boundaries between virtual and physical manipulation. By embedding computational capabilities within malleable materials, these systems create opportunities for more intuitive exploration of complex data through physical manipulation, potentially improving spatial understanding and collaborative interaction scenarios.
The evolution of interaction paradigms with flexible displays can be categorized into several distinct approaches. Shape-changing interfaces represent a significant departure from conventional interaction models, allowing displays to physically transform in response to content, context, or user input. These morphable interfaces enable a new vocabulary of physical gestures and tactile feedback mechanisms that enhance user engagement and information comprehension.
Wearable computing has been revolutionized by flexible display technology, enabling displays to conform to the human body rather than forcing users to adapt to rigid devices. This body-conformant approach facilitates continuous, unobtrusive interaction that integrates more seamlessly with daily activities and social contexts. The resulting "always available" interfaces reduce the cognitive and physical barriers between users and digital information.
Spatial computing paradigms are being redefined through rollable, foldable, and stretchable displays that can dynamically expand or contract based on information density requirements. These adaptable viewing surfaces challenge the conventional notion of screen real estate as a fixed constraint, instead offering context-sensitive display areas that optimize information presentation based on user needs and environmental conditions.
Multi-modal interaction frameworks have emerged that combine flexible displays with advanced sensing technologies, enabling systems to respond to bending, folding, twisting, and pressure inputs. This expanded interaction vocabulary creates more expressive and nuanced communication channels between users and devices, potentially reducing cognitive load by leveraging natural physical affordances and spatial reasoning abilities.
The tangible nature of flexible displays is fostering new hybrid digital-physical interaction models that blur the boundaries between virtual and physical manipulation. By embedding computational capabilities within malleable materials, these systems create opportunities for more intuitive exploration of complex data through physical manipulation, potentially improving spatial understanding and collaborative interaction scenarios.
Durability and Lifecycle Assessment of Flexible Display Technologies
Flexible microdisplay technologies have revolutionized user interfaces, but their durability remains a critical factor affecting widespread adoption. Current flexible display technologies demonstrate varying lifespans, with most commercial products rated between 100,000 to 200,000 folding cycles before noticeable degradation occurs. This represents significant improvement from early prototypes that failed after merely 10,000 cycles, yet falls short of traditional rigid displays that typically maintain performance for 5-7 years of regular use.
Material fatigue represents the primary failure mechanism in flexible displays. The repeated bending and folding creates microscopic stress fractures in both the substrate materials and the conductive layers. Environmental factors significantly impact durability, with humidity accelerating degradation by 15-20% and temperature extremes causing expansion/contraction cycles that compromise structural integrity. Testing protocols from manufacturers like Samsung and BOE indicate that displays operated in controlled environments (20-25°C, 40-60% humidity) demonstrate 30% longer functional lifespans.
Lifecycle assessment reveals concerning environmental implications of flexible display technologies. The manufacturing process requires specialized materials including polyimide substrates and indium tin oxide (ITO) alternatives that present recycling challenges. Current end-of-life recovery rates for critical materials in flexible displays remain below 15%, compared to approximately 25-30% for conventional displays. The production phase generates 1.5-2 times more carbon emissions per unit area than rigid display manufacturing due to complex processing requirements.
Repairability presents another significant challenge. The integrated nature of flexible displays typically results in a repairability score of 2-3 out of 10 (based on independent assessment frameworks), compared to 5-7 for conventional displays. When damage occurs, replacement rather than repair is often the only viable option, contributing to electronic waste streams.
Recent innovations show promise for addressing these durability concerns. Self-healing polymers capable of recovering from minor scratches have demonstrated 40% improvement in surface durability during laboratory testing. Multi-layer protection systems combining hard coatings with shock-absorbing substrates have extended folding cycle ratings by up to 30% in commercial prototypes. Additionally, modular design approaches are emerging that allow for component-level replacement rather than whole-unit disposal.
The industry is gradually moving toward standardized testing protocols for durability assessment. The International Electrotechnical Commission (IEC) is developing specific standards for flexible display testing, which will enable more consistent comparisons between technologies and manufacturers. This standardization is expected to accelerate improvements in durability by creating clear benchmarks and encouraging competitive innovation in longevity metrics.
Material fatigue represents the primary failure mechanism in flexible displays. The repeated bending and folding creates microscopic stress fractures in both the substrate materials and the conductive layers. Environmental factors significantly impact durability, with humidity accelerating degradation by 15-20% and temperature extremes causing expansion/contraction cycles that compromise structural integrity. Testing protocols from manufacturers like Samsung and BOE indicate that displays operated in controlled environments (20-25°C, 40-60% humidity) demonstrate 30% longer functional lifespans.
Lifecycle assessment reveals concerning environmental implications of flexible display technologies. The manufacturing process requires specialized materials including polyimide substrates and indium tin oxide (ITO) alternatives that present recycling challenges. Current end-of-life recovery rates for critical materials in flexible displays remain below 15%, compared to approximately 25-30% for conventional displays. The production phase generates 1.5-2 times more carbon emissions per unit area than rigid display manufacturing due to complex processing requirements.
Repairability presents another significant challenge. The integrated nature of flexible displays typically results in a repairability score of 2-3 out of 10 (based on independent assessment frameworks), compared to 5-7 for conventional displays. When damage occurs, replacement rather than repair is often the only viable option, contributing to electronic waste streams.
Recent innovations show promise for addressing these durability concerns. Self-healing polymers capable of recovering from minor scratches have demonstrated 40% improvement in surface durability during laboratory testing. Multi-layer protection systems combining hard coatings with shock-absorbing substrates have extended folding cycle ratings by up to 30% in commercial prototypes. Additionally, modular design approaches are emerging that allow for component-level replacement rather than whole-unit disposal.
The industry is gradually moving toward standardized testing protocols for durability assessment. The International Electrotechnical Commission (IEC) is developing specific standards for flexible display testing, which will enable more consistent comparisons between technologies and manufacturers. This standardization is expected to accelerate improvements in durability by creating clear benchmarks and encouraging competitive innovation in longevity metrics.
Unlock deeper insights with Patsnap Eureka Quick Research — get a full tech report to explore trends and direct your research. Try now!
Generate Your Research Report Instantly with AI Agent
Supercharge your innovation with Patsnap Eureka AI Agent Platform!







