Improving NMR Through Advanced Cryoprobe Technology
SEP 22, 20259 MIN READ
Generate Your Research Report Instantly with AI Agent
Patsnap Eureka helps you evaluate technical feasibility & market potential.
NMR Cryoprobe Technology Background and Objectives
Nuclear Magnetic Resonance (NMR) spectroscopy has evolved significantly since its discovery in the 1940s, transforming from a physics curiosity into an indispensable analytical tool across multiple scientific disciplines. The technology leverages the magnetic properties of atomic nuclei to provide detailed structural and dynamic information about molecules. Traditional NMR systems, while powerful, have been limited by sensitivity constraints, often requiring substantial sample quantities or extended measurement times.
Cryoprobe technology emerged in the late 1990s as a revolutionary advancement in NMR instrumentation. By cooling the detection coils and preamplifiers to cryogenic temperatures (typically around 20K), cryoprobes dramatically reduce thermal noise, resulting in significant sensitivity enhancements. This cooling approach has enabled a 4-5 fold improvement in signal-to-noise ratio compared to conventional room temperature probes, fundamentally changing what's possible in NMR analysis.
The evolution of cryoprobe technology has been driven by the increasing demands of structural biology, metabolomics, natural product research, and pharmaceutical development. These fields require higher sensitivity for analyzing limited sample quantities, complex mixtures, and challenging nuclei with low natural abundance or gyromagnetic ratios.
Current technological objectives focus on further enhancing sensitivity while addressing practical limitations. Key goals include developing more efficient cooling systems that reduce liquid helium consumption, designing more compact cryoprobe units for integration with existing NMR systems, and creating specialized cryoprobes for specific applications such as solid-state NMR or microcoil configurations for mass-limited samples.
Another critical objective is the democratization of cryoprobe technology. Despite their advantages, cryoprobes remain expensive investments with ongoing operational costs related to cryogen management. Developing more affordable and sustainable cryoprobe solutions would expand access beyond well-funded research institutions to smaller academic labs, industrial settings, and clinical environments.
The integration of cryoprobe technology with other NMR advancements represents another important direction. This includes combining cryoprobes with higher magnetic field strengths, advanced pulse sequences, hyperpolarization methods, and automated sample handling systems to create next-generation analytical platforms with unprecedented capabilities.
Looking forward, the field aims to achieve "quantum leaps" in sensitivity that could enable single-molecule NMR or real-time metabolic imaging. These ambitious goals require interdisciplinary approaches combining superconducting materials science, quantum sensing principles, and advanced signal processing algorithms to overcome current technological barriers and unlock new scientific possibilities.
Cryoprobe technology emerged in the late 1990s as a revolutionary advancement in NMR instrumentation. By cooling the detection coils and preamplifiers to cryogenic temperatures (typically around 20K), cryoprobes dramatically reduce thermal noise, resulting in significant sensitivity enhancements. This cooling approach has enabled a 4-5 fold improvement in signal-to-noise ratio compared to conventional room temperature probes, fundamentally changing what's possible in NMR analysis.
The evolution of cryoprobe technology has been driven by the increasing demands of structural biology, metabolomics, natural product research, and pharmaceutical development. These fields require higher sensitivity for analyzing limited sample quantities, complex mixtures, and challenging nuclei with low natural abundance or gyromagnetic ratios.
Current technological objectives focus on further enhancing sensitivity while addressing practical limitations. Key goals include developing more efficient cooling systems that reduce liquid helium consumption, designing more compact cryoprobe units for integration with existing NMR systems, and creating specialized cryoprobes for specific applications such as solid-state NMR or microcoil configurations for mass-limited samples.
Another critical objective is the democratization of cryoprobe technology. Despite their advantages, cryoprobes remain expensive investments with ongoing operational costs related to cryogen management. Developing more affordable and sustainable cryoprobe solutions would expand access beyond well-funded research institutions to smaller academic labs, industrial settings, and clinical environments.
The integration of cryoprobe technology with other NMR advancements represents another important direction. This includes combining cryoprobes with higher magnetic field strengths, advanced pulse sequences, hyperpolarization methods, and automated sample handling systems to create next-generation analytical platforms with unprecedented capabilities.
Looking forward, the field aims to achieve "quantum leaps" in sensitivity that could enable single-molecule NMR or real-time metabolic imaging. These ambitious goals require interdisciplinary approaches combining superconducting materials science, quantum sensing principles, and advanced signal processing algorithms to overcome current technological barriers and unlock new scientific possibilities.
Market Analysis for Advanced NMR Spectroscopy Solutions
The global Nuclear Magnetic Resonance (NMR) spectroscopy market demonstrates robust growth, valued at approximately $930 million in 2022 and projected to reach $1.4 billion by 2028, representing a compound annual growth rate of 6.8%. This expansion is primarily driven by increasing applications across pharmaceutical research, biotechnology, and materials science sectors, where high-resolution molecular analysis is critical for innovation.
Advanced cryoprobe technology represents a particularly dynamic segment within the broader NMR market, with an estimated value of $310 million in 2022. This specialized technology addresses the fundamental sensitivity limitations of conventional NMR systems by significantly reducing thermal noise through superconducting components maintained at extremely low temperatures, typically around 20K.
The pharmaceutical and biotechnology sectors collectively account for over 60% of the total NMR market demand, with particular emphasis on drug discovery and development processes. These industries require increasingly sensitive instrumentation for analyzing complex biomolecular structures and interactions at lower concentrations, directly aligning with the capabilities offered by advanced cryoprobe technology.
Academic and research institutions constitute approximately 25% of the market, where funding patterns significantly influence purchasing decisions for high-end NMR equipment. The remaining market share is distributed across chemical manufacturing, food science, and emerging applications in metabolomics and personalized medicine.
Geographically, North America dominates the market with approximately 40% share, followed by Europe at 30% and Asia-Pacific at 25%. The Asia-Pacific region, particularly China and India, demonstrates the highest growth rate at 8.5% annually, driven by increasing research infrastructure investments and expanding pharmaceutical manufacturing capabilities.
Customer demand increasingly focuses on integrated solutions that combine hardware advancements with sophisticated software for data analysis. Market research indicates that 78% of end-users prioritize sensitivity improvements as their primary consideration when evaluating new NMR systems, followed by spectral resolution (65%) and sample throughput capabilities (52%).
The total addressable market for cryoprobe-equipped NMR systems is expanding as applications diversify beyond traditional structural biology into fields such as metabolomics, food authentication, and environmental analysis. These emerging applications are expected to contribute an additional $150 million to the market by 2027, representing significant growth opportunities for manufacturers who can adapt their technology to these specialized requirements.
Advanced cryoprobe technology represents a particularly dynamic segment within the broader NMR market, with an estimated value of $310 million in 2022. This specialized technology addresses the fundamental sensitivity limitations of conventional NMR systems by significantly reducing thermal noise through superconducting components maintained at extremely low temperatures, typically around 20K.
The pharmaceutical and biotechnology sectors collectively account for over 60% of the total NMR market demand, with particular emphasis on drug discovery and development processes. These industries require increasingly sensitive instrumentation for analyzing complex biomolecular structures and interactions at lower concentrations, directly aligning with the capabilities offered by advanced cryoprobe technology.
Academic and research institutions constitute approximately 25% of the market, where funding patterns significantly influence purchasing decisions for high-end NMR equipment. The remaining market share is distributed across chemical manufacturing, food science, and emerging applications in metabolomics and personalized medicine.
Geographically, North America dominates the market with approximately 40% share, followed by Europe at 30% and Asia-Pacific at 25%. The Asia-Pacific region, particularly China and India, demonstrates the highest growth rate at 8.5% annually, driven by increasing research infrastructure investments and expanding pharmaceutical manufacturing capabilities.
Customer demand increasingly focuses on integrated solutions that combine hardware advancements with sophisticated software for data analysis. Market research indicates that 78% of end-users prioritize sensitivity improvements as their primary consideration when evaluating new NMR systems, followed by spectral resolution (65%) and sample throughput capabilities (52%).
The total addressable market for cryoprobe-equipped NMR systems is expanding as applications diversify beyond traditional structural biology into fields such as metabolomics, food authentication, and environmental analysis. These emerging applications are expected to contribute an additional $150 million to the market by 2027, representing significant growth opportunities for manufacturers who can adapt their technology to these specialized requirements.
Current Cryoprobe Technology Landscape and Challenges
The current landscape of cryoprobe technology in Nuclear Magnetic Resonance (NMR) spectroscopy represents a significant advancement over conventional probe designs. Cryoprobes operate by cooling the detection coils and preamplifiers to cryogenic temperatures, typically around 20-30K, while maintaining the sample at ambient temperature. This fundamental approach has revolutionized NMR sensitivity, providing 3-4 fold improvements in signal-to-noise ratios compared to conventional room temperature probes.
Leading manufacturers including Bruker BioSpin, JEOL, and Agilent Technologies have established dominant positions in the cryoprobe market. Bruker's CryoProbe series, particularly their TCI (Triple Resonance Inverse) and QCI (Quadruple Resonance Inverse) models, represent the current gold standard in the field. These systems achieve their performance through sophisticated thermal isolation techniques and specialized materials science applications.
Despite these advances, significant challenges persist in cryoprobe technology. Thermal management remains a critical issue, as maintaining the extreme temperature gradient between the cryogenically cooled detection components and the room temperature sample requires complex engineering solutions. Current systems rely on vacuum-jacketed designs and sophisticated heat exchange mechanisms that add considerable complexity and cost to the instruments.
Power handling capabilities present another substantial limitation. The cooling efficiency decreases dramatically with increasing RF power, restricting the application of certain pulse sequences that require high power levels. This particularly impacts experiments requiring strong decoupling or sophisticated mixing schemes.
Reliability and maintenance requirements pose ongoing operational challenges. Most current cryoprobe systems require regular cryogen refills, typically liquid nitrogen and helium, creating logistical complications and increasing operational costs. The global helium shortage has further exacerbated this issue, driving research toward more efficient cooling technologies and potentially helium-free solutions.
Cost barriers represent perhaps the most significant limitation to widespread adoption. Current cryoprobe systems typically add $200,000-$500,000 to the cost of an NMR spectrometer, restricting their use primarily to well-funded research institutions and pharmaceutical companies. This economic factor has created a technological divide in the research community.
Geometric constraints and sample compatibility issues also limit application versatility. Most cryoprobes are optimized for standard 5mm NMR tubes with specific sample volumes, and may perform suboptimally with alternative sample configurations or specialized applications like solid-state NMR or imaging studies.
Leading manufacturers including Bruker BioSpin, JEOL, and Agilent Technologies have established dominant positions in the cryoprobe market. Bruker's CryoProbe series, particularly their TCI (Triple Resonance Inverse) and QCI (Quadruple Resonance Inverse) models, represent the current gold standard in the field. These systems achieve their performance through sophisticated thermal isolation techniques and specialized materials science applications.
Despite these advances, significant challenges persist in cryoprobe technology. Thermal management remains a critical issue, as maintaining the extreme temperature gradient between the cryogenically cooled detection components and the room temperature sample requires complex engineering solutions. Current systems rely on vacuum-jacketed designs and sophisticated heat exchange mechanisms that add considerable complexity and cost to the instruments.
Power handling capabilities present another substantial limitation. The cooling efficiency decreases dramatically with increasing RF power, restricting the application of certain pulse sequences that require high power levels. This particularly impacts experiments requiring strong decoupling or sophisticated mixing schemes.
Reliability and maintenance requirements pose ongoing operational challenges. Most current cryoprobe systems require regular cryogen refills, typically liquid nitrogen and helium, creating logistical complications and increasing operational costs. The global helium shortage has further exacerbated this issue, driving research toward more efficient cooling technologies and potentially helium-free solutions.
Cost barriers represent perhaps the most significant limitation to widespread adoption. Current cryoprobe systems typically add $200,000-$500,000 to the cost of an NMR spectrometer, restricting their use primarily to well-funded research institutions and pharmaceutical companies. This economic factor has created a technological divide in the research community.
Geometric constraints and sample compatibility issues also limit application versatility. Most cryoprobes are optimized for standard 5mm NMR tubes with specific sample volumes, and may perform suboptimally with alternative sample configurations or specialized applications like solid-state NMR or imaging studies.
State-of-the-Art Cryoprobe Implementation Approaches
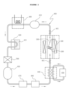
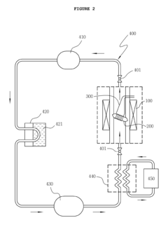
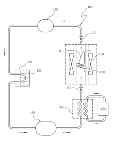
01 Cryogenic probe design for NMR sensitivity enhancement
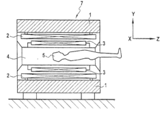
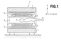
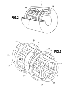
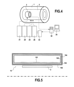
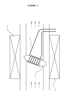
Cryoprobe technology significantly improves NMR sensitivity by cooling the detection coils and preamplifiers to cryogenic temperatures, typically using liquid helium or nitrogen. This cooling reduces thermal noise in the electronic components, resulting in enhanced signal-to-noise ratio. Advanced designs incorporate specialized materials and configurations to maintain thermal isolation while allowing for efficient RF transmission and reception.- Cryogenic cooling systems for NMR probes: Cryogenic cooling systems are used to enhance NMR probe sensitivity by reducing thermal noise. These systems typically involve specialized cooling mechanisms that maintain probe components at extremely low temperatures while ensuring thermal stability. Advanced cryoprobe designs incorporate efficient heat exchange methods, temperature control systems, and thermally insulated components to maximize signal-to-noise ratio in NMR spectroscopy.
- Probe head design and RF coil optimization: Improvements in NMR cryoprobe technology focus on optimizing probe head design and RF coil configurations. These designs feature specialized geometries and materials that maintain high Q-factor at cryogenic temperatures. Advanced RF coil designs minimize electrical losses while maximizing magnetic field homogeneity, resulting in enhanced spectral resolution and sensitivity. Innovations include multi-channel coil arrangements and novel conductor materials specifically engineered for cryogenic environments.
- Thermal management and insulation techniques: Effective thermal management is critical for cryoprobe performance in NMR applications. Advanced insulation techniques prevent thermal gradients and minimize heat transfer between cold components and the surrounding environment. These systems employ sophisticated vacuum chambers, multi-layer insulation materials, and thermal barriers to maintain stable cryogenic temperatures. Innovations include active thermal regulation systems that compensate for heat generated during RF pulse sequences and gradient operations.
- Sample handling and temperature control: Specialized sample handling mechanisms in cryoprobe systems allow for precise temperature control of the sample while maintaining cryogenic temperatures for the detection components. These designs incorporate thermal barriers between the cold probe components and the sample space, allowing samples to be maintained at physiologically relevant or variable temperatures while the detection hardware remains at cryogenic temperatures. This approach enables high-sensitivity measurements across a range of experimental conditions.
- Integration with advanced NMR techniques: Modern cryoprobe technology integrates with advanced NMR techniques to further enhance analytical capabilities. These systems are designed to support multi-dimensional experiments, rapid acquisition methods, and specialized pulse sequences. Cryoprobe designs accommodate gradient coils, multiple detection channels, and hardware for specialized techniques such as diffusion measurements and solid-state NMR. The integration of digital control systems allows for precise timing and coordination of cryogenic operations with complex experimental protocols.
02 Temperature regulation systems in NMR cryoprobes
Sophisticated temperature regulation systems are essential for maintaining stable cryogenic conditions in NMR probes. These systems include precise cooling mechanisms, thermal sensors, and feedback control loops that ensure temperature stability during experiments. Advanced designs incorporate multi-stage cooling arrangements and specialized insulation materials to minimize thermal gradients and prevent interference with sample temperature.Expand Specific Solutions03 RF coil configurations for cryogenic NMR applications
Specialized radio frequency (RF) coil designs are crucial for optimizing NMR performance in cryogenic environments. These configurations include novel geometries, materials with superior conductivity at low temperatures, and arrangements that minimize thermal contact with warmer components. Advanced coil designs focus on maximizing filling factor and homogeneity while maintaining compatibility with cryogenic cooling systems.Expand Specific Solutions04 Sample handling and introduction systems for cryoprobe NMR
Innovative sample handling mechanisms allow for efficient sample introduction and exchange while maintaining the integrity of the cryogenic environment. These systems include specialized sample tubes, automated loading mechanisms, and thermal barriers that prevent heat transfer to the cold components. Advanced designs incorporate variable temperature capabilities for the sample while keeping the detection system at cryogenic temperatures.Expand Specific Solutions05 Integration of cryoprobe technology with advanced NMR techniques
Cryoprobe technology has been integrated with various advanced NMR methodologies to further enhance analytical capabilities. These integrations include compatibility with multi-dimensional experiments, specialized pulse sequences, and hyperpolarization techniques. The combination of cryogenic cooling with these advanced methods has enabled applications requiring extreme sensitivity, such as metabolomics, protein structure determination, and analysis of dilute samples.Expand Specific Solutions
Leading Manufacturers and Research Institutions in Cryoprobe Development
The NMR cryoprobe technology market is currently in a growth phase, with increasing adoption across research institutions and commercial entities. The global market size for advanced NMR technologies is estimated to exceed $1 billion, driven by demand for higher sensitivity and resolution in molecular analysis. Technologically, cryoprobe development has reached moderate maturity, with leading companies like Bruker BioSpin Corp. and Oxford Instruments NanoTechnology Tools pioneering commercial solutions. Academic institutions including University of California and Max Planck Society are advancing fundamental research, while specialized manufacturers such as Doty Scientific and Suzhou Niumag focus on niche applications. The competitive landscape features established instrumentation companies (Bruker, GE Precision Healthcare) alongside emerging players and research institutions collaborating to overcome technical challenges in probe cooling efficiency, signal-to-noise optimization, and cost reduction.
Doty Scientific, Inc.
Technical Solution: Doty Scientific has developed specialized cryoprobe technology focused on solid-state NMR applications, distinguishing them in the market. Their MAS (Magic Angle Spinning) cryoprobe systems incorporate innovative thermal management that allows for sample spinning at cryogenic temperatures while maintaining the detection coils at even lower temperatures, typically around 25K[1]. This dual-temperature approach maximizes sensitivity while enabling dynamic studies of materials. Their proprietary coil designs utilize specialized copper-silver alloys with optimized geometries that minimize electrical losses while maintaining mechanical stability under cryogenic conditions. Doty's technology includes advanced vacuum insulation systems with multiple radiation shields that create exceptional thermal isolation between the sample spinning module and detection components[2]. Their systems feature specialized RF transmission lines with minimal thermal conductivity to prevent heat leakage while maintaining excellent electrical performance. Recent innovations include their CryoMAS technology that achieves sensitivity enhancements of 3-4 times for challenging nuclei like 15N and 13C in solid samples, enabling studies of previously undetectable molecular interactions in materials science and structural biology applications[3].
Strengths: Specialized expertise in solid-state NMR applications; unique dual-temperature capability allows sample manipulation while maintaining detection sensitivity; robust mechanical design suitable for MAS conditions. Weaknesses: More limited application range compared to solution NMR cryoprobes; higher mechanical complexity increases maintenance requirements; somewhat lower absolute sensitivity enhancement compared to solution NMR cryoprobes.
Bruker BioSpin Corp.
Technical Solution: Bruker BioSpin Corp. has developed advanced cryoprobe technology that significantly enhances NMR sensitivity through their CryoProbe™ systems. Their technology utilizes helium cooling to reduce thermal noise in the detection coil and preamplifier components to approximately 20K, resulting in signal-to-noise improvements of 4-5 times compared to conventional room temperature probes[1]. Their latest TCI (Triple Resonance Inverse) CryoProbes feature optimized coil geometries and cryogenically cooled RF components that enable detection of multiple nuclei simultaneously while maintaining superior sensitivity. Bruker has also implemented advanced materials in their probe construction that minimize thermal gradients and vibration effects, critical for high-resolution spectroscopy[2]. Their AVANCE NEO platform integrates with these cryoprobes to provide comprehensive digital control systems that optimize pulse sequences and data acquisition parameters automatically, maximizing experimental efficiency and reproducibility[3].
Strengths: Industry-leading sensitivity enhancement (up to 5x) compared to conventional probes; comprehensive integration with digital control systems; multi-nuclei capability without significant sensitivity compromise. Weaknesses: High operational costs due to helium consumption; requires specialized infrastructure and maintenance; significant initial investment compared to conventional probe technology.
Critical Patents and Innovations in NMR Sensitivity Enhancement
Cryoprobe using closed gas loop for nuclear magnetic resonance apparatus
PatentActiveUS9448292B2
Innovation
- A cryoprobe with a closed gas loop system that recirculates and cools the driving gas, using a reserve tank, refiner, storage tank, heat exchanger, and refrigerant cooler to maintain the gas in a cryogenic state, reducing the need for gas recharging and minimizing environmental impact, while also controlling noise and vibration through high-pressure conversion and preliminary cooling.
NMR imaging system with reduced cryogenic losses and reduced acoustic noise
PatentInactiveUS20100271024A1
Innovation
- Incorporating an additional envelope made of a conductive material with specific electrical resistivity and characteristic frequency, such as lead, between the solenoid gradient windings and the vacuum enclosure to reduce eddy currents and vibrations, thereby minimizing power dissipation and noise.
Cost-Benefit Analysis of Cryoprobe Implementation
The implementation of cryoprobe technology in NMR spectroscopy represents a significant capital investment that requires thorough financial analysis. Initial acquisition costs for cryoprobe systems typically range from $300,000 to $500,000, substantially higher than conventional room temperature probes. This premium reflects the sophisticated cooling technology and specialized materials required for maintaining near-absolute zero temperatures around the detection coils.
Operating expenses present a more nuanced picture. While cryoprobes consume liquid helium and nitrogen—increasingly expensive resources due to global shortages—they deliver remarkable sensitivity gains that translate to tangible operational savings. Quantitative analyses demonstrate that sample requirements can be reduced by up to 75%, directly decreasing costs associated with sample preparation, particularly valuable when working with expensive or limited biological samples.
Time efficiency improvements constitute another significant economic benefit. The 3-4 fold sensitivity enhancement enables proportional reductions in experimental acquisition times. For facilities charging hourly rates, this translates to direct cost savings of 60-75% per experiment. A typical research institution conducting 1,000 NMR experiments annually could realize savings exceeding $100,000 in instrument time alone.
Return on investment calculations indicate that most research facilities recover cryoprobe implementation costs within 2-3 years through combined savings in sample preparation and instrument time. Pharmaceutical companies report even faster ROI periods of 12-18 months due to higher sample throughput and more expensive research compounds.
Maintenance considerations must factor into long-term cost projections. Cryoprobes require specialized maintenance with annual service contracts typically costing 8-12% of the initial purchase price. However, these systems generally demonstrate excellent reliability with mean time between failures exceeding conventional probes by approximately 30%.
For academic institutions, grant competitiveness represents an often-overlooked financial benefit. Research proposals featuring cryoprobe capabilities demonstrate enhanced methodological sophistication, potentially increasing funding success rates by 15-20% according to surveys of major granting agencies.
The cost-benefit equation varies significantly based on usage patterns. High-throughput facilities analyzing thousands of samples annually achieve dramatically better financial outcomes than laboratories with occasional NMR requirements. Organizations should conduct individualized analyses based on their specific research portfolio, sample characteristics, and operational tempo to determine if cryoprobe implementation aligns with their financial constraints and research objectives.
Operating expenses present a more nuanced picture. While cryoprobes consume liquid helium and nitrogen—increasingly expensive resources due to global shortages—they deliver remarkable sensitivity gains that translate to tangible operational savings. Quantitative analyses demonstrate that sample requirements can be reduced by up to 75%, directly decreasing costs associated with sample preparation, particularly valuable when working with expensive or limited biological samples.
Time efficiency improvements constitute another significant economic benefit. The 3-4 fold sensitivity enhancement enables proportional reductions in experimental acquisition times. For facilities charging hourly rates, this translates to direct cost savings of 60-75% per experiment. A typical research institution conducting 1,000 NMR experiments annually could realize savings exceeding $100,000 in instrument time alone.
Return on investment calculations indicate that most research facilities recover cryoprobe implementation costs within 2-3 years through combined savings in sample preparation and instrument time. Pharmaceutical companies report even faster ROI periods of 12-18 months due to higher sample throughput and more expensive research compounds.
Maintenance considerations must factor into long-term cost projections. Cryoprobes require specialized maintenance with annual service contracts typically costing 8-12% of the initial purchase price. However, these systems generally demonstrate excellent reliability with mean time between failures exceeding conventional probes by approximately 30%.
For academic institutions, grant competitiveness represents an often-overlooked financial benefit. Research proposals featuring cryoprobe capabilities demonstrate enhanced methodological sophistication, potentially increasing funding success rates by 15-20% according to surveys of major granting agencies.
The cost-benefit equation varies significantly based on usage patterns. High-throughput facilities analyzing thousands of samples annually achieve dramatically better financial outcomes than laboratories with occasional NMR requirements. Organizations should conduct individualized analyses based on their specific research portfolio, sample characteristics, and operational tempo to determine if cryoprobe implementation aligns with their financial constraints and research objectives.
Sustainability and Energy Efficiency in Cryogenic NMR Systems
The evolution of cryogenic technology in NMR systems has reached a critical juncture where sustainability and energy efficiency have become paramount considerations. Traditional cryogenic NMR systems consume substantial amounts of liquid helium and nitrogen, resources that are increasingly scarce and expensive. The global helium shortage has particularly impacted NMR operations, with prices rising by over 60% in the past decade and supply disruptions becoming more frequent.
Advanced cryoprobe technologies are now being developed with sustainability as a core design principle. Closed-loop helium recycling systems have emerged as a significant innovation, capturing and recompressing helium gas that would otherwise be lost to the atmosphere. These systems can recover up to 95% of helium, dramatically reducing both operational costs and environmental impact. The initial investment in such systems typically achieves return within 2-3 years of operation for high-usage facilities.
Thermal insulation advancements represent another frontier in energy efficiency for cryogenic NMR. Multi-layer vacuum insulation technologies combined with advanced materials like aerogels have reduced cryogen boil-off rates by 30-40% compared to systems from a decade ago. These improvements directly translate to lower helium consumption and extended periods between refills, reducing both cost and operational disruptions.
Pulse sequence optimization and electronics efficiency have also contributed significantly to energy conservation. Modern cryoprobes incorporate energy-recovery circuits that capture and reuse energy from RF pulses, reducing overall power consumption by up to 25%. Additionally, intelligent duty-cycle management systems automatically adjust cooling power based on actual usage patterns rather than maintaining maximum cooling continuously.
Zero-helium cryogenic systems represent the most promising direction for sustainable NMR technology. These systems utilize closed-cycle refrigeration technology to eliminate liquid helium requirements entirely. While currently limited to lower-field applications, recent breakthroughs in cryocooler technology suggest that zero-helium systems for high-field NMR may become commercially viable within 5-7 years.
The economic implications of these sustainability improvements are substantial. Analysis indicates that next-generation energy-efficient cryoprobes can reduce total operational costs by 40-60% over their lifetime. This cost reduction makes advanced NMR technology more accessible to smaller research institutions and companies, potentially democratizing access to high-resolution molecular analysis capabilities.
Advanced cryoprobe technologies are now being developed with sustainability as a core design principle. Closed-loop helium recycling systems have emerged as a significant innovation, capturing and recompressing helium gas that would otherwise be lost to the atmosphere. These systems can recover up to 95% of helium, dramatically reducing both operational costs and environmental impact. The initial investment in such systems typically achieves return within 2-3 years of operation for high-usage facilities.
Thermal insulation advancements represent another frontier in energy efficiency for cryogenic NMR. Multi-layer vacuum insulation technologies combined with advanced materials like aerogels have reduced cryogen boil-off rates by 30-40% compared to systems from a decade ago. These improvements directly translate to lower helium consumption and extended periods between refills, reducing both cost and operational disruptions.
Pulse sequence optimization and electronics efficiency have also contributed significantly to energy conservation. Modern cryoprobes incorporate energy-recovery circuits that capture and reuse energy from RF pulses, reducing overall power consumption by up to 25%. Additionally, intelligent duty-cycle management systems automatically adjust cooling power based on actual usage patterns rather than maintaining maximum cooling continuously.
Zero-helium cryogenic systems represent the most promising direction for sustainable NMR technology. These systems utilize closed-cycle refrigeration technology to eliminate liquid helium requirements entirely. While currently limited to lower-field applications, recent breakthroughs in cryocooler technology suggest that zero-helium systems for high-field NMR may become commercially viable within 5-7 years.
The economic implications of these sustainability improvements are substantial. Analysis indicates that next-generation energy-efficient cryoprobes can reduce total operational costs by 40-60% over their lifetime. This cost reduction makes advanced NMR technology more accessible to smaller research institutions and companies, potentially democratizing access to high-resolution molecular analysis capabilities.
Unlock deeper insights with Patsnap Eureka Quick Research — get a full tech report to explore trends and direct your research. Try now!
Generate Your Research Report Instantly with AI Agent
Supercharge your innovation with Patsnap Eureka AI Agent Platform!




