What Are the Regulation Challenges for Photonic Integrated Circuits
SEP 29, 202510 MIN READ
Generate Your Research Report Instantly with AI Agent
Patsnap Eureka helps you evaluate technical feasibility & market potential.
PIC Regulatory Landscape and Development Goals
Photonic Integrated Circuits (PICs) represent a revolutionary technology that integrates multiple photonic functions on a single chip, similar to electronic integrated circuits but utilizing light instead of electrons. The regulatory landscape for PICs is complex and evolving, reflecting the nascent nature of this technology and its cross-disciplinary applications spanning telecommunications, healthcare, defense, and computing.
The current regulatory framework for PICs remains fragmented across different jurisdictions, with no unified global standards specifically addressing this technology. In the United States, PICs fall under multiple regulatory bodies including the FDA for medical applications, the FCC for telecommunications implementations, and the Department of Defense for military applications. The European Union approaches PIC regulation through its broader framework for electronic components, particularly under the Radio Equipment Directive and Medical Device Regulation when applicable.
A significant challenge in PIC regulation stems from the dual-use nature of the technology. PICs can be utilized in both civilian applications and sensitive military systems, creating export control complexities. Countries like the United States, Japan, and those within the EU have implemented restrictions on certain high-performance photonic technologies under export control regimes such as the Wassenaar Arrangement.
Safety standards represent another critical regulatory dimension. As PICs increasingly incorporate higher power lasers and operate across broader wavelength ranges, concerns about eye safety, thermal management, and electromagnetic compatibility must be addressed through appropriate regulatory frameworks. The IEC has begun developing standards relevant to photonic components, but comprehensive PIC-specific safety standards remain underdeveloped.
The development goals for PIC regulation center on creating a balanced framework that ensures safety and security without impeding innovation. Key objectives include establishing internationally harmonized standards for PIC performance metrics, reliability testing, and interoperability. Industry stakeholders and regulatory bodies aim to develop certification processes that can accommodate the rapid pace of technological advancement while maintaining rigorous safety assessments.
Another crucial development goal involves addressing the environmental implications of PIC manufacturing and deployment. As production scales up, regulations regarding the use of rare earth elements, toxic materials in fabrication processes, and end-of-life disposal will become increasingly important. The EU's RoHS and WEEE directives provide initial frameworks, but PIC-specific environmental regulations remain to be developed.
Looking forward, regulatory bodies must work toward creating adaptive frameworks that can evolve alongside technological advancements. This includes developing standards for emerging applications such as quantum photonic circuits and neuromorphic photonic computing, which present novel regulatory challenges beyond those of conventional PICs.
The current regulatory framework for PICs remains fragmented across different jurisdictions, with no unified global standards specifically addressing this technology. In the United States, PICs fall under multiple regulatory bodies including the FDA for medical applications, the FCC for telecommunications implementations, and the Department of Defense for military applications. The European Union approaches PIC regulation through its broader framework for electronic components, particularly under the Radio Equipment Directive and Medical Device Regulation when applicable.
A significant challenge in PIC regulation stems from the dual-use nature of the technology. PICs can be utilized in both civilian applications and sensitive military systems, creating export control complexities. Countries like the United States, Japan, and those within the EU have implemented restrictions on certain high-performance photonic technologies under export control regimes such as the Wassenaar Arrangement.
Safety standards represent another critical regulatory dimension. As PICs increasingly incorporate higher power lasers and operate across broader wavelength ranges, concerns about eye safety, thermal management, and electromagnetic compatibility must be addressed through appropriate regulatory frameworks. The IEC has begun developing standards relevant to photonic components, but comprehensive PIC-specific safety standards remain underdeveloped.
The development goals for PIC regulation center on creating a balanced framework that ensures safety and security without impeding innovation. Key objectives include establishing internationally harmonized standards for PIC performance metrics, reliability testing, and interoperability. Industry stakeholders and regulatory bodies aim to develop certification processes that can accommodate the rapid pace of technological advancement while maintaining rigorous safety assessments.
Another crucial development goal involves addressing the environmental implications of PIC manufacturing and deployment. As production scales up, regulations regarding the use of rare earth elements, toxic materials in fabrication processes, and end-of-life disposal will become increasingly important. The EU's RoHS and WEEE directives provide initial frameworks, but PIC-specific environmental regulations remain to be developed.
Looking forward, regulatory bodies must work toward creating adaptive frameworks that can evolve alongside technological advancements. This includes developing standards for emerging applications such as quantum photonic circuits and neuromorphic photonic computing, which present novel regulatory challenges beyond those of conventional PICs.
Market Demand Analysis for Regulated PIC Solutions
The global market for regulated Photonic Integrated Circuit (PIC) solutions is experiencing significant growth, driven by increasing demand for high-speed data transmission, telecommunications infrastructure, and advanced sensing applications. Current market analysis indicates that the PIC market is expanding at a compound annual growth rate exceeding 20%, with particular acceleration in sectors requiring stringent regulatory compliance.
Telecommunications operators and data center providers represent the largest market segment demanding regulated PIC solutions. These entities face mounting pressure to increase bandwidth while simultaneously adhering to evolving international standards for energy efficiency, electromagnetic compatibility, and signal integrity. The need for standardized, regulation-compliant optical interconnects has become particularly acute as data centers scale to meet cloud computing demands.
Healthcare and biomedical applications constitute another rapidly growing market segment. Medical device manufacturers are increasingly incorporating PICs into diagnostic equipment, surgical tools, and monitoring systems. These applications demand solutions that meet rigorous medical device regulations, including FDA approval in the United States and CE marking in Europe. Market research shows healthcare applications of PICs growing at nearly 25% annually, with particular emphasis on solutions that address patient safety requirements and medical data security protocols.
The automotive sector presents a substantial emerging market for regulated PIC solutions. As vehicles incorporate more advanced driver assistance systems (ADAS) and autonomous driving capabilities, the demand for sensors and communication systems that meet automotive safety standards has intensified. Automotive manufacturers require PIC solutions that comply with functional safety standards such as ISO 26262 and can withstand harsh environmental conditions while maintaining performance within regulatory parameters.
Defense and aerospace applications represent a premium segment of the regulated PIC market. These applications demand solutions that meet military specifications for reliability, security, and performance under extreme conditions. Though smaller in volume than commercial applications, this segment commands higher margins due to specialized regulatory requirements and certification processes.
Geographically, North America and Europe currently lead in demand for regulated PIC solutions, primarily due to their established regulatory frameworks and technology adoption rates. However, the Asia-Pacific region is showing the fastest growth, driven by rapid infrastructure development and increasing domestic regulation of telecommunications and data processing technologies in countries like China, Japan, and South Korea.
Market analysis reveals that customers are willing to pay premium prices for PIC solutions that simplify the regulatory compliance process. This includes comprehensive documentation, pre-certification testing, and design features specifically addressing regulatory challenges. The market increasingly favors suppliers who can provide not just components, but complete regulatory compliance packages that reduce time-to-market for end products.
Telecommunications operators and data center providers represent the largest market segment demanding regulated PIC solutions. These entities face mounting pressure to increase bandwidth while simultaneously adhering to evolving international standards for energy efficiency, electromagnetic compatibility, and signal integrity. The need for standardized, regulation-compliant optical interconnects has become particularly acute as data centers scale to meet cloud computing demands.
Healthcare and biomedical applications constitute another rapidly growing market segment. Medical device manufacturers are increasingly incorporating PICs into diagnostic equipment, surgical tools, and monitoring systems. These applications demand solutions that meet rigorous medical device regulations, including FDA approval in the United States and CE marking in Europe. Market research shows healthcare applications of PICs growing at nearly 25% annually, with particular emphasis on solutions that address patient safety requirements and medical data security protocols.
The automotive sector presents a substantial emerging market for regulated PIC solutions. As vehicles incorporate more advanced driver assistance systems (ADAS) and autonomous driving capabilities, the demand for sensors and communication systems that meet automotive safety standards has intensified. Automotive manufacturers require PIC solutions that comply with functional safety standards such as ISO 26262 and can withstand harsh environmental conditions while maintaining performance within regulatory parameters.
Defense and aerospace applications represent a premium segment of the regulated PIC market. These applications demand solutions that meet military specifications for reliability, security, and performance under extreme conditions. Though smaller in volume than commercial applications, this segment commands higher margins due to specialized regulatory requirements and certification processes.
Geographically, North America and Europe currently lead in demand for regulated PIC solutions, primarily due to their established regulatory frameworks and technology adoption rates. However, the Asia-Pacific region is showing the fastest growth, driven by rapid infrastructure development and increasing domestic regulation of telecommunications and data processing technologies in countries like China, Japan, and South Korea.
Market analysis reveals that customers are willing to pay premium prices for PIC solutions that simplify the regulatory compliance process. This includes comprehensive documentation, pre-certification testing, and design features specifically addressing regulatory challenges. The market increasingly favors suppliers who can provide not just components, but complete regulatory compliance packages that reduce time-to-market for end products.
Current Regulatory Challenges and Technical Barriers
Photonic Integrated Circuits (PICs) face a complex regulatory landscape that varies significantly across different regions and applications. The absence of globally harmonized standards presents a major challenge for manufacturers and developers seeking to commercialize PIC technologies. Currently, PICs must comply with various regulatory frameworks originally designed for electronic components, which often fail to address the unique characteristics of photonic systems.
In the United States, the Federal Communications Commission (FCC) regulates PICs used in telecommunications, while the Food and Drug Administration (FDA) oversees medical applications. This regulatory fragmentation creates compliance complexities for companies developing multi-purpose PIC platforms. Similarly, in Europe, PICs fall under different directives depending on their application, including the Radio Equipment Directive, Medical Device Regulation, and RoHS (Restriction of Hazardous Substances).
Technical barriers compound these regulatory challenges. The lack of standardized testing protocols specifically designed for PICs makes compliance verification difficult. Traditional electronic testing methodologies are often inadequate for evaluating optical performance parameters such as wavelength stability, optical power, and spectral characteristics. This gap necessitates the development of new measurement techniques and reference standards.
Material compatibility presents another significant barrier. Many PICs incorporate novel materials that lack established safety profiles in regulatory frameworks. For instance, certain III-V semiconductor compounds used in PICs may contain elements with toxicity concerns, requiring extensive safety assessments before approval. Additionally, the integration of multiple materials within a single chip creates complex end-of-life disposal considerations that current electronic waste regulations may not adequately address.
Manufacturing variability remains a persistent challenge for PICs, affecting their regulatory approval. Unlike mature electronic manufacturing processes, photonic fabrication techniques still exhibit significant chip-to-chip variations that can impact performance consistency. Regulatory bodies increasingly demand evidence of manufacturing consistency and reliability, particularly for safety-critical applications in medical diagnostics or autonomous vehicle sensing.
Cybersecurity concerns have emerged as PICs become integral to critical infrastructure. Regulatory frameworks are beginning to incorporate requirements for secure design in optical communication systems, but clear guidelines specific to PIC vulnerabilities remain underdeveloped. The potential for side-channel attacks through optical pathways represents a novel security challenge that current regulations have not fully addressed.
Thermal management regulations also pose challenges for PIC deployment. As PICs achieve higher integration densities, heat dissipation becomes critical. Existing thermal safety standards for electronic components may not adequately account for the unique thermal properties of photonic materials and structures, potentially limiting the power handling capabilities of commercial PIC products.
In the United States, the Federal Communications Commission (FCC) regulates PICs used in telecommunications, while the Food and Drug Administration (FDA) oversees medical applications. This regulatory fragmentation creates compliance complexities for companies developing multi-purpose PIC platforms. Similarly, in Europe, PICs fall under different directives depending on their application, including the Radio Equipment Directive, Medical Device Regulation, and RoHS (Restriction of Hazardous Substances).
Technical barriers compound these regulatory challenges. The lack of standardized testing protocols specifically designed for PICs makes compliance verification difficult. Traditional electronic testing methodologies are often inadequate for evaluating optical performance parameters such as wavelength stability, optical power, and spectral characteristics. This gap necessitates the development of new measurement techniques and reference standards.
Material compatibility presents another significant barrier. Many PICs incorporate novel materials that lack established safety profiles in regulatory frameworks. For instance, certain III-V semiconductor compounds used in PICs may contain elements with toxicity concerns, requiring extensive safety assessments before approval. Additionally, the integration of multiple materials within a single chip creates complex end-of-life disposal considerations that current electronic waste regulations may not adequately address.
Manufacturing variability remains a persistent challenge for PICs, affecting their regulatory approval. Unlike mature electronic manufacturing processes, photonic fabrication techniques still exhibit significant chip-to-chip variations that can impact performance consistency. Regulatory bodies increasingly demand evidence of manufacturing consistency and reliability, particularly for safety-critical applications in medical diagnostics or autonomous vehicle sensing.
Cybersecurity concerns have emerged as PICs become integral to critical infrastructure. Regulatory frameworks are beginning to incorporate requirements for secure design in optical communication systems, but clear guidelines specific to PIC vulnerabilities remain underdeveloped. The potential for side-channel attacks through optical pathways represents a novel security challenge that current regulations have not fully addressed.
Thermal management regulations also pose challenges for PIC deployment. As PICs achieve higher integration densities, heat dissipation becomes critical. Existing thermal safety standards for electronic components may not adequately account for the unique thermal properties of photonic materials and structures, potentially limiting the power handling capabilities of commercial PIC products.
Current Compliance Strategies for PICs
01 Regulatory compliance for photonic integrated circuits
Photonic integrated circuits face various regulatory challenges including compliance with international standards, safety regulations, and electromagnetic compatibility requirements. Manufacturers must navigate complex regulatory frameworks that vary by region and application domain. These regulations often require extensive testing, certification processes, and documentation to ensure that PICs meet performance, reliability, and safety standards before market approval.- Regulatory compliance for photonic integrated circuits: Photonic integrated circuits face various regulatory challenges related to compliance with international standards and safety regulations. These challenges include meeting electromagnetic compatibility requirements, adhering to optical safety standards, and complying with industry-specific regulations. Manufacturers must navigate complex regulatory frameworks that vary by region and application domain, particularly for circuits used in critical infrastructure or telecommunications.
- Security and encryption challenges in PIC systems: Security presents a significant regulatory challenge for photonic integrated circuits, especially in quantum communications and secure data transmission applications. Regulations require robust encryption methods and protection against potential vulnerabilities. As PICs become more prevalent in sensitive applications like defense and financial systems, regulatory frameworks are evolving to address quantum-safe encryption standards and protocols for secure optical communications.
- Environmental and manufacturing compliance issues: Manufacturing photonic integrated circuits involves materials and processes that face environmental regulatory scrutiny. Challenges include compliance with restrictions on hazardous substances, waste management regulations, and sustainable manufacturing requirements. Manufacturers must address regulations concerning rare earth elements, chemical processes, and energy consumption while ensuring their production methods meet increasingly stringent environmental standards across global markets.
- Interoperability and standardization challenges: The lack of unified standards for photonic integrated circuits creates significant regulatory challenges. Different regions and industries may have conflicting requirements for interoperability, interface specifications, and performance metrics. Regulatory bodies are working to develop harmonized standards that address compatibility issues while allowing for innovation. Manufacturers must navigate these evolving standards while ensuring their PICs can integrate with existing optical and electronic systems.
- Spectrum allocation and interference management: Photonic integrated circuits operating in telecommunications face regulatory challenges related to optical spectrum allocation and management. Regulations govern wavelength usage, power levels, and potential interference with other systems. As the demand for bandwidth increases, regulatory frameworks must balance efficient spectrum utilization with preventing cross-talk between channels. Manufacturers must design PICs that comply with frequency allocation regulations while maximizing data transmission capabilities.
02 Security and encryption challenges in PIC-based communication systems
As photonic integrated circuits become increasingly important in communication networks, they face significant regulatory challenges related to security and encryption. Regulations concerning data protection, privacy, and national security impact how PICs can be designed and deployed in sensitive applications. Quantum-secure communication protocols and encryption methods implemented in PICs must comply with evolving cybersecurity regulations while maintaining performance and interoperability.Expand Specific Solutions03 Environmental and material compliance issues
Photonic integrated circuits face regulatory challenges related to environmental impact and material usage. Regulations such as RoHS, REACH, and other environmental directives restrict the use of certain hazardous substances in electronic and photonic components. Manufacturers must ensure compliance with these regulations while maintaining circuit performance. Additionally, end-of-life considerations and recycling requirements create challenges for PIC design and manufacturing processes.Expand Specific Solutions04 Standardization challenges for PIC technologies
The lack of unified standards presents significant regulatory challenges for photonic integrated circuit technologies. Different industry sectors and geographical regions may have conflicting requirements, making it difficult to develop globally compliant products. Standardization efforts face challenges in areas such as interface specifications, testing methodologies, and performance metrics. These challenges impact interoperability between different PIC platforms and integration with existing electronic systems.Expand Specific Solutions05 Export control and national security regulations
Photonic integrated circuits, particularly those with dual-use capabilities or advanced performance characteristics, face strict export control regulations and national security restrictions. These regulations limit the transfer of certain PIC technologies across international borders, affecting global supply chains and collaborative research. Manufacturers must navigate complex compliance requirements including licensing, end-user verification, and technology classification to avoid penalties while participating in international markets.Expand Specific Solutions
Key Industry Players and Regulatory Bodies
The photonic integrated circuits (PICs) regulatory landscape is evolving within an industry transitioning from early development to commercial growth. The market is expanding rapidly, with projections showing significant growth potential as applications diversify across telecommunications, computing, and sensing. Regulatory challenges primarily concern standardization, interoperability, and safety compliance. Leading companies like Huawei, Intel, and TSMC are advancing technical maturity through commercial deployments, while research institutions such as MIT and specialized firms like PsiQuantum and SMART Photonics drive innovation. The regulatory framework remains fragmented globally, with different approaches in North America, Europe, and Asia creating compliance complexities for manufacturers seeking international market access.
Huawei Technologies Co., Ltd.
Technical Solution: Huawei has developed a multi-faceted approach to addressing PIC regulation challenges, particularly focused on telecommunications applications. Their strategy includes a dedicated regulatory affairs team that works across international jurisdictions to navigate the complex landscape of optical communication standards. Huawei's technical solution incorporates built-in compliance verification systems that continuously monitor optical output power, wavelength stability, and spectral characteristics to ensure adherence to safety and performance regulations. They've pioneered a modular compliance architecture that allows different PIC components to be certified independently, streamlining the regulatory approval process for integrated systems. Huawei has also developed specialized testing protocols that address the unique challenges of verifying PIC performance under various environmental conditions, including temperature fluctuations and mechanical stress that might affect regulatory compliance[2]. Their approach includes comprehensive documentation systems that maintain traceability throughout the supply chain, addressing concerns about component origin verification that are increasingly important in international trade regulations for advanced technologies.
Strengths: Huawei's global presence and experience navigating complex international regulations provides them with unique insights into harmonizing diverse regulatory requirements. Their telecommunications focus has resulted in robust solutions for reliability and interoperability compliance. Weaknesses: Geopolitical challenges have created additional regulatory hurdles for Huawei's technologies in certain markets, potentially limiting the global applicability of their compliance approaches.
Infinera Corp.
Technical Solution: Infinera has developed specialized approaches to PIC regulation challenges through their Infinite Capacity Engine platform. Their technical solution focuses on addressing the unique regulatory challenges of high-capacity optical transmission systems that incorporate multiple functions on a single PIC. Infinera's compliance strategy includes proprietary optical power management techniques that ensure their PICs maintain safe operating parameters across varying environmental conditions and aging effects. They've developed specialized testing methodologies that can validate wavelength stability and channel isolation to meet stringent telecommunications regulatory requirements. Infinera's approach includes comprehensive electromagnetic interference (EMI) mitigation strategies specifically designed for high-density photonic integration, addressing a key regulatory concern for complex PICs[4]. Their regulatory compliance framework incorporates automated monitoring systems that can detect potential compliance issues before they become regulatory violations, including real-time spectrum analysis and power monitoring. Infinera has also pioneered techniques for validating the reliability of their PICs under accelerated aging conditions, providing data that supports regulatory approvals for expected lifetime performance.
Strengths: Infinera's vertical integration as both a PIC designer and systems provider gives them end-to-end control over regulatory compliance. Their focus on telecommunications applications has resulted in deep expertise in meeting the stringent reliability and performance standards of network operators. Weaknesses: Their specialized focus on telecommunications may limit the applicability of their regulatory approaches to other emerging PIC applications such as sensing or quantum computing.
Critical Standards and Certification Processes
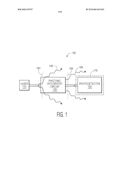
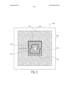
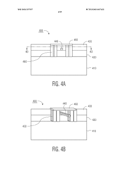
Photonic integrated circuit
PatentWO2021257557A1
Innovation
- A monolithic photonic integrated circuit with optical and thermal isolation structures, fabricated using semiconductor processing techniques, to prevent background light and heat dissipation, enhancing the sensitivity and signal-to-noise ratio of photodetectors by isolating components using metal layers, vias, trenches, and reflective or absorptive materials.
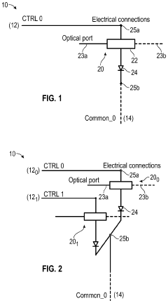
Photonic integrated circuit having array of photonic devices
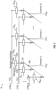
PatentActiveUS20230221513A1
Innovation
- A photonic integrated circuit (PIC) device design that incorporates a control conductor, common conductor, and photonic components connected in series with switching diodes, allowing for efficient electrical signal management and reduced component count through multiplexing and shared monitoring, thereby minimizing space and cost.
International Harmonization Efforts
The global nature of photonic integrated circuits (PICs) industry necessitates coordinated international regulatory approaches. Several significant harmonization initiatives have emerged in recent years, with the International Electrotechnical Commission (IEC) playing a pivotal role through its TC 86 committee on fiber optics. This committee has established working groups specifically addressing standardization needs for integrated photonics, focusing on measurement methods, performance parameters, and reliability testing protocols.
The IEEE Standards Association has also launched dedicated programs for PIC standardization, bringing together industry stakeholders from North America, Europe, and Asia to develop consensus-based standards. Their P2432 working group specifically addresses test methods and performance metrics for silicon photonics devices, creating a common technical language across borders.
Regional coordination efforts have gained momentum through trilateral discussions between regulatory bodies in the United States, European Union, and Japan. These discussions aim to align approval pathways for PIC-based technologies, particularly in telecommunications and data center applications. The establishment of the Global Photonics Standardization Forum in 2021 represents a significant milestone, providing a platform for ongoing dialogue between national regulatory authorities.
Mutual recognition agreements (MRAs) have emerged as practical tools for reducing regulatory redundancy. Under these agreements, testing and certification performed in one jurisdiction can be recognized by partner countries, significantly reducing time-to-market for PIC manufacturers operating globally. The EU-US MRA on telecommunications equipment certification has been expanded to include certain categories of photonic components, with similar agreements under negotiation with Asian partners.
Technical file harmonization represents another promising approach, with initiatives to standardize documentation requirements across jurisdictions. The International Medical Device Regulators Forum model, which has successfully harmonized documentation for medical technologies, is being studied as a potential template for PIC technologies in critical applications like medical diagnostics and autonomous vehicle sensing.
Despite these positive developments, challenges remain in achieving truly global regulatory coherence. Differences in national security concerns, particularly regarding PICs with potential dual-use applications, continue to create regulatory divergence. Additionally, varying approaches to environmental compliance, particularly regarding materials used in PIC fabrication, present ongoing harmonization challenges that industry stakeholders and regulatory bodies must navigate collaboratively.
The IEEE Standards Association has also launched dedicated programs for PIC standardization, bringing together industry stakeholders from North America, Europe, and Asia to develop consensus-based standards. Their P2432 working group specifically addresses test methods and performance metrics for silicon photonics devices, creating a common technical language across borders.
Regional coordination efforts have gained momentum through trilateral discussions between regulatory bodies in the United States, European Union, and Japan. These discussions aim to align approval pathways for PIC-based technologies, particularly in telecommunications and data center applications. The establishment of the Global Photonics Standardization Forum in 2021 represents a significant milestone, providing a platform for ongoing dialogue between national regulatory authorities.
Mutual recognition agreements (MRAs) have emerged as practical tools for reducing regulatory redundancy. Under these agreements, testing and certification performed in one jurisdiction can be recognized by partner countries, significantly reducing time-to-market for PIC manufacturers operating globally. The EU-US MRA on telecommunications equipment certification has been expanded to include certain categories of photonic components, with similar agreements under negotiation with Asian partners.
Technical file harmonization represents another promising approach, with initiatives to standardize documentation requirements across jurisdictions. The International Medical Device Regulators Forum model, which has successfully harmonized documentation for medical technologies, is being studied as a potential template for PIC technologies in critical applications like medical diagnostics and autonomous vehicle sensing.
Despite these positive developments, challenges remain in achieving truly global regulatory coherence. Differences in national security concerns, particularly regarding PICs with potential dual-use applications, continue to create regulatory divergence. Additionally, varying approaches to environmental compliance, particularly regarding materials used in PIC fabrication, present ongoing harmonization challenges that industry stakeholders and regulatory bodies must navigate collaboratively.
Environmental Impact and Sustainability Considerations
Photonic Integrated Circuits (PICs) face significant environmental and sustainability challenges that require careful consideration in their development, manufacturing, and end-of-life management. The production of PICs involves various materials including silicon, indium phosphide, gallium arsenide, and other rare earth elements that have substantial environmental footprints during extraction and processing. Mining operations for these materials often result in habitat destruction, water pollution, and high energy consumption, raising concerns about resource depletion and ecosystem damage.
Manufacturing processes for PICs require specialized cleanroom environments with stringent temperature and humidity controls, consuming significant amounts of energy and water. Chemical processes used in fabrication generate hazardous waste including acids, solvents, and heavy metals that require proper treatment and disposal to prevent environmental contamination. The semiconductor industry has historically been associated with high water usage and chemical waste generation, issues that persist in PIC manufacturing.
Energy efficiency presents both a challenge and opportunity for PICs. While operational PICs can significantly reduce energy consumption in data centers and telecommunications networks compared to electronic alternatives, the energy-intensive manufacturing processes may offset some of these benefits. Life cycle assessments indicate that the environmental payback period for PICs varies widely depending on application and usage patterns, necessitating comprehensive analysis to determine true sustainability benefits.
Regulatory frameworks addressing the environmental impact of PICs remain fragmented globally. The European Union's Restriction of Hazardous Substances (RoHS) and Waste Electrical and Electronic Equipment (WEEE) directives apply to PICs, but implementation varies across regions. In the United States, the Environmental Protection Agency regulates certain aspects of semiconductor manufacturing, though specific provisions for photonic technologies are limited. Asian manufacturing hubs often operate under different environmental standards, creating regulatory inconsistencies in global supply chains.
End-of-life management presents particular challenges due to the composite nature of PICs. Recycling processes for recovering valuable materials from PICs are still developing, with technical difficulties in separating integrated components. The miniaturization trend in PICs further complicates recycling efforts, as smaller components with more complex integration make material recovery increasingly difficult.
Industry initiatives are emerging to address these challenges, including design for environment approaches that consider sustainability from the conceptual stage. Research into alternative materials, green manufacturing processes, and improved recycling technologies shows promise for reducing the environmental footprint of PICs throughout their lifecycle. Standardization of sustainability metrics specific to photonic technologies would enable better comparison and improvement tracking across the industry.
Manufacturing processes for PICs require specialized cleanroom environments with stringent temperature and humidity controls, consuming significant amounts of energy and water. Chemical processes used in fabrication generate hazardous waste including acids, solvents, and heavy metals that require proper treatment and disposal to prevent environmental contamination. The semiconductor industry has historically been associated with high water usage and chemical waste generation, issues that persist in PIC manufacturing.
Energy efficiency presents both a challenge and opportunity for PICs. While operational PICs can significantly reduce energy consumption in data centers and telecommunications networks compared to electronic alternatives, the energy-intensive manufacturing processes may offset some of these benefits. Life cycle assessments indicate that the environmental payback period for PICs varies widely depending on application and usage patterns, necessitating comprehensive analysis to determine true sustainability benefits.
Regulatory frameworks addressing the environmental impact of PICs remain fragmented globally. The European Union's Restriction of Hazardous Substances (RoHS) and Waste Electrical and Electronic Equipment (WEEE) directives apply to PICs, but implementation varies across regions. In the United States, the Environmental Protection Agency regulates certain aspects of semiconductor manufacturing, though specific provisions for photonic technologies are limited. Asian manufacturing hubs often operate under different environmental standards, creating regulatory inconsistencies in global supply chains.
End-of-life management presents particular challenges due to the composite nature of PICs. Recycling processes for recovering valuable materials from PICs are still developing, with technical difficulties in separating integrated components. The miniaturization trend in PICs further complicates recycling efforts, as smaller components with more complex integration make material recovery increasingly difficult.
Industry initiatives are emerging to address these challenges, including design for environment approaches that consider sustainability from the conceptual stage. Research into alternative materials, green manufacturing processes, and improved recycling technologies shows promise for reducing the environmental footprint of PICs throughout their lifecycle. Standardization of sustainability metrics specific to photonic technologies would enable better comparison and improvement tracking across the industry.
Unlock deeper insights with Patsnap Eureka Quick Research — get a full tech report to explore trends and direct your research. Try now!
Generate Your Research Report Instantly with AI Agent
Supercharge your innovation with Patsnap Eureka AI Agent Platform!







