Closed mechanical press ball screw type automatic pallet changer
A mechanical press and ball screw type technology, applied in forging/pressing/hammering machinery, forging presses, forging presses, etc., can solve the problems of low precision, low degree of automation, easy movement of molds, etc., and achieve the realization of error Detection and position compensation function, high-precision micro-feed and high-speed feed, and the effect of meeting the requirements of roller motion
- Summary
- Abstract
- Description
- Claims
- Application Information
AI Technical Summary
Problems solved by technology
Method used
Image
Examples
Embodiment Construction
[0047] In order to clearly illustrate the technical features of this solution, the present invention will be described in detail below through specific implementation modes and in conjunction with the accompanying drawings.
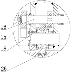
[0048] Such as Figure 7-12 As shown, a closed mechanical press ball screw type automatic exchange table includes a base 1, a rail 2 is arranged on the base 1, and one or two exchange table bodies 3 are arranged on the rail 2, and the exchange work The four corners of the table body 3 are respectively equipped with roller jacking devices 4, the exchange table body 3 is set on the rail 2 through the roller jacking device 4, and a set of ball screw is arranged between each exchange table body 3 and the base 1 The driving device 5, the ball screw driving device 5 includes a servo motor 501 arranged on the base 1, the servo motor 501 is connected with a ball screw 502, the ball screw 502 is provided with a drive nut 503, and the exchange table body 3 is close...
PUM

Abstract
Description
Claims
Application Information

- R&D
- Intellectual Property
- Life Sciences
- Materials
- Tech Scout
- Unparalleled Data Quality
- Higher Quality Content
- 60% Fewer Hallucinations
Browse by: Latest US Patents, China's latest patents, Technical Efficacy Thesaurus, Application Domain, Technology Topic, Popular Technical Reports.
© 2025 PatSnap. All rights reserved.Legal|Privacy policy|Modern Slavery Act Transparency Statement|Sitemap|About US| Contact US: help@patsnap.com